Heavy-Duty Battery Electric Buses’ Integration in Cities Based on Superfast Charging Technologies: Impact on the Urban Life
Abstract
:1. Introduction
1.1. Literature Review
Electromagnetic Emissions
1.2. Vibroacoustic–Pass-by Noises and Ride Comfort
1.3. Contribution
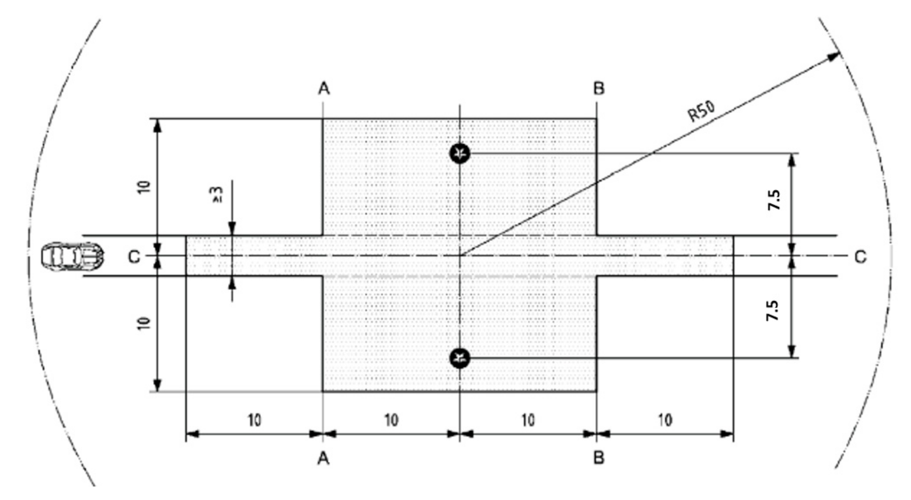
- Pass by noise was determined according to the standard “ISO 362-1:2015”;
- Noise emissions of the charger and pantograph during charging process were determined by measuring the Sound Pressure Level (SPL) around the charger;
- Passenger comfort was investigated by measuring interior noise and vibration during a typical inner-city route, as well as acceleration and deceleration of the several buses.
2. Electromagnetic Compatibility
2.1. Measurements
2.2. Objectives
2.3. Measuring Setup/Methodology
2.4. Results and Discussion
- NOTE (1) Measurements in direct contact with the charger (point A) are not taken into account, as the standards specify that this is only to be taken into account if the device is not to be held in the hand, which is the case with the charger;
- NOTE (2) The measurements made in contact with the AC input wires of the charger gave a value of 115 µT. This is not related to the charger, but to the installation. Due to the temporary installation, the AC input wires are not covered, resulting in higher emissions at ground level than if they were in a permanent installation.
- NOTE (1) Measurements in direct contact with the charger (points C and E) are not taken into account, as the standards specify that this is only to be taken into account if the device is not to be held in the hand, which is the case with the charger;
- NOTE (2) At point B, 160 µT is emitted from the AC input cables to the charger. This is not related to the charger, but to the installation. Due to the temporary installation, the AC input cables are not covered, resulting in higher emissions at ground level than if they were in a permanent installation.
3. Vibroacoustic–Pass by Noise and Ride Comfort
3.1. Objectives
3.2. Measuring Setup/Methodology
3.2.1. Pass by Noise Outside Vehicle
3.2.2. Noise and Vibration Inside the Vehicle
3.2.3. Outside Noise during Pantograph Operation and Charging Process
3.3. Results and Discussion
3.3.1. Pass by Noise Outside Vehicle
3.3.2. Noise and Vibration Inside the Vehicle
- The first part contains only segments during the acceleration phase from 0 km/h to approx. 30 km/h (without ambient noise) to evaluate only the vibrations and noises of the drive chain;
- The second part, the maximum noise level induced inside the bus during the complete GPS route.
3.3.3. Outside Noise during Pantograph Operation and Charging Process
4. Conclusions
Author Contributions
Funding
Institutional Review Board Statement
Informed Consent Statement
Data Availability Statement
Acknowledgments
Conflicts of Interest
References
- Al-Saadi, M.; Patkowski, B.; Zaremba, M.; Karwat, A.; Pol, M.; Chełchowski, Ł.; Van Mierlo, J.; Berecibar, M. Slow and Fast Charging Solutions for Li-Ion Batteries of Electric Heavy-Duty Vehicles with Fleet Management Strategies. Sustainability 2021, 13, 10639. [Google Scholar] [CrossRef]
- Tesar, M.; Berthold, K.; Gruhler, J.-P.; Gratzfeld, P. Design Methodology for the Electrification of Urban Bus Lines with Battery Electric Buses. Transp. Res. Procedia 2020, 48, 2038–2055. [Google Scholar] [CrossRef]
- Size, F.; Heavy, U.D. Applications, “Deliverable 2.2 Specification of Grid Constraints” no. 769850. 2018.
- Longo, M.; Leone, C.; Lorenz, L.; Strada, A.; Yaici, W. Electrification of a Bus Line in Savona Considering Depot and Opportunity Charging. Adv. Sci. Technol. Eng. Syst. J. 2021, 6, 213–221. [Google Scholar] [CrossRef]
- UITP. The Impact of Electric Buses on Urban Life; UITP: Brussels, Belgium, 2019; pp. 1–12. [Google Scholar]
- Zhang, L.; Zeng, Z.; Gao, K. A bi-level optimization framework for charging station design problem considering heterogeneous charging modes. J. Intell. Connect. Vehicles 2022, 5, 8–16. [Google Scholar] [CrossRef]
- Zhang, W.; Zhao, H.; Xu, M. Optimal operating strategy of short turning lines for the battery electric bus system. Commun. Transp. Res. 2021, 1, 100023. [Google Scholar] [CrossRef]
- Assured Project. Available online: https://assured-project.eu/news-and-events/news/jema-energy-to-supply-11-charging-systems-for-the-first-100-electric-line-in-vitoria-gasteiz (accessed on 5 November 2017).
- Rodríguez, E.; Arqués, J.L.; Rodríguez, R.; Nuñez, M.; Medina, M.; Talarico, T.L.; Casas, I.A.; Chung, T.C.; Dobrogosz, W.J.; Axelsson, L.; et al. We are IntechOpen, the world’ s leading publisher of Open Access books Built by scientists, for scientists TOP 1%. Dermatol. Int. 1989, 32, 137–144. [Google Scholar]
- International Commission on Non-Ionizing Radiation Protection. ICNIRP statement on the ‘Guidelines for limiting exposure to time-varying electric, magnetic, and electromagnetic fields (up to 300 GHz). Health Phys. 2009, 97, 257–258. [Google Scholar] [CrossRef] [PubMed]
- International Commission on Non-Ionizing Radiation Protection. Guidelines on limits of exposure to static magnetic fields. Health Phys. 2009, 96, 504–514. [Google Scholar] [CrossRef] [PubMed]
- International Commission on Non-Ionizing Radiation Protection. Guidelines for limiting exposure to time-varying electric and magnetic fields (1 Hz to 100 kHz). Health Phys. 2010, 99, 818–836. [Google Scholar] [CrossRef] [PubMed]
- ISO. Measurement of Noise Emitted by Accelerating Road Vehicles–Engineering Method–Part 1: M and N Categories; British Standards Institution: London, UK, 2007. [Google Scholar]
- Al-Saadi, M.; Mathes, M.; Käsgen, J.; Robert, K.; Mayrock, M.; Van Mierlo, J.; Berecibar, M. Optimization and Analysis of Electric Vehicle Operation with Fast-Charging Technologies. World Electr. Veh. J. 2022, 13, 20. [Google Scholar] [CrossRef]
- Al-Saadi, M.; Bhattacharyya, S.; Van Tichelen, P.; Mathes, M.; Käsgen, J.; Van Mierlo, J.; Berecibar, M. Impact on the Power Grid Caused via Ultra-Fast Charging Technologies of the Electric Buses Fleet. Energies 2022, 15, 1424. [Google Scholar] [CrossRef]
















| Model | Frequencies | Origin/Location |
|---|---|---|
| Holaday industry HI3550 (Hall effect sensor) | DC (0 Hz) | Charger’s output |
| Maschek ESM-100 (isotropic probe E/H) | 50 Hz–2 kHz | Charger’s input |
| Rohde&Schwarz FSH8 spectrum analyser + FSH3D (isotropic antenna) | 9 kHz–200 MHz | Charger’s internal working frequencies |
| Measurement Location for the DC Magnetic Field | Value (mT) Charger 1 | Value (mT) Charger 2 | Limits Dir. EU (mT) |
|---|---|---|---|
| In contact with the charger’s body (under the pantograph) | 0.27 | 0.56 | 40 |
| At 30 cm from the charger’s body (under the pantograph) | 0 | 0.10 | 40 |
| At 50 cm from the charger’s body (under the pantograph) | 0 | 0 | 40 |
| Into the bus, in contact with the bus’s roof | 0.12 | 0.18 | 40 |
| Into the bus, at 30 cm from the bus’s roof | 0 | 0.14 | 40 |
| Into the bus, at 50 cm from the bus’s roof | 0 | 0 | 40 |
| Measurement Location for 50 Hz Magnetic Field | Value (µT) | Limits Dir. EU (µT) |
|---|---|---|
| Charger 1 | ||
| Point A: In contact with the charger’s left door (1.2 m height) | 124 (1) | 100 |
| Point B: At 30 cm from the charger’s left door (1.5 m height) | 25 | 100 |
| Point C: At 200 cm from the charger’s left door (1.5 m height) | 1.5 | 100 |
| Point D: At 30 cm from the charger’s body (under the pantograph) | 7 | 100 |
| Point E: At 30 cm from the charger’s body (beside the bus door) | 4 | 100 |
| Point F: In the middle of the front platform | 1 | 100 |
| Point G: In contact with the charger’s input wire (on the ground) | 115 (1.2) | 100 |
| Point H: At 30 cm from the charger’s input wire (on the ground) | 19 | 100 |
| Point I: In the bus (driver head position) | 0.1 | 100 |
| Point J: In the bus (in the middle of the corridor) | 0.1 | 100 |
| Charger 2 | ||
| Point A: In front of the cabinet’s open door (1.2 m height) | 2.1 | 100 |
| Point B: In contact with the charger’s input wire (on the ground) | 160 (1.2) | 100 |
| Point C: Inside the cabinet (in contact with the charger) | 67 (1) | 100 |
| Point D: Inside the cabinet (at 30 cm from the charger’s body) | 27 | 100 |
| Point E: Inside the cabinet (in contact with the charger) | 60 (1) | 100 |
| Point F: Inside the cabinet (at 30 cm from the charger’s body) | 25 | 100 |
| Point G: At 50 cm from the charger’s body (under the pantograph) | 0.5 | 100 |
| Point H: At 30 cm from the charger’s body (under the pantograph) | 2 | 100 |
| Point I: In contact with the charger’s body (towards the front of the bus) | 4.9 (1) | 100 |
| Point J: At 30 cm from the charger’s body (towards the front of the bus) | 2.9 | 100 |
| Point K: In the bus (driver head position) | 0.2 | 100 |
| Point L: In the bus (in the middle of the corridor) | 0.3 | 100 |
| Measurement Location for 50 Hz Electric Field | Value (V/m) | Limits Dir. EU (V/m) |
|---|---|---|
| Charger 1 | ||
| Point A: In contact with the charger’s left door (1.2 m height) | <5 | 5000 |
| Point B: At 30 cm from the charger’s left door (1.5 m height) | <5 | 5000 |
| Point C: At 200 cm from the charger’s left door (1.5 m height) | <5 | 5000 |
| Point D: At 30 cm from the charger’s body (under the pantograph) | <5 | 5000 |
| Point E: At 30 cm from the charger’s body (beside the bus door) | <5 | 5000 |
| Point F: In the middle of the front platform | <5 | 5000 |
| Point G: In contact with the charger’s input wire (on the ground) | <5 | 5000 |
| Point H: At 30 cm from the charger’s input wire (on the ground) | <5 | 5000 |
| Point I: In the bus (driver head position | 0 | 5000 |
| Point J: In the bus (in the middle of the corridor) | 0 | 5000 |
| Charger 2 | ||
| Point A: In front of the cabinet’s open door (1.2 m height) | <10 | 5000 |
| Point B: In contact with the charger’s input wire (on the ground) | <10 | 5000 |
| Point C: Inside the cabinet (in contact with the charger) | <10 | 5000 |
| Point D: Inside the cabinet (at 30 cm from the charger’s body) | <10 | 5000 |
| Point E: Inside the cabinet (in contact with the charger) | <10 | 5000 |
| Point F: Inside the cabinet (at 30 cm from the charger’s body) | <10 | 5000 |
| Point G: At 50 cm from the charger’s body (under the pantograph) | <10 | 5000 |
| Point H: At 30 cm from the charger’s body (under the pantograph) | <10 | 5000 |
| Point I: In contact with the charger’s body (towards the front of the bus) | <10 | 5000 |
| Point J: At 30 cm from the charger’s body (towards the front of the bus) | <10 | 5000 |
| Point K: In the bus (driver head position) | 0 | 5000 |
| Point L: In the bus (in the middle of the corridor) | 0 | 5000 |
| Name | Engine | Length [m] | Axles | ASSURED Bus |
|---|---|---|---|---|
| EBus1 | Electric | 18 | 3 | Yes |
| EBus2 | Electric | 18 | 3 | Yes |
| EBus3 | Electric | 12 | 2 | Yes |
| EBus4 | Electric | 12 | 2 | Yes |
| EBus5 | Electric | 18 | 3 | No |
| DBus1 | Diesel | 12 | 2 | No |
| DBus2 | Diesel | 18 | 3 | No |
| Location and Operation State | SPL in dB(A) |
|---|---|
| SWO Netz depot–Pantograph operation (with soft drop) | 64.6 |
| SWO Netz depot–Charger (charging @300 kW) | 52.3 |
| Dodesheide bus stop–Pantograph operation (without soft drop) | 75.2 |
| Dodesheide bus stop–Charger (charging @350 kW) | 58.1 |
| Battery cooling (EBus4) (charging @350 kW) | 52.9 |
Publisher’s Note: MDPI stays neutral with regard to jurisdictional claims in published maps and institutional affiliations. |
© 2022 by the authors. Licensee MDPI, Basel, Switzerland. This article is an open access article distributed under the terms and conditions of the Creative Commons Attribution (CC BY) license (https://creativecommons.org/licenses/by/4.0/).
Share and Cite
Mathes, M.; Schmidt, M.; Käsgen, J.; Fievet, B.; Tichelen, P.V.; Berecibar, M.; Al-Saadi, M. Heavy-Duty Battery Electric Buses’ Integration in Cities Based on Superfast Charging Technologies: Impact on the Urban Life. Sustainability 2022, 14, 4777. https://doi.org/10.3390/su14084777
Mathes M, Schmidt M, Käsgen J, Fievet B, Tichelen PV, Berecibar M, Al-Saadi M. Heavy-Duty Battery Electric Buses’ Integration in Cities Based on Superfast Charging Technologies: Impact on the Urban Life. Sustainability. 2022; 14(8):4777. https://doi.org/10.3390/su14084777
Chicago/Turabian StyleMathes, Manuel, Matthias Schmidt, Johannes Käsgen, Bruno Fievet, Pierre Van Tichelen, Maitane Berecibar, and Mohammed Al-Saadi. 2022. "Heavy-Duty Battery Electric Buses’ Integration in Cities Based on Superfast Charging Technologies: Impact on the Urban Life" Sustainability 14, no. 8: 4777. https://doi.org/10.3390/su14084777
APA StyleMathes, M., Schmidt, M., Käsgen, J., Fievet, B., Tichelen, P. V., Berecibar, M., & Al-Saadi, M. (2022). Heavy-Duty Battery Electric Buses’ Integration in Cities Based on Superfast Charging Technologies: Impact on the Urban Life. Sustainability, 14(8), 4777. https://doi.org/10.3390/su14084777

