Reuse of Bleaching Earth: The Green Solution for Rapeseed Oil Producers
Abstract
1. Introduction
- RQ1:
- Does bleaching earth retain adsorption properties in subsequent bleaching cycles?
- RQ2:
- How does the efficiency of the oil bleaching process change when the adsorbent mass increases?
2. Materials and Methods
2.1. Reagents
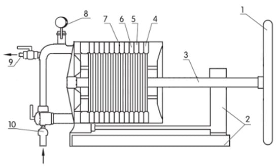
2.2. Equipment
2.3. Methods
2.4. Statistical Analysis
3. Results
3.1. Spectrophotometric Color Determination
- BE—bleaching efficiency,
- AV—absorbance value for starting oil,
- AB—absorbance value for bleached oil.
3.2. Colorimetric Evaluation of Oil Color Parameters According to the CIE Lab System
3.3. Colorimteric Oil Color Measurements—Summary
4. Conclusions
Author Contributions
Funding
Institutional Review Board Statement
Informed Consent Statement
Data Availability Statement
Conflicts of Interest
References
- US Department of Agriculture Foreign Agricultural Service. Oilseeds: World Markets and Trade 2022. Available online: https://www.fas.usda.gov/data/oilseeds-world-markets-and-trade (accessed on 8 October 2022).
- Larina, Y.; Galchynska, J.; Kucheruk, P.; Zghurska, O.; Ortina, G.; Al-Nadzhar, F.; Marusei, T.; Kuboń, M.; Dzieniszewski, G. Estimation of the Domestic Agricultural Sector Potential for the Growth of Energy Cultures for Bioenergy Fuel Production. Agric. Eng. 2021, 25, 73–82. [Google Scholar] [CrossRef]
- Cui, X.; Zhang, L.; Zhou, P.; Liu, Z.; Fan, S.; Yang, D.; Li, J.; Liu, Q. Dietary Exposure of General Chinese Population to Fatty Acid Esters of 3-Monochloropropane-1, 2-Diol (3-MCPD) from Edible Oils and Oil-Containing Foods. Food Addit. Contam. Part A 2021, 38, 60–69. [Google Scholar] [CrossRef] [PubMed]
- Wu, Y.; Zhou, R.; Wang, Z.; Wang, B.; Yang, Y.; Ju, X.; He, R. The Effect of Refining Process on the Physicochemical Properties and Micronutrients of Rapeseed Oils. PLoS ONE 2019, 14, e0212879. [Google Scholar] [CrossRef] [PubMed]
- Marcinkowski, D.; Rukowicz, B.; Golimowski, W.; Czechlowski, M.; Krzaczek, P.; Piekarski, W. Effect of selected depressants on cold filter plugging point for methyl esters obtained from transesterification of waste vegetable and animal fats. Przem. Chem. 2017, 1, 121–124. [Google Scholar] [CrossRef]
- Rusinek, R.; Siger, A.; Gawrysiak-Witulska, M.; Rokosik, E.; Malaga-Toboła, U.; Gancarz, M. Application of an Electronic Nose for Determination of Pre-pressing Treatment of Rapeseed Based on the Analysis of Volatile Compounds Contained in Pressed Oil. Int. J. Food Sci. Technol. 2020, 55, 2161–2170. [Google Scholar] [CrossRef]
- Karabagias, I.K. Advances of Spectrometric Techniques in Food Analysis and Food Authentication Implemented with Chemometrics. Foods 2020, 9, 1550. [Google Scholar] [CrossRef] [PubMed]
- Fetzer, A.; Müller, K.; Schmid, M.; Eisner, P. Rapeseed Proteins for Technical Applications: Processing, Isolation, Modification and Functional Properties—A Review. Ind. Crops Prod. 2020, 158, 112986. [Google Scholar] [CrossRef]
- Serrano-Bermúdez, L.M.; Monroy-Peña, C.A.; Moreno, D.; Abril, A.; Imbachi Niño, A.D.; Martínez Riascos, C.A.; Buitrago Hurtado, G.; Narváez Rincón, P.C. Kinetic Models for Degumming and Bleaching of Phospholipids from Crude Palm Oil Using Citric Acid and Super Flo B80® and Tonsil®. Food Bioprod. Process. 2021, 129, 75–83. [Google Scholar] [CrossRef]
- Abedi, E.; Amiri, M.J.; Sahari, M.A. Kinetic, Isotherm and Thermodynamic Investigations on Adsorption of Trace Elements and Pigments from Soybean Oil Using High Voltage Electric Field-Assisted Bleaching: A Comparative Study. Process Biochem. 2020, 91, 208–222. [Google Scholar] [CrossRef]
- Hew, K.S.; Asis, A.J.; Tan, T.B.; Yusoff, M.M.; Lai, O.M.; Nehdi, I.A.; Tan, C.P. Revising Degumming and Bleaching Processes of Palm Oil Refining for the Mitigation of 3-Monochloropropane-1,2-Diol Esters (3-MCPDE) and Glycidyl Esters (GE) Contents in Refined Palm Oil. Food Chem. 2020, 307, 125545. [Google Scholar] [CrossRef] [PubMed]
- Rusinek, R.; Kmiecik, D.; Gawrysiak-Witulska, M.; Malaga-Toboła, U.; Tabor, S.; Findura, P.; Siger, A.; Gancarz, M. Identification of the Olfactory Profile of Rapeseed Oil as a Function of Heating Time and Ratio of Volume and Surface Area of Contact with Oxygen Using an Electronic Nose. Sensors 2021, 21, 303. [Google Scholar] [CrossRef]
- Kruk, J.; Szymańska, R. Singlet Oxygen Oxidation Products of Carotenoids, Fatty Acids and Phenolic Prenyllipids. J. Photochem. Photobiol. B Biol. 2021, 216, 112148. [Google Scholar] [CrossRef] [PubMed]
- Gurak, P.D.; Mercadante, A.Z.; González-Miret, M.L.; Heredia, F.J.; Meléndez-Martínez, A.J. Changes in Antioxidant Capacity and Colour Associated with the Formation of β-Carotene Epoxides and Oxidative Cleavage Derivatives. Food Chem. 2014, 147, 160–169. [Google Scholar] [CrossRef]
- Fernandes, A.S.; Nascimento, T.C.; Pinheiro, P.N.; Vendruscolo, R.G.; Wagner, R.; de Rosso, V.V.; Jacob-Lopes, E.; Zepka, L.Q. Bioaccessibility of Microalgae-Based Carotenoids and Their Association with the Lipid Matrix. Food Res. Int. 2021, 148, 110596. [Google Scholar] [CrossRef]
- Khaligh, B. Investigation of the Bleaching Potential of Aluminum and Magnesium Oxides in Edible Oil Industry. Food Sci. Technol. 2021, 18, 21–33. [Google Scholar] [CrossRef]
- Wroniak, M.; Kwiatkowska, M.; Krygier, K. Charakterystyka wybranych olejów tłoczonych na zimno. ŻYWNOŚĆ. Nauka. Technologia. Jakość 2006, 47, 46–58. [Google Scholar]
- Aachary, A.A.; Liang, J.; Hydamaka, A.; Eskin, N.A.M.; Thiyam-Holländer, U. A New Ultrasound-Assisted Bleaching Technique for Impacting Chlorophyll Content of Cold-Pressed Hempseed Oil. LWT-Food Sci. Technol. 2016, 72, 439–446. [Google Scholar] [CrossRef]
- Ribeiro, J.A.A.; Almeida, E.S.; Neto, B.A.D.; Abdelnur, P.V.; Monteiro, S. Identification of Carotenoid Isomers in Crude and Bleached Palm Oils by Mass Spectrometry. LWT-Food Sci. Technol. 2018, 89, 631–637. [Google Scholar] [CrossRef]
- Cai, S.; Zhang, Y.; Xia, F.; Shen, G.; Feng, J. An Expert System Based on 1H NMR Spectroscopy for Quality Evaluation and Adulteration Identification of Edible Oils. J. Food Compos. Anal. 2019, 84, 103316. [Google Scholar] [CrossRef]
- Szczurko, K.; Kolodziej, M.; Konieczny, R.; Golimowski, W. Effect of selected grain parameters on the quality of the extruded oil. Przem. Chem. 2019, 98, 82–85. [Google Scholar]
- McDowell, D.; Defernez, M.; Kemsley, E.K.; Elliott, C.T.; Koidis, A. Low vs. High Field 1h Nmr Spectroscopy for the Detection of Adulteration of Cold Pressed Rapeseed Oil with Refined Oils. LWT-Food Sci. Technol. 2019, 111, 490–499. [Google Scholar] [CrossRef]
- Dijkstra, A.J. What to Do with Spent Bleaching Earth? A Review. J. Am. Oil Chem. Soc. 2020, 97, 565–575. [Google Scholar] [CrossRef]
- Rincón, L.A.; Ramírez, J.C.; Orjuela, A. Assessment of Degumming and Bleaching Processes for Used Cooking Oils Upgrading into Oleochemical Feedstocks. J. Environ. Chem. Eng. 2021, 9, 104610. [Google Scholar] [CrossRef]
- Silva, S.M.; Sampaio, K.A.; Ceriani, R.; Verhé, R.; Stevens, C.; De Greyt, W.; Meirelles, A.J.A. Adsorption of Carotenes and Phosphorus from Palm Oil onto Acid Activated Bleaching Earth: Equilibrium, Kinetics and Thermodynamics. J. Food Eng. 2013, 118, 341–349. [Google Scholar] [CrossRef]
- Yener, N.; Biçer, C.; Pekdemir, A.D.; Sarıkaya, Y.; Önal, M. Preparation and Characterization of Nanoporous Powders from Bentonite by Hydrochloric Acid Leaching and Using as Bleaching Earth. SN Appl. Sci. 2020, 2, 717. [Google Scholar] [CrossRef]
- Liu, W.; Yuan, K.; Yin, K.; Zuo, S.; Yao, C. Clay-Activated Carbon Adsorbent Obtained by Activation of Spent Bleaching Earth and Its Application for Removing Pb(II) Ion. Environ. Sci. Pollut. Res. 2021, 28, 711–723. [Google Scholar] [CrossRef]
- Su, D.; Xiao, T.; Gu, D.; Cao, Y.; Jin, Y.; Zhang, W.; Wu, T. Ultrasonic Bleaching of Rapeseed Oil: Effects of Bleaching Conditions and Underlying Mechanisms. J. Food Eng. 2013, 117, 8–13. [Google Scholar] [CrossRef]
- Łaska-Zieja, B.; Marcinkowski, D.; Golimowski, W.; Niedbała, G.; Wojciechowska, E. Low-Cost Investment with High Quality Performance. Bleaching Earths for Phosphorus Reduction in the Low-Temperature Bleaching Process of Rapeseed Oil. Foods 2020, 9, 603. [Google Scholar] [CrossRef]
- Hernández, B.; Sáenz, C.; Alberdi, C.; Diñeiro, J.M. CIELAB Color Coordinates versus Relative Proportions of Myoglobin Redox Forms in the Description of Fresh Meat Appearance. J. Food Sci. Technol. 2016, 53, 4159–4167. [Google Scholar] [CrossRef]
- PN-A-86934:1995; Oils and fats vegetable and animal—Determination of the general spectrophotometric colour. Polish Committee for Standardization: Warszawa, Poland, 1995; ISBN 83-7001-835-1.
- Asgari, S.; Sahari, M.A.; Barzegar, M. Practical Modeling and Optimization of Ultrasound-Assisted Bleaching of Olive Oil Using Hybrid Artificial Neural Network-Genetic Algorithm Technique. Comput. Electron. Agric. 2017, 140, 422–432. [Google Scholar] [CrossRef]
- Kachel, M.; Matwijczuk, A.; Sujak, A.; Czernel, G.; Niemczynowicz, A.; Nowicka, A. The Influence of Copper and Silver Nanocolloids on the Quality of Pressed Spring Rapeseed Oil. Agronomy 2019, 9, 643. [Google Scholar] [CrossRef]
- Moyano, M.J.; Meléndez-Martínez, A.J.; Alba, J.; Heredia, F.J. A Comprehensive Study on the Colour of Virgin Olive Oils and Its Relationship with Their Chlorophylls and Carotenoids Indexes (I): CIEXYZ Non-Uniform Colour Space. Food Res. Int. 2008, 41, 505–512. [Google Scholar] [CrossRef]
- Silva, S.M.; Sampaio, K.A.; Ceriani, R.; Verhé, R.; Stevens, C.; De Greyt, W.; Meirelles, A.J.A. Effect of Type of Bleaching Earth on the Final Color of Refined Palm Oil. LWT-Food Sci. Technol. 2014, 59, 1258–1264. [Google Scholar] [CrossRef]
- Hussin, F.; Aroua, M.K.; Daud, W.M.A.W. Textural Characteristics, Surface Chemistry and Activation of Bleaching Earth: A Review. Chem. Eng. J. 2011, 170, 90–106. [Google Scholar] [CrossRef]



| Parameters | Units | Rapeseed Oil |
|---|---|---|
| Acid value | mg KOH·g−1 | 1.12 |
| Density (15 °C) | kg·m−3 | 918 |
| Kinematic viscosity (40 °C) | mm2·s−1 | 35.6 |
| Flash-point | °C | 236 |
| Calorific value | kJ kg−1 | 38,763 |
| Density [g∙dm−3] | pH | Moisture [%, m/m] | Share (%) | |||||
|---|---|---|---|---|---|---|---|---|
| SiO2 | Al2O3 | Fe2O3 | MgO | CaO | Na2O | |||
| 350 | 8 | ~12 | 60 | 3 | 15 | 20 | 0.5 | 0.05 |
| Mass of BE [g] | Sample No. | Content of Chlorophylls [-] | Content of Carotenoids [-] | Overall Color of the Oil |
|---|---|---|---|---|
| 200 | 1 | 126.67 a ± 3.21 | 696.33 a ± 1.53 | 823.00 a ± 3.61 |
| 2 | 51.33 d ± 0.58 | 412.33 d ± 1.15 | 463.66 d ± 1.53 | |
| 3 | 48.00 e ± 1.73 | 386.67 e ± 2.08 | 434.67 e ± 0.58 | |
| 4 | 65.67 c ± 0.58 | 461.67 c ± 1.53 | 527.34 c ± 1.53 | |
| 5 | 74.00 b ± 1.73 | 522.00 b ± 5.00 | 596.00 b ± 6.56 | |
| 6 | 75.33 b ± 1.53 | 520.67 b ± 1.53 | 596.00 b ± 3.00 | |
| 300 | 1 | 138.67 a ± 2.08 | 528.00 a ± 1.00 | 666.67 a ± 1.53 |
| 2 | 52.00 c ± 1.73 | 286.67 e ± 2.52 | 338.67 e ± 1.53 | |
| 3 | 36.67 d ± 1.53 | 326.00 d ± 1.73 | 362.67 d ± 0.58 | |
| 4 | 53.67 c ± 1.53 | 384.00 c ± 2.65 | 437.67 c ± 3.51 | |
| 5 | 65.33 b ± 3.06 | 441.67 b ± 2.08 | 507.00 b ± 3.61 | |
| 6 | 68.00 b ± 1.73 | 439.33 b ± 2.52 | 507.33 b ± 4.04 | |
| 400 | 1 | 124.67 a ± 3.51 | 660.67 a ± 3.79 | 785.34 a ± 5.69 |
| 2 | 43.33 d ± 1.15 | 319.00 d ± 8.19 | 362.33 d ± 8.02 | |
| 3 | 25.67 e ± 0.58 | 265.33 e ± 1.53 | 291.00 e ± 2.00 | |
| 4 | 44.33 d ± 2.08 | 332.67 c ± 3.79 | 377.00 c ± 5.57 | |
| 5 | 57.33 c ± 1.15 | 412.67 b ± 3.06 | 470.00 b ± 2.00 | |
| 6 | 61.67 b ± 1.15 | 414.67 b ± 3.06 | 476.34 b ± 4.16 | |
| 500 | 1 | 132.33 a ± 1.53 | 601.33 a ± 3.79 | 733.66 a ± 4.93 |
| 2 | 35.67 d ± 0.58 | 237.00 d ± 2.65 | 272.67 e ± 3.21 | |
| 3 | 15.33 f ± 0.58 | 216.67 e ± 0.58 | 232.00 f ± 1.00 | |
| 4 | 30.00 e ± 1.00 | 251.33 c ± 3.06 | 281.33 d ± 3.51 | |
| 5 | 41.00 c ± 1.00 | 333.33 b ± 1.15 | 374.33 c ± 0.58 | |
| 6 | 47.00 b ± 1.00 | 337.33 b ± 2.08 | 384.33 b ± 2.52 | |
| 600 | 1 | 127.67 a ± 0.58 | 577.67 a ± 1.53 | 705.34 a ± 2.08 |
| 2 | 25.67 b ± 0.58 | 199.67 d ± 0.58 | 225.34 c ± 1.15 | |
| 3 | 3.00 f ± 0.000 | 152.33 e ± 1.53 | 155.33 d ± 1.53 | |
| 4 | 11.67 e ± 0.58 | 213.33 c ± 2.08 | 225.00 c ± 2.00 | |
| 5 | 14.33 d ± 0.58 | 283.33 b ± 3.06 | 297.66 b ± 2.52 | |
| 6 | 18.33 c ± 0.58 | 282.00 b ± 3.46 | 300.33 b ± 4.04 |
| Mass of BE [g] | Sample No. | Parameter L* | Parameter a* | Parameter b* | Parameter C | Parameter h° |
|---|---|---|---|---|---|---|
| 200 | 1 | 90.79 c ± 0.40 | −6.56 a ± 0.09 | 96.77 a ± 0.14 | 96.99 a ± 0.15 | 93.88 d ± 0.05 |
| 2 | 92.94 ab ± 0.05 | −10.79 d ± 0.06 | 91.01 c ± 0.62 | 91.64 c ± 0.60 | 96.76 a ± 0.08 | |
| 3 | 93.31 a ± 0.12 | −10.88 d ± 0.04 | 90.68 c ± 0.96 | 91.33 c ± 0.95 | 96.84 a ± 0.09 | |
| 4 | 92.45 b ± 0.38 | −10.15 c ± 0.07 | 93.87 b ± 0.65 | 94.42 b ± 0.65 | 96.17 b ± 0.04 | |
| 5 | 92.49 b ± 0.49 | −10.00 bc ± 0.09 | 95.42 a ± 0.79 | 95.94 a ± 0.79 | 95.98 c ± 0.05 | |
| 6 | 92.53 b ± 0.33 | −9.94 b ± 0.22 | 95.27 ab ± 1.25 | 95.79 ab ± 1.26 | 95.96 c ± 0.07 | |
| 300 | 1 | 90.74 d ± 0.59 | −7.16 a ± 0.26 | 96.86 a ± 0.30 | 97.13 a ± 0.30 | 94.23 d ± 0.16 |
| 2 | 93.72 ab ± 0.38 | −11.98 c ± 0.13 | 89.42 c ± 3.31 | 90.22 c ± 3.28 | 97.64 b ± 0.30 | |
| 3 | 94.11 a ± 0.09 | −12.45 d ± 0.08 | 85.92 d ± 1.64 | 86.82 d ± 1.63 | 98.25 a ± 0.16 | |
| 4 | 93.28 bc ± 0.03 | −11.57 b ± 0.01 | 93.22 b ± 0.12 | 93.94 b ± 0.12 | 97.07 c ± 0.01 | |
| 5 | 93.12 c ± 0.09 | −11.32 b ± 0.23 | 92.23 b ± 0.37 | 92.92 bc ± 0.36 | 97.00 c ± 0.16 | |
| 6 | 92.94 c ± 0.01 | −11.33 b ± 0.08 | 92.75 b ± 0.62 | 93.44 b ± 0.61 | 96.97 c ± 0.10 | |
| 400 | 1 | 90.80 e ± 0.21 | −6.64 a ± 0.26 | 98.42 a ± 0.43 | 98.64 a ± 0.41 | 93.86 e ± 0.16 |
| 2 | 94.29 b ± 0.07 | −11.52 c ± 0.17 | 88.55 c ± 1.19 | 89.30 c ± 1.16 | 97.42 b ± 0.21 | |
| 3 | 94.75 a ± 0.04 | −11.99 d ± 0.12 | 85.60 d ± 1.44 | 86.44 d ± 1.42 | 97.98 a ± 0.21 | |
| 4 | 93.96 c ± 0.10 | −11.50 c ± 0.12 | 91.99 b ± 0.13 | 92.70 b ± 0.11 | 97.13 c ± 0.08 | |
| 5 | 93.37 d ± 0.12 | −11.23 c ± 0.13 | 92.44 b ± 0.44 | 93.12 b ± 0.44 | 96.93 cd ± 0.07 | |
| 6 | 93.42 d ± 0.33 | −10.91 b ± 0.15 | 92.79 b ± 0.51 | 93.43 b ± 0.49 | 96.71 d ± 0.13 | |
| 500 | 1 | 91.12 d ± 0.01 | −6.57 a ± 0.06 | 96.98 a ± 0.17 | 97.20 a ± 0.16 | 93.88 d ± 0.04 |
| 2 | 95.21 b ± 0.20 | −12.58 c ± 0.17 | 83.95 b ± 1.46 | 84.88 b ± 1.43 | 98.52 b ± 0.23 | |
| 3 | 95.81 a ± 0.19 | −12.93 d ± 0.06 | 76.84 c ± 0.97 | 77.92 c ± 0.95 | 99.56 a ± 0.13 | |
| 4 | 95.05 b ± 0.09 | −12.54 c ± 0.20 | 83.89 b ± 0.19 | 84.82 b ± 0.15 | 98.50 b ± 0.16 | |
| 5 | 94.56 c ± 0.04 | −12.18 b ± 0.07 | 86.22 b ± 2.38 | 87.08 b ± 2.36 | 98.05 c ± 0.21 | |
| 6 | 94.38 c ± 0.20 | −12.05 b ± 0.16 | 85.01 b ± 0.65 | 85.86 b ± 0.62 | 98.07 c ± 0.17 | |
| 600 | 1 | 90.37 f ± 0.08 | −6.37 a ± 0.24 | 96.65 a ± 0.08 | 96.86 a ± 0.09 | 93.77 d ± 0.14 |
| 2 | 94.99 c ± 0.16 | −12.55 bc ± 0.16 | 82.66 b ± 1.36 | 83.61 b ± 1.33 | 98.63 c ± 0.23 | |
| 3 | 95.92 a ± 0.01 | −12.87 c ± 0.02 | 76.03 c ± 2.18 | 77.11 c ± 2.16 | 99.61 a ± 0.26 | |
| 4 | 95.51 b ± 0.05 | −12.45 b ± 0.15 | 78.36 c ± 0.78 | 79.35 c ± 0.79 | 99.03 b ± 0.02 | |
| 5 | 94.27 d ± 0.04 | −12.37 b ± 0.02 | 82.28 b ± 1.67 | 83.21 b ± 1.65 | 98.56 c ± 0.18 | |
| 6 | 94.04 e ± 0.17 | −12.29 b ± 0.35 | 82.44 b ± 0.86 | 83.35 b ± 0.79 | 98.48 c ± 0.32 |
| Sample No. | Amount of Bleaching Earth [g] | ||||
|---|---|---|---|---|---|
| 200 | 300 | 400 | 500 | 600 | |
| 1. | [90.79;−6.56;96.77] | [90.74;−7.16;96.86] | [90.80;−6.64;98.42] | [91.12;−6.57;96.98] | [90.37;−6.37;96.65] |
![]() | ![]() | ![]() | ![]() | ![]() | |
| 2. | [92.94;−10.79;91.01] | [93.72;−11.98;89.42] | [94.29;−11.52;88.55] | [95.21;−12.58;83.95] | [94.99;−12.55;82.66] |
![]() | ![]() | ![]() | ![]() | ![]() | |
| 3. | [93.31;−10.88;90.68] | [94.11;−12.45;85.92] | [94.75;−11.99;85.60] | [95.81;−12.93;76.84] | [95.92;−12.87;76.03] |
![]() | ![]() | ![]() | ![]() | ![]() | |
| 4. | [92.45;−10.15;93.87] | [93.28;−11.57;93.22] | [93.96;−11.50;91.99] | [95.05;−12.54;83.89] | [95.51;−12.45;78.36] |
![]() | ![]() | ![]() | ![]() | ![]() | |
| 5. | [92.49;−10.00;95.42] | [93.12;−11.32;92.23] | [93.37;−11.23;92.44] | [94.56;−12.18;86.22] | [94.27;−12.37;82.28] |
![]() | ![]() | ![]() | ![]() | ![]() | |
| 6. | [92.53;−9.94;95.27] | [92.94;−11.33;92.75] | [93.42;−10.91;92.79] | [94.38;−12.05;85.01] | [94.04;−12.29;82.44] |
![]() | ![]() | ![]() | ![]() | ![]() | |
Publisher’s Note: MDPI stays neutral with regard to jurisdictional claims in published maps and institutional affiliations. |
© 2022 by the authors. Licensee MDPI, Basel, Switzerland. This article is an open access article distributed under the terms and conditions of the Creative Commons Attribution (CC BY) license (https://creativecommons.org/licenses/by/4.0/).
Share and Cite
Marcinkowski, D.; Czwartkowski, K.; Bochniak, M.; Wereńska, M.; Krzaczek, P. Reuse of Bleaching Earth: The Green Solution for Rapeseed Oil Producers. Sustainability 2022, 14, 13071. https://doi.org/10.3390/su142013071
Marcinkowski D, Czwartkowski K, Bochniak M, Wereńska M, Krzaczek P. Reuse of Bleaching Earth: The Green Solution for Rapeseed Oil Producers. Sustainability. 2022; 14(20):13071. https://doi.org/10.3390/su142013071
Chicago/Turabian StyleMarcinkowski, Damian, Kamil Czwartkowski, Marta Bochniak, Monika Wereńska, and Paweł Krzaczek. 2022. "Reuse of Bleaching Earth: The Green Solution for Rapeseed Oil Producers" Sustainability 14, no. 20: 13071. https://doi.org/10.3390/su142013071
APA StyleMarcinkowski, D., Czwartkowski, K., Bochniak, M., Wereńska, M., & Krzaczek, P. (2022). Reuse of Bleaching Earth: The Green Solution for Rapeseed Oil Producers. Sustainability, 14(20), 13071. https://doi.org/10.3390/su142013071































