Next Article in Journal
The Design of the Outer-Rotor Brushless DC Motor and an Investigation of Motor Axial-Length-to-Pole-Pitch Ratio
Previous Article in Journal
Comparative Study of Park Evaluation Based on Text Analysis of Social Media: A Case Study of 50 Popular Parks in Beijing
 
 
Font Type:
Arial Georgia Verdana
Font Size:
Aa Aa Aa
Line Spacing:
Column Width:
Background:
Article

Model and Approach of Solid Line Setting Based on Merge Safety and Merge Probability

1
Research Institute of Highway, Ministry of Transport, Beijing 100088, China
2
Yunnan Provincial Institute of Transportation Planning and Design Co., Ltd., Kunming 650011, China
*
Author to whom correspondence should be addressed.
Sustainability 2022, 14(19), 12742; https://doi.org/10.3390/su141912742
Submission received: 13 August 2022 / Revised: 17 September 2022 / Accepted: 26 September 2022 / Published: 6 October 2022

Abstract

:
To improve the safety of merging vehicles and reduce the possibility of accidents, the easiest and most effective way is to adjust the existing traffic facilities. This study examines the requirements and approach of setting a new merge marking. First, a marking calculation model for the acceleration lane was constructed by taking the vehicle-merging probability as the limiting condition and combining the acceptable gap theory. Second, considering the limitation of ramp speed and acceleration lane length, the length of the solid merge line under different volumes and speeds was determined, and the value under different cases was given. Third, the safe change clearance and the length of the solid merge line under different scenarios were analyzed with numerical simulations using MATLAB. Finally, VISSIM was used for the simulation verification of the actual merging zone. The calculation results are that at the same probability, the increase of the volume outside the mainline, the longer the length of the solid merge line. When the volume of the outer lane is 100 pcu/h and 500 pcu/h, the actual gap value is greater than the minimum gap value, and vehicles can safely merge into the mainline. When the volume is 1000 pcu/h, the gap value is less than the minimum safe gap and cannot meet the safe merging, and control measures need to be taken for the lane. The results of the TTC conflict analysis show that it is recommended to set the solid merge line at service level two and above and that the service level three can be set in some cases. The setting of the solid merge line can further increase the vehicle acceleration space, improve the merge speed, and enhance the safety of the merge.

1. Introduction

The traffic operation at the interchange is more complicated than the basic section, especially in the entrance/exit area. The interference between the ramp traffic and the mainline traffic is very frequent, which has a certain negative impact on the operation efficiency, stability, and safety, while the length of the acceleration lane and the method of setting the signs and markings have a significant impact on reducing the accident rate and improving the highway capacity [1,2,3].
The characteristics of the highway merge zone have been studied extensively, including the calculation approach of acceleration lane length, the relationship between mainline and ramp, and the method of merge zone sign marking setting. There are many studies on acceleration lane lengths, mainly based on acceptable vehicle clearance and the waiting time for lane change [4,5,6]. At the same time, a study was also conducted on the acceleration length required for different types of vehicles; ref. [7] presents segmented acceleration models which take into account the velocity of a single vehicle at a specific location. A percentile distance-velocity curve is created at each ramp, and a regression model is generated and predicts the required acceleration length for a given merging speed [7] using the same approach. Ref. [8] investigates the length calculation method based on truck data and proposes recommendations for road design [8]. For the sign markings in the merging area, some studies researched based on the driver’s lane change characteristics, the number of signs, sign information, etc. and proposed a sign marking setting method that meets the driver’s characteristics [9]. Similarly, Ding Can proposed a graded colored marking, explaining the definition of graded colored marking, the significance of the setting, and the principle of division and determining the calculation index, which has a better role for providing road information [10]. In addition, there are many studies on the flow and capacity of merging areas, including Xue Xingjian who analyzed the relationship between the capacities of merging areas under different flows based on the probability of merging failure and providing new ideas for the design of acceleration lanes [11].
Traffic signs and markings play a key role in highways, especially in conflict-prone merging zones. At present, China has formed a complete set of marking setting processes with good application, but it cannot be ignored that with the continuous change of traffic conditions, many new types of markings are not included in the current specification, resulting in the lack of a basis for marking setting in some sections. The solid merge line has gradually been used in China in recent years; its main role is to improve the merge vehicle speed and reduce the speed difference between the main line and the ramp to improve the merge safety, but, so far, there is no clear regulation. Hence, the unification of its requirements has a certain necessity.
The vehicle operation in the merging area of the interchange is influenced by the acceleration lane and sign markings. The Chinese interchange code requires a dashed line after the merge point, which allows vehicles to change lanes at any time in the area, but according to the actual observation results, many drivers do not accelerate to the minimum merging speed at the merging point, and the merging of vehicles at this time will cause greater safety risks. Thus, some studies have proposed the practice of changing part of the dashed lines after the merging point to solid lines.
One study in the southeast proposed a variable marking approach for this problem, setting the marking between the acceleration lane and the outer lane as an LED variable marking and changing the length of the solid line at any time, thus increasing the merging speed of the ramp vehicles as much as possible and improving the merging safety. However, the application of this method is poor, especially for the high requirements of anti-slip road surface so its implementation has a certain degree of difficulty [12].
The local standard of Zhejiang Province, China, “Design Code for Highway Traffic Safety Facilities” proposes that the longitudinal markings at the entrance of the ramp should be set with a solid white line of half the length, and they may be accompanied by the necessary flexible isolation facilities to guide the vehicle [13]. However, whether this method can meet the actual situation needs to be analyzed in conjunction with the traffic composition and the size of the flow. Additionally, the maximum value of the solid merge line needs to be considered to ensure its coordination with the acceleration lane and the gradual change section.
The U.S. “Manual on Uniform Traffic Control Devices for Streets and Highways” provides that part of the downstream of the merge point can choose to use the solid line depending on the situation, and the solid line can be standard width or widened, while clearly the length of the solid line can be changed but does not specify the length of the set and the specific traffic conditions [14].
The German interchange specification also has provisions to change some of the dashed lines to solid white lines and gives the length of the set-up under different numbers of mainline lanes but fails to give specific traffic conditions. We especially notice that there is already a brief discussion of the setup requirements in the German norms, but a systematic proof process is temporarily missing [15].
In summary, the practice of using the solid merge line for acceleration lanes has been established, but the methods and conditions for setting the solid merge line in different traffic environments are not available in the literature and need to be studied in greater depth.
The current marking problems are the merging area marking length; the variable lane space and other factors affect each other resulting in the length of the solid merge line not being uniform; adapting to the flow and speed conditions are not clear; the merging area triangle end channelization marking provides a safe merging sight distance and a certain acceleration space; the reasonable setting of the solid merge line can increase the vehicle acceleration space; and improving the speed. However, if the solid merge line is too long, the vehicle has less opportunity to change lanes, making it easy to be a dangerous operation. Hence, the solid merge line should have a certain tolerance and flexibility.
Based on the above analysis, the article establishes an application model from the actual research situation in China. The calculation method is clarified with the constraints of vehicle-merging probability, safe lane change, and acceleration lane length. The application effect is analyzed using VISSIM simulation, and the flow conditions for the application are determined. The method provided in the article can provide a reference for the revision of the marking codes, while specific practical applications can be carried out and will be realized in the coming year.
The structure of the article mainly includes the following parts. First, short practical research is given. Second, a reasonable probability and acceptable gap model is established, and the method of taking the length is determined. Third, the summary analysis of the setting law is carried out by the method of numerical simulation, and the method is applied practically. Finally, a short conclusion is given.

2. Problem Source

2.1. Field Observation and Problem Description

The practice of the solid merge line has been implemented in several provinces in China. The group investigated 12 acceleration lanes of a highway with the solid merge line and obtained the location and speed of the test vehicles changing lanes after the solid merge line, as shown in Figure 1.
As shown by the red dot in Figure 1, for the vehicle in the solid merge line after the end of the lane change position, it can be seen that there are 10 acceleration lane change positions that are in the 40 m range, and combined with the speed, it can be seen the vehicles merge into the main line immediately. According to the actual research, some merge areas have enough acceptable gaps in the solid line section, but due to the long solid merge line, vehicles cannot merge in time and have even decelerated their operations to adapt to the acceptable gap, increasing the risk of merging. The length of some solid merge lines cannot adapt to the actual situation of the merge area, and the unreasonable markings reduce the efficiency and safety of the merge area. Based on this problem, this paper explores the method of setting the solid merge line considering the merge probability and safe merge.

2.2. Schematic Illustration

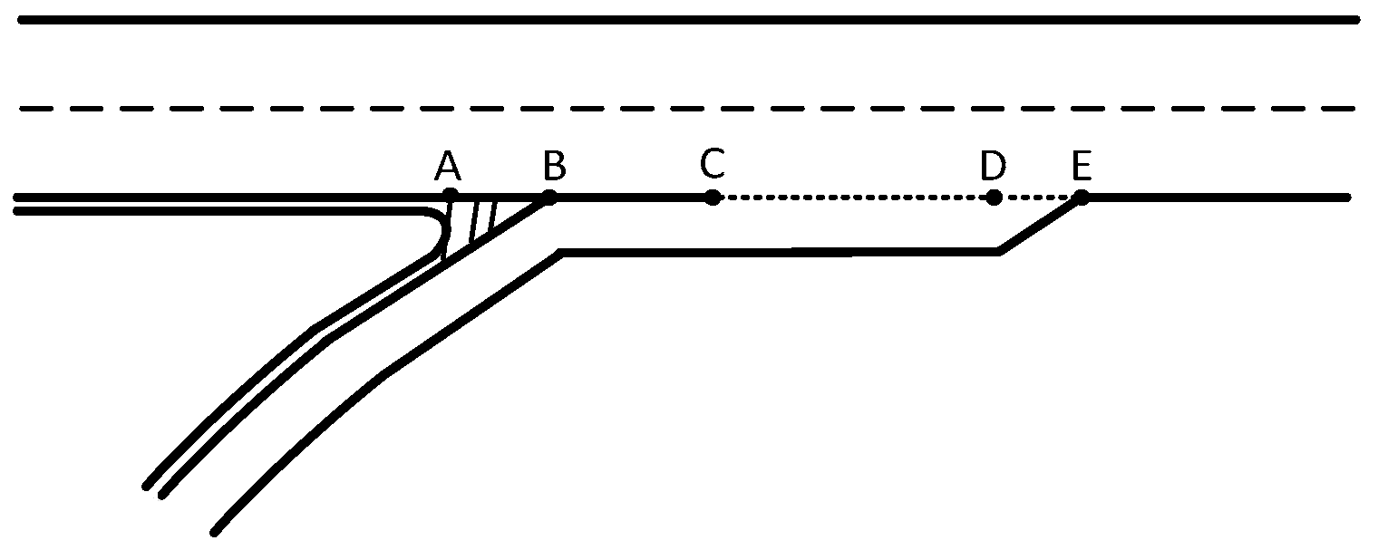
The solid merge line is an adjustment of a section of the dashed line after the merge point so its length is related to the mainline volume, ramp volume, speed, and other factors. Figure 2 shows the diagram of the solid merge line where point A is the merge nose, point B is the merge point, point C is the end of the solid merge line, point D is the beginning of the acceleration lane fade section, and E is the end of the acceleration lane. L A B is the distance from the merge nose to the merge point, L A C is the distance from the merge nose to the end of the solid merge line, L B C is the length of the solid merge line of the article, L A E is the length of the acceleration lane, L A D is the length of the acceleration lane before the fading section, and L B E is the length of the acceleration lane after the merge point.
The setting of the solid merge line needs to be combined with the flow, conflict, speed, and other factors. Thus, the article builds a model based on several factors. The process of building the model and analyzing the results is shown in Figure 3.

3. Mathematical Models

3.1. Probabilistic Model of Merging Area

Drivers in the process of merging into the mainline will be affected by the main road flow, space headway, speed, and other factors, including the different traffic situations, drivers choosing different merging strategies, whether the space headway is large enough to give drivers a greater chance to merge, and vice versa when the space headway is close to the critical gap reducing the merging opportunity. Based on this, the article first establishes the merging probability model for accelerated lanes.
The merging probability model assumes the following. First, the driver characteristics are assumed to be the same, i.e., the driver’s estimate of headway is the same, and second, the arrival of the outer lane vehicles on the mainline is assumed to obey a Poisson distribution.
If the vehicle arrival in the outer lane obeys Poisson distribution, the space headway satisfies the negative exponential distribution, and its distribution function is as in Equation (1).
F ( t ) = 1 e λ t , t 0 0 ,   t < 0
λ is the number of vehicles in the outer lane of the main line. Assuming that the initial acceptable gap to the driver is T c , the relationship between the length of vehicle travel in the acceleration lane and the critical clearance is as in Equation (2).
t c ( l ) = T c T c L AE × l
Formula l for the acceleration lane has been traveling length so that a = T c L AE , and then Formula (2) can be changed to Formula (3).
t c ( l ) = T c a l
From the acceptable gap theory, it is known that when the space headway is greater than the critical gap, the vehicle can merge into the mainline., Hence, the probability that the vehicle can merge into the mainline is as in Equation (4).
p ( t t c ( l ) ) = e λ ( T c a l )
Using the idea of differentiation in mathematics, assume that the probability of vehicle merging at x = l + Δ l is p ( l + Δ l ) , then
p ( l + Δ l ) = p ( l ) + p ( Δ l ) p ( l ) × p Δ l
p ( Δ l ) = p ( t t c ( l ) ) × Δ t
Assuming that the minimum merging speed of a vehicle in the acceleration lane is v , and since Δ l is very small (tends to 0) in a very small amount of time, the speed of the vehicle can be considered constant. Then, Δ t = Δ l / v so Equations (5) and (6) can be rewritten as Equation (7) by dividing Δ l .
p ( l + Δ l ) p ( l ) Δ l = ( 1 p ( l ) ) × p ( t t c ( l ) ) v
Taking the limit of Δ l on the left side of Equation (7) yields Equation (8).
p l = ( 1 p ( l ) ) × e λ ( T c a l ) v
According to the physical meaning of the merging position, when l = 0 , then p 0 = 0 . The result of the system of first-order linear differential equations is as in Equation (9).
p ( l ) = 1 e 1 v λ a e λ ( T c a l ) e λ T c
Equation (9) is the cumulative probability of merging when the vehicle travels a distance after reaching the minimum merging speed.

3.2. Safe Lane Change Model

Interchanges are subject to frequent conflicts due to the changing of vehicles Hence, to ensure the safety of changing vehicles, it is necessary to consider not only the critical gap of changing lanes but also the safety distance after changing lanes and to set up control measures according to different safety distances [16,17].
As shown in Figure 4, where A is the lane change vehicle, (A + 1) is the vehicle in front of it after the lane change, and assuming that (A + 1) suddenly decelerate, then A vehicle will follow and start to decelerate. The A vehicle deceleration can be divided into two processes where d 1 is the braking reaction distance of the A vehicle, d 2 is the deceleration distance of the A vehicle, d 3 is the safety distance maintained when the vehicle is stationary and generally takes 5 m, d 4 is the deceleration distance of the vehicle, D 1 is the distance required with the previous vehicle. The solution process is as in Equations (10)–(13).
d 1 = V A 3.6 × t
d 2 = 1 3.6 2 V A 2 2 g μ + i
d 4 = 1 3.6 2 V A + 1 2 2 g μ + i
D 1 = d 1 + d 2 + d 3 d 4
Similarly, the distance between vehicles A and the rear vehicle (A − 1) can be calculated as follows, see Figure 5:
d 5 = V ( A 1 ) 3.6 × t 0
d 6 = 1 3.6 2 V ( A 1 ) 2 2 g μ + i
d 7 = 1 3.6 2 V A 2 2 g μ + i
D 2 = d 5 + d 6 + d 3 d 7
where t is the driver’s braking reaction time, generally taken as 2.5 s, μ is the friction coefficient of the road, i is the road slope, and g is the acceleration of gravity, t 0 for (A − 1) is the vehicle braking reaction time because the front vehicle will have a turn signal prompt considered at 1 s [18].
Vehicles need to meet two conditions to complete a safe lane change, to meet the safety distance with the front, and to ensure that the distance with the rear of the vehicle is greater than the distance of the lane change. The safe lane change model schematic diagram is in Figure 6. The unsafe lane change model in is Figure 7. The unsafe lane change of the vehicle in the process of the lane change will cut the rear of the vehicle.
The mainline safety space headway can be obtained as Equation (18).
S min = D 1 + max ( D 2 , D 3 )
where D 3 is the distance of lane change, D 3 = W × cot θ , and W , θ are the lane width and the offset angle of the vehicle lane change, respectively [19].
To analyze the safety of vehicles merging at different locations in the acceleration lane, the space headway of vehicles at different locations in the acceleration lane needs to be analyzed. First, the cumulative merging probability of the vehicle at a certain point needs to meet the requirements of p ( l ) , and the value of p ( l ) corresponding to the cumulative merging probability of l can be calculated by Equation (9), and the critical gap can be inversely derived by Equation t c ( l ) , and the mainline headway of the vehicle at position l can be obtained by the equation, S = V 3.6 × t c ( l ) . By comparing the analysis S min and S , we can obtain whether the vehicle can merge safely, and the discriminatory conditions are as in Equation (19).
S < S min , u n s a f e S S min ,   s a f e
The driver-acceptable critical clearance value decreases as the distance traveled in the acceleration lane increases. Therefore, if the critical gap at the end point satisfies the safety merging condition, the safety condition is satisfied at all positions, as shown in Equation (19).

3.3. The Maximum Length of Solid Merge Line

Through the above calculation, we can get the size of the traveled distance to meet the cumulative merge probability. However, considering the limitation of the length of the acceleration lane, it is necessary to specify the maximum value of the solid merge line. The determination of the maximum value needs to consider the merging speed of the vehicles and ensure that the vehicles in the remaining acceleration lane can safely merge into the mainline. In addition, it also needs to consider that too long of a solid merge line will cause an increase in conflicts. After reviewing the relevant literature and simulation results of different traffic flows, the maximum solid merge line length setting requirements are obtained as follows [13,15].
L max = 0.3 L B E
L max L A D l L A B

3.4. The Calculation Approach of the Solid Merge Line

Through the above analysis, the maximum length of the solid merge line can be obtained to meet certain conditions; however, the length of the solid merge line also needs to consider the restrictions of the ramp design speed and the length of the acceleration lane. Hence, this study divides the length taken into the following two cases.
Figure 8 shows a schematic of the value of L 0 L max , where L 0 is the distance required to accelerate to the minimum merging speed after the merging point, L max is the maximum length required for the solid merge line, and the calculation formula is as follows.
L 0 = v 2 s 2 25.92 a i g
v = V 20
V is the mainline speed, km/h, v is the minimum merging speed, km/h, s is the merging point speed, km/h, a is the acceleration, m/s2, and i is the gradient.
The rules for taking values in that case are as follows:
i f   L 0 + l L A D , t h e n   L B C = L 0 L A B i f   L 0 + l > L A D , t h e n   L B C = L A D l L A B
A diagram of the values of L 0 > L max is shown in Figure 9, where V 0 is the speed of the vehicle at the maximum length of the solid merge line.
When L 0 > L max , merging needs to start at the maximum length and has the following value rules:
i f   L max + l L A D , t h e n   L B C = L max i f   L max + l > L A D , t h e n   L B C = L A D l L A B
In summary, if the sum of the acceleration length and the travel length after reaching the minimum merging speed is greater than the total length of the acceleration lane, it is necessary to adjust the design speed of the ramp or to control the vehicles in the outer lane to some extent to ensure the effectiveness of its setting.
Different acceleration lengths and maximum lengths have different effects on traffic volume. To compare and analyze the effectiveness of setting up the solid merge line, this study follows up with a simulation analysis using the traffic conflict in the merge zone as an evaluation index to clarify the effect on traffic volume.

4. Theoretical Calculation Analysis

4.1. Numerical Simulation Calculation

To analyze the requirements of setting the solid merge line under different traffic volumes, this study conducted a numerical simulation based on MATLAB, analyzed the safe merging process of vehicles, clarified the calculation and value of solid merge line under different traffic volume, and proposed control measures for the merging area.
The basic assumptions are as follows: for the mainline traffic speed V = 100   km / h , the front and rear vehicle speed after the lane change is 100 km/h, the speed of the lane change vehicle remains unchanged, and the ramp speed takes the value range of [ 40 , 70 ] , L A E = 300   m , L A B = 60   m , L D E = 80   m , T C = 6   s , λ = [ 100 , 1000 ] , p l 0.9 , W = 3.75   m , θ = 5 , μ = 0 , i = 0 , a = 1.2   m / s 2 , and g = 9.8   m / s 2 .
The relationship between merging probability, traffic volume, and traveled length is calculated according to the cumulative convergence probability model, as shown in Figure 10, and the relationship between traffic volume and traveled length satisfying 90% cumulative merging probability is shown in Figure 11.
An analysis of Figure 10 and Figure 11 can be seen in the same probability with the mainline outside the flow increases. The distance the vehicle traveled gradually increased, indicating that the traffic intensity of the road section for the probability of safe convergence of vehicles has a significant impact. The higher the traffic flow on the main road, the longer the vehicle travels after reaching the minimum merging speed, and the longer the acceleration lane is required. In addition, the convergence probability is 90%, and the volume and traveled length for the linear relationship are calculated in range of 61–163 m, ensuring more than 90% of the minimum merging speed of vehicles in the mainline. The remaining vehicles will be in the gradual change section, and the remaining length of the convergence at this time can be based on the length of the accelerator lane length optimization.
If the critical gap at the end point satisfies the safety merging condition, the safety condition is satisfied at all positions. Therefore, based on the minimum clearance S min = 92   m calculated by the safe headway calculation model, the S values of the corresponding cases are 132 m, 109 m, and 76 m for the flows of 100, 500, and 1000 vehicles, respectively, in the outer lane, and the comparative analysis S min and S shows that the vehicles can safely merge into the main line when the flows are 100 and 500, but when the flow is 1000, it is not possible to meet the safe merging. Therefore, it is necessary to control the flow rate of the outer lane when setting the solid line.

4.2. Final Decision on Length

After the analysis of the safe merging of vehicles has been explained in detail, the following specific values of the solid merge line are explained. After the calculation of Formula (20)–(23) is obtained for different ramp speeds under the L 0 range of 48 m–154 m, L max = 72   m , the two values overlap in part of the range., The analysis of the different taking values and the final analysis results are shown in Table 1.
Table 1 show the length values for the four cases where the first two cases are the values of L 0 L max . On this basis, two more cases are divided in conjunction with the limitation of the acceleration lane length. It can be seen that case 1 meets the acceleration lane length limit; the length of the solid merge line can be set according to the results of the article. However, for case 2, which exceeds the acceleration lane length, it is necessary to consider the length of the solid merge line on the basis of the probability of safe vehicle merge, and the ramp speed limit should be adjusted because increasing the speed of the ramp will lead to a reduction in the acceleration distance of the vehicle and then obtain the appropriate length value.
The latter two cases are the values of L 0 > L max . On this basis, the length of the acceleration lane is divided into two cases according to the limitation of the acceleration lane length, one taking the maximum length and the other taking the calculated length. In comparison, the last three cases require the adjustment of ramp speed to play the effect of the solid merge line, which is not easy to use in practice; thus, it needs to be adjusted in conjunction with other control measures. In addition, it should be noted that not all interchanges are suitable for setting the solid merge line. The merge point has reached the minimum merge speed interchange entrance and is not suitable to set the merge line. The reason is that the vehicle has reached the safe merge speed.
Since the setting of the solid merge line is an improvement on existing facilities and the impact of adjusting ramp speeds is relatively more widespread, the following two main measures can be taken.
Control the flow of the outer lane of the main line. That is, the flow decreases can make the vehicle in the acceleration lane travel a reduced distance to ensure that the sum of the acceleration length and the minimum merging speed after reaching the length of the traveled does not exceed the total length of the acceleration lane.
Controlling the vehicle type in the outer lane and prohibiting minibuses from entering can reduce the merging speed of merging vehicles, thus satisfying the restrictions.

5. Case Study

5.1. Simulation Modeling

To clarify the effect of setting the solid merge line proposed in this paper, the traffic simulation of the merge zone based on TTC conflict risk was conducted. The research team conducted speed observations for the merge zone of the high-speed interchange in Jiangsu Province, China, and the observed values of the mainline speed at the interchange are shown in Figure 12. The mainline is set up using different levels of service flow, primary (1200 pcu/h), secondary (2100 pcu/h), and tertiary (3000 pcu/h) with the ramp flow (500 pcu/h) remaining unchanged. This section adopts the mainline two-way, four-lane expressway standard with a design speed of 100 km/h and a ramp design speed of 60 km/h. The total length of the acceleration lane is 234 m, and the length from the merging point to the end of the acceleration lane is 180 m. The VISSIM simulation model was established according to the geometric alignment of the interchange, traffic volume, and other information, and the parameters were calibrated.
As an example, the different LOF is calculated to obtain the length of the marker that exceeded the maximum. Thus, the use of Formula (20) combined with Table 1 can obtain the length of 60 m. Based on different requirements, three groups of simulation scenes were established. Scene 1 was without the solid merge line, scene 2 was the existing 83 m, and scene 3 was 60 m. All three groups of scenes used the same simulation settings, and each group of scenes was simulated with random seeds of 20, 30, 42, 50, and 60, respectively.

5.2. Results Analysis

SSAM software can perform conflict analysis through simulation trajectory files and can read TTC values. The paper selects TTC as the traffic conflict discrimination index., Referring to previous literature on the problem of TTC setting, the TTC threshold is set to 2.8 s in this paper, and the remaining parameters are adopted as software default [20,21].
The number of conflicts and conflict types can be obtained by inputting the simulation trajectory file into SSAM. As shown in Table 2, the numbers of the three scenarios at the mainline secondary service level are that the conflict numbers of different random seeds are inconsistent, and to ensure the effectiveness and accuracy of the simulation, the evaluation index of the article uses the average value of five random seeds.
The merging area is a conflict-prone section, and its main conflict types are rear-end conflict and lane change conflict, and lane change conflict is more likely to cause accidents.
As shown in Figure 13, Figure 14 and Figure 15 for the number of conflicts at different service levels, comparing the rear-end conflicts, it can be seen that there is no significant difference in the number of conflicts at the primary and secondary service levels, but the number of rear-end conflicts underwater at the level 3 increases significantly where the number of conflicts using the existing 83 m solid lane length increases by 51, and the number of conflicts using the 60 m solid lane length obtained in this paper rises by 65. The reason for this is that with the increase in traffic on the mainline, vehicles have less time to find acceptable gaps, which can lead to forced merging of vehicles at the end of the acceleration lane, resulting in rear-end conflicts for the mainline traffic.
The number of conflicting lane changes is significantly reduced. Analysis of the number of conflicting lane changes at the secondary level of service shows that the number of conflicts decreases by 53% for the 83 m length and by 68% for the 60 m length. The reason for the decrease in the number of conflicting lane changes is that the solid merge line can give vehicles more sufficient acceleration to merge into the mainline more quickly.
The purpose of this article is to serve the actual project. Therefore, the 33 interchanges of the three highways involved in this project were investigated, and their traffic flows are all at Level 3 and above service levels. Based on the previous analysis, the setup method proposed in the article can be used for all interchanges.

6. Conclusions

The main results of the article include the following three points. First, the merging probability of vehicles is used as the restriction of the model to ensure that vehicles can merge. Second, the safety of merging vehicles is ensured by the safe spacing of merging vehicles. Third, the method of taking the solid merge line length for different flow rates is summarized, and in addition, the conflict index is used to analyze its effectiveness for a more reasonable application.
The contribution of the article is to unify the calculation method of the length and determine the applicable conditions by using the simulation method. Although the setting of solid merge line has been widely used in China, some conflicts of laws and regulations have occurred due to the lack of authoritative research reports and the lack of uniform setting standards, which have brought negative impacts on traffic operation. Therefore, the method provided in the article will be applied to some merge zones of highways in the coming year, while long time observations will be conducted to demonstrate the rationality of the article’s method, which in turn can be used as a reference for the revision of Chinese marking codes.
Although the solid merge line can improve the merging speed of vehicles, it should be noted that with the increase of traffic volume, its practicality needs to be further explored, especially in the case of mainline speed change. The corresponding adjustment is especially needed. In addition, the research of the article is still in the stage of theoretical calculation and simulation verification so it is worthwhile to investigate deeply whether the assumptions of the model can match the actual road traffic conditions, such as the effect of the headway distribution of the mainline traffic on the length of the marking line. The next step of work needs to validate the method based on the actual measurement data.

Author Contributions

Software and formal analysis, P.G.; supervision and project administration, R.Z.; formal analysis, Q.Z.; funding acquisition and formal analysis, J.Z.; writing—original draft, X.L.; writing—original draft, writing—review and editing, W.P. All authors have read and agreed to the published version of the manuscript.

Funding

Jiangsu Provincial Highway Marking Enhancement Consulting Project; Road Science Institute of the Ministry of Transportation and Communications “Stronger Transportation” Mission; study on the traffic organization scheme of the tunnel and interchange area of the mountain ridge expressway (ZL-2021-05).

Institutional Review Board Statement

Not applicable.

Informed Consent Statement

Not applicable.

Data Availability Statement

Not applicable.

Conflicts of Interest

The authors declare no conflict of interest.

References

  1. Zhen, Z.J.; Xiang, Q.J.; Li, H.; Gu, X. Model for predicting traffic conflict in interchange diverging area. China Saf. Sci. J. 2018, 28, 85–90. [Google Scholar] [CrossRef]
  2. Shang, T.; Wu, P.; Tang, B.M.; Bai, J.R.; Zhou, L.Y. Study on lane-changing game behavior of vehicles in small Spacing section between tunnel and interchange. China Saf. Sci. J. 2021, 31, 68–75. [Google Scholar] [CrossRef]
  3. Kondyli, A.; Elefteriadou, L. Modeling Driver Behavior at Freeway–Ramp Merges. Transp. Res. Rec. 2011, 2249, 29–37. [Google Scholar] [CrossRef]
  4. Li, W.Q.; Shao, Z.K.; Wang, S.H.; Sun, C.Y.; Zheng, L. Calculation method of parallel-type acceleration lane length of urban expressway. J. Traffic Transp. Eng. 2017, 17, 113–121. [Google Scholar]
  5. Yang, G.; Wang, Z.; Xu, H.; Tian, Z. Feasibility of using a constant acceleration rate for freeway entrance ramp acceleration lane length design. J. Transp. Eng. Part A Syst. 2018, 144, 06017001. [Google Scholar] [CrossRef]
  6. Shao, Z.K.; Zhang, Q.; Zhang, X.H.; Li, W.Q. Model of parallel-type acceleration lane length. J. Highw. Transp. Res. Dev. 2018, 12, 81–87. [Google Scholar] [CrossRef]
  7. Yang, G.; Zong, T.; Hao, X.; Wang, Z. Recommendations for acceleration lane length for metered on-ramps. Transp. Res. Rec. J. Transp. Res. Board 2016, 2588, 1–11. [Google Scholar] [CrossRef]
  8. Gy, A.; Hao, X.A.; Zw, B.; Zong, T.A. Truck acceleration behavior study and acceleration lane length recommendations for metered on-ramps. Int. J. Transp. Sci. Technol. 2016, 5, 93–102. [Google Scholar]
  9. Zahabi, M.; Machado, P.; Lau, M.Y.; Deng, Y.; Pankok, C., Jr.; Hummer, J.; Rasdorfm, W.; Kaber, D.B. Driver performance and attention allocation in use of logo signs on freeway exit ramps. Appl. Ergon. 2017, 65, 70–80. [Google Scholar] [CrossRef] [PubMed]
  10. Ding, C. Research on the Problem of Setting up Markings at the Bidirectional Eight-Lane Highway Exit. Doctoral Dissertation, Chang-An University, Xi’an, China, 2016. [Google Scholar]
  11. Xue, X.J.; Ge, L.J.; Deng, L.R.; Liu, X.J. Relationship between acceleration lane length, flow and capacity in the urban expressway ramp merging section. J. Railw. Sci. Eng. 2020, 17, 509–515. [Google Scholar]
  12. Xiang, Q.J.; Zhen, K.K.; Zhen, Z.J.; Yu, O.Y.; Xu, X.P.; Gan, J. The Invention Relates to a Variable Confluence Line of Freeway Ramp Confluence Area and a Setting Method. China Patent CN108842652A, 20 November 2018. [Google Scholar]
  13. DB33/T 704-2013; Code for Design of Highway Traffic Safety Facilities. Zhejiang Bureau of Quality and Technical Supervision: Hangzhou, China, 2013.
  14. Manual on Uniform Traffic Control Devices; Federal Highway Administration: Washington, DC, USA, 2009.
  15. Keppler, R.; Gladbach, B. Richtlinien Fur Die Markieruna Von StraBen; FGSV verlag: Berlin, Germany, 2019. [Google Scholar]
  16. Yang, M.; Wang, X.; Quddus, M. Examining lane change gap acceptance, duration and impact using naturalistic driving data. Transp. Res. Part C Emerg. Technol. 2019, 104, 317–331. [Google Scholar] [CrossRef]
  17. Lee, J.; Park, M.; Yeo, H. A probability model for discretionary lane changes in highways. KSCE J. Civ. Eng. 2016, 20, 2938–2946. [Google Scholar] [CrossRef]
  18. Wang, W.; Guo, X.C. Traffic Engineering; Southeast University: Nanjing, China, 2000; pp. 149–150. [Google Scholar]
  19. Liu, W.M.; Deng, R.F.; Zhang, Y.; Zhuang, Y.H. Setting Model of Safe Distance of Advance Guide Signs at Highway Exits. J. South China Univ. Technol. 2013, 41, 37–43. [Google Scholar]
  20. Wu, J.; Radwan, E.; Abou-Senna, H. Determine if VISSIM and SSAM could estimate pedestrian-vehicle conflicts at signalized intersections. J. Transp. Saf. Secur. 2017, 10, 572–585. [Google Scholar] [CrossRef]
  21. Jiang, X.G.; Ren, H.K.; Fan, Y.F.; Li, X.; Fu, C.Y. Simulation analysis on traffic safety of signal-coordinated arteries. China Saf. Sci. J. 2019, 22, 143–149. [Google Scholar] [CrossRef]
Figure 1. Lane change position and speed after solid merge line.
Figure 1. Lane change position and speed after solid merge line.
Sustainability 14 12742 g001
Figure 2. Solid merge line schematic diagram.
Figure 2. Solid merge line schematic diagram.
Sustainability 14 12742 g002
Figure 3. Research process diagram.
Figure 3. Research process diagram.
Sustainability 14 12742 g003
Figure 4. Safe distance between merging vehicle and the vehicle ahead.
Figure 4. Safe distance between merging vehicle and the vehicle ahead.
Sustainability 14 12742 g004
Figure 5. Safe distance between merging vehicle and rear.
Figure 5. Safe distance between merging vehicle and rear.
Sustainability 14 12742 g005
Figure 6. Safe lane change model.
Figure 6. Safe lane change model.
Sustainability 14 12742 g006
Figure 7. Unsafe lane change model.
Figure 7. Unsafe lane change model.
Sustainability 14 12742 g007
Figure 8. The acceleration length is less than the maximum length.
Figure 8. The acceleration length is less than the maximum length.
Sustainability 14 12742 g008
Figure 9. The acceleration length is more than the maximum length.
Figure 9. The acceleration length is more than the maximum length.
Sustainability 14 12742 g009
Figure 10. Relationship between p l , p   a n d   λ .
Figure 10. Relationship between p l , p   a n d   λ .
Sustainability 14 12742 g010
Figure 11. Relationship between p   a n d   λ .
Figure 11. Relationship between p   a n d   λ .
Sustainability 14 12742 g011
Figure 12. Speed statistics of main line passenger vehicle.
Figure 12. Speed statistics of main line passenger vehicle.
Sustainability 14 12742 g012
Figure 13. The number of conflicts in LOS 1.
Figure 13. The number of conflicts in LOS 1.
Sustainability 14 12742 g013
Figure 14. The number of conflicts in LOS 2.
Figure 14. The number of conflicts in LOS 2.
Sustainability 14 12742 g014
Figure 15. The number of conflicts in LOS 3.
Figure 15. The number of conflicts in LOS 3.
Sustainability 14 12742 g015
Table 1. Length results for different values.
Table 1. Length results for different values.
L 0 / m l / m Judgment Condition L B C / m Length and Measures
15090 L 0 + L A B + l L A D L 0 = 50 L B C = 50   m
270120 L 0 + L A B + l > L A D L A D l L A B = 40 L B C = 40   m , Lane control required
38070 L max + L A B + l L A D L max = 72 L B C = 72   m , Lane control required
4100100 L max + L A B + l > L A D L A D l L A B = 60 L B C = 60   m , Lane control required
Table 2. Conflicts under different random seeds.
Table 2. Conflicts under different random seeds.
Random SeedsTotal ConflictsRearLane Change
20864343
30733835
42753738
50723933
60946430
Publisher’s Note: MDPI stays neutral with regard to jurisdictional claims in published maps and institutional affiliations.

Share and Cite

MDPI and ACS Style

Gao, P.; Zhou, R.; Zhao, Q.; Zhou, J.; Li, X.; Peng, W. Model and Approach of Solid Line Setting Based on Merge Safety and Merge Probability. Sustainability 2022, 14, 12742. https://doi.org/10.3390/su141912742

AMA Style

Gao P, Zhou R, Zhao Q, Zhou J, Li X, Peng W. Model and Approach of Solid Line Setting Based on Merge Safety and Merge Probability. Sustainability. 2022; 14(19):12742. https://doi.org/10.3390/su141912742

Chicago/Turabian Style

Gao, Pei, Ronggui Zhou, Qian Zhao, Jian Zhou, Xin Li, and Weiyuan Peng. 2022. "Model and Approach of Solid Line Setting Based on Merge Safety and Merge Probability" Sustainability 14, no. 19: 12742. https://doi.org/10.3390/su141912742

APA Style

Gao, P., Zhou, R., Zhao, Q., Zhou, J., Li, X., & Peng, W. (2022). Model and Approach of Solid Line Setting Based on Merge Safety and Merge Probability. Sustainability, 14(19), 12742. https://doi.org/10.3390/su141912742

Note that from the first issue of 2016, this journal uses article numbers instead of page numbers. See further details here.

Article Metrics

Back to TopTop