The Measurement of Shear Characteristics of Paddy Soil in Poyang Lake Area
Abstract
1. Introduction
2. Experiments and Methods
2.1. Sampling
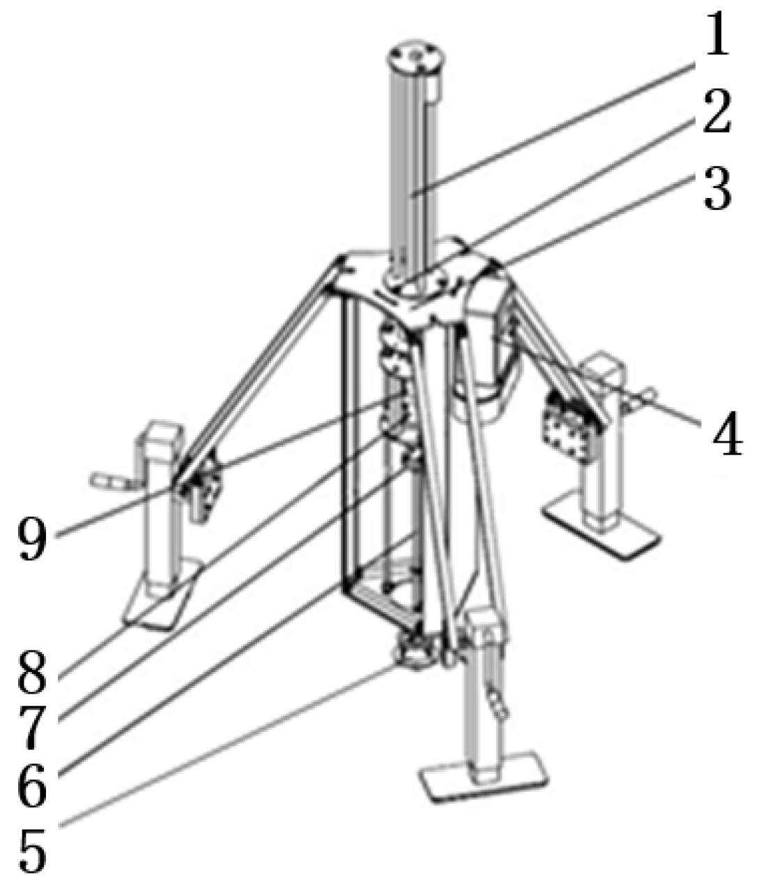
2.2. Test Device
2.3. Testing Method
- (1)
- Increasing the vertical load to the set value and inserting the control instruction of the electric push rod to drive the shear plate downward. When the shear plate contacted the soil, the electromagnet was disconnected, and the shear plate fell into the soil under gravity.
- (2)
- Ensuring the grousers fall into the soil, waiting 30 s, as shown in Figure 4a.
- (3)
- Starting the test and recording the test data.
- (4)
- After the test, connecting the electromagnet power supply and controlling the push rod to connect with the shear component to pull the shear plate back to the initial position. Figure 4b,c show the final state and soil deformation of the shear test.
- (5)
- Cleaning up the paddy soil adhered to the shear plate.
- (6)
- Repeating the process three times under the same conditions.
- (7)
- Replacing the test conditions, repeating the soil preparation and steps (1)–(6).
2.4. Shear Model
3. Data Processing
4. Results and Analysis
4.1. Influence of Shear Speed
4.2. Influence of Grouser Height
4.3. Influence of Shear Plate Diameter
5. Conclusions
Author Contributions
Funding
Conflicts of Interest
References
- Zhen, H.; Li, J.; Gao, P.; Huang, B.; Ni, J.; Wei, C. Determining the Shear Strength and Permeability of Soils for Engineering of New Paddy Field Construction in a Hilly Mountainous Region of Southwestern China. Int. J. Environ. Res. Public Health 2020, 17, 1555–1558. [Google Scholar]
- Kuipers, H. Tillage machinery systems as related to cropping systems. J. Terramechanics 1985, 22, 176. [Google Scholar] [CrossRef]
- Zeng, J.; Li, J.; Li, L.; Qiu, H.; Wu, C.; Bao, Y.; Liu, M.; Xue, L. Traction Performance Test of Micro-cultivator Wheel in Paddy Soil. Acta Agric. Univ. Jiangxiensis 2022, 1–9. Available online: https://kns.cnki.net/kcms/detail/36.1028.S.20220101.1324.006.html (accessed on 21 August 2022).
- Li, J.; Huang, H.; Wang, Y.; Tian, L.; Ren, L. Research Progress of Soft Ground Machine System. Trans. Chin. Soc. Agric. Mach. 2015, 46, 306–320. [Google Scholar]
- Massah, J.; Noorolahi, S. Design, development and performance evaluation of a tractor-mounted bevameter. Soil Tillage Res. 2010, 110, 161–166. [Google Scholar] [CrossRef]
- Ani, O.A.; Uzoejinwa, B.B.; Ezeama, A.O.; Onwualu, A.P.; Ugwu, S.N.; Ohagwu, C.J. Overview of soil-machine interaction studies in soil bins. Soil Tillage Res. 2018, 175, 13–27. [Google Scholar] [CrossRef]
- Zhao, R.; Hu, L.; Luo, X.; Zhang, W.; Chen, G.; Huang, H.; Lai, S.; Liu, H. Method for estimating vertical kinematic states of working implements based on laser receivers and accelerometers. Biosyst. Eng. 2021, 203, 9–21. [Google Scholar] [CrossRef]
- Zhong, X.; Peng, J.; Kang, X.; Wu, Y.; Luo, G.; Hu, W.; Zhou, X. Optimizing agronomic traits and increasing economic returns of machine-transplanted rice with side-deep fertilization of double-cropping rice system in southern China. Field Crops Res. 2021, 270, 108191. [Google Scholar] [CrossRef]
- Chen, X.; Luo, X.; Wang, Z.; Zhang, M.; Hu, L.; Zeng, S.; Mo, Z. Experimental Study on Synchronous Lateral Deep Fertilization Technology of Rice Seeding in Hole. Trans. Chin. Soc. Agric. Eng. 2014, 30, 1–7. [Google Scholar]
- Zhang, M.; Wang, Z.; Luo, X.; Zang, Y.; Yang, W.; Xing, H.; Wang, B.; Dai, Y. Review of precision rice hill-drop drilling technology and machine for paddy. Int. J. Agric. Biol. Eng. 2018, 11, 1–11. [Google Scholar] [CrossRef]
- Larson, W.E.; Blake, G.R.; Allmaras, R.R.; Voorhees, W.B.; Gupta, S.C. Mechanics and Related Processes in Structured Agricultural Soils; Springer Science & Business Media: Berlin/Heidelberg, Germany, 1989. [Google Scholar]
- Koolen, A.J.; Vaandrager, P. Relationships between soil mechanical properties. J. Agric. Eng. Res. 1984, 29, 313–319. [Google Scholar] [CrossRef]
- Wong, J.Y. Theory of Ground Vehicles; John Wiley & Sons: New York, NY, USA, 2001. [Google Scholar]
- Koolen, A.J.; Kuipers, H. Agricultural Soil Mechanics; Springer: Berlin/Heidelberg, Germany, 1983. [Google Scholar]
- Stefanow, D.; Dudziński, P.A. Soil shear strength determination methods—State of the art. Soil Tillage Res. 2021, 208, 104881. [Google Scholar] [CrossRef]
- Elton, D.; Patawaran, M.A. Mechanically Stabilized Earth Reinforcement Tensile Strength from Tests of Geotextile-Reinforced Soil. Transp. Res. Rec. J. Transp. Res. Board 2004, 1868, 81–88. [Google Scholar] [CrossRef]
- Tsuchida, T.; Noguchi, T. Determination of design shear strength of clay based on the comparison between unconfined compressive strength and the strength obtained by triaxial test. Jpn. Geotech. Soc. Spec. Publ. 2016, 2, 451–456. [Google Scholar] [CrossRef]
- Dadkhah, R.; Ghafoori, M.; Ajalloeian, R.; Lashkaripour, G.R. The Effect of Scale Direct Shear Test on the Strength Parameters of Clayey Sand in Isfahan City, Iran. J. Appl. Sci. 2010, 10, 2027–2033. [Google Scholar] [CrossRef]
- Feng, X.; Ding, Q.; Ding, W.; Ji, C.; Wang, D. The relationship between cone index of remolded clay and shear strength. Trans. Chin. Soc. Agric. Eng. 2011, 27, 146–150. [Google Scholar]
- Fang, H.; Zhang, Q.; Ji, C.; Guo, J. Soil shear properties as influenced by straw content: An evaluation of field-collected and laboratory-remolded soils. J. Integr. Agric. 2016, 15, 2824–2854. [Google Scholar] [CrossRef]
- Dudzinski, P.A.; Stefanow, D. Method for predicting dynamic shear strength in soils—Part II: Validation of the new criterion using an innovative test device. J. Terramechanics 2019, 86, 39–46. [Google Scholar] [CrossRef]
- Ye, B.; Lu, J.; Ye, G. Pre-shear effect on liquefaction resistance of a Fujian sand. Soil Dyn. Earthq. Eng. 2015, 77, 15–23. [Google Scholar] [CrossRef]
- Apfelbeck, M.; Kuß, S.; Rebele, B.; Schäfer, B. A systematic approach to reliably characterize soils based on Bevameter testing. J. Terramechanics 2011, 48, 360–371. [Google Scholar] [CrossRef][Green Version]
- Pan, J.; Ji, C. Fuzzy clustering of paddy field soils in South China. J. Terramechanics 1998, 35, 21–24. [Google Scholar]
- Iverson, N.R.; Baker, R.W.; Hooyer, T.S. A ring-shear device for the study of till deformation: Tests on tills with contrasting clay contents. Quat. Sci. Rev. 1997, 16, 1057–1066. [Google Scholar] [CrossRef]
- Schjønning, P. Topsoil shear strength—Measurements and predictions. Soil Tillage Res. 2021, 212, 105049. [Google Scholar] [CrossRef]
- Schjønning, P.; Lamandé, M.; Keller, T.; Labouriau, R. Subsoil shear strength—Measurements and prediction models based on readily available soil properties. Soil Tillage Res. 2020, 200, 104638. [Google Scholar] [CrossRef]
- Cerato, A.B.; Lutenegger, A.J. Disturbance Effects of Field Vane Tests in a Varved Clay. In Proceedings of the 2nd International Conference on Site Characterization, Porto, Portugal, 19–22 September 2004. [Google Scholar]
- Olmedo, N.A.; Fisseha, B.; Wilson, W.; Barczyk, M.; Lipsett, M.G. An automated vane shear test tool for environmental monitoring with unmanned ground vehicles. J. Terramechanics 2020, 91, 53–63. [Google Scholar] [CrossRef]
- Schmitt, R.; Feise, H. Influence of Tester Geometry, Speed and Procedure on the Results from a Ring Shear Tester. Part. Part. Syst. Charact. 2010, 21, 403–410. [Google Scholar] [CrossRef]
- Ji, C.; Pan, J. Research on fuzzy prediction of soil strength in paddy field. Trans. Chin. Soc. Agric. Mach. 1999, 2, 8–12. [Google Scholar]
- Ji, C.; Chen, M.; Pan, J. Research on the methods and instruments for predicting the sinkage of paddy vehicles according to the rheological properties of paddy soil. Trans. Chin. Soc. Agric. Mach. 1986, 1, 21–31. Available online: https://oversea.cnki.net/KCMS/detail/detail.aspx?dbcode=CJFD&dbname=CJFD8589&filename=NYJX198601002&uniplatform=OVERSEA&v=E0Kcm_MoeEUSFdioNC282gG9C62vjFNcgCdL7sbxbBL_eizXt9aQIq72mhQIBFBm (accessed on 21 August 2022).
- Zheng, L.; Luo, X.; Zeng, S.; Wang, Z. Experiment on shear characteristics of rice stubble-soil complex. Trans. Chin. Soc. Agric. Mach. 2017, 48, 63–71. [Google Scholar]
- Tagar, A.A.; Ji, C.; Ding, Q.; Adamowski, J.; Chandio, F.A.; Mari, I.A. Soil failure patterns and draft as influenced by consistency limits: An evaluation of the remolded soil cutting test. Soil Tillage Res. 2014, 137, 58–66. [Google Scholar] [CrossRef]
- Edwards, M.B.; Dewoolkar, M.M.; Huston, D.R.; Creager, C. Bevameter testing on simulant Fillite for planetary rover mobility applications. J. Terramechanics 2017, 70, 13–26. [Google Scholar] [CrossRef]
- Mason, G.L.; Salmon, J.E.; McLeod, S.; Jayakumar, P.; Cole, M.P.; Smith, W. An overview of methods to convert cone index to bevameter parameters. J. Terramechanics 2020, 87, 1–9. [Google Scholar] [CrossRef]
- Xue, L.; Li, J.; Zou, M.; Zong, W.; Huang, H. In situ identification of shearing parameters for loose lunar soil using least squares support vector machine. Aerosp. Sci. Technol. 2016, 53, 154–161. [Google Scholar] [CrossRef]








| Clay Particles | Soil Particles | Sand Particles | Plastic Limit/% | Liquid Limit/% | Specific Gravity/(g/cm3) |
|---|---|---|---|---|---|
| 10.84 | 83.87 | 5.29 | 21.78 | 34.17 | 2.57 |
| Shear Plate | D (mm) | d (mm) | Weight (kg) | ||
|---|---|---|---|---|---|
| h = 30 mm | h = 20 mm | h = 10 mm | |||
| Shear plate A | 250 | 150 | 8.9862 | 8.9063 | 8.8293 |
| Shear plate B | 200 | 100 | 8.2249 | 8.145 | 8.068 |
| Shear plate C | 150 | 100 | 7.4747 | 7.3948 | 7.3178 |
| (Pa) | 2753 | 2926 | 3019 | 3128 | 3217 |
| (deg) | 7.489° | 7.503° | 7.919° | 7.888° | 7.311° |
| Shear Speed (rad/s) | π/360 | π/180 | π/120 |
|---|---|---|---|
| (Pa) | 2177.4 | 2274.9 | 2346.2 |
| (deg) | 10.76° | 10.26° | 11.25° |
| Grouser Height (mm) | 10 | 20 | 30 |
|---|---|---|---|
| (Pa) | 1887.8 | 2120.6 | 2346.2 |
| (deg) | 11.06° | 11.42° | 11.25° |
| Shear Plate | A | B | C |
|---|---|---|---|
| (Pa) | 1887.8 | 1994.5 | 1999.7 |
| (deg) | 11.06° | 10.25° | 10.48° |
Publisher’s Note: MDPI stays neutral with regard to jurisdictional claims in published maps and institutional affiliations. |
© 2022 by the authors. Licensee MDPI, Basel, Switzerland. This article is an open access article distributed under the terms and conditions of the Creative Commons Attribution (CC BY) license (https://creativecommons.org/licenses/by/4.0/).
Share and Cite
Xue, L.; Li, L.; Zeng, J.; Huang, B.; Zeng, Y.; Liu, M.; Li, J. The Measurement of Shear Characteristics of Paddy Soil in Poyang Lake Area. Sustainability 2022, 14, 11960. https://doi.org/10.3390/su141911960
Xue L, Li L, Zeng J, Huang B, Zeng Y, Liu M, Li J. The Measurement of Shear Characteristics of Paddy Soil in Poyang Lake Area. Sustainability. 2022; 14(19):11960. https://doi.org/10.3390/su141911960
Chicago/Turabian StyleXue, Long, Lan Li, Jianhui Zeng, Bohan Huang, Yuqi Zeng, Muhua Liu, and Jing Li. 2022. "The Measurement of Shear Characteristics of Paddy Soil in Poyang Lake Area" Sustainability 14, no. 19: 11960. https://doi.org/10.3390/su141911960
APA StyleXue, L., Li, L., Zeng, J., Huang, B., Zeng, Y., Liu, M., & Li, J. (2022). The Measurement of Shear Characteristics of Paddy Soil in Poyang Lake Area. Sustainability, 14(19), 11960. https://doi.org/10.3390/su141911960

