Stochastic Optimization Method for Energy Storage System Configuration Considering Self-Regulation of the State of Charge
Abstract
:1. Introduction
- (1)
- The time-divided probability distribution models for the ultra-short-term predicted error of PV power are established. Compared with the model in [21,25], this model can handle the random variable with different distribution characteristics in different periods. Several typical scenarios of PV power generation are generated based on this model. The sampling error is smaller and the statistical characteristics of sampling data are more consistent with the actual data.
- (2)
- This paper constructs an expected value model for the SoC self-regulation control strategy and the optimal configuration model, which takes into account the rolling power prediction and the uncertainty of PV power. The revenue of operation and configuration are higher than other methods.
- (3)
- The SoC self-regulation model and optimization configuration model considered the cycle life degradation of the battery. This consideration can delay the cycle life degradation and reduce degradation costs by regulating the battery’s SoC. The results also reveal that the revenue is improved.
2. Framework of the Energy Storage System (ESS) Optimization Configuration Method
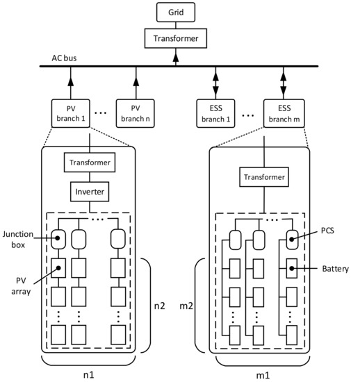
2.1. System Structure of Photovoltaic-Energy Storage (PV-ES) Combined System
2.2. Framework for Stochastic Optimization Configuration Method
- (1)
- The typical scenario generation method for the ultra-short-term predicted errors of PV power presented in the first part. This part serves as the foundation for the stochastic optimization of energy storage. The purpose of this part is to use several typical scenarios of the ultra-short-term prediction as inputs to provide a reference for the charging and discharging of the energy storage system and to regulate the state of charge. In this part, the time-divided probability distribution models of ultra-short-term predicted error for each sampling moment are established. Then, by sampling each distribution model and connecting the sampled values of each moment into a power curve as a scenario, a large number of scenarios are created. Several typical scenarios and their probability of occurrence are obtained by scenario reduction.
- (2)
- The second part is the stochastic optimization method for energy storage systems. Firstly, a state of charge self-regulation model is proposed, and the typical scenarios are taken as inputs of the model to calculate the expected value of SoC in the prediction cycle and updated at each moment. Secondly, an optimal configuration model of the energy storage system is developed, which is based on the SoC self-regulation outcome and takes into account the investment cost and the lifetime of the energy storage. Finally, the model is solved to obtain the optimal results for the ESS configuration.
3. Ultra-Short-Term Predicted Error Scenarios of PV Power
3.1. Time-Divided Probability Distribution Models
3.2. Scenario Generation and Reduction
- (1)
- Scenario generation
- (2)
- Scenario reduction
4. Stochastic Optimization Method for Energy Storage System
4.1. State of Charge Self-Regulation Model
4.1.1. Objective Function
- (1)
- Revenue of selling electricity to the grid
- (2)
- Cost of battery’s degradation
- (3)
- Penalty cost for PV-ES system
4.1.2. Operation Constraints
- (1)
- Charging and discharging power constraints of ESS
- (2)
- SoC constraints of battery
4.1.3. Battery Cycle Life Degradation Model
4.2. Optimization Configuration Model of Energy Storage System
5. The Results and Analysis
5.1. Analysis of Ultra-Short-Term PV Predicted Error Scenarios
5.2. Stochastic Optimization Method Analysis
5.2.1. State of Charge (SoC) Self-Regulation Analysis
5.2.2. Analysis of the Optimization Configuration
6. Conclusions
- (1)
- The fitting error of the proposed time-divided probability distribution model based on the non-parametric kernel density estimation is 15.61% lower than that of the t-distribution. The bandwidth of the distributions obeyed by different periods differed and the fitting effect was more in line with the statistical features of the original data.
- (2)
- The ultra-short-term prediction scenarios are different, which makes the operation of the energy storage system and the SoC curves different. Scenarios generated based on different schemes affect the revenue of the self-regulating model of SoC. The stochastic optimization method proposed in this paper has 5.9% higher revenue than Scheme 2 and 13.26% higher than the deterministic method. This shows the superiority of SoC self-regulation control strategy.
- (3)
- The optimal configuration result is different for different scenarios. The expected revenue of the optimal configuration model based on the stochastic optimization method proposed in this paper is 8.86% higher than that of Scheme 2, and 16.87% higher than without considering the stochastic optimization method. This proves the proposed stochastic optimization configuration method is of great significance to improve the economy.
Author Contributions
Funding
Institutional Review Board Statement
Informed Consent Statement
Data Availability Statement
Conflicts of Interest
Nomenclature and Variable
| PV | Photovoltaic |
| ES | Energy storage |
| SoC | State of charge |
| ESS | Energy storage system |
| PV power | |
| Storage charging and discharging power | |
| k | Number of scenario |
| Bandwidth | |
| Number of samples | |
| Time step | |
| Scenario’s occurrence probability | |
| Predicted value of PV power at time t | |
| Predicted error at the time t | |
| Tevenue of selling electricity to the grid | |
| Cost of degradation of the batteries | |
| Cost of penalties imposed on the plant | |
| Electricity price of selling power to the grid by the PV-ES combined system | |
| Predicted power of the PV-ES combined system | |
| Charging and discharging power of the ES during the prediction cycle | |
| Combination of the current moment and the prediction cycle | |
| Unit cost of the energy storage battery | |
| Rated capacity of the energy storage system | |
| Cycle life degradation rate of the battery over the predicted period τ | |
| Penalty cost at time t | |
| Penalty cost per unit of power | |
| Reference value | |
| Rated power of the converter | |
| SoC of the battery | |
| Minimum SoC of the battery | |
| Maximum SoC of the battery | |
| Charging efficiency | |
| Discharging efficiency | |
| Discharged depth of the i-th cycle of the battery | |
| Number of cycle | |
| Total number of equivalent battery cycles | |
| Revenue of selling electricity from PV-ES Combined system to the grid of one day | |
| Investment cost converted to one-day | |
| Cost of cyclic life degradation loss of batteries of one day | |
| Penalty cost of one day | |
| Conversion coefficient that converters the whole investment cost to one-day cost | |
| Rated power of the ESS | |
| Energy of the ESS | |
| Cycle life degradation rate of battery over time T |
References
- Guney, M.S. Solar power and application methods. Renew. Sustain. Energy Rev. 2016, 57, 776–785. [Google Scholar] [CrossRef]
- Lee, Y.H.; Jeong, I.W. An Assessment of the Optimal Capacity and an Economic Evaluation of a Sustainable Photovoltaic Energy System in Korea. Sustainability 2021, 13, 12264. [Google Scholar] [CrossRef]
- Hossain, S.; Alharbi, A.G.; Islam, K.Z. Techno-Economic Analysis of the Hybrid Solar PV/H/Fuel Cell Based Supply Scheme for Green Mobile Communication. Sustainability 2021, 13, 12508. [Google Scholar] [CrossRef]
- Lu, Q.; Yu, H.; Zhao, K.; Leng, Y.; Hou, J.; Xie, P. Residential demand response considering distributed PV consumption: A model based on China’s PV policy. Energy 2019, 172, 443–456. [Google Scholar] [CrossRef]
- Shivashankar, S.; Mekhilef, S.; Mokhlis, H.; Karimi, M. Mitigating methods of power fluctuation of photovoltaic (PV) sources—A review. Renew. Sustain. Energy Rev. 2016, 59, 1170–1184. [Google Scholar] [CrossRef]
- Aneke, M.; Wang, M. Energy storage technologies and real life applications—A state of the art review. Appl. Energy 2016, 179, 350–377. [Google Scholar] [CrossRef] [Green Version]
- Xu, Z.; Feng, J.; Yan, X. Economic analysis of energy storage multi-business models in the electricity market environment. IOP Conf. Ser. Earth Environ. Sci. 2021, 634, 012059. [Google Scholar] [CrossRef]
- Fu, A.; Zhang, F.; Zhang, L.; Liang, J.; Xu, Z. Capacity Optimization Strategy of Energy Storage System for Power Grid with High Penetration of Photovoltaic Considering Limited Smoothing of Photovoltaic Ramping Power. Autom. Electr. Power Syst. 2018, 42, 53–61. (In Chinese) [Google Scholar] [CrossRef]
- Li, B.; Shen, H.; Tang, Y.; Wang, H. Impacts of Energy Storage Capacity Configuration of HPWS to Active Power Characteristics and Its Relevant Indices. Power Syst. Technol. 2011, 10, 579–600. (In Chinese) [Google Scholar] [CrossRef]
- Jahromi, A.A.; Majzoobi, A.; Khodaei, A.; Bahramirad, S.; Zhang, L.; Paaso, A.; Lelic, M.; Flinn, D. Battery Energy Storage Requirements for Mitigating PV Output Fluctuations. In Proceedings of the 2018 IEEE PES Innovative Smart Grid Technologies Conference Europe (ISGT-Europe), Sarajevo, Bosnia and Herzegovina, 21–25 October 2018. [Google Scholar] [CrossRef]
- Jamroen, C.; Usaratniwart, E.; Sirisukprasert, S. PV power smoothing strategy based on HELES using energy storage system application: A simulation analysis in microgrids. IET Renew. Power Gener. 2019, 13, 2298–2308. [Google Scholar] [CrossRef]
- Nazir, M.S.; Abdalla, A.N.; Wang, Y.; Chu, Z.; Jie, J.; Tian, P.; Jiang, M.; Khan, I.; Sanjeevikumar, P.; Tang, Y. Optimization configuration of energy storage capacity based on the microgrid reliable output power. J. Energy Storage 2020, 32, 101866. [Google Scholar] [CrossRef]
- Sidorov, D.; Tao, Q.; Muftahov, I.; Zhukov, A.; Karamov, D.; Dreglea, A.; Liu, F. Energy balancing using charge/discharge storages control and load forecasts in a renewable-energy-based grids. Chin. Control Conf. CCC 2019, 2019, 6865–6870. [Google Scholar] [CrossRef] [Green Version]
- Zou, H.; Tao, J.; Elsayed, S.K.; Elattar, E.E.; Almalaq, A.; Mohamed, M.A. Stochastic multi-carrier energy management in the smart islands using reinforcement learning and unscented transform. Int. J. Electr. Power Energy Syst. 2021, 130, 106988. [Google Scholar] [CrossRef]
- Tremblay, O.; Dessaint, L.A. Experimental validation of a battery dynamic model for EV applications. World Electr. Veh. J. 2009, 2, 930–939. [Google Scholar] [CrossRef] [Green Version]
- Alam, M.J.E.; Saha, T.K. Cycle-life degradation assessment of Battery Energy Storage Systems caused by solar PV variability. In Proceedings of the 2016 IEEE Power and Energy Society General Meeting (PESGM), Boston, MA, USA, 17–21 July 2016. [Google Scholar] [CrossRef]
- Han, X.; Liang, Y.; Ai, Y.; Li, J. Economic evaluation of a PV combined energy storage charging station based on cost estimation of second-use batteries. Energy 2018, 165, 326–339. [Google Scholar] [CrossRef]
- Sidorov, D.; Muftahov, I.; Tomin, N.; Karamov, D.; Panasetsky, D.; Dreglea, A.; Liu, F.; Foley, A. A Dynamic Analysis of Energy Storage with Renewable and Diesel Generation Using Volterra Equations. IEEE Trans. Ind. Inform. 2020, 16, 3451–3459. [Google Scholar] [CrossRef] [Green Version]
- Gu, W.; Tang, Y.; Peng, S.; Wang, D.; Sheng, W.; Liu, K. Optimal configuration and analysis of combined cooling, heating, and power microgrid with thermal storage tank under uncertainty. J. Renew. Sustain. Energy 2015, 7, 013104. [Google Scholar] [CrossRef]
- Ma, X.Y.; Sun, Y.Z.; Fang, H.L.; Tian, Y. Scenario-based multiobjective decision-making of optimal access point for wind power transmission corridor in the load centers. IEEE Trans. Sustain. Energy 2013, 4, 229–239. [Google Scholar] [CrossRef]
- Niknam, T.; Azizipanah-Abarghooee, R.; Narimani, M.R. An efficient scenario-based stochastic programming framework for multi-objective optimal micro-grid operation. Appl. Energy 2012, 99, 455–470. [Google Scholar] [CrossRef]
- Mohammadi, S.; Soleymani, S.; Mozafari, B. Scenario-based stochastic operation management of MicroGrid including Wind, Photovoltaic, Micro-Turbine, Fuel Cell and Energy Storage Devices. Int. J. Electr. Power Energy Syst. 2014, 54, 525–535. [Google Scholar] [CrossRef]
- Yao, Z.; Wang, Z. Two-level Collaborative Optimal Allocation Method of Integrated Energy System Considering Wind and Solar Uncertainty. Power Syst. Technol. 2020, 44, 4521–4531. (In Chinese) [Google Scholar] [CrossRef]
- Yan, R.; Lu, Z.; Wang, J.; Chen, H.; Wang, J.; Yang, Y.; Huang, D. Stochastic multi-scenario optimization for a hybrid combined cooling, heating and power system considering multi-criteria. Energy Convers. Manag. 2021, 233, 113911. [Google Scholar] [CrossRef]
- Mohamed, M.A.; Almalaq, A.; Abdullah, H.M.; Alnowibet, K.A.; Alrasheedi, A.F.; Zaindin, M.S.A. A Distributed Stochastic Energy Management Framework Based-Fuzzy-PDMM for Smart Grids Considering Wind Park and Energy Storage Systems. IEEE Access 2021, 9, 46674–46685. [Google Scholar] [CrossRef]
- Gröwe-Kuska, N.; Heitsch, H.; Römisch, W. Scenario reduction and scenario tree construction for power management problems. In Proceedings of the 2003 IEEE Bologna Power Tech Conference Proceedings, Bologna, Italy, 23–26 June 2003. [Google Scholar] [CrossRef]
- Heitsch, H.; Römisch, W. Scenario reduction algorithms in stochastic programming. Comput. Optim. Appl. 2003, 24, 187–206. [Google Scholar] [CrossRef]
- Han, X.; Chen, C.; Ji, T.; Ma, H. Capacity optimal modeling of hybrid energy storage systems considering battery life. Zhongguo Dianji Gongcheng Xuebao/Proc. Chin. Soc. Electr. Eng. 2013, 33, 91–97. (In Chinese) [Google Scholar] [CrossRef]










| Time | 9:00 | 9:15 | 9:30 | 9:45 | 10:00 | 10:15 | 10:30 | 10:45 |
| Bandwidth | 0.0070 | 0.0084 | 0.0112 | 0.0122 | 0.0134 | 0.0139 | 0.0156 | 0.0165 |
| Time | 11:00 | 11:15 | 11:30 | 11:45 | 12:00 | 12:15 | 12:30 | 12:45 |
| Bandwidth | 0.0112 | 0.0128 | 0.0139 | 0.0173 | 0.0151 | 0.0176 | 0.0187 | 0.0220 |
| Parameter | Value |
|---|---|
| Maximum power (Pmax) | 310 W |
| Open circuit voltage (Voc) | 45 V |
| Maximum power voltage (Vmp) | 37 V |
| Short circuit current (Isc) | 8.8 A |
| Maximum power current (Imp) | 8.38 A |
| Maximum series fuse rating | 20 A |
| Scheme 1 (¥) | Scheme 2 (¥) | |
|---|---|---|
| Expected value | 13,617.39 | 12,854.77 |
| Scenario 1 | 13,405.93 | 14,310.93 |
| Scenario 2 | 13,256.27 | 12,217.82 |
| Scenario 3 | 14,118.52 | 10,887.97 |
| Scenario 4 | 14,238.66 | 12,034.02 |
| Scheme 1 (¥) | Scheme 2 (¥) | |
|---|---|---|
| Expected value | 42,592.40 | 39,127.04 |
| Scenario 1 | 42,865.74 | 39,415.28 |
| Scenario 2 | 37,509.72 | 35,656.07 |
| Scenario 3 | 44,876.43 | 42,031.51 |
| Scenario 4 | 43,063.27 | 38,746.59 |
Publisher’s Note: MDPI stays neutral with regard to jurisdictional claims in published maps and institutional affiliations. |
© 2022 by the authors. Licensee MDPI, Basel, Switzerland. This article is an open access article distributed under the terms and conditions of the Creative Commons Attribution (CC BY) license (https://creativecommons.org/licenses/by/4.0/).
Share and Cite
Zhang, D.; Ma, Y.; Liu, J.; Jiang, S.; Chen, Y.; Wang, L.; Zhang, Y.; Li, M. Stochastic Optimization Method for Energy Storage System Configuration Considering Self-Regulation of the State of Charge. Sustainability 2022, 14, 553. https://doi.org/10.3390/su14010553
Zhang D, Ma Y, Liu J, Jiang S, Chen Y, Wang L, Zhang Y, Li M. Stochastic Optimization Method for Energy Storage System Configuration Considering Self-Regulation of the State of Charge. Sustainability. 2022; 14(1):553. https://doi.org/10.3390/su14010553
Chicago/Turabian StyleZhang, Delong, Yiyi Ma, Jinxin Liu, Siyu Jiang, Yongcong Chen, Longze Wang, Yan Zhang, and Meicheng Li. 2022. "Stochastic Optimization Method for Energy Storage System Configuration Considering Self-Regulation of the State of Charge" Sustainability 14, no. 1: 553. https://doi.org/10.3390/su14010553
APA StyleZhang, D., Ma, Y., Liu, J., Jiang, S., Chen, Y., Wang, L., Zhang, Y., & Li, M. (2022). Stochastic Optimization Method for Energy Storage System Configuration Considering Self-Regulation of the State of Charge. Sustainability, 14(1), 553. https://doi.org/10.3390/su14010553

