Conceptual Model for Explaining Academic Achievements and Social Functioning of Students with and without Learning Disorders
Abstract
1. Conceptual Model for Explaining Academic Achievements and Social Functioning of Students with and without Learning Disorders
2. Method
Participants
3. Measures
3.1. Children’s Instruments
3.2. Teachers’ Instrument
- (a)
- The 30-item measure of social skills consists of three subscales with 10 items in each, on a 3-point frequency dimension (often true, sometimes true, and never true). The social skill dimensions, as measured by factor-based subscales, were cooperation, assertion, self-control, responsibility, and empathy. Cooperation includes behaviors such as helping others, sharing materials, and complying with rules and directions. Assertion includes initiating behaviors, such as asking others for information, introducing oneself, and responding to the actions of others. Self-control includes behaviors that emerge in conflict situations and non-conflict situations that require taking turns and compromising. Responsibility includes behaviors that demonstrate the ability to communicate with adults and regard for property or work.
- (b)
- Problem behavior domains. Teachers rated specific student behaviors according to how often they occurred (0 = never, 1 = sometimes, and 2 = very often). A total social skills scale score was computed, with a range of 0–60.
- (c)
- Academic achievement, which was measured by a rating scale that requires a teacher to read nine questions. Four of the questions pertain directly to performance in reading or math, while five questions concern the student’s overall academic performance, motivation, parental encouragement, intellectual functioning, and classroom behavior. In addition, The Academic Competence Scale on the SSRS-T requires teachers to rate each student relative to other students from the lowest achievers to the highest achievers (1 indicates that the student is performing in the lowest 10% of his or her class, 2 indicates they are performing in the next lowest 20%, 3 indicates they are functioning in the middle 40% of the class, 4 indicates they are performing in the next highest 20% of the class, and 5 indicates that the student is performing in the highest 10% of the class). Standard scores (M = 100, SD = 15) for each scale are provided.
3.3. Motor Proficiency Instrument
4. Procedure
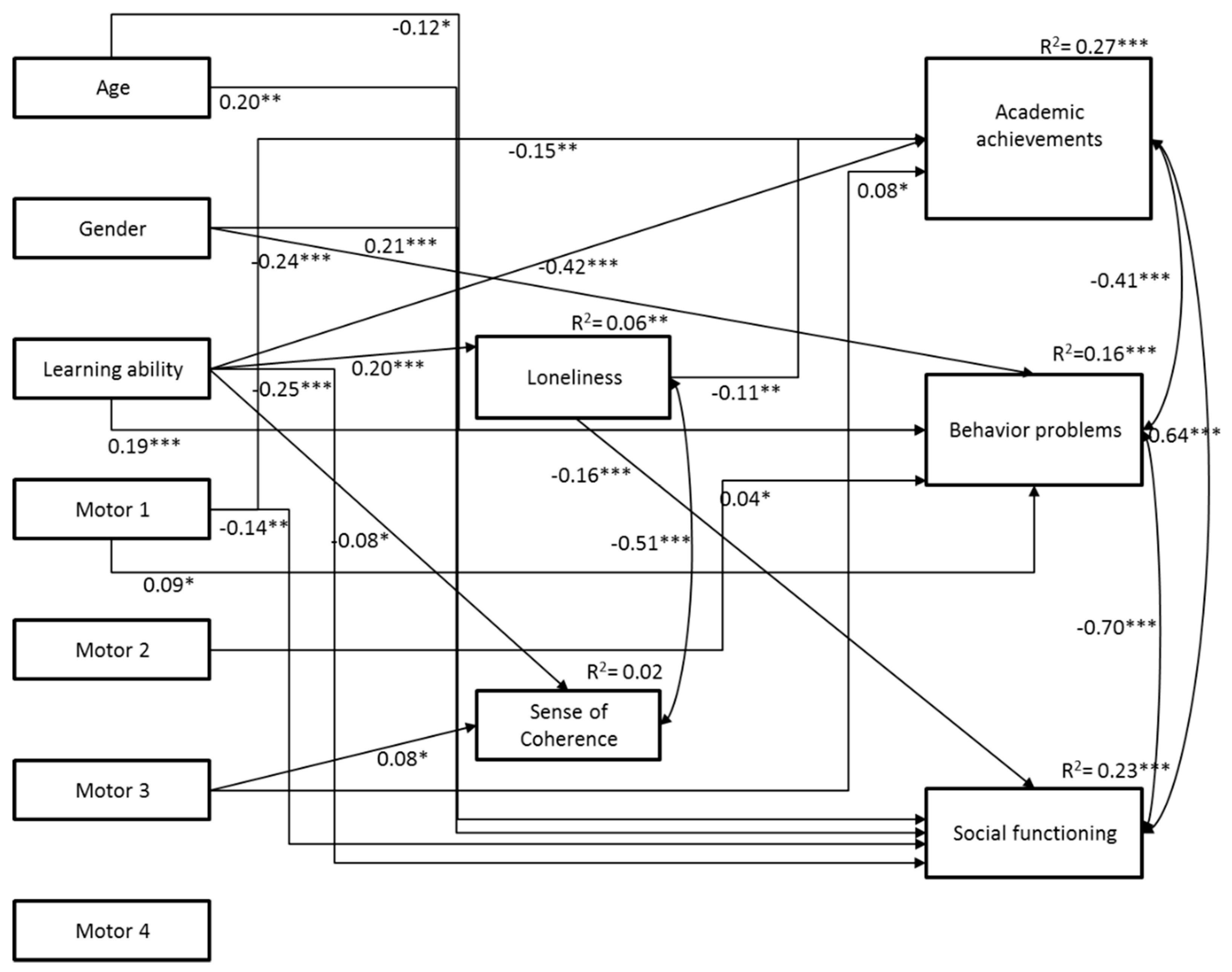
5. Results
Model Description
6. Discussion
7. Practical Implications
Author Contributions
Funding
Institutional Review Board Statement
Informed Consent Statement
Data Availability Statement
Conflicts of Interest
References
- Antonovsky, A. The life cycle, mental health and the sense of coherence. Isr. J. Psychiatry Relat. Sci. 1985, 22, 273–280. [Google Scholar]
- Antonovsky, A. The structure and properties of the sense of coherence scale. Soc. Sci. Med. 1993, 36, 725–733. [Google Scholar] [CrossRef]
- Lindström, B.; Eriksson, M. From health education to healthy learning: Implementing salutogenesis in educational science. Scand. J. Public Health 2011, 39, 85–92. [Google Scholar] [CrossRef]
- Eriksson, M. The sense of coherence in the salutogenic model of health. In The Handbook of Salutogenesis; Springer: New York, NY, USA, 2017; pp. 91–96. [Google Scholar]
- Antonovsky, A. Unraveling the Mystery of Health; Jossey-Bass: San Francisco, CA, USA, 1987. [Google Scholar]
- Haga, M. The relationship between physical fitness and motor competence in children. Child Care Health Dev. 2008, 34, 329–334. [Google Scholar] [CrossRef] [PubMed]
- De Waal, E.; Pienaar, A.E. Influences of early motor proficiency and socioeconomic status on the academic achievement of primary school learners: The NW-CHILD study. Early Child. Educ. J. 2020, 48, 671–682. [Google Scholar] [CrossRef]
- Piek, J.P.; Hands, B.; Licari, M.K. Assessment of motor functioning in the preschool period. Neuropsychol. Rev. 2012, 22, 402–413. [Google Scholar] [CrossRef]
- Lister, C.; Baard, M.L. Effects of integrated movement programme on motor proficiency, visual-motor integration and scholastic achievement of Grade 1 learners in Nelson Mandela Bay, South Africa. Afr. J. Phys. Act. Health Sci. (AJPHES) 2020, 26, 41–57. [Google Scholar] [CrossRef]
- Morris, M.; Dawes, H.; Howells, K.; Janssen, R. Motor impairment and its relationship to fitness in children. BMJ Open 2013, 3, e002909. [Google Scholar] [CrossRef][Green Version]
- Marr, D.; Cermak, S.; Cohn, E.S.; Henderson, A. Fine motor activities in Head Start and kindergarten classrooms. Am. J. Occup. Ther. 2003, 57, 550–557. [Google Scholar] [CrossRef] [PubMed]
- Cools, W.; Martelaer, K.; De Samaey, C.; Andries, C. Movement skill assessment of typically developing preschool children: A review of seven movement skill assessment tools. J. Sports Sci. Med. 2009, 8, 154–168. [Google Scholar] [PubMed]
- Cairney, J.; Veldhuizen, S. Organized sport and physical activity participation and body mass index in children and youth: A longitudinal study. Prev. Med. Rep. 2017, 6, 336–338. [Google Scholar] [CrossRef]
- American Psychiatric Association. Diagnostic and Statistical Manual of Mental Disorders, 5th ed.; American Psychiatric Association: Arlington, VA, USA, 2013. [Google Scholar]
- Magalhães, L.; Cardoso, A.; Missiuna, C. Activities and participation in children with developmental coordination disorder: A systematic review. Res. Dev. Disabil. 2011, 32, 1309–1316. [Google Scholar] [CrossRef]
- Del Prette, Z.A.P.; Del Prette, A. Sistema Multimídia de Habilidades Sociais Para Crianças; Casa do Psicólogo: São Paulo, Brazil, 2005. [Google Scholar]
- Gasser-Haas, O.; Sticca, F.; Wustmann Seiler, C. Poor motor performance–do peers matter? Examining the role of peer relations in the context of the environmental stress hypothesis. Front. Psychol. 2020, 11, 498. [Google Scholar] [CrossRef]
- Del Prette, Z.A.P.; Del Prette, A.; Oliveira, L.A.; Gresham, F.M.; Vance, M.J. Role of social performance in predicting learning problems: Prediction of risk using logistic regression analysis. Sch. Psychol. Int. J. 2012, 2, 1–16. [Google Scholar] [CrossRef]
- Molina, R.C.M.M.; Del Prette, A. Mudança no status sociométrico negativo de alunos com dificuldades de aprendizagem. Psicol. Esc. E Educ. 2007, 11, 299–310. [Google Scholar] [CrossRef][Green Version]
- Rubin, K.H.; Coplan, R.J.; Bowker, J.C. Social withdrawal in childhood. Annu. Rev. Psychol. 2009, 60, 141–171. [Google Scholar] [CrossRef]
- Eisenberg, N.; Fabes, R.A.; Spinrad, T. Prosocial development. In Handbook of Child Psychology: Social Emotional, and Personality Development, 6th ed.; Eisenberg, N., Ed.; Wiley: Hoboken, NJ, USA, 2006; Volume 3, pp. 646–718. [Google Scholar]
- McCarty, C.A.; Mason, W.A.; Kosterman, R.; Hawkins, D.; Lengue, L.; McCauley, E. Adolescent school failure predicts later depression among girls. J. Adolesc. Health 2008, 43, 180–187. [Google Scholar] [CrossRef] [PubMed]
- Saminathen, M.G.; Plenty, S.; Modin, B. The role of academic achievement in the relationship between school ethos and adolescent distress and aggression: A study of ninth grade students in the segregated school landscape of Stockholm. J. Youth Adolesc. 2020. [Google Scholar] [CrossRef]
- Firat, T. A multi-way Intervention to improve the social acceptance of a student with learning disabilities. Int. J. Progress. Educ. 2020, 16, 123–136. [Google Scholar] [CrossRef]
- Wiener, J.; Schneider, B.H. A multisource exploration of the friendship patterns of children with and without learning disorders. J. Abnorm. Child Psychol. 2002, 30, 127–141. [Google Scholar] [CrossRef] [PubMed]
- Al-Yagon, M.; Mikulincer, M. Socioemotional and academic competence and social interrelations among children with learning disorders: The mediational role of attachment-based factors. J. Spec. Educ. 2004, 38, 111–124. [Google Scholar] [CrossRef]
- Agaliotis, I.; Goudiras, D. A profile of interpersonal conflict resolution of children with learning disorders. Learn. Disord. A Contemp. J. 2004, 2, 15–29. [Google Scholar]
- Agaliotis, I.; Kalyva, E. Can social stories enhance the interpersonal conflict resolution skills of children with LD? Res. Dev. Disabil. 2009, 30, 192–202. [Google Scholar]
- Maiuri, J. The effects of the better emotional and social times program on emotional and social skills associated with children with learning disabilities. J. Educ. Dev. 2020, 4, 13. [Google Scholar] [CrossRef]
- Evans, M.A.; Shaw, D. Home grown for reading: Parental contributions to young children’s emergent literacy and word recognition. Can. Psychol. 2008, 49, 89–95. [Google Scholar] [CrossRef]
- Blair, C.; Razza, R.P. Relating effortful control, executive function, and false belief understanding to emerging math and literacy ability in kindergarten. Child Dev. 2007, 78, 647–663. [Google Scholar] [CrossRef]
- Eisenberg, N.; Fabes, R.A.; Guthrie, I.K.; Reiser, M. Dispositional emotionality and regulation: Their role in predicting quality of social functioning. J. Personal. Soc. Psychol. 2000, 78, 136–157. [Google Scholar] [CrossRef]
- Health Resources and Services Administration, Maternal and Child Health Bureau. The Mental and Emotional Wellbeing of Children: A Portrait of States and The Nation 2007; U.S. Department of Health and Human Services: Rockville, MD, USA, 2010.
- Kotkin, R.A.; Forness, S.R.; Kavale, K.A. Comorbid ADHD and learning disorders: Diagnosis, special education, and intervention. In Research and Global Perspectives in Learning Disorders; Hallagan, D.P., Keogh, B.K., Eds.; Lawrence Erlbaum Associates: Mahwah, NJ, USA, 2001; pp. 43–63. [Google Scholar]
- Kokko, K.; Tremblay, R.E.; Lacourse, E.; Nagin, D.S.; Vitaro, F. Trajectories of prosocial behavior and physical aggression in middle childhood: Links to adolescent school dropout and physical violence. J. Res. Adolesc. 2006, 16, 403–428. [Google Scholar] [CrossRef]
- Dodge, K.A.; Coie, J.D.; Lynam, D. Aggression and antisocial behavior in youth. In Handbook of Child Psychology: Social, Emotional, and Personality Development, 6th ed.; Damon, W., Eisenberg, N., Eds.; Wiley: New York, NY, USA, 2006; Volume 3, pp. 719–788. [Google Scholar]
- Idan, O.; Margalit, M. Socioemotional self-perceptions, family climate, and hopeful thinking among students with learning disorders and typically achieving students from the same classes. J. Learn. Disord. 2014, 47, 136–152. [Google Scholar] [CrossRef]
- Margalit, M. Lonely Children and Adolescents: Self-Perceptions, Social Exclusion and Hope; Springer: New York, NY, USA, 2010. [Google Scholar]
- Stickley, A.; Koyanagi, A.; Koposov, R.; Blatný, M.; Hrdlička, M.; Schwab-Stone, M.; Ruchkin, V. Loneliness and its association with psychological and somatic health problems among Czech, Russian and US adolescents. BMC Psychiatry 2016, 16, 128. [Google Scholar] [CrossRef]
- Naqshbandi, M.M.; Ainin, S.; Jaafar, N.I.; Shuib, N.L.M. To Facebook or to Face Book? An investigation of how academic performance of different personalities is affected through the intervention of Facebook usage. Comput. Hum. Behav. 2017, 75, 167–176. [Google Scholar] [CrossRef]
- Perazzo, M.F.; Gomes, M.C.; Neves, É.T.; Martins, C.C.; Paiva, S.M.; Granville-Garcia, A.F. Oral health-related quality of life and sense of coherence regarding the use of dental services by preschool children. Int. J. Paediatr. Dent. 2017, 27, 334–343. [Google Scholar] [CrossRef]
- Levi, U.; Einav, M.; Ziv, O.; Raskind, I.; Margalit, M. Academic expectations and actual achievements: The roles of hope and effort. Eur. J. Psychol. Educ. 2014, 29, 367–386. [Google Scholar] [CrossRef]
- Goulardins, J.B.; Rigoli, D.; Licari, M.; Piek, J.P.; Hasue, R.H.; Oosterlaan, J.; Oliveira, J.A. Attention deficit hyperactivity disorder and developmental coordination disorder: Two separate disorders or do they share a common etiology. Behav. Brain Res. 2015, 292, 484–492. [Google Scholar] [CrossRef]
- Karras, H.C.; Morin, D.N.; Gill, K.; Izadi-Najafabadi, S.; Zwicker, J.G. Health-related quality of life of children with developmental coordination disorder. Res. Dev. Disabil. 2019, 84, 85–95. [Google Scholar] [CrossRef] [PubMed]
- American Psychiatric Association. DSM-IV TR. In Diagnostic and Statistical Manual of Mental Disorders, Text Revision; American Psychiatric Association: Washington, DC, USA, 2000; Volume 75, pp. 78–85. [Google Scholar]
- Margalit, M.; Efrati, M. Sense of coherence, companionship, and loneliness among children with learning disorders. In Proceedings of the Annual Conference of the Society for Research in Child Development, Indianapolis, IN, USA, 23 March 1995. [Google Scholar]
- Asher, S.R.; Wheeler, V.A. Children’s loneliness: A comparison of rejected and neglected peer status. J. Couns. Clin. Psychol. 1985, 53, 500–550. [Google Scholar] [CrossRef]
- Asher, S.R.; Hymel, S.; Renshaw, R.D. Loneliness in children. Child Dev. 1984, 55, 1456–1464. [Google Scholar] [CrossRef]
- Margalit, M. Social skill learning for students with learning disorders and students with behavior disorders. Educ. Psychol. 1995, 15, 445–457. [Google Scholar] [CrossRef]
- Ogden, T. The validity of teacher ratings of adolescents’ social skills. Scand. J. Educ. Res. 2003, 47, 63–76. [Google Scholar] [CrossRef]
- Stott, D.H.; Moyes, F.A.; Henderson, S.E. Test of Motor Impairment; National Foundation of Educational Research: Slough, UK, 1984. [Google Scholar]
- Henderson, S.E.; Hall, D. Concomitants of clumsiness in young school children. Dev. Med. Child Neurol. 1982, 24, 448–460. [Google Scholar] [CrossRef] [PubMed]
- Lam, Y.Y. Three Views of Motor Performance in ESN(M) Boys. Master’s Thesis, Institute of Education, University of London, London, UK, 1982. [Google Scholar]
- Riggen, K.J.; Ulrich, D.A.; & Ozmun, J.C. Reliability and concurrent validity of the Test of Motor Impairment-Henderson Revision. Adapt. Phys. Act. Q. 1990, 7, 249–258. [Google Scholar] [CrossRef]
- Hindman, A.H.; Skibbe, L.E.; Miller, A.; Zimmerman, M. Ecological contexts and early learning: Contributions of child, family, and classroom factors during head start, to literacy and mathematics growth through first grade. Early Child. Res. Q. 2010, 25, 235–250. [Google Scholar] [CrossRef]
- Raver, C.C.; Knitze, J. Promoting the emotional well-being of children and families. Policy Pap. 2002, 3, 1–24. [Google Scholar]
- Klein, S.; Ortman, P.; Friedman, B. What is the field of gender equity in education? Questions & answers. In Defining and Redefining Gender Equity in Education; Koch, J., Irby, B., Eds.; Infoage: Greenwich, CT, USA, 2002; pp. 2–23. [Google Scholar]
- Reynolds, W.M.; Miller, G.E.; Weiner, I.B. (Eds.) Handbook of Psychology: Educational Psychology; John Wiley & Sons: New York, NY, USA, 2003; Volume 7. [Google Scholar]
- McClelland, M.M.; Morrison, F.J.; Holmes, D.L. Children at risk for early academic problems: The role of learning-related social skills. Early Child. Res. Q. 2000, 15, 307–329. [Google Scholar] [CrossRef]
- McHale, K.; Cermak, S.A. Fine motor activities in elementary school: Preliminary findings and provisional implications for children with fine motor problems. Am. J. Occup. Ther. 1992, 46, 898–903. [Google Scholar] [CrossRef]
- Woodard, R.L.; Surburg, P.R. The performance of fundamental movement skills by elementary school children with learning disorders. Phys. Educ. 2001, 58, 198–206. [Google Scholar]
- Vuijk, P.J.; Hartman, E.; Mombarg, R.; Scherder, E.J.A.; Visscher, C. Associations between the academic and motor performance in a heterogeneous sample of children with learning disorders. J. Learn. Disord. 2011, 44, 276–282. [Google Scholar] [CrossRef]
- Carlson, A.G.; Rowe, E.; Curby, T.W. Disentangling fine motor skills’ relations to academic achievement: The relative contributions of visual-spatial integration and visual-motor coordination. J. Genet. Psychol. 2013, 174, 514–533. [Google Scholar] [CrossRef]
- Westendorp, M.; Hartman, E.; Houwen, S.; Smith, J.; Visscher, C. The relationship between gross motor skills and academic achievement in children with learning disorders. Res. Dev. Disabil. 2011, 32, 2773–2779. [Google Scholar] [CrossRef] [PubMed]
- McPhillips, M.; Sheehy, N. Prevalence of persistent primary reflexes and motor problems in children with reading difficulties. Dyslexia 2004, 10, 316–338. [Google Scholar] [CrossRef]
- Tannehill, D.; MacPhail, A.; Walsh, J.; Woods, C. What young people say about physical activity: The Children’s Sport Participation and Physical Activity (CSPPA) study. Sport Educ. Soc. 2015, 20, 442–462. [Google Scholar] [CrossRef]
- Denham, S.A.; Bassett, H.H.; Thayer, S.K.; Mincic, M.S.; Sirotkin, Y.S.; Zinsser, K. Observing preschoolers’ social-emotional behavior: Structure, foundations, and prediction of early school success. J. Genet. Psychol. 2012, 173, 246–278. [Google Scholar] [CrossRef] [PubMed]
- Carr, M.; Kurtz, B.E. Teachers’ perceptions of their students’ metacognition, attributions, and self-concept. Br. J. Educ. Psychol. 1991, 61, 197–206. [Google Scholar] [CrossRef]
- Sektnan, M.; McClelland, M.M.; Acock, A.; Morrison, F.J. Relations between early family risk, children’s behavioral regulation, and academic achievement. Early Child. Res. Q. 2010, 25, 464–479. [Google Scholar] [CrossRef] [PubMed]
- Smith, L.E.; Borkowski, J.G.; Whitman, T.L. From reading readiness to reading competence: The role of self-regulation in at-risk children. Sci. Stud. Read. 2008, 12, 131–152. [Google Scholar] [CrossRef]
- Stipek, D. No child left behind comes to preschool. Elem. Sch. J. 2006, 106, 455–466. [Google Scholar] [CrossRef]
- Pereira, N.S.; Marques-Pinto, A. Including educational dance in an after-school socio-emotional learning program significantly improves pupils’ self-management and relationship skills? A quasi experimental study. Arts Psychother. 2017, 53, 36–43. [Google Scholar] [CrossRef][Green Version]


| Number of Items | Mean Score | Standard Deviation | Consistency (Cronbach Alpha) | |
|---|---|---|---|---|
| Motor Measures | ||||
| Precision and Time | 2 | 21.81 | 4.92 | 0.76 |
| Precision No Time | 1 | 28.96 | 15.08 | - |
| Follow the Ball | 1 | 1.7 | 2.13 | - |
| Catching the Ball | 1 | 8.12 | 2.11 | - |
| Outcome Measures | ||||
| Sense of Coherence | 15 | 3.2 | 0.36 | 0.66 |
| Loneliness | 16 | 1.93 | 0.63 | 0.79 |
| Academic Achievements | 8 | 3.82 | 0.99 | 0.96 |
| Behavioral Problems | 18 | 0.44 | 0.4 | 0.92 |
| Social Functioning | 30 | 1.39 | 0.41 | 0.95 |
| Coherence | Loneliness | Academic Achievements | Behavioral Problems | Social Functioning | |
|---|---|---|---|---|---|
| Age | −0.003 | −0.08 | 0.10 ** | −0.06 * | −0.05 |
| −0.03 | −0.05 | −0.03 | −0.03 | −0.07 | |
| Gender | −0.03 | −0.08 | 0.17 *** | −0.20 *** | 0.02 |
| −0.03 | −0.05 | −0.03 | −0.03 | −0.07 | |
| Learning Disorders | −0.09 * | 0.38 *** | −0.31 *** | 0.23 *** | −1.27 *** |
| −0.04 | −0.08 | −0.04 | −0.05 | −0.11 | |
| Precision and Time | −0.002 | 0.01 | −0.01 ** | 0.01 | −0.03 ** |
| −0.003 | −0.01 | −0.004 | −0.004 | −0.01 | |
| Precision No Time | 0.001 | 0.002 | −0.001 | −0.002 | −0.003 |
| −0.002 | −0.003 | −0.002 | −0.001 | −0.004 | |
| Follow the Ball | 0.01 * | −0.01 | −0.02 * | 0.01 | −0.04 * |
| −0.01 | −0.01 | −0.01 | −0.01 | −0.02 | |
| Catching the Ball | 0.001 | −0.01 | 0.003 | 0.01 | 0.01 |
| −0.01 | −0.01 | −0.01 | −0.01 | −0.02 | |
| Sense of Coherence | 0.07 | −0.11 * | 0.17 | ||
| −0.04 | −0.05 | −0.11 | |||
| Loneliness | −0.11 *** | 0.06 * | −0.17 ** | ||
| −0.03 | −0.03 | −0.06 | |||
| R2 | 0.02 | 0.06 ** | 0.23 *** | 0.16 *** | 0.27 *** |
| −0.01 | −0.02 | −0.03 | −0.02 | −0.03 |
| Independent | Mediator 1 | Dependent Variable | Independent → Mediator1 | Mediator → Dependent | Independent → Dependent | Indirect | 95% CI | Total |
|---|---|---|---|---|---|---|---|---|
| LD | Loneliness | Academic achievements | 0.38 *** (0.08) | −0.11 *** (0.03) | −0.31 *** (0.04) | −0.04 ** (0.01) | [−0.07, −0.02] | −0.36 *** (0.04) |
| LD | Loneliness | Behavioral problems | 0.38 *** (0.08) | 0.06 * (0.03) | 0.23 *** (0.05) | 0.02 (0.01) | [0.002, 0.04] | 0.26 *** (0.04) |
| LD | Loneliness | Social functioning | 0.38 *** (0.08) | −0.17 ** (0.06) | −1.27 *** (0.11) | −0.07 * (0.03) | [−0.12, −0.01] | −1.35 *** (0.11) |
Publisher’s Note: MDPI stays neutral with regard to jurisdictional claims in published maps and institutional affiliations. |
© 2021 by the authors. Licensee MDPI, Basel, Switzerland. This article is an open access article distributed under the terms and conditions of the Creative Commons Attribution (CC BY) license (http://creativecommons.org/licenses/by/4.0/).
Share and Cite
Zach, S.; Yazdi-Ugav, O. Conceptual Model for Explaining Academic Achievements and Social Functioning of Students with and without Learning Disorders. Sustainability 2021, 13, 2559. https://doi.org/10.3390/su13052559
Zach S, Yazdi-Ugav O. Conceptual Model for Explaining Academic Achievements and Social Functioning of Students with and without Learning Disorders. Sustainability. 2021; 13(5):2559. https://doi.org/10.3390/su13052559
Chicago/Turabian StyleZach, Sima, and Orly Yazdi-Ugav. 2021. "Conceptual Model for Explaining Academic Achievements and Social Functioning of Students with and without Learning Disorders" Sustainability 13, no. 5: 2559. https://doi.org/10.3390/su13052559
APA StyleZach, S., & Yazdi-Ugav, O. (2021). Conceptual Model for Explaining Academic Achievements and Social Functioning of Students with and without Learning Disorders. Sustainability, 13(5), 2559. https://doi.org/10.3390/su13052559

