Next Article in Journal
Manipulating Phosphorus, Calcium, and Magnesium Utilization by Growing Lambs Using Natural Zeolite (Clinoptilolite)
Next Article in Special Issue
Styles of Coping with Stress as a Factor Influencing Professional Burnout among Professional Officers of the Polish Army in the Context of Their Age
Previous Article in Journal
Building of the Al-containing Secondary Raw Materials Registry for the Production of Low CO2 Mineral Binders in South-Eastern European Region
Previous Article in Special Issue
An Empirical Study on Students’ Academic Wellbeing and Sustainable Development in Live Webcast Classes
 
 
Font Type:
Arial Georgia Verdana
Font Size:
Aa Aa Aa
Line Spacing:
Column Width:
Background:
Article

Nepotism and Related Threats to Security and Sustainability of the Country: The Case of Lithuanian Organizations

by
Svajone Bekesiene
*,
Audrone Petrauskaite
and
Rolanda Kazlauskaite Markeliene
General Jonas Zemaitis Military Academy of Lithuania, Silo 5a, 10322 Vilnius, Lithuania
*
Author to whom correspondence should be addressed.
Sustainability 2021, 13(3), 1536; https://doi.org/10.3390/su13031536
Submission received: 8 December 2020 / Revised: 19 January 2021 / Accepted: 22 January 2021 / Published: 1 February 2021

Abstract

The aim of the study is to investigate the impact of nepotism as a form of corruption on the effectiveness of organizations, determining the relationship between the manager and employees, employee relations, and taking it into account as a potential threat to secure and sustainable development of the organization and society. The data collected from private and public organizations were used to test research hypotheses. The AMOS version 26 program and structural equation modeling (SEM) were applied to check the models with median effects. The results of the test allowed to identify the negative aspects of nepotism in the relationship between the manager’s behavior and organizational performance. Nepotism causes internal conflicts and an atmosphere of mistrust in both public and private organizations, which leads to poor company performance and quality of services provided, and the potential loss of professionals. The results of the research show that the problem of nepotism is still relevant in Lithuanian society. The research results allow envisaging both systematic and ideological measures to prevent corruption in Lithuania. Models for the prevention of this form of corruption can be constructed on the basis of this research.

1. Introduction

As provided for in the National Security Strategy of the Republic of Lithuania, the prevalence of corruption in the public sector, economy, and business of the country may undermine the legitimate interests of individuals and the state, compromise the rule of law, reduce citizens’ faith in the values of democracy and in democratic government institutions, and reduce the attractiveness of the state to foreign investors [1]. Contemporary research shows that corruption has very different forms, such as nepotism, bribery, embezzlement, influence peddling, abuse of power, and manifests itself in both private businesses and public sector organizations as well as in political organizations and public administrations [2,3,4,5,6,7,8,9].
For a long time, the Western world has been of the opinion that various forms of corruption are characteristic of the third world and developing countries or that corruption is the product of over-regulated countries without the free market [10]. In fact, research shows that in developed countries, selection for job vacancies is made on the basis of the candidate’s education, merits, qualifications, work experience, while in developing countries family members and relatives rather than competent individuals are likely to be employed, and therefore their performance is not as good as it should be [2,4,11].
Corruption scandals in the last decades of the 20th century and the early 21st century in the free market countries contradict this opinion and confirm the assumption that nepotism, like other forms of corruption, flourishes in any political regime [12], and that corruption is the major negative factor in any country, whether we speak about economic growth, legitimacy of the government, or the overall security of people [13].
Forms of corruption such as favoritism, nepotism, and cronyism are complex and diffuse phenomena, making them very difficult to define scientifically as well as to assess from a societal perspective. Nepotism, both in the scientific literature and in public opinion, is understood as the abuse of a person’s position, power, or influence in order to confer a privilege on his/her relatives [2]. Nepotism is particularly evident in organizational activities, when a person is hired or promoted not on the basis of professional competencies, work experience, but on the basis of kinship. A concept closely related to nepotism is cronyism, which also means the patronage in a professional career that is based simply on close relationships (i.e., schoolmate or friend, common social or political activities, and the like) [3]. According to scientific point of view, nepotism and cronyism are two separate forms of favoritism. Favoritism is probably the broadest concept that describes patronage that is not based on professional or business interests, but on personal relationships or personal interests [4]. It should be noted that there is no strict separation of these terms in both the scientific literature and society, and they are often used together as synonyms or as consonantly related phenomena [2,3,4,8].
Such an interpretation of all three terms is very obvious in the case of Lithuania. In Lithuania, there is no legal definition of nepotism, cronyism, and favoritism yet, and therefore forms of corruption can be considered only as an abuse of a person’s official position. Nepotism is an expression of both favoritism and cronyism, in both Lithuanian scientific literature and society [14,15,16,17,18,19,20,21,22,23,24,25,26,27]. Thus, the concept of such forms of corruption must be analyzed and defined in scientific, legal, political, and social terms in the future. More precise definitions of nepotism, cronyism, and favoritism will help to directly assess these forms of corruption both in Lithuania and in other countries, as cultural and social differences lead to different assessments of these phenomena.
What is attributed to nepotism or cronyism in Western democracies can be seen in Islamic cultures as a moral duty to help your friends and family members. In developing countries, such as India, the processes of democratization of public–political life have enhanced civil powers for those layers of society that are not able to take part in the governing of the country, and then nepotism becomes a means of strengthening the bureaucratic and thus political powers of these people [15]. In such cases, as Akhil Gupta argued, corruption becomes the narrative of the fulfilment of expectations and needs of ordinary citizens [13].
Research in the public sector shows that manifestations of nepotism are visible not only at regional and national levels, but also at a cross-border level. When creating EU institutions, for example, it was expected that a new stratum of supranational civil servants would form, but the proliferation of nepotism created a new cross-border elite, which, from the sociological point of view, is transforming from a “class as such” to a “class for its own sake.” Europe is at risk that this new elite will grow into a European “nomenclature” with significantly greater private gain and public money misuse opportunities [14].
On the basis of research and scientific analysis, it may therefore be argued that nepotism is a negative phenomenon in any culture, both morally and politically, especially where it manifests in the public sector or in the political life of the state, as it undermines the principles of the legitimacy of the government and public representation [18]. Corruption among civil servants not only causes serious economic damage to society through inefficient use of the material and financial resources of the state, but also undermines democratic processes and the civil society by encouraging mistrust in public authorities and reducing the resilience of the society to internal and external threats. It should be noted that some researchers maintain that nepotism, favoritism, and cronyism are automatically neutral phenomena that cause a conflict of interests only under certain conditions and then give rise to the risk of corruption [11,12,13,14,15,16,17,18,19,20,21,22,23,24,25,26,27,28].
In their studies researchers confirm that the manifestation of nepotism and other forms of corruption is significant both in the public sector and in private business, but they disagree regarding the reasons that lead to the emergence and prevalence of nepotism in organizations [22,23,24,25,26,27,28,29,30]. In the opinion of most researchers’ nepotism encourages various other forms of corruption, and its consequences are particularly damaging not only to the organization, but also to the society at large, democracy, the legal system, and the security of the public and the state. Nepotism, cronyism, and other forms of corruption therefore become a critical area that must be researched with the aim of looking for the ways to change the prevalent narratives [31]. Institutional reforms and the requirement of greater transparency and accountability are not sufficient to achieve this. This requires a change in attitudes and a system of values in society, introducing sanctions not only for individual companies and organizations, but also for public administrations and international institutions.
Nepotism is a frequent problem in almost all organizations and affects the organization’s morale, culture, and joint activities [32,33,34,35,36,37,38,39,40,41,42,43], but researchers consider that its manifestations in the private and public sectors differ. According to some researchers, manifestations of nepotism are more visible in the public sector because the public sector companies require more competent and professional staff for the organization to be fairly profitable and to compete effectively in both the domestic and internal markets, so that with the gained competitive advantage the company can implement business development ideas, strategic aims and objectives [3,20,21,22,23,24,25]. On the other hand, the manifestation of nepotism is assessed much more favorably, particularly when it comes to family businesses, since the risk assessment and opportunities of the organization depend on the managerial and social competences of the managers [21,39,40,41,42,43]. Furthermore, in family-based business and labor relations descendants are expected to ensure the continuity of the organization after the retirement or death of a family member [22,34]. In such private enterprises with the signs of nepotism, family members are motivated to make use of the values and advantages provided by the family’s name, i.e., the descendants tend to have more knowledge, learn different aspects of management, are familiar with the senior management of the organization, and take over their work experience [28,29,30,31].
The public sector is the largest employer in any country, which is therefore one of the reasons why the manifestation of nepotism in this sector is treated with extremely negative emotional connotation. Another reason is that public sector companies use public resources, and therefore prioritizing individuals related to the management in the cases of employment or appointing them to certain positions increase various risks associated with the functioning of the company or organization, i.e., increase the likelihood of non-rational use of public resources and reduce the efficiency of the public sector, causing a threat to public trust [20,21,22,23,24,28,29,30,31,32,33,34,35,36]. On the other hand, by giving an unfair advantage to people who do not have the required qualifications or professional responsibility, the managers of an organization not only violate the law but also the standards of professional ethics in the public sector, increasing psychological tension and mistrust in management and causing conflict situations within the organization [25,38,39]. It is therefore in the public interest that professionals working in the public sector act professionally and provide top quality public services that are equally accessible, so that all decisions are taken impartially, objectively, and in good faith as required by the public interest [25,26].
When comparing the manifestation of nepotism in the private and public sectors, it should be noted that in some countries the manifestation of nepotism may, in principle, not differ in these two sectors (e.g., in Poland), while in other countries (e.g., in Lithuania) there is a much stronger presence of nepotism in public sector organizations [2]. Therefore, in order to promote a civil society and strengthen its potential through participation in decision-making processes and to raise awareness of the anti-corruption environment, the Special Investigation Service of the Republic of Lithuania is conducting an ongoing investigation monitoring the risk of nepotism at the level of regional self-government in the country, i.e., in municipal administrations and in enterprises managed by municipalities. Based on the investigation, the risk potential of nepotism in Lithuanian municipalities decreased from 17.62% to 16.92% between February and November 2019. The results of the investigation showed that 12,596 people were employed in municipal administrations, of which 2140 had family relationships. In June 2019, the first nepotism risk assessment in companies controlled by municipalities in Lithuania was conducted. It was established that municipalities in Lithuania managed 246 enterprises with 21,991 employees, of which 4159 had family relationships, indicating that the overall nepotism risk indicator in these enterprises was 19%. Thus, nepotism in the public sector in Lithuania continues to be one of the most widespread forms of corruption in Lithuania [25,34,41]. It causes damage to the micro-climate of an institution, the efficiency of its activities, and the reputation of the public sector. Such negative phenomena become widespread, cross the boundaries of the organization, and directly affect the safe and sustainable development of the states.
Nepotism, cronyism, and favoritism, like other forms of corruption, erode the confidence of civil society in public institutions, weaken the foundations of state security and defense, and reduce the resilience of society to modern threats. The aim of this research is to examine the impact of the forms of corruption (nepotism, cronyism, favoritism) on the efficiency of organizations by identifying meditating links between the manager and employees, the employee relationships, and the organization’s psychological climate and performance, with a view of the potential impact on the sustainability of the organization and the potential threat to the development of the state and national security.
The paper consists of four sections. The first section is an introduction to this scientific research problem. The second section of the paper is dedicated to the presentation of the process, impact, and consequences of the manifestation of nepotism, cronyism, favoritism, and other forms of corruption in Lithuanian organizations. In the third section the research methodology and the sample are presented. The description of the research results is presented and the results are discussed with reference to the research hypotheses in the fourth . The limitations of the research and debatable aspects of the research are represented in fifth section. The main conclusions and future research directions are provided in the sixth section.

2. Literature Review and Hypotheses

Researchers of the functioning of organizations emphasize the crucial importance of perceived justice, in particular, perceived procedural justice, in view of the continuing commitment of employees to their organization. Many researchers have claimed [22,26,27,28] that the main negative factor of nepotism is that it is opposed to the recruitment and promotion of qualified personnel. Other scholars have kept the focus on the influence of nepotism on the efficiency of the organizational activities [27,28,29,30]. Seeking to address problems related to such consequences, many countries have therefore adopted a so-called anti-nepotism policy prohibiting the employment of family members in certain civil servant positions [11,22,31] because the public sector is related to the implementation of the national security policy objectives.
A quantitative study [41,42] was carried out to explore the selection and recruitment process in Lithuanian organizations and how the employees of organizations respond to the manifestations of nepotism and other forms of corruption. The study aimed at exploring the psychological climate in public and private sector organizations focusing on nepotism and other forms of protectionism in organizations. The study examined several aspects of how this process was manifested. First, it was important to identify whether nepotism, favoritism, and protectionism manifested in the behavior of the managers (fear related to the relatives of managers) had a statistically significant negative impact (Section 2.1). In addition, the study examined the negative internal atmosphere and tension generated by nepotism within the organization, which subsequently promoted mistrust, suspicion, and snooping among staff. The study therefore included the negative aspect of nepotism, such as the treatment of employees, in terms of both mistrust and suspicion (Section 2.2 and Section 2.3). The study also analyzed positive aspects of nepotism, which are of particular relevance both in terms of relations between the manager and subordinates and in terms of performance or reducing tension in an organization.
Since these dimensions (Figure 1a) directly affect the employee commitment and determine the success of the organization’s activities, most research studies analyze the direct connection; however, the present study was supplemented with the analysis based on the mediation (Figure 1b) between the control dimension system and functioning of the organization (Section 2.4). The relationships analyzed in this study are presented in Figure 1.

2.1. Manifestation of Nepotism in an Organization: Management Decisions and Their Effect on Employees

Nepotism can be a huge problem in any organization. Officially it does not exist, but everyone knows that the managers still have a responsibility to pick employees for jobs by drawing from a wide array of candidates. There is nothing wrong with someone picking someone they know, whom they are comfortable with, but in the case of nepotism a lot of talented employees just do not have the opportunity to fill the right positions. This is related to a hidden problem—intellectual inbreeding. To avoid nepotism, the employees in any organization must have the opportunity to compete on equal terms for a job position.
Nepotism in private and public organizations can be seen as a negative factor affecting the activities of employees and the organization, and the balance between risks and opportunities. Nepotism combines two linear spectra, i.e., individual and organizational levels between which there is close interaction and connection. Personal relationships are strongly influenced by the organization of activities, while the functionality of the organizational structure is strongly influenced by personal relationships [21]. Therefore, when analyzing the manifestation of nepotism in an organization, researchers identify the following four main zones: employment relationships or recruitment process of a family member, negative and positive effects of nepotism, consequences of the effects, and assessment of the risks and opportunities involved.
Boselie and Wiele [42] carried out studies and established a connection between the organization factor and employee job satisfaction. Job satisfaction to a certain extent depends on management, remuneration, cooperation within a unit, and the intention to leave the organization. Based on the studies, we may assume that the atmosphere in the organization depends on the behavior of the manager. The manager may promote employees irrespective of whether they are sufficiently qualified for the position or have sufficient knowledge about their duties. Trust, positive atmosphere at work, and the relationship between the manager and his subordinates to a large extent depend on how the manager behaves and what role model he or she is to the subordinates [43,44,45]. Thus, managers may either increase or decrease tension within an organization with their behavior. Taking into account the above research insights, a hypothesis is formulated. When exploring the relationship between the management and personnel in an organization, it is important to examine which decisions of the management in connection with recruitment or control of personnel may affect the willingness of employees to remain in the organization. On the basis of studies concerning the effect of nepotism in an organization, three factors are important: fair evaluation of the employee, feedback to the employee regarding performance, and fair controls [44]. The following Hypothesis 1 (H1) is formulated on the basis of the research insights:
Hypothesis 1 (H1).
The manager of the organization supports nepotism, cronyism, favoritism and other forms of protectionism, which negatively affects the organization’s activities.

2.2. Manifestation of Nepotism in an Organization: Psychological Climate and Employee Relationships

The range of problems associated with nepotism is very wide. The main negative consequences are the negative effects on the quality of work, difficulty in managing different processes, damage to the emotional state of the members of the organization, animosity and dissatisfaction among the members, and the decline in the image and reputation of the organization in the eyes of the public and customers [28]. Due to internal conflicts and mistrust in an organization, performance and quality of work suffer, and, most importantly, experienced and skilled professionals are lost. Clear objectives of the organization affect job satisfaction and retention of employees as well as open communication, training, appropriate selection of staff and professional development, empowerment, effective teamwork and management, remuneration and recognition [30]. The following hypotheses H2, H2a and H2b are formulated on the basis of the research insights:
Hypothesis 2 (H2).
Nepotism, cronyism, favoritism and other forms of protectionism create a negative psychological climate in the organization.
Hypothesis 2a (H2a).
A negative psychological climate in the organization increases mistrust among employees and causes tension in communication.
Hypothesis 2b (H2b).
A negative psychological climate in the organization gives rise to mutual suspicion and snooping.

2.3. Positive Aspects of Nepotism, Cronyism and Other Forms of Protectionism

Nepotism in itself is not considered to be a bad phenomenon if people who are employed are qualified, responsible, and highly committed to the job assigned to them and to the organization’s aims, plans and tasks. This is evident in research on the intensity of nepotism in the organizations of Lithuania developed by Vveinhardt et al. [19]. Positive effects can occur where an employee wishing to show that he or she is not just a “relative,” tries to perform work in a quality manner, prove competence, pursue common goals, and become a member of the “team.” The following hypothesis H3 is formulated on the basis of the research insights:
Hypothesis 3 (H3).
Positive aspects of nepotism, cronyism, favoritism and other forms of protectionism have a positive effect on the organization’s activities.

2.4. The Mediating Role of Negative Aspects of Nepotism, Cronyism, Favoritism and Other Forms of Protectionism in an Organization

As discussed in previous sections, researchers have proved that nepotism causes harm to organizations. Researchers studied the direct effect of nepotism on the internal motivation of employees to perform their duties in an organization and their willingness to use their skills and knowledge in their job as one of the main problems of the organization’s administration. However, nepotism in many cases has an indirect effect on the employee’s trust in the organization and trust in fair assessment and loyalty to the organization, which in turn is an important indicator of the success of each organization. It is therefore important to examine the mediating effect of nepotism related to the working hours, management characteristics, internal atmosphere at work, and the lack of manager or employee competence. This will help us understand what may cause the employee’s negative opinion of the organization and have a negative effect on the employee’s quality of work and loyalty to the organization. This will also help identify whether nepotism is an important problem of the organization’s management and communication, affecting the employee relationships and performance and causing alienation. This leads us to testing of the following hypotheses:
Hypothesis 4 (H4).
The negative aspects of nepotism, cronyism, favoritism are mediating variables in the relationship between the manager’s behavior and organizational performance.
Hypothesis 4a (H4a).
The negative aspects of nepotism, cronyism, favoritism are mediating variables in the relationship between communication that causes co-workers’ stress and organizational functioning.
Hypothesis 4b (H4b).
The negative aspects of nepotism, cronyism, favoritism are mediating variables in the relationship between communication that causes co-workers’ mistrust and organizational functioning.
The findings of the studies mentioned in the introduction of the article showed that the negative manifestation of nepotism is visible through offering unfair advantage and breaching the rules of professional ethics in the public sector organizations. The problem starts with the lack of transparency in the selection and recruitment system. This has negative consequences not only to the organization, but also to the society, as the reputation and credibility of a public body are undermined. Thus, it can be assumed that significant damage is caused to the public sector organizations if the negative effect of nepotism is tolerated:
Hypothesis 5 (H5).
Nepotism, cronyism, favoritism have a negative effect on the functioning of public sector organizations.
While nepotism in public sector organizations is in breach of the law, such behavior in private sector organizations can best be attributed to the gray zone of deviations. It then requires actions to be taken, and organizations must set standards of conduct for managers and employees, together with control mechanisms [2]. Risk assessment and opportunities lay within the managerial and social competences of managers [29]. This shows that nepotism is much more favorably viewed in a family or other business (not all employees, however, view is positively). There has been little research on nepotism in the private sector, particularly in the area of analysis of the mediating aspects of nepotism. This leads to the following hypothesis:
Hypothesis 6 (H6).
Nepotism, cronyism, favoritism have a positive effect on the functioning of private sector organizations.

3. Research Methods Used

A quantitative study was selected in order to fully examine the relationships between nepotism in public and in private sector organizations of Lithuania. The implementation of the quantitative study was directly linked to both the search for answers to problem issues and the disclosure of the current situation, aiming to collect unique and useful information to identify, compare, and uncover relevant details in connection with the researched topic on nepotism. The quality of the collected data from the written survey totally depended on the respondent’s willingness to express his/her opinion acquiescently, and to fill in all the answers to presented survey questions. Based on this quantitative study, the current situation in the manifestation of nepotism in the Lithuanian private and public sector organizations and its impact were assessed.
The collected data were used to test study hypotheses and models with mediating effects. For this research SPSS 26 software and structural equation modeling (SEM) using IBM SPSS analysis of moment structures (AMOS version 26) program were used. The collected data sample characteristics (Section 3.1), measurement instrument used (Section 3.2), and constructed model analysis steps (Section 3.3) are provided below.

3.1. Sample Size and Characteristics

Since the survey was carried out during the lockdown, in April–June 2020, it was organized in a written form using the information technology. The survey was conducted and published on the website www.apklausa.lt. The choice was based on two aspects. First, an online survey provided an opportunity to the researcher to obtain information during the lockdown from a wider range of respondents, because the online link to the survey could be shared via various channels of communication (Messenger, Skype, Viber, Gmail, Facebook). Second, an online survey did not require huge financial and time costs. Preparations for the survey were made in advance by thoroughly considering the entire process of inviting respondents to participate.
The general sample of participants in the area researched were selected, i.e., employees of the private and public sectors. The probability sampling method was used. The Official Statistics Portal [24] published the latest data stating that the average number of employees in the country’s economy was 1.267 million in 2018, of which 895,500 worked in the private sector and 371,500 in the public sector. According to the sample size calculation, which is available online, with the sample of 1,267,000, 384 respondents must be surveyed to obtain a 95% reliability level and 5% sampling error. A total of 390 questionnaires were sent out of which 360 were completed. Following the detailed examination, correctly completed questionnaires of 352 respondents were selected.
The size of the organization was represented in the sample by the number of employees, varying from very small—fewer than 10 employees (9.7%)—to large—more than 250 employees (33.2%). The age of the majority of participating employees was below 30 (38.4%) and more than half of them were from public sector organizations (53.4%). The majority of those surveyed were male (59.1%) and 40.9% were female. The education of employees varied from university to basic education. Over 28% of the participants had a university higher education, 11.4% a college higher education, 36.6% a secondary education, and the rest of the participants had other qualifications (16.5%) or a lower secondary education (7.4%). The majority of employees who participated in the survey had been working for the organization for fewer than 5 years (45.7%) and only one-fifth (22.5% cumulative) of the participants had more work experience (age groups 16–20 and 21+). At the time of the survey the employees worked in different kinds of organizations in different positions: as managers (15.9%), specialists (41.8%), administrative employees (7.7%) and workers (25.0%), and the rest of employees were classified as other (9.7%). The statistical tests showed that demographic variables had significant influence on the model’s variables, so they were used further in this study. Detailed sample characteristics are described in connection with the demographic features in Table A1 (see Appendix A).

3.2. Measurement Instrument Used

A questionnaire was prepared for this research based on the identification of the manifestations of nepotism in the private and public sectors available in research. In the introductory part of the questionnaire, an explanation was provided about the essence of the research and its importance, including the definition of nepotism. The respondents were informed that anonymity of the responses would be ensured, gratitude was expressed for their support in replying to the questions, and an example of how responses were to be marked was provided.
The questionnaire continued with the topics that provided an opportunity to analyze issues of nepotism by explaining them clearly and consistently, so that the respondents would be willing to participate and would not have difficulties in replying to the questions. The questionnaire included these question blocks: communication with co-workers causes stress or mistrust, manager behavior (fears related to the relatives of managers), and positive and negative aspects of nepotism (see Table 1). To provide their opinion respondents were given choices according the five-point Linkert scale. By assessing each statement, respondents showed the degree of their approval: 1—strongly agree, 2—agree, 3—neither agree not disagree, 4—disagree, 5—strongly disagree. At the end of the questionnaire, seven demographic questions were provided related to gender, age, education, position, work experience, and type of the organization. Moreover, to assess the internal consistency of a questionnaire that was made up of multiple Likert-type scales and items the reliability analysis was carried out. Cronbach’s alpha (CA) showed the questionnaires to reach the acceptable recommended reliability, CA > 0.70 [46,47,48,49,50] (see Table 1).
Additionally, a confirmatory factor analysis (CFA) and estimated factor loadings of all six constructs were conducted. This helped to test the measurement for convergent validity and verified the structural model (see Table 1). The factor loading values followed the rule [32] that explained that path coefficient measurement had to be above 0.5.

3.2.1. Measurement of Manager Behavior

The instruments widely used to measure manager behavior do not include the aspect of nepotism. In order to measure the behavior of the manager who supports nepotism in the organization, five items were proposed following the analysis of conducted surveys [23,31,32,33,34,35,36]. The Manager Nepotism-Based behavior (MANB) scale was constructed based on the principles of organizational measurement mentioned in the literature review section. Five items were included to measure manager nepotism-based behavior, which were: MB1 “In my opinion the lowest level managers are afraid of those staff members who have connections with the top level managers”; MB2 “In my opinion managers are not particularly interested in how their relatives or friends perform their job”; MB3 “The manager of the company is not likely to dismiss or demote his relative (friend) even if he fails to meet the qualification requirements”; MB4 “In the organizations where there are many relatives or friends employed, any disagreements within the family become functioning/business problems”; MB5 “Career success in an organization where there are many relatives or friends of the manager/owner employed is not linked to the employee’s performance.” The MANB scale responses ranged from 1 (strongly disagree) to 5 (strongly agree) and had a Cronbach’s alpha (CA) of 0.828, indicating high internal consistency. The MANB total scale of five items was averaged, with higher scores indicating the greater agreement that manager behavior was nepotism-based (M = 15.39; SD = 4.871; CA = 0.828).

3.2.2. Measurement of Positive Aspects of Nepotism

According to Rowshan et al. [22] and Vveinhardt et al. [33], nepotism in the private and public sectors is considered more effective where it is properly used, for example, where a person in charge tries to prove his or her own value, because it would be a shame to fail to fulfil tasks due to the lack of qualifications and one would not wish to be in a position based on nepotistic practice. This means that efficiency of activities and employee performance show the prevalent status of nepotism (positive/negative). According to the abovementioned study, eight items were added to the Positive Nepotism Aspects (PONA) measurement, from PNA1 to PNA8 (Table 1). The PONA scale showed high internal consistency as Cronbach’s alpha was 0.897. Responses ranged from 1 (strongly disagree) to 5 (strongly agree). The PONA total subscale was averaged with higher scores, indicating higher agreement with positive nepotism aspects (M = 22.34; SD = 7.097; CA = 0.897).

3.2.3. Measurement of Negative Aspects of Nepotism

Negative nepotism is a phenomenon that is detrimental to the entire organization and, as it progresses, negatively affects the internal climate of the organization and the trust of employees in the organization, and violates the functionality of the organization’s processes and distorts its culture.
The six items for the NENA scale were created to identify distinct dimensions of the employees’ job experience across domains of cohesion, flexibility, communication, and satisfaction with organizational functioning and adequate job position relationships (see Table 1) [35,36]. Based on this conceptualization, the NENA scale for the study included two questions posited to represent perceptions of illegal hiring based on kinship or personal relationships, two questions posited to represent perceptions of career opportunities due to personal relationships, and two questions regarding a negative atmosphere at work as far as employee communication was concerned. All items were rated on a Likert scale with responses ranging from 1 (strongly disagree) to 5 (strongly agree). All items were averaged together as one scale, with higher scores indicating the greater employee perceptions of manifestations of nepotism in the organization (M = 18.27; SD = 6.196; CA = 0.887).

3.2.4. Communication with Co-Workers

Based on social relation studies, which highlight nepotism as a harmful phenomenon that has a negative impact on the internal climate of the organization and employee trust, undermines the functionality of the processes in an organization, and distorts its culture [21,27,36,37,45], a questionnaire was drawn up of eight items for the purpose of measuring communication with co-workers. Those items included two important dimensions of communication (see Table 1). The first dimension was related to the communication with co-workers that causes stress (FSTR, Table 1): FS1 “I think of each word when I communicate with the colleagues who are relatives/friends of the administration”; FS2 “I always communicate very cautiously with the relatives/friends of managers who work at my organization”; FS3 “My work results are negatively affected by the fact that the employees who have a family relationship with the manager/owner are valued more.” The second dimension was related to the communication with co-workers that causes mistrust (MIST, Table 1: MT1 “There is mutual mistrust at work between me and the manager’s relative/friend”; MT2 “I negatively assess the colleague who is the manager’s relative/friend”; MT3 “The manager’s relative/friend will never gain my trust as the employee”; MT4 “In my opinion the manager’s relative/friend who works in an organization causes internal conflicts at work”; MT5 “I would like to have a relative/friend in a high ranking position at my workplace.” Responses ranged from 1 (strongly disagree) to 5 (strongly agree). The FSTR items were averaged together, with higher scores indicating the greater agreement with stressful feelings (M = 8.57; SD = 3.652; CA = 0.803), and in the MIST subscale all items were averaged together as one scale, where higher scores indicated the greater agreement with feeling mistrusted (M = 15.43; SD = 5.355; CA = 0.845).

3.2.5. Organization Functioning Measurement

Nepotism, favoritism, and protectionism are detrimental to the entire internal control system, as they have negative consequences for the organization, such as a decrease in the level of employee satisfaction with work and loyalty to the organization, a decline in their commitment, lack of motivation, and increase in intentions to leave work [45,46,47,48].
The interest of researchers in organizational commitment dates back to the 1960s. In this study organizational functioning (ORGF) was measured by two items: ORG1 “How long have you been working for this organization?”; ORG2 “The age of the employee.” Cronbach’s alpha of 0.819 allowed us to establish that the organizational functioning scale had high internal consistency [48,49,50,51].

3.3. Model Measurement Procedure

The AMOS version 26 program and the structural equation modeling (SEM) were conducted to check the study hypotheses. The SEM was preferred to test research hypotheses because it provides the possibility to examine latent constructs [52,53,54,55,56,57,58,59,60]. As can be seen in the conceptual models (Figure 1a,b), the outcome variable of interest was a latent variable that involved two observed indicators (employee age and how long employees have been working for organization). Moreover, by using SEM, there was the possibility to study whether the hypothesized model was consistent with the collected data sample [53,54,55,56,57,58,59,60,61,62]. The statistical procedure named in AMOS version 26 as Full Information Maximum Likelihood (FIML) was used to account for missing values [53,54].
The preliminary analyses were used to examine whether there were any differences between the employees from the public organization sector (PUBS) group and the private sector (PRVS) organization group. Split data was used based on demographic characteristics as significant group differences that may confound the moderating effect. Specifically, a multivariate Analysis of Variance (ANOVA) was conducted to examine the differences among group means on variables including NENA, NONA, MANB, MIST, and FIST. Significant differences indicated (see Table A2, Appendix A) that the PUBS group and the PRVS organizations group should remain separated and a multi-group moderation analysis would be performed.
Two concurrent comparison moderation models were created and an analysis was conducted to compare them. The first moderation model included an estimation of the effect of the predictor variables on the outcome variable using constrained structural paths that were set to be equal across both groups (NENA, NONA, MANB, MIST, and FIST). The second moderation model included an estimation of the effect of the predictor variables on the outcome variable using structural paths that were allowed to differ across both organization groups (PUBS and PRVS).
Additionally, the permutation model accounting for negative nepotism aspects that influenced organizational functioning was conducted to address the possibility of a negative feature as an extraneous factor driving the model. Specifically, research question one was addressed in four steps. First, negative nepotism impact was examined in conjunction with all the study variables to identify significant correlations. Second, it was included into the best fitting model as a predictor for variables that were significantly correlated with negative nepotism aspects. Third, model fit for the permutation model was evaluated. Finally, the pathways within the permutation model were examined to determine if positive nepotism aspects uniquely contributed to organization functioning when accounting for negative nepotism impact.

4. Results

The literature on structural equation modeling recommends a two-step process to assess full models with latent variables [48,49,50,51,52,53,54,55]. Therefore, we tested the fit and construct validity of our measurement model (Section 4.1), and additionally tested structural models and hypotheses (Section 4.2). In both steps, we used the maximum likelihood procedure.

4.1. Conceptual Model Validity Results

In the first step the conceptual model was tested for the satisfactory result. Correlations and convergent and discriminant validity for all conceptual model variables are presented in Table 2. The univariate normality was acceptable according to the absolute values of kurtosis and skewness measurement (all were below 3 and 7, respectively) [52,53,54,55,56,57]. The multicollinearity check indicated no evidence of multicollinearity. All tolerance values were greater than 0.20, indicating no evidence of multicollinearity.
The confirmatory factor analysis showed that one item with standardized factor loadings lower than 0.60 had to be eliminated [50,51,52]. This item (MT5) corresponded to application of the communication with co-workers’ feelings of mistrust (MIST scale construct, Table 1). The confirmatory factor analysis was conducted to assess the validity of the constructed model with five constructs. All criteria showed that the convergent validity was satisfactory [50,51,52], and the factor loadings were all significant (p-value < 0.001 level).
The other indicator of convergent validity showed good satisfaction for both Cronbach’s alpha (CA) and construct reliability (CR), which were higher than 0.70 for all variables [48,49,50,51,52,53]. Furthermore, the average variance extracted (AVE) estimates all were greater than 0.50 and varied from 0.530 to 0.758 (Table 2). Additionally, the square root of AVE measures for each theoretical model’s constructs was calculated. All AVEs were greater than the correlation coefficients, except the MANB construct, but, all in all, these findings proved the evidence of discriminant validity (Table 2) [50,51,52,53,54,55,56,57,58].
The percentage of overall missing data for all study variables was small (0.7%) and ranged from 0% to 3.5% missing responses per any given individual indicator within a measure. Moreover, Little’s MCAR test was non-significant (χ2 = 7.519, df = 4, p = 0.111) and indicated the data were missing completely at random.

4.2. Structural Model Analysis and Hypotheses Testing

The direct path model based on theoretical suppositions of the relational turbulence model was examined for the primary analyses. This analysis let to evaluate the relationships between theoretical model variables in order to obtain the full model and test the hypotheses according to the negative nepotism effect on organizational functioning. Direct path model measurement results are presented in Figure 2 (Section 4.2.1). Additionally, we conceptualized a model based on negative nepotism constraint theory in which negative nepotism was posited to serve as a mediating influence (Section 4.2.2).

4.2.1. Hypotheses H1, H2, H2a, H2b and H3 Based on the Relational Turbulence Model

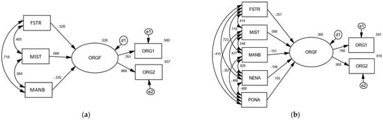
Direct effects were explored to examine the relationship between nepotism constraints and organization functioning (see Figure 2). Model 1 fit for H1 was appropriate, χ2 = 3.47 (df = 3, p = 0.325), CFI = 0.996, NFI = 0.972, TLI = 0.967, RMSEA = 0.035, and PCLOSE = 0.467 (see Figure 2a). The nepotism presenting variables accounted for 33% of the variance in organization functioning. Hypothesis 1, which specified that the manager of the organization supports nepotism, cronyism, favoritism and other forms of protectionism that negatively affect the organization’s activities, was confirmed (see Figure 2a). Higher perceptions of manager nepotism-based behavior (MANB variable) were negative and significantly associated with higher perceptions of organizational functioning (β = −0.335, p < 0.001, Model 1).
Specifically, higher perceptions of feeling stress at work (FSTR variable) were negative and significantly associated with higher perceptions of organizational functioning (β =−0.328, p < 0.001, Model 1). These findings proved Hypothesis 2 (H2), which specified that nepotism, cronyism, favoritism and other forms of protectionism create a negative psychological climate in the organization. Correspondingly, it can be mentioned that in Model 2 were included all constructs, the negative and significant coefficient for FSTR (feeling stress) appeared (β = −0.257, p < 0.001) and once more confirmed Hypothesis 2a, which specified that a negative psychological climate in the organization causes tension in communication and increases mistrust among employees.
Perceptions of mistrust feelings (MIST variable) were not found to be significantly associated with perceptions of organizational functioning (β = 0.088, p = 0.052, Model 1) and this finding rejected the Hypothesis 2b (H2b): Negative psychological climate in the organization gives rise to mutual suspicion and snooping.
Model 2 fit for H3 was appropriate, χ2 = 4.23 (df = 4, p = 0.615), CFI = 0.996, NFI = 0.998, TLI = 0.999, RMSEA = 0.025, and PCLOSE = 0.867. The nepotism presenting variables accounted for 35% of the variance in organizational functioning (see Figure 2b). Higher perceptions of positive nepotism (PONA variable) were positive and significantly associated with higher perceptions of organizational functioning (β = 0.155, p < 0.001). Moreover, Model 2A (χ2 = 3.87 [df = 3, p = 0.457], CFI = 0.996, NFI = 0.998, TLI = 0.988, RMSEA = 0.035, and PCLOSE = 0.745) indicated that MANB (β = −0.275, p < 0.001) and FSTR (β = −0.310, p < 0.001) in positive nepotism effect had lower negative influence on the organizational functioning (Model 2A; see Figure A2, Appendix B). These findings proved the Hypothesis 3 (H3): Positive aspects of nepotism, cronyism, favoritism, and other forms of protectionism have a positive effect on the organization’s activities.
A bootstrap procedure was conducted that provided the standard errors for total, direct, and indirect effects and allowed to test their significance [49,62]. To check these hypotheses we constructed a structural Model 3 fit for hypotheses H4, H4a, and H4b, which was acceptable, χ2 = 12.28 [df = 6, p = 0.298], CFI = 0.977, NFI = 0.965, TLI = 0.943, RMSEA = 0.042, and PCLOSE = 0.517 (see Figure A1a, Appendix B). There were added direct relationships between each negative nepotism variable (MANB, MIST, and FSTR) and the organizational functioning latent variable (ORGF) in the Model 3.
Conducted analysis indicated that indirect effects of co-workers’ communication that raises stress and manager behavior on organization functioning were significant (p < 0.01; see Table 3), but communication that raises employees’ mistrust did not show the significant indirect effect (p < 0.01; see Table 3). These findings proved H4 and H4a and rejected H4b. Moreover, the study result provided evidence that negative nepotism mediates the relationships between MANB and FSTR components and organizational functioning. Additionally, it can be mentioned that the direct and indirect effects of application of the negative nepotism effect and employees’ mistrust of organizational functioning were not significant and did not indicate mediation (see Table 3).
Moreover, the study result provided evidence that negative nepotism mediates the relationships between MANB and FSTR components and organizational functioning (ORGF). Additionally, it can be mentioned that the direct and indirect effects of application of the negative nepotism effect and employees’ mistrust (MIST) to organizational functioning were not significant and did not indicate mediation (see Table 3).
In order to fully examine the relationships between nepotism in public and private sector organizations of Lithuania we constructed two models. Model 4 fit for Hypothesis H6 was acceptable (χ2 = 11.47 [df = 6, p = 0.311], CFI = 0.977, NFI = 0.968, TLI = 0.943, RMSEA = 0.035, and PCLOSE = 0.407) and allowed us to measure how nepotism influences organizational functioning in the private sector (Figure 3b).
Model 5 fit for Hypothesis H5 (χ2 = 10.37 [df = 6, p = 0.318], CFI = 0.997, NFI = 0.981, TLI = 0.976, RMSEA = 0.034, and PCLOSE = 0.597) and thus the influence level of nepotism in the public sector was clarified (Figure 3a). Additionally, it should be noted that measurement of the influencing relationships in Model 5 findings proved Hypothesis H5. The significant, negative, and large effect (NENA: β = −0.516, p < 0.001, Figure 3b) disclosed that nepotism is tolerated in the public sector organizations and makes a significant direct impact on organizational functioning (Figure 3b). Furthermore, the Model 4 study findings led us to reject Hypothesis H6: Nepotism, cronyism, and favoritism have a positive effect on the functioning of private sector organizations. The significant and negative effect of nepotism (NENA: β = −0.474, p < 0.001, Figure 3a) showed that the private sector employees who worked in a family-run business generally viewed nepotism only slightly more favorably than employees in public organizations.
Additionally, it can be mentioned that the calculations led us to assume that nepotism, cronyism, and favoritism had significant negative direct effect (NENA: β = −0.528, p < 0.001) on the functioning of both sector organizations (Figure A1a, Appendix B). Furthermore, we tested an alternative Model 6 that included a direct path from MANB to ORGF (not from FSTR and MIST to ORGF). Model 6 (χ2 = 10.17 [df = 5, p = 0.327], CFI = 0.988, NFI = 0.978, TLI = 0.965, RMSEA = 0.033, and PCLOSE = 0.766) was checked for both sectors without separation. Also, it must be mentioned that according to the differences between models: ∆χ2 =2.11, ∆df =1, p <0.05, it was indicated that Model 6 showed a better fit than Model 3 (see Figure A1, Appendix B). Moreover, these findings led us to consider that Model 6 as alternative model was better and it could also be used to prove H1, that the highest negative value belonged to the manager of the organization who supports nepotism, cronyism, favoritism and other forms of protectionism that negatively affect the organization’s activities.
In summary, our study confirmed these results. First, this study suggests that tolerating negative nepotism processes can worsen employee emotional well-being and reduce loyalty to the organization. These results confirmed what was demonstrated previously [20,21,22]. Second, in analyzing the influence of the manager on the organizational processes, a negative direct relationship was demonstrated, which also showed that when the mediating negative effect of nepotism was included in the analysis, it was further enhanced. In other words, this is because managers whose leadership is based on nepotism, favoritism, and protectionism have a significant negative impact on their organization.
Third, our results support other researchers’ observations that managers create an unfavorable psychological climate in the organization by creating a gap among employees when hiring an employee with family, friends, and colleagues is more important than the employee’s own competence, skills, knowledge, and qualifications [20,21,22].

4.2.2. Hypotheses 4, 4a, 4b, 5 and 6 Based on the Mediating Effects

Hypotheses H4, H4a, and H4b predict that the relationship among the components of the organizational functioning is mediated through negative nepotism (see Table 3). Mediating effects can be analyzed by breaking total effects down into direct and indirect effects [49,62].

5. Discussion and Limitations

In this study an investigation was carried out of the role of nepotism, favoritism, and protectionism and the significance of job stress in Lithuanian private and public organizations. The quantitative questionnaire was used to collect the employees’ perceptions about nepotism effects on the organization’s functioning. Based on a survey of 352 employees from private and public sector organizations, this study included three control components, MANB, MIST, and FSTR, which were chosen to investigate how the nepotism affects an organization’s functioning.
Study findings show that nepotism decreases the organizational functioning, increases stress, and statistically significant nepotism-based manager behavior highly negatively affects private and public sectors’ organizational functioning. Finally, investigation results showed that nepotism mediates the relationships between the three control components and organization.
There was proved a mediating effect for nepotism-based manager behavior and communication that raises co-workers’ stress. The control component that evaluated employees’ communication that raises co-workers’ mistrust did not show statistically significant direct or indirect effect on organizational functioning in this study.
This study makes several contributions. From a theoretical perspective, our results reinforce the importance of negative nepotism impact on organizational functioning in the relationships between the components of stress, mistrust, and managers’ behaviors. This confirmed once again that nepotism-based organizational governance raises negative factors such as stress, poor performance, distrust [29,32,38].
The most important contribution of this study is to show that nepotism is supported by managers, thus promoting negative factors within the organization, causing emotional stress and stress to employees and creating distrust-based employee relationships. Two components were involved in the study of the impact on the micro-climate in the organization: stress (FSTR) and mistrust (MIST). The study revealed the specific impact of nepotism on these components, describing the organization’s micro-climate. From an empirical perspective, the results confirmed the findings of previous studies and provided additional insights into the role of mediation of nepotism. Previous studies have not analyzed the mediating relationship between employee stress and the influence of management on the organization specifically through nepotism.
According the results of the research, manager behavior based on nepotism, favoritism, and protectionism was found to create considerable stress in the workplace for employees, which leads to job dissatisfaction and increases the possibility of intention to quit. Nepotism has the highest negative impact on job stress. These practices all have a direct negative effect on Lithuanian organizations functioning in private as well as in public sectors.
The results of the research made by the Special Investigation Service [24] show that the level of nepotism in municipalities and their enterprises is high (i.e., about 17–19%), and therefore nepotism, cronyism, and favoritism not only have a negative impact (i.e., stress and mistrust) on the unfavorable climate of some organizations, but also pose a threat to society as a whole, especially when there are many such organizations. The rise of nepotism in the public sector not only has a negative impact on public citizens, but also undermines trust in government institutions in general. Both of these aspects of the expression of nepotism pose a direct threat to the security and sustainability of the country and should be further explored with a focus on governmental organizations.
This study has limitations. First, the questionnaire construct design was based on different scientific studies from different countries. Second, measurement of the application of the organizational functioning principle construct used only two items. Third, the majority of respondents were younger employees with fewer than five years work experience. For all these reasons, our findings must be interpreted cautiously. To clarify, other variables measuring the influence of nepotism, favoritism, and protectionism on organizational functioning can be included in the study. It can also be assumed that all components of a control process must be fair, to avoid offsetting effects between components. This obviously goes beyond the three dimensions examined in this study.
Future research can include variables such as subjectivity, formality, or the use of non-financial performance measures that have been considered in other studies. Despite its limitations, our study provides interesting evidence regarding the role of results control systems on perceived nepotism and organizational commitment. Furthermore, this research can be repeated with an enhanced number of variables presenting different organizational functioning setups with a larger sample size to further improve understanding of how negative nepotism reduces not only organizational efficiency but also create premises for the corruption at all management levels of the public sector from local authorities up to central government institutions.

6. Conclusions

The following outcomes of the study have been confirmed:
Firstly, the study shows that tolerance of negative nepotism processes may worsen the emotional state of employees and reduce their loyalty to the organization. These results confirmed what was previously asserted.
Secondly, the analysis of the manager’s impact on the organizational processes showed a negative direct relationship; furthermore, it showed an increase in the mediating negative effect of nepotism. In other words, managers whose management is based on nepotistic practices have a great negative impact on the organization.
Thirdly, our results confirm the observations made by other researchers that managers create a negative emotional climate, causing distancing between employees when a member of staff is recruited whose main advantage is his or her family connection or friendship rather than competence, skills, knowledge, and qualifications required for work.
The results of the research showed that the problem of nepotism is still relevant in Lithuanian society. The information obtained during the study was based on the analysis of the body of research provided in the theoretical part of the study. This allowed to identify that nepotism first erodes trust, then creates an unfavourable internal atmosphere in the organization and causes internal conflicts, resulting in the poor performance of the company, poor quality of services, and the likely loss of specialists.
Nepotistic practices in public and private organizations in Lithuania reduce not only the efficiency of organizations, but also create premises for and promote corruption at all management levels, starting from private sector institutions and local authorities up to central government institutions. Therefore, nepotism as well as other manifestations of corruption, pose a threat to the sustainability of state and national security. Nepotism as a social phenomenon must be studied by various approaches (cultural, social, political, and economic), as well as at different levels of the state (organizational, municipal, governmental). Scholars will be able to use the results of the test for both future scientific research and theoretical description of nepotism, cronyism, and favoritism. Models for the prevention of this form of corruption can be constructed on the basis of this research.

Author Contributions

Conceptualization: S.B., A.P. and R.K.M.; methodology: S.B.; validation: S.B.; analysis: S.B.; writing—original draft preparation: S.B., A.P. and R.K.M.; writing—review and editing: S.B., A.P. and R.K.M.; visualization: S.B.; project administration: S.B.; funding acquisition: A.P. All authors have read and agreed to the published version of the manuscript.

Funding

This research was funded by Ministry of National Defence, Republic of Lithuania, as a part of the research project “The Development of Resilience and Power of Lithuanian Society for Civic Defense” approved by the order of Minister of National Defence of the Republic of Lithuania No. V-433, 8 May 2019 (2019–2021). Any opinions, findings, and conclusions or recommendations expressed in this material are those of the authors and do not necessarily reflect the view of the funding agency.

Institutional Review Board Statement

The study was conducted according to the guidelines of the Declaration of Helsinki.

Informed Consent Statement

This research there were not used specifical human materials. The research was based on questionnaire and respondents just had express their own opinion. Additionally, we strongly were following the ethical requirements of respondents’ anonymity.

Acknowledgments

The authors would like to express their deepest gratitude to Andrius Žemaitis for the work done in collecting the research data used in the analysis of the article.

Conflicts of Interest

The authors declare no conflict of interest. The funders had no role in the design of the study; in the collection, analyses, or interpretation of data; in the writing of the manuscript; or in the decision to publish the results.

Appendix A

Table A1. The demographic representation of respondents.
Table A1. The demographic representation of respondents.
VariableRespondents
n 1 (%)
VariableRespondents
n 1 (%)
AgeNumber of employees
30 or younger135 (38.4%)<1034 (9.7%)
31–4095 (27.0%)10–5057 (16.2%)
41–5091 (25.9%)51–250144 (40.9%)
51+31 (8.8%)251+117 (33.2%)
GenderOrganization
Male208 (59.1%)Public sector188 (53.4%)
Female144 (40.9%)Private sector164 (46.6%)
EducationWork experience
University higher 99 (28.1%)<5 years161 (45.7%)
College higher 40 (11.4%)5–1057 (16.2%)
Upper secondary 129 (36.6%)11–1555 (15.6%)
Lower secondary 26 (7.4%)16–2039 (11.1%)
Other58 (16.5%)21+40 (11.4%)
Position
Manager56 (15.9%)
Specialist147 (41.8%)
Administrative employee27 (7.7%)
Worker88 (25.0%)
Other34 (9.7%)
1 Note: n = 352 respondents.
Table A2. Summary of differences between public and private sectors.
Table A2. Summary of differences between public and private sectors.
VariablePublic Sector
n = 188
Private Sector
n = 164
ANOVA
MSDMSDFp1
FSTR7.9273.5029.1223.6999.6140.002
MIST11.6174.54213.1544.51910.0930.002
MANB14.1895.01216.4414.49719.7450.000
PONA23.5187.57021.3096.5058.6770.003
NENA16.7446.28919.6015.80919.6160.000
Note: M—mean; SD—standard deviation; F = F-ratio; 1 p = significance. FSTR—Communication with co-workers raises stress: Feels Stressed; MIST—Communication with co-workers raises mistrust: Feels Mistrusted; MANB—Manager Behavior; NENA—Negative Nepotism Aspects; ORGF—Organizational Functioning.

Appendix B

Figure A1. Mediation models based on indirect relationship between nepotism features explaining construct variables and organizational functioning: (a) Model 3 mediation model (χ2 = 12.28 [df = 6, p = 0.298], CFI = 0.977, NFI = 0.965, TLI = 0.943, RMSEA = 0.042, and PCLOSE = 0.517) presenting the indirect relationships between nepotism constrains in both private and public sector organizational functioning (without separation); (b) Mediation effects Model 6 (χ2 = 10.17 [df = 5, p = 0.327], CFI = 0.988, NFI = 0.978, TLI = 0.965, RMSEA = 0.033, and PCLOSE = 0.766) for H3 explaining both private and public sector organizational functioning (without sector separation).
Figure A1. Mediation models based on indirect relationship between nepotism features explaining construct variables and organizational functioning: (a) Model 3 mediation model (χ2 = 12.28 [df = 6, p = 0.298], CFI = 0.977, NFI = 0.965, TLI = 0.943, RMSEA = 0.042, and PCLOSE = 0.517) presenting the indirect relationships between nepotism constrains in both private and public sector organizational functioning (without separation); (b) Mediation effects Model 6 (χ2 = 10.17 [df = 5, p = 0.327], CFI = 0.988, NFI = 0.978, TLI = 0.965, RMSEA = 0.033, and PCLOSE = 0.766) for H3 explaining both private and public sector organizational functioning (without sector separation).
Sustainability 13 01536 g0a1
Figure A2. Direct effects Model 2A (χ2 = 3.87 [df = 3, p = 0.457], CFI = 0.996, NFI = 0.998, TLI = 0.988, RMSEA = 0.035, and PCLOSE = 0.745) for H3 explanation.
Figure A2. Direct effects Model 2A (χ2 = 3.87 [df = 3, p = 0.457], CFI = 0.996, NFI = 0.998, TLI = 0.988, RMSEA = 0.035, and PCLOSE = 0.745) for H3 explanation.
Sustainability 13 01536 g0a2

References

  1. National Security Strategy of the Republic of Lithuania. Resolution No XIII-202 of the Seimas of the Republic of Lithuania of 17 January 2017. Available online: https://e-seimas.lrs.lt/portal/legalAct/lt/TAD/dc61fcd0fe8a11e6ae41f2dbc54c44ce?jfwid=-1fhjp2nto (accessed on 21 November 2020).
  2. Sroka, W.; Vveinhardt, J. Nepotism and Favouritism in Polish and Lithuanian Organizations: The Context of Organisational Microclimate. Sustainability 2020, 12, 1425. [Google Scholar] [CrossRef]
  3. AL-shawawreh, T.B. Economic Effects of Using Nepotism and Cronyism in the Employment Process in the Public Sector Institutions. Res. Appl. Econ. 2016, 1, 58–67. [Google Scholar] [CrossRef][Green Version]
  4. Nadeem, M.; Ahmad, R.; Ahmad, N.; Batool, S.R.; Shafique, N. Favoritism, nepotism and cronyism as predictors of job satisfaction: Evidences from Pakistan. J. Bus. Manag. Res. 2015, 8, 224–228. [Google Scholar]
  5. Hicken, A. Clientelism. Annu. Rev. Political Sci. 2011, 14, 289–310. [Google Scholar] [CrossRef]
  6. Keefer, P.; Vlaicu, R. Democracy, Credibility, and Clientelism. J. Law Econ. Organ. 2008, 24, 371–406. [Google Scholar] [CrossRef]
  7. Khatri, N.; Tsang, E.W.K. Antecedents and Consequences of Cronyism in Organizations. J. Bus. Ethics 2019, 43, 289–303. [Google Scholar] [CrossRef]
  8. Jaskiewicz, P.; Uhlenbruck, K.; Balkin, D.B.; Reay, T. Is nepotism good or bad? Types of nepotism and implications for knowledge management. Fam. Bus. Rev. 2013, 26, 121–139. [Google Scholar] [CrossRef]
  9. Haller, D.; Shore, C. Introduction Corruption Anthropological Perspectives; Haller, D., Shore, C., Eds.; Pluto Press: London, UK, 2005; pp. 1–29. [Google Scholar]
  10. Lokaj, A.S. Nepotism as a Negative Factor in Organization Performance. Acad. J. Interdiscip. Stud. 2015, 4, 9–13. [Google Scholar] [CrossRef]
  11. Gellner, E. Patrons and Clients. In Mediterranean Societies; Gellner, E., Waterbury, J., Duckworth, Eds.; Bloomsbury Academic: London, UK, 1977; p. 6. [Google Scholar]
  12. Lovell, D.W. Corruption as a Transitional Phenomenon. In Understanding Endemic Corruption in Postcommunist States; Haller, D., Shore, C., Eds.; Pluto Press: London, UK, 2005; pp. 65–82. [Google Scholar]
  13. Gupta, A. Narrating the State of Corruption. In Anthropological Perspectives; Haller, D., Shore, C., Eds.; Pluto Press: London, UK, 2005; pp. 173–190. [Google Scholar]
  14. Shore, C. Culture and Corruption in the EU. In Reflections on Fraud, Nepotism and Cronyism in the European Commission; Haller, D., Shore, C., Eds.; Pluto Press: London, UK, 2005; pp. 173–190. [Google Scholar]
  15. Parry, J. The Crisis of Corruption and the Idea of India: A Worm’s Eye View. In The Morals of Legitimacy; Pardo, I., Ed.; Berghahn Books: New York, NY, USA; Oxford, UK, 2000; pp. 27–55. Available online: http://fieldtofactory.lse.ac.uk/parry/readings2-corruption.pdf (accessed on 21 November 2020).
  16. Tytko, A.; Smokovych, M.; Dorokhina, Y.; Chernezhenko, O.; Stremenovskyi, S. Nepotism, favoritism and cronyism as a source of conflict of interest: Corruption or not? Amazon. Investig. 2020, 9, 163–169. [Google Scholar] [CrossRef]
  17. Kerse, G.; Babadag, M. I’m Out If Nepotism is in: The Relationship Between Nepotism, Job Standardization and Turnover Intention. Ege Acad. Rev. 2018, 18, 631–644. [Google Scholar] [CrossRef]
  18. Gupta, A. Blurred Boundaries: The Discourse of Corruption, the Culture of Politics, and the imagined State. Am. Ethnol. 1995, 22, 375–402. [Google Scholar] [CrossRef]
  19. Vveinhardt, J.; Kuklytė, J. Forms of Destructive Relationship Among the Employees: How Many are There and What is the Extent of the Spread? Indep. J. Manag. Prod. 2017, 8, 205–231. [Google Scholar] [CrossRef]
  20. Vveinhardt, J.; Petrauskaiteė, L. A Model of the Expression of Nepotism in an Organization. Manag. Organ. 2013, 68, 139–149. [Google Scholar] [CrossRef]
  21. Zulová, J. Legal issues associated with nepotism in the workplaces in the Slovak republic. Eur. Sci. J. 2015, 1, 10–17. [Google Scholar]
  22. Rowshan, A.G.; Ghasemnezhad, M.; Hemmat, Z. Investigation of Nepotism in Public Sector Organizations in Iran and its Impact on Employee’s Performance. Int. J. Manag. Account. Econ. 2015, 2, 189–199. [Google Scholar]
  23. Lesne, F.; Gauthier, B. The Kinship in Public Office Indicator: Kin Connectivity as a Proxy for Nepotism in the Public Sector; Michelsen Institute: Bergen, Norway, 2014; Volume 12, p. 4. [Google Scholar]
  24. Guide to the Development and Implementation of an Anti-Corruption Environment in the Public Sector; United Nations Office on Drugs and Crime: Vienna, Austria, 2018; p. 36. Available online: https://www.stt.lt/data/public/uploads/2019/11/aav_viesajam_2018_09_05_viesinimui_pdf_2_lt.pdf (accessed on 23 November 2020).
  25. Analysis of the Institutional Structure of Nepotism Risk in Lithuanian Municipal Administrations and Municipally Managed Enterprises. STT. 2020. Available online: https://www.stt.lt/analitine-antikorupcine-zvalgyba/kiti-tyrimai/nepotizmo-rizikos-institucines-strukturos-analize/7546 (accessed on 11 November 2020).
  26. Fetahu, D. The Importance of Nepotym and Corruption Management in Institutions and the Economy of the Country. Eur. J. Multidiscip. Stud. 2017, 2, 133–143. [Google Scholar] [CrossRef]
  27. Shabbir, B.; Siddique, H. Impact of Nepotism, Cronyism, and Favoritism on Organizational Performance with a Strong Moderator of Religiosity. Int. J. Sci. Eng. Res. 2017, 8, 299–309. [Google Scholar]
  28. Ozler, N.D.E.; Buyukarslan, B.A. The Overall Outlook of Favoritism in Organizations: A Literature Review. Int. J. Bus. Manag. Stud. 2011, 3, 275–285. [Google Scholar]
  29. Vveinhardt, J.; Petrauskaiteė, L. Intensity of Nepotism Expression in Organizations of Lithuania. Manag. Organ. 2013, 66, 129–143. [Google Scholar] [CrossRef]
  30. Sroka, W.; Vveinhardt, J. Nepotism and Favouritism in the Steel Industry: A Case Study Analysis. Forum Sci. Oecon. 2018, 6, 31–45. [Google Scholar] [CrossRef]
  31. Ariani, D.W. The Relationship between employee engagement, organizational citizenship behavior, and counterproductive work behavior. Int. J. Bus. Adm. 2013, 4, 46–56. [Google Scholar] [CrossRef]
  32. Lam, T.; Lo, A.; Chan, J. New Employees’ Turnover Intentions and Organizational Commitment in the Hong Kong Hotel Industry. J. Hosp. Tour. Res. 2002, 26, 217–234. [Google Scholar] [CrossRef]
  33. Vveinhardt, J. Diskriminacinis nepotizmo kontekstas: Prieštaringa konotacija organizacijų valdyme. Studijos šiuolaikinėje visuomenėje. Stud. Mod. Soc. 2013, 4, 64–73. [Google Scholar]
  34. Vveinhardt, J.; Petrauskaitė, L. Nepotizmo prevencija Lietuvos privataus sektoriaus organizacijose: Teorinės gairės. Organ. Vadyb. 2014, 69, 137–149. [Google Scholar] [CrossRef]
  35. Vveinhardt, J.; Petrauskaitė, L. Nepotizmo modelių lyginamoji analizė: Pritaikomumo sąlygos. Jaun. Moksl. Darb. 2013, 2, 94–102. [Google Scholar]
  36. Bute, M. The effects of nepotism and favoritism on employee behaviors and human resources practices: A research on Turkish public banks. Todade’s Rev. Public Adm. 2011, 5, 185–208. [Google Scholar]
  37. Keles, H.N.; Ozkan, T.K.; Bezirci, M. A Study on the Effects of Nepotism, Favoritism and Cronyism on Organizational Trust in the Auditing Process in Family Businesses in Turkey. Int. Bus. Econ. Res. J. 2011, 10, 12–16. [Google Scholar] [CrossRef]
  38. Agrawal, P. Effect of uncertain and turbulent environment on organizational design. Econ. Bus. J. 2014, 5, 11–24. [Google Scholar]
  39. Daskin, M. Favouritism and self-efficacy as antecedents on managers’ politics perceptions and job stress. Anatolia 2013, 24, 452–467. [Google Scholar] [CrossRef]
  40. Mendes, F.; Stander, M. Positive organisation: The role of leader behaviour in work engagement and retention. SA J. Ind. Psychol. 2011, 37, 1–13. [Google Scholar] [CrossRef][Green Version]
  41. Zemaitis, A. Nepotism as a Threat to National Security and its Expression in Lithuanian Society. Master’s Thesis, Military Academy of Lithuania, Vilnius, Lithuania, 2020. [Google Scholar]
  42. Bosiele, P.; Wiele, T. Employee perceptions of HRM and TQM, and the effects on satisfaction and intention to leave. Manag. Serv. Qual. 2002, 12, 65–172. [Google Scholar] [CrossRef]
  43. Key-Roberts, M. A Teoria da Liderança Baseada nos Pontos Fortes e o Desenvolvimento de Liíderes Subordinados. Mil. Rev. 2014, 69, 48–58. [Google Scholar]
  44. Petrauskaite, L.; Vveinhardt, J. Nepotizmo, favoritizmo ir protekcionizmo trianguliacijos koncepcinis modelis. Organ. Vadyb. 2013, 65, 137–152. [Google Scholar]
  45. Meyer, J.P.; Herscovitch, L. Commitment in the workplace: Toward a general model. Hum. Resour. Manag. Rev. 2001, 11, 299–326. [Google Scholar] [CrossRef]
  46. Bekesiene, S.; Hoskova-Mayerova, S.; Diliunas, P. Structural Equation Modeling Using the Amos and Regression of Effective Organizational Commitment Indicators in Lithuanian Military Forces. In Proceedings of the Aplimat—16th Conference on Applied Mathematics 2017 Proceedings, Bratislava, Slovakia, 31 January–2 February 2017; pp. 91–102. [Google Scholar]
  47. Meyer, J.P.; Stanley, D.J.; Herscovitch, L.; Topolnytsky, L. Affective, continuance, and normative commitment to the organization: A meta-analysis of antecedents, correlates, and consequences. J. Vocat. Behav. 2002, 61, 20–52. [Google Scholar] [CrossRef]
  48. Bekesiene, S.; Hoskova-Mayerova, S. Decision Tree-Based classification model for identification of effective leadership indicators. J. Math. Fundam. Sci. 2018, 50, 121–141. [Google Scholar] [CrossRef]
  49. Smaliukiene, R.; Bekesiene, S. Towards Sustainable Human Resources: How Generational Differences Impact Subjective Wellbeing in the Military? Sustainability 2020, 12, 10016. [Google Scholar] [CrossRef]
  50. Hair, J.F.; Sarstedt, M.; Ringle, C.M.; Mena, J.A. An assessment of the use of partial least squares structural equation modeling in marketing research. J. Acad. Mark. Sci. 2012, 40, 414–433. [Google Scholar] [CrossRef]
  51. Fox, J. Effect Analysis in Structural Equation Models. Sociol. Methods Res. 1980, 9, 3–28. [Google Scholar] [CrossRef]
  52. Hair, J. Multivariate Data Analysis, 8th ed.; Cengage Learning EMEA: New Hampshire, UK, 2019; ISBN 9781473756540. [Google Scholar]
  53. Bentler, P.M.; Bonett, D.G. Significance tests and goodness of fit in the analysis of covariance structures. Psychol. Bull. 1980, 88, 588–606. [Google Scholar] [CrossRef]
  54. Enders, C.K.; Bandalos, D.L. The Relative Performance of Full Information Maximum Likelihood Estimation for Missing Data in Structural Equation Models. Struct. Equ. Model. 2001, 8, 430–457. [Google Scholar] [CrossRef]
  55. Bekesiene, S.; Hoskova-Mayerova, S. Automatic Model Building for Binary Logistic Regression by Using SPSS 20 Software. In Proceedings of the 18th Conference on Applied Mathematics APLIMAT 2019 Proceedings, Bratislava, Slovakia, 5–7 February 2019; pp. 31–40. [Google Scholar]
  56. Lei, P.W.; Wu, Q. Introduction to Structural Equation Modeling: Issues and Practical Considerations. Educ. Meas. Issues Pract. 2007, 26, 33–43. [Google Scholar] [CrossRef]
  57. Torkzadeh, G.; Koufteros, X.; Pflughoeft, K. Confirmatory analysis of computer self-efficacy. Struct. Equ. Model. 2003, 10, 263–275. [Google Scholar] [CrossRef]
  58. Fornell, C.; Larcker, D.F. Structural Equation Models with Unobservable Variables and Measurement Error: Algebra and Statistics. J. Mark. Res. 1981, 18, 382–388. [Google Scholar] [CrossRef]
  59. Wang, K.; Xu, Y.; Wang, C.; Tan, M.; Chen, P. A Corrected Goodness-of-Fit Index (CGFI) for Model Evaluation in Structural Equation Modeling. Struct. Equ. Model. 2020, 27, 735–749. [Google Scholar] [CrossRef]
  60. Hancock, G.R.; Nevitt, J. Structural Equation Modeling: A Multidisciplinary Journal Bootstrapping and the Identification of Exogenous Latent Variables within Structural Equation Models; Taylor Francis: Abingdon, UK, 2009. [Google Scholar] [CrossRef]
  61. Browne, M.W.; Cudeck, R. Alternative Ways of Assessing Model Fit. Sociol. Methods Res. 1992, 21, 230–258. [Google Scholar] [CrossRef]
  62. Baron, R.M.; Kenny, D.A. The moderator–mediator variable distinction in social psychological research: Conceptual, strategic, and statistical considerations. J. Personal. Soc. Psychol. 1986, 51, 1173–1182. [Google Scholar] [CrossRef]
Figure 1. The theoretical models: (a) Conceptual model of nepotism aspects expressed as an interaction term with each predictor; (b) Conceptual model of nepotism aspects as a mediating mechanism between negative nepotism and organization functioning.
Figure 1. The theoretical models: (a) Conceptual model of nepotism aspects expressed as an interaction term with each predictor; (b) Conceptual model of nepotism aspects as a mediating mechanism between negative nepotism and organization functioning.
Sustainability 13 01536 g001
Figure 2. Direct path models based on theoretical suppositions of the relational turbulence: (a) Model 1 (χ2 = 3.47 [df = 3, p = 0.325], CFI = 0.996, NFI = 0.972, TLI = 0.967, RMSEA = 0.035, and PCLOSE = 0.467) for H1 and H2, H2a, and H2b clarification; (b) Direct effects Model 2 (χ2 = 4.23 [df = 4, p = 0.615], CFI = 0.996, NFI = 0.998, TLI = 0.999, RMSEA = 0.025, and PCLOSE = 0.867) for H3 explanation.
Figure 2. Direct path models based on theoretical suppositions of the relational turbulence: (a) Model 1 (χ2 = 3.47 [df = 3, p = 0.325], CFI = 0.996, NFI = 0.972, TLI = 0.967, RMSEA = 0.035, and PCLOSE = 0.467) for H1 and H2, H2a, and H2b clarification; (b) Direct effects Model 2 (χ2 = 4.23 [df = 4, p = 0.615], CFI = 0.996, NFI = 0.998, TLI = 0.999, RMSEA = 0.025, and PCLOSE = 0.867) for H3 explanation.
Sustainability 13 01536 g002
Figure 3. Mediation models based on indirect relationship between nepotism features, explaining construct variables and organization functioning: (a) Model 4 mediation model (χ2 = 11.47 [df = 6, p = 0.311], CFI = 0.977, NFI = 0.968, TLI = 0.943, RMSEA = 0.035, and PCLOSE = 0.407) presenting the indirect relationships between nepotism constraints and private sector organizational functioning; (b) Model 5 mediation model (χ2 = 10.37 [df = 6, p = 0.318], CFI = 0.997, NFI = 0.981, TLI = 0.976, RMSEA = 0.034, and PCLOSE = 0.597) presenting the indirect relationships between nepotism constraints and public sector organizational functioning.
Figure 3. Mediation models based on indirect relationship between nepotism features, explaining construct variables and organization functioning: (a) Model 4 mediation model (χ2 = 11.47 [df = 6, p = 0.311], CFI = 0.977, NFI = 0.968, TLI = 0.943, RMSEA = 0.035, and PCLOSE = 0.407) presenting the indirect relationships between nepotism constraints and private sector organizational functioning; (b) Model 5 mediation model (χ2 = 10.37 [df = 6, p = 0.318], CFI = 0.997, NFI = 0.981, TLI = 0.976, RMSEA = 0.034, and PCLOSE = 0.597) presenting the indirect relationships between nepotism constraints and public sector organizational functioning.
Sustainability 13 01536 g003
Table 1. Detailed description of study variables.
Table 1. Detailed description of study variables.
CodeVariable StructureM 1SD 1CA 1FL 1
MANBMANAGER BEHAVIOR15.394.8710.828
MB1In my opinion the lowest level managers are afraid of those staff members who have connections with the top-level managers.3.061.319 0.812
MB2In my opinion managers are not particularly interested in how their relatives or friends perform their job.3.201.188 0.638
MB3The manager of the company is not likely to dismiss or demote his relative (friend) even if he fails to meet the qualification requirements. 2.871.298 0.871
MB4In the organizations where there are many relatives or friends employed, any disagreements within the family become functioning/business problems.3.091.267 0.776
MB5Career success in an organization where there are many relatives or friends of the manager/owner employed is not linked to the employee’s performance.3.161.259 0.737
PONAPOSITIVE NEPOTISM ASPECTS22.347.0970.897
PNA1The relatives/friends of managers feel greater responsibility for their performance.2.831.184 0.680
PNA2The relatives/friends of managers try to do their job better than others so that they would not bring shame to the family.2.791.140 0.774
PNA3The relatives/friends of managers feel greater commitment to the organization than other employees. 2.821.167 0.719
PNA4The work of relatives in a company where management is handed down from generation to generation is very useful for smooth continuation of operations.2.861.159 0.517
PNA5Employees who are relatives improve communication in a workplace/company.2.771.124 0.751
PNA6Increasing the number of relatives/friends in an organization better affects management processes.2.891.163 0.771
PNA7The presence of relatives/friends in an organization provides favorable working conditions that encourage employees to work successfully and to seek good performance results.2.691.164 0.807
PNA8Promotion of relatives in an organization/company is useful because it unites everyone for work based on common aims and values.2.681.199 0.764
NENANEGATIVE NEPOTISM ASPECTS18.276.1960.887
NNA1Recruitment of employees always depends on the personal connections with the manager.3.031.341 0.572
NNA2In the organizations where relatives/friends of the manager are prioritized, it is difficult to attract and retain specialists who are not relatives.3.061.268 0.787
NNA3Lower-level managers are afraid of those subordinates who have connections with the top-level managers.3.021.231 0.854
NNA4The employee will never get the job that the relative of the manager holds or expects to hold.3.031.297 0.759
NNA5The employee promoted due to his relationships causes harm to the organization.3.071.317 0.845
FSTRCommunication with co-workers causes stress: FEELS STRESSED8.573.6520.803
FS1I think of each word when I communicate with the colleagues who are relatives/friends of the administration.2.921.370 0.952
FS2I always communicate very cautiously with the relatives/friends of managers who work at my organization.2.941.458 0.856
FS3My work results are negatively affected by the fact that the employees who have a family relationship with the manager/owner are valued more.2.701.481 0.515
MIST 2Communication with co-workers causes mistrust: FEELS MISTRUSTED15.435.3550.845
MT1There is mutual mistrust at work between me and the manager’s relative/friend.3.141.338 0.870
MT2I negatively assess the colleague who is the manager’s relative/friend.3.101.420 0.841
MT3The manager’s relative/friend will never gain my trust as the employee.2.971.311 0.883
MT4In my opinion the manager’s relative/friend who works in an organization causes internal conflicts at work.3.231.271 0.800
MT5I would like to have a relative/friend in a high-ranking position at my workplace.2.981.467 0.542
ORGFORGANIZATIONAL FUNCTIONING4.312.2580.819
ORG1How long have you been working for this organization?2.261.420 0.967
ORG2The age of the employee.2.050.997 0.762
1,2 Notes: M—mean; DS—Standard deviation; CA—Cronbach’s Alpha; FL—Factor loadings; N = 352 for all items. 2 Variable MIST was reduced to four items (MT1, MT2, MT3 and MT4) for reasons explained in the text (Section 4.1). Corrected MIST values: M = 12.44; SD = 4.59; CA = 0.881.
Table 2. Convergent and discriminant validity measurement for conceptual model variables.
Table 2. Convergent and discriminant validity measurement for conceptual model variables.
Variables 1Convergent Validity 2Discriminant Validity 3
CACRAVEFSTRMISTMANBPONANENAORGF
FSTR0.8030.8310.6350.797
MIST0.8810.9120.7210.405 **0.849
MANB0.8280.8790.5940.718 **0.564 **0.771
PONA0.8970.8990.530−0.415 **−0.395 **−0.466 **0.728
NENA0.8870.8770.5920.723 **0.484 **0.826 **−0.408 **0.770
ORGF0.8190.8610.758−0.492 **−0.222 **−0.466 **0.358 **−0.478 **0.871
Notes: 1 Variables: FSTR—Communication with co-workers raises stress: Feels Stressed; MIST—Communication with co-workers raises mistrust: Feels Mistrusted; MANB—Manager Behavior; PONA—Positive Nepotism Aspects; NENA—Negative Nepotism Aspects; ORGF—Organizational Functioning. 2 Convergent validity: CA—Cronbach’s alpha; CR—Construct Reliability; AVE—Average Variance Extracted. 3 Discriminant validity: in the correlation matrix: **. Correlation is significant at the 0.01 level (2-tailed); on the diagonal are square roots.
Table 3. Standardized direct, indirect, and total effects for three different models.
Table 3. Standardized direct, indirect, and total effects for three different models.
Model 3 1
(Both Sectors)
Model 4
(Private Sector)
Model 5
(Public Sector)
MANBNENAORGFMANBNENAORGFMANBNENAORGF
DIEINETOEDIEINETOEDIEINETOE
0.620 ***−0.327 ***0.293 ***0.588 ***−0.279 ***0.309 ***0.626 **−0.323 ***0.288 ***
FSTRNENAORGFFSTRNENAORGFFSTRNENAORGF
DIEINETOEDIEINETOEDIEINETOE
0.266 ***−0.141 ***0.125 ***0.257 ***−0.122 ***0.135 ***0.288 **−0.148 ***0.140 ***
MISTNENAORGFMISTNENAORGFMISTNENAORGF
DIEINETOEDIEINETOEDIEINETOE
0.028−0.0150.0130.081−0.0380.048−0.0240.013−0.011
1 Note: Model 3 is presented in Appendix B as Figure A1a. DIE = Direct effect; INE = Indirect effect; TOE = Total effect. FSTR—Communication with co-workers raises stress: Feels Stressed; MIST—Communication with co-workers raises mistrust: Feels Mistrusted; MANB—Manager Behavior; NENA—Negative Nepotism Aspects; ORGF—Organization Functioning. *** Standardized coefficient is significant at the 0.01 level and ** at 0.05 level (2-tailed).
Publisher’s Note: MDPI stays neutral with regard to jurisdictional claims in published maps and institutional affiliations.

Share and Cite

MDPI and ACS Style

Bekesiene, S.; Petrauskaite, A.; Kazlauskaite Markeliene, R. Nepotism and Related Threats to Security and Sustainability of the Country: The Case of Lithuanian Organizations. Sustainability 2021, 13, 1536. https://doi.org/10.3390/su13031536

AMA Style

Bekesiene S, Petrauskaite A, Kazlauskaite Markeliene R. Nepotism and Related Threats to Security and Sustainability of the Country: The Case of Lithuanian Organizations. Sustainability. 2021; 13(3):1536. https://doi.org/10.3390/su13031536

Chicago/Turabian Style

Bekesiene, Svajone, Audrone Petrauskaite, and Rolanda Kazlauskaite Markeliene. 2021. "Nepotism and Related Threats to Security and Sustainability of the Country: The Case of Lithuanian Organizations" Sustainability 13, no. 3: 1536. https://doi.org/10.3390/su13031536

APA Style

Bekesiene, S., Petrauskaite, A., & Kazlauskaite Markeliene, R. (2021). Nepotism and Related Threats to Security and Sustainability of the Country: The Case of Lithuanian Organizations. Sustainability, 13(3), 1536. https://doi.org/10.3390/su13031536

Note that from the first issue of 2016, this journal uses article numbers instead of page numbers. See further details here.

Article Metrics

Back to TopTop