Autonomous Detection System for Non-Hard-Hat Use at Construction Sites Using Sensor Technology
Abstract
1. Introduction
2. Materials and Methods
2.1. Overview of the System Architecture
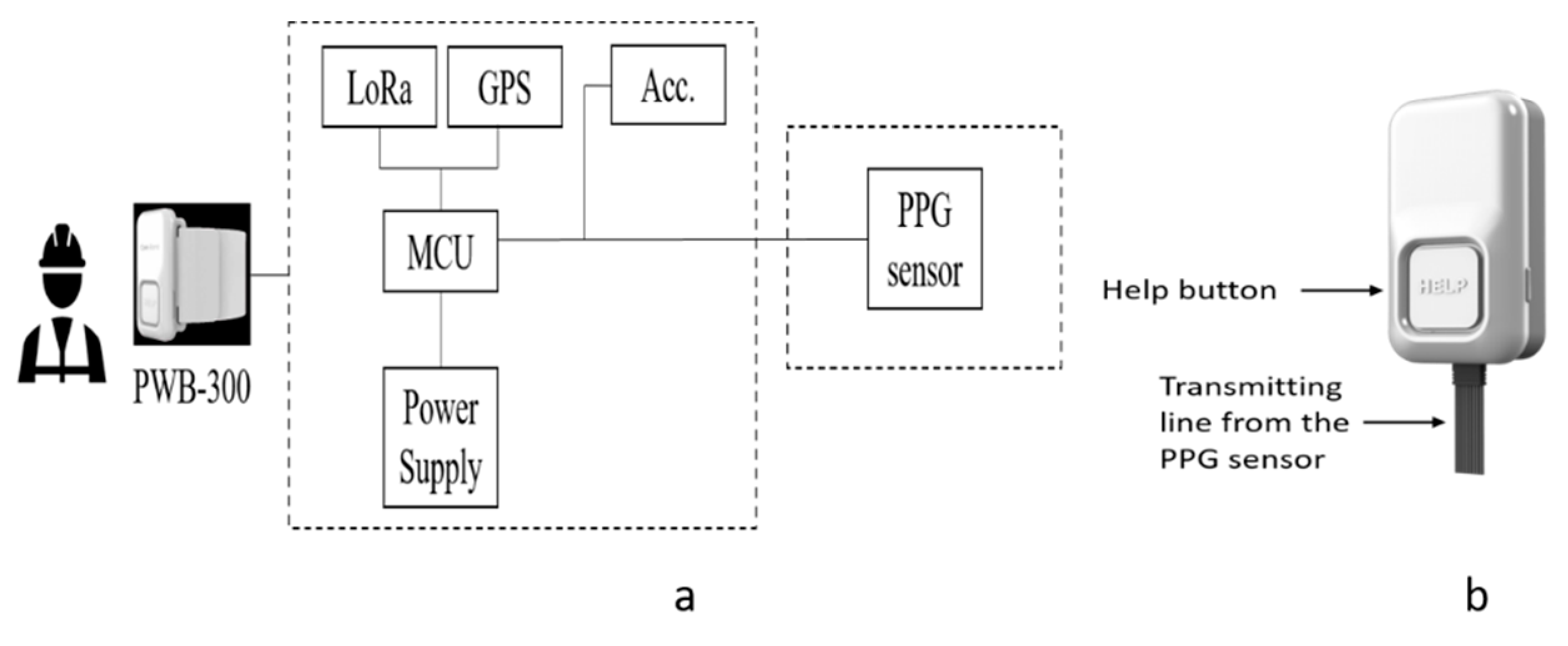
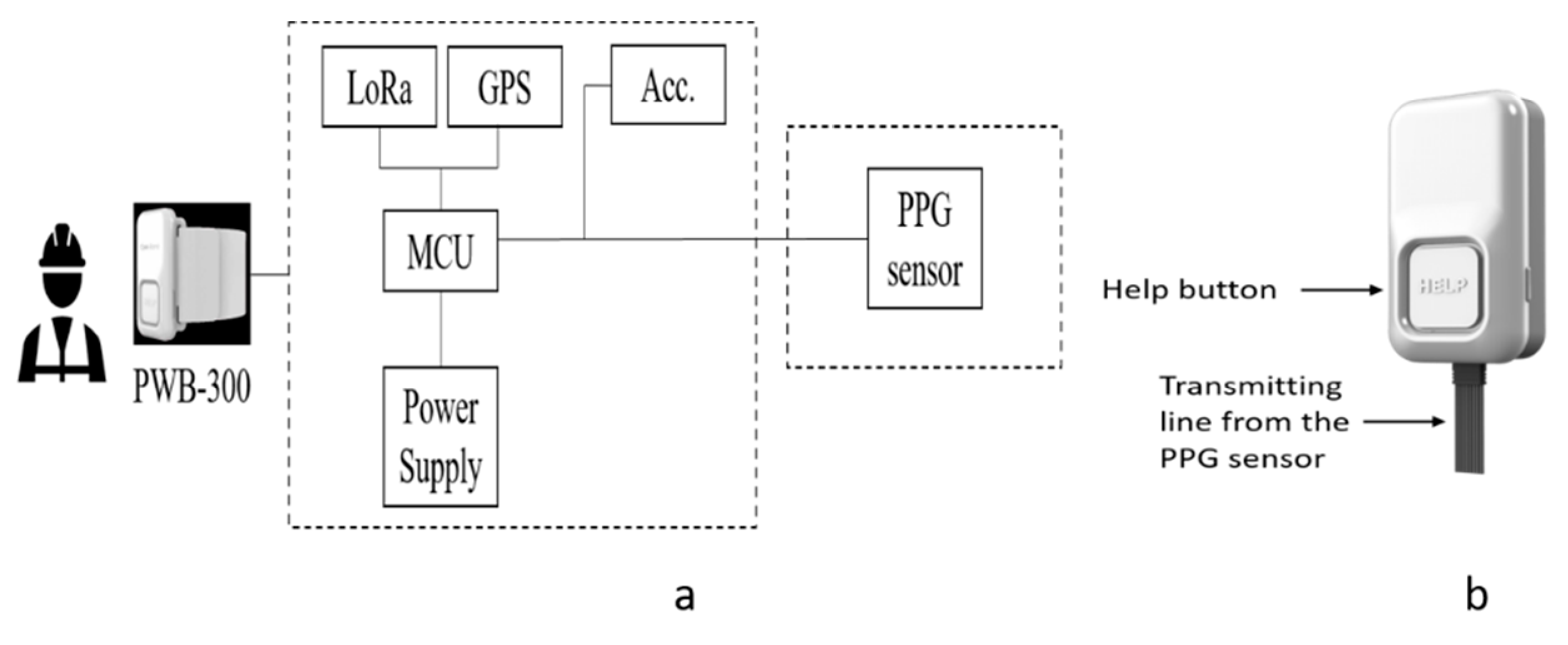
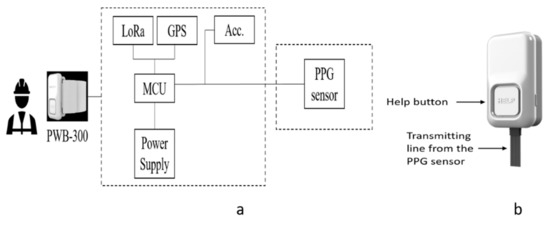
2.2. Hardware Part of the System
2.3. Software Part of the System
Back-End Monitoring Page
- Weather information: Shows the current worksite’s atmospheric conditions by accessing the Korea Meteorological Administration (KMA) via the Internet.
- Status: Shows the list of registered workers on the site along with personal information including identification number, age, work type, blood type, normal heart rate, and hard hat use (Figure 4).
- Details: Shows the individual worker’s transmitted data along with the worker’s current location.
- Registration: A new worker can be registered by the field manager.
- History: Shows the individual’s stored data from the server.
3. Sensor Design and Validation Test
Sensor Signal Filtering Process
4. Discussion
5. Conclusions
Author Contributions
Funding
Institutional Review Board Statement
Informed Consent Statement
Data Availability Statement
Conflicts of Interest
References
- OSHR Institute. Accident Deaths by Industry; OSHR Institute: Seattle, WA, USA, 2020. [Google Scholar]
- Worker Safety Series, Construction. 2005; OSHA 3252-05N 2005. Available online: https://www.osha.gov/Publications/OSHA3252/3252.html (accessed on 18 September 2020).
- Jebelli, H.; Choi, B.; Lee, S. Application of Wearable Biosensors to Construction Sites. II: Assessing Workers’ Physical Demand. J. Constr. Eng. Manag. 2019, 145, 04019080. [Google Scholar] [CrossRef]
- Jebelli, H.; Choi, B.; Lee, S. Application of Wearable Biosensors to Construction Sites. I: Assessing Workers’ Physical Demand. J. Constr. Eng. Manag. 2019, 145, 04019079. [Google Scholar] [CrossRef]
- Antwi-Afari, M.F.; Li, H.; Wong, J.K.-W.; Oladinrin, O.T.; Ge, J.X.; Seo, J.; Wong, A.Y.L. Sensing and warning-based technology applications to improve occupational health and safety in the construction industry. Eng. Constr. Archit. Manag. 2019, 26, 1534–1552. [Google Scholar] [CrossRef]
- Lunde, L.K.; Koch, M.; Veiersted, K.B.; Moen, G.H.; Waersted, M.; Knardahl, S. Heavy Physical Work: Cardiovascular Load in Male Construction Workers. Int. J. Environ. Res. Public Health 2016, 13, 356. [Google Scholar] [CrossRef] [PubMed]
- Lee, H.S.; Lee, K.P.; Park, M.; Baek, Y.; Lee, S. RFID-Based Real-Time Locating System for Construction Safety Management. J. Comput. Civ. Eng. 2012, 26, 366–377. [Google Scholar] [CrossRef]
- Gómez-de-Gabriel, J.M.; Fernández-Madrigal, J.A.; López-Arquillos, A.; Rubio-Romero, J.C. Monitoring harness use in construction with BLE beacons. Measurement 2019, 131, 329–340. [Google Scholar] [CrossRef]
- Chi, C.F.; Chang, T.C.; Ting, H.I. Accident patterns and prevention measures for fatal occupational falls in the construction industry. Appl. Ergon. 2005, 36, 391–400. [Google Scholar] [CrossRef]
- Dong, X.S.; Wang, X.; Largay, J.A.; Platner, J.W.; Stafford, E.; Cain, C.T.; Choi, S.D. Fatal falls in the U.S. residential construction industry. J. Ind. Med. 2014, 57, 992–1000. [Google Scholar] [CrossRef] [PubMed]
- Dumrak, J.; Mostafa, S.; Kamardeen, I.; Rameezdeen, R. Factors associated with the severity of construction accidents: The case of South Australia. Constr. Econ. Build. 2013, 13, 32–49. [Google Scholar] [CrossRef]
- Kim, S.H.; Wang, C.; Min, S.D.; Lee, S.H. Safety Helmet Wearing Management System for Construction Workers Using Three-Axis Accelerometer Sensor. Appl. Sci. 2018, 8, 2400. [Google Scholar] [CrossRef]
- Konda, S.; Tiesman, H.M.; Reichard, A.A. Fatal traumatic brain injuries in the construction industry, 2003–2010. Am. J. Ind. Med. 2016, 59, 212–220. [Google Scholar] [CrossRef] [PubMed]
- Jeong, B.Y. Occupational deaths and injuries in the construction industry. Appl. Ergon. 1998, 29, 355–360. [Google Scholar] [CrossRef]
- Hulme, A.; Mills, N.J.; Gilchrist, A. Industrial head injuries and the performance of helmets. In Proceedings of the IRCOBI Conference, Brunnen, Switzerland, 13–15 September 1995. [Google Scholar]
- S.U.I. Center. Intensive Crackdown on Non-Compliance with Safety Measures/Rules, Commissioned by the Ministry of Employment and Labor to Impose Fines; S.U.I. Center: Seoul, Korea, 2017. [Google Scholar]
- Top 10 Most Frequently Cited Standards. 2019. Available online: https://www.osha.gov/top10citedstandards (accessed on 2 October 2020).
- Ahn, Y.S.; Bena, J.F.; Bailer, A.J. Comparison of unintentional fatal occupational injuries in the Republic of Korea and the United States. Inj. Prev. 2004, 10, 199–205. [Google Scholar] [CrossRef] [PubMed]
- Wong, T.K.M.; Man, S.S.; Chan, A.H.S. Critical factors for the use or non-use of personal protective equipment amongst construction workers. Saf. Sci. 2020, 126, 104663. [Google Scholar] [CrossRef]
- Kelm, A.; Laußat, L.; Meins-Becker, A.; Platz, D.; Khazaee, M.J.; Costin, A.M.; Helmus, M.; Teizer, J. Mobile passive Radio Frequency Identification (RFID) portal for automated and rapid control of Personal Protective Equipment (PPE) on construction sites. Autom. Constr. 2013, 36, 38–52. [Google Scholar] [CrossRef]
- Mneymneh, B.E.; Abbas, M.; Khoury, H. Vision-Based Framework for Intelligent Monitoring of Hardhat Wearing on Construction Sites. J. Comput. Civ. Eng. 2019, 33, 04018066. [Google Scholar] [CrossRef]
- Nath, N.D.; Behzadan, A.H.; Paal, S.G. Deep learning for site safety: Real-time detection of personal protective equipment. Autom. Constr. 2020, 112, 103085. [Google Scholar] [CrossRef]
- Zhang, H.; Yan, X.; Li, H.; Jin, R.; Fu, H. Real-Time Alarming, Monitoring, and Locating for Non-Hard-Hat Use in Construction. J. Constr. Eng. Manag. 2019, 145, 04019006. [Google Scholar] [CrossRef]
- Park, M.-W.; Elsafty, N.; Zhu, Z. Hardhat-Wearing Detection for Enhancing On-Site Safety of Construction Workers. J. Constr. Eng. Manag. 2015, 141, 04015024. [Google Scholar] [CrossRef]
- Mneymneh, B.E.; Abbas, M.; Khoury, H. Automated Hardhat Detection for Construction Safety Applications. Proc. Eng. 2017, 196, 895–902. [Google Scholar] [CrossRef]
- Fang, Q.; Li, H.; Luo, X.; Ding, L.; Luo, H.; Rose, M.T.; An, W. Detecting non-hardhat-use by a deep learning method from far-field surveillance videos. Autom. Constr. 2018, 85, 1–9. [Google Scholar] [CrossRef]
- Wu, H.; Zhao, J. An intelligent vision-based approach for helmet identification for work safety. Comput. Ind. 2018, 100, 267–277. [Google Scholar] [CrossRef]
- Kim, H.; Kim, H.; Hong, Y.W.; Byun, H. Detecting Construction Equipment Using a Region-Based Fully Convolutional Network and Transfer Learning. J. Comput. Civ. Eng. 2018, 32, 04017082. [Google Scholar] [CrossRef]
- Yang, J.; Cheng, T.; Teizer, J.; Vela, P.A.; Shi, Z.K. A performance evaluation of vision and radio frequency tracking methods for interacting workforce. Adv. Eng. Inform. 2011, 25, 736–747. [Google Scholar] [CrossRef]
- Yan, X.; Li, H.; Wang, C.; Seo, J.; Zhang, H.; Wang, H. Development of ergonomic posture recognition technique based on 2D ordinary camera for construction hazard prevention through view-invariant features in 2D skeleton motion. Adv. Eng. Inform. 2017, 34, 152–163. [Google Scholar] [CrossRef]
- Costin, A.; Pradhananga, N.; Teizer, J. Leveraging passive RFID technology for construction resource field mobility and status monitoring in a high-rise renovation project. Autom. Constr. 2012, 24, 1–15. [Google Scholar] [CrossRef]
- Barro-Torres, S.; Tiago, M.; Carames, F.; Perez-Iglesias, H.; Escudero, C. Real-time personal protective equipment monitoring system. Comput. Commun. 2012, 36, 42–50. [Google Scholar] [CrossRef]
- Partron Product Page. Available online: http://partron.co.kr/?construct=productList&fz=product&pNo=18&realNo=520&location=25&menuType=dir (accessed on 18 September 2020).
- B.S. Institution. Specification for Industrial Safety Helmets; B.S. Institution: London, UK, 1995. [Google Scholar]
- Fung, I.W.H.; Lee, Y.Y.; Tam, V.W.Y.; Fung, H.W. A feasibility study of introducing chin straps of safety helmets as a statutory requirement in Hong Kong construction industry. Saf. Sci. 2014, 65, 70–78. [Google Scholar] [CrossRef]
- Gellish, R.L.; Goslin, B.R.; Olson, R.E.; McDonald, A.; Russi, G.D.; Moudgil, V.K. Longitudinal modeling of the relationship between age and maximal heart rate. Med. Sci. Sports Exerc. 2007, 39, 822–829. [Google Scholar] [CrossRef]
- She, J.; Nakamura, H.; Makino, K.; Ohyama, Y.; Hashimoto, H. Selection of suitable maximum-heart-rate formulas for use with Karvonen formula to calculate exercise intensity. Int. J. Autom. Comput. 2014, 12, 62–69. [Google Scholar] [CrossRef]
- Perez-Terzic, C.M. Exercise in cardiovascular diseases. PM&R 2012, 4, 867–873. [Google Scholar] [CrossRef] [PubMed]
- Raza, U.; Kulkarni, P.; Sooriyabandara, M. Low Power Wide Area Networks: An Overview. IEEE Commun. Surv. Tutor. 2017, 19, 855–873. [Google Scholar] [CrossRef]
- Ram, M.R.; Madhav, K.V.; Krishna, E.H.; Komalla, N.R.; Sivani, K.; Reddy, K.A. ICA-Based Improved DTCWT Technique for MA Reduction in PPG Signals with Restored Respiratory Information. IEEE Trans. Instrum. Meas. 2013, 62, 2639–2651. [Google Scholar] [CrossRef]
- Kanan, R.; Elhassan, O.; Bensalem, R. An IoT-based autonomous system for workers’ safety in construction sites with real-time alarming, monitoring, and positioning strategies. Autom. Constr. 2018, 88, 73–86. [Google Scholar] [CrossRef]
- Awolusi, I.; Marks, E.; Hallowell, M. Wearable technology for personalized construction safety monitoring and trending: Review of applicable devices. Autom. Constr. 2018, 85, 96–106. [Google Scholar] [CrossRef]
- Li, H.; Li, X.; Luo, X.; Siebert, J. Investigation of the causality patterns of non-helmet use behavior of construction workers. Autom. Constr. 2017, 80, 95–103. [Google Scholar] [CrossRef]









| Specification | Value |
|---|---|
| Model | SX1276 (Semtech Corp, Camarillo, CA, USA) |
| Band | 920–925 MHz |
| Data rate | 0.18–37.5 kbps |
| Range | 5 km (urban); 15 km (rural) |
| Bandwidth | 7.8–500 kHz |
| Sensitivity | −111 to −148 dBm |
| Items | Details |
|---|---|
| Server | Lenovo SR530 (Lenovo, Beijing, China) CPU: Xeon Silver 4208 8 core 85 W 2.1 GHz (Intel, Santa Clara, CA, USA) RAM: 16 GB (1 × 16 GB) Single × 4 DDR4-2933 (Hewlett Packard Enterprise, San Jose, CA, USA) HDD: 300 GB SAS 10 K 12 Gb *2 ea (Hewlett Packard Enterprise, San Jose, CA, USA) |
| Spectrum | 10 Mbps (1 Gbps Uplink) |
| OS | Server, OS, DB Windows (IIS + MSSQL) |
| Sensor Type/Location | 1 (Day) | 2 | 3 | 4 | 5 | 6 | 7 | 8 | 9 | 10 | 11 | 12 | 13 | 14 | 15 | Daily Avg in Min (Error Rate) |
|---|---|---|---|---|---|---|---|---|---|---|---|---|---|---|---|---|
| Type A/B | 18 (min) | 15 | 11 | 17 | 13 | 18 | 8 | 22 | 25 | 19 | 27 | 8 | 23 | 22 | 10 | 17.07 (9.48%) |
| Type A/A | 13 | 17 | 11 | 16 | 26 | 20 | 15 | 8 | 24 | 25 | 12 | 10 | 21 | 18 | 13 | 16.0 (8.89%) |
| Type B/B | 22 | 26 | 24 | 28 | 16 | 24 | 20 | 18 | 14 | 33 | 24 | 25 | 23 | 20 | 17 | 22.27 (12.37%) |
| Type B/A | 24 | 28 | 14 | 16 | 20 | 11 | 31 | 25 | 14 | 27 | 22 | 18 | 23 | 33 | 15 | 21.4 (11.89%) |
| Type C/B | 0 | 1 | 1 | 0 | 0 | 0 | 1 | 0 | 0 | 0 | 0 | 0 | 0 | 0 | 0 | 0.2 (1.67%) |
| Type C/A | 0 | 0 | 0 | 0 | 0 | 0 | 1 | 0 | 0 | 0 | 0 | 0 | 0 | 0 | 0 | 0.07 (0.56%) |
Publisher’s Note: MDPI stays neutral with regard to jurisdictional claims in published maps and institutional affiliations. |
© 2021 by the authors. Licensee MDPI, Basel, Switzerland. This article is an open access article distributed under the terms and conditions of the Creative Commons Attribution (CC BY) license (http://creativecommons.org/licenses/by/4.0/).
Share and Cite
Kim, J.H.; Jo, B.W.; Jo, J.H.; Lee, Y.S.; Kim, D.K. Autonomous Detection System for Non-Hard-Hat Use at Construction Sites Using Sensor Technology. Sustainability 2021, 13, 1102. https://doi.org/10.3390/su13031102
Kim JH, Jo BW, Jo JH, Lee YS, Kim DK. Autonomous Detection System for Non-Hard-Hat Use at Construction Sites Using Sensor Technology. Sustainability. 2021; 13(3):1102. https://doi.org/10.3390/su13031102
Chicago/Turabian StyleKim, Jung Hoon, Byung Wan Jo, Jun Ho Jo, Yun Sung Lee, and Do Keun Kim. 2021. "Autonomous Detection System for Non-Hard-Hat Use at Construction Sites Using Sensor Technology" Sustainability 13, no. 3: 1102. https://doi.org/10.3390/su13031102
APA StyleKim, J. H., Jo, B. W., Jo, J. H., Lee, Y. S., & Kim, D. K. (2021). Autonomous Detection System for Non-Hard-Hat Use at Construction Sites Using Sensor Technology. Sustainability, 13(3), 1102. https://doi.org/10.3390/su13031102

