Development of a Mobile Module-Based Wind Tunnel for the Determination of Collection Efficiencies of Particulate Matter on Surface Structures
Abstract
1. Introduction
2. Methods
2.1. Step 1: Analysis of Documented WTs and Definition of Requirements for the WT
2.2. Step 2: Planning and Building the WT
2.3. Step 3: Verification of the Performance and Functionality of the Developed WT
2.3.1. Quality Assurance with Regard to PM Measurement Data
2.3.2. Calculation of the Flow Characteristics Inside the WT
3. Results
3.1. Evaluation of WTs from the Literature and a Definition of the Requirements Placed on the Design of a WT (Step 1)
- To ensure transportability, the overall construction should not exceed the external dimensions of 5 m × 2.5 m × 2 m;
- The WT should be dismountable into individual segments that do not exceed a width of 0.8 m in order to fit through doors;
- A division of the WT must include a pre- and post-condition zone, as well as a measuring section;
- An exchangeable test section of the specimens should be at least one square meter with vertical surfaces;
- The material should not be metallic or electrostatically chargeable;
- The wind flow should be up to a maximum of 2.5 m s−1–3.0 m s−1;
- The angle of inflow of the test section should be approximately 90° to the sensor position
- To check the prevailing climatic conditions, the WT must be able to measure temperature, humidity, flow direction and flow speed;
- To ensure plant growth, growth lamps must be installed;
- Input and output variables (mass and number concentrations) of PM must be measurable.
3.2. Used Materials, Technical Components and the Construction of the WT (Step 2)
3.2.1. Building Materials
3.2.2. Technical Installations and Measuring Equipment
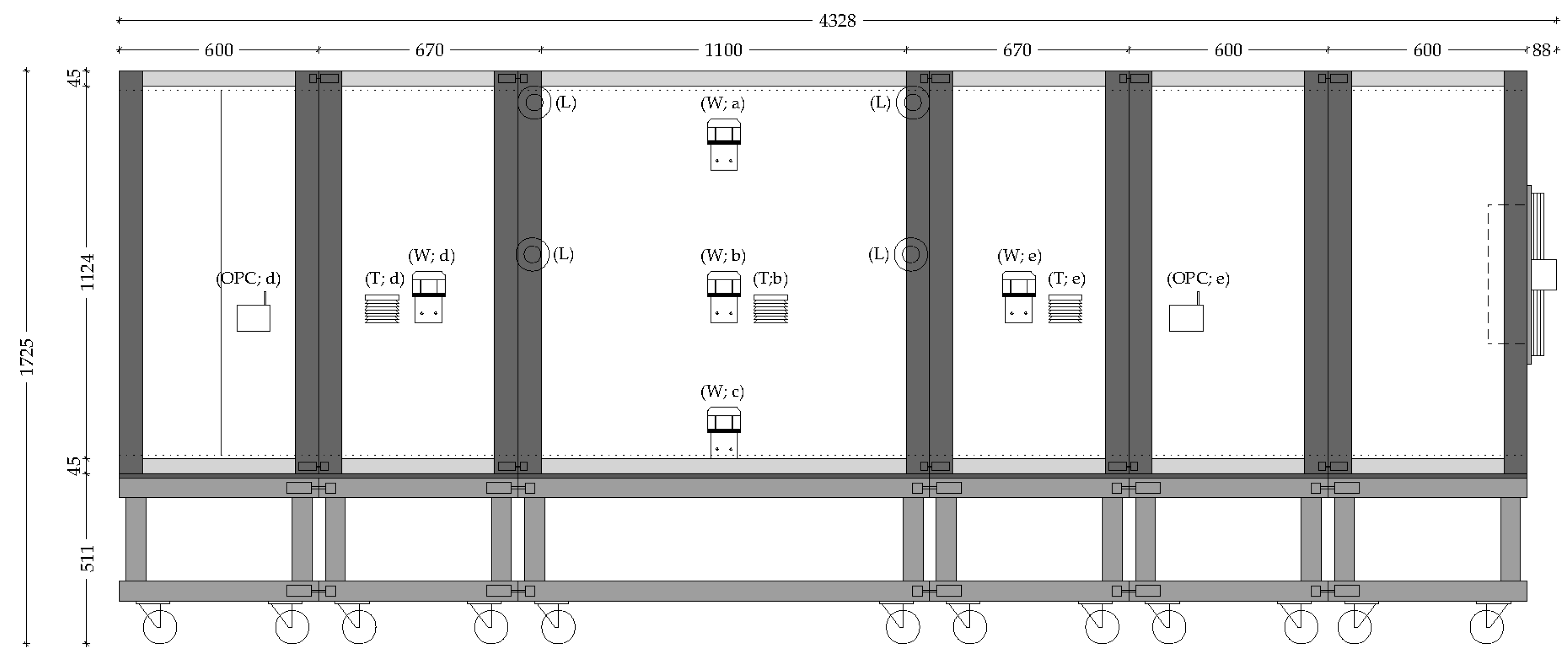
3.2.3. The Dimensions and Main Features of the Wind Tunnel Construction
3.2.4. Construction Details
3.2.5. Sensor Positions
3.2.6. Wind Tunnel Characteristics
3.3. Results of the Functionality of the WT and Properties Calculated from It (Step 3)
3.3.1. Results of Atmospheric Parameters with a Smooth Vertical Surface
3.3.2. Results of the Flow Characteristics Inside the WT
3.3.3. Results of the OPC Measurements with a Smooth Vertical Surface Installed
4. Discussion
5. Conclusions
Author Contributions
Funding
Institutional Review Board Statement
Informed Consent Statement
Acknowledgments
Conflicts of Interest
References
- European Environment Agency. Air Quality in Europe—2020 Report; EEA Report; No 9/2020; European Environment Agency: Copenhagen, Denmark, 2020; ISBN 9789294802927. [Google Scholar]
- Kampa, M.; Castanas, E. Human health effects of air pollution. Environ. Pollut. 2008, 151, 362–367. [Google Scholar] [CrossRef]
- World Health Organization. Health Effects of Particulate Matter; WHO Regional Office for Europe: Copenhagen, Denmark, 2013; Volume 91, pp. 106–113. [Google Scholar] [CrossRef]
- Kiesewetter, G.; Schoepp, W.; Heyes, C.; Amann, M. Modelling PM2.5 impact indicators in Europe: Health effects and legal compliance. Environ. Model. Softw. 2015, 74, 201–211. [Google Scholar] [CrossRef]
- Przybysz, A.; Nersisyan, G.; Gawroński, S.W. Removal of particulate matter and trace elements from ambient air by urban greenery in the winter season. Environ. Sci. Pollut. Res. 2019, 26, 473–482. [Google Scholar] [CrossRef] [PubMed]
- Wania, A.; Bruse, M.; Blond, N.; Weber, C. Analysing the influence of different street vegetation on traffic-induced particle dispersion using microscale simulations. J. Environ. Manag. 2012, 94, 91–101. [Google Scholar] [CrossRef] [PubMed]
- Xing, Y.; Brimblecombe, P. Role of vegetation in deposition and dispersion of air pollution in urban parks. Atmos. Environ. 2019, 201, 73–83. [Google Scholar] [CrossRef]
- Abhijith, K.V.; Kumar, P.; Gallagher, J.; McNabola, A.; Baldauf, R.; Pilla, F.; Broderick, B.; Di Sabatino, S.; Pulvirenti, B. Air pollution abatement performances of green infrastructure in open road and built-up street canyon environments—A review. Atmos. Environ. 2017, 162, 71–86. [Google Scholar] [CrossRef]
- Marando, F.; Salvatori, E.; Fusaro, L.; Manes, F. Removal of PM10 by forests as a nature-based solution for air quality improvement in the Metropolitan city of rome. Forests 2016, 7, 150. [Google Scholar] [CrossRef]
- Irga, P.J.; Paull, N.J.; Abdo, P.; Torpy, F.R. An assessment of the atmospheric particle removal efficiency of an in-room botanical biofilter system. Build. Environ. 2017, 115, 281–290. [Google Scholar] [CrossRef]
- Gopalakrishnan, V.; Ziv, G.; Hirabayashi, S.; Bakshi, B.R. Nature-Based Solutions Can Compete with Technology for Mitigating Air Emissions across the United States. Environ. Sci. Technol. 2019, 53, 13228–13237. [Google Scholar] [CrossRef]
- Cattafesta, L.; Bahr, C.; Mathew, J. Fundamentals of Wind-Tunnel Design. Encycl. Aerosp. Eng. 2010, 1–10. [Google Scholar] [CrossRef]
- Zhang, J.; Li, J.; Li, A.; Wang, Y.; Chen, W. Study on Motion and Deposition of Particles in a Wind Tunnel. Procedia Eng. 2015, 121, 450–458. [Google Scholar] [CrossRef][Green Version]
- Sippola, M.R.; Nazaroff, W.W. Particle Deposition from Turbulent Flow: Review of Published Research and Its Applicability to Ventilation Ducts in Commercial Buildings. Lawrence Berkeley National Laboratory, LBNL 51432. 2020. Available online: https://escholarship.org/uc/item/9cg365f5 (accessed on 23 March 2021).
- Dai, W.; Davidson, C.I.; Etyemezian, V.; Zufall, M. Wind tunnel studies of particle transport and deposition in turbulent boundary flows. Aerosol Sci. Technol. 2001, 35, 887–898. [Google Scholar] [CrossRef]
- Lu, H.; Wang, Y. Particle deposition in ventilation ducts: A review. Build. Simul. 2019, 12, 723–734. [Google Scholar] [CrossRef]
- Roupsard, P.; Amielh, M.; Maro, D.; Coppalle, A.; Branger, H.; Connan, O.; Laguionie, P.; Hebert, D.; Talbaut, M. Measurement in a wind tunnel of dry deposition velocities of submicron aerosol with associated turbulence onto rough and smooth urban surfaces. J. Aerosol Sci. 2013, 55, 12–24. [Google Scholar] [CrossRef]
- Jiang, H.; Lu, L.; Sun, K. Simulation of particle deposition in ventilation duct with a particle-wall impact model. Build. Environ. 2010, 45, 1184–1191. [Google Scholar] [CrossRef]
- White, M. Frank Fluid Mechanics, 7th ed.; McGraw-Hill: New York, NY, USA, 1979; ISBN 978-0-07-352934-9. [Google Scholar]
- Mckenna Neuman, C.; Maljaars, M. Wind tunnel measurement of boundary-layer response to sediment transport. Boundary-Layer Meteorol. 1997, 84, 67–83. [Google Scholar] [CrossRef]
- Richards-Thomas, T.; McKenna-Neuman, C. Wind Tunnel-Based Comparison of PM10 Emission Rates for Volcanic Ash and Glaciogenic Aerosol Sources Within Iceland. J. Geophys. Res. Atmos. 2020, 125, 1–18. [Google Scholar] [CrossRef]
- Preston, C.A.; McKenna Neuman, C.; Boulton, J.W. A wind tunnel and field evaluation of various dust suppressants. J. Air Waste Manag. Assoc. 2020, 70, 915–931. [Google Scholar] [CrossRef]
- Katra, I. Comparison of diverse dust control products in wind-induced dust emission from unpaved roads. Appl. Sci. 2019, 9, 5204. [Google Scholar] [CrossRef]
- Katra, I.; Elperin, T.; Fominykh, A.; Krasovitov, B.; Yizhaq, H. Modeling of particulate matter transport in atmospheric boundary layer following dust emission from source areas. Aeolian Res. 2016, 20, 147–156. [Google Scholar] [CrossRef]
- Franco, A.; Fernández-Cañero, R.; Pérez-Urrestarazu, L.; Valera, D.L. Wind tunnel analysis of artificial substrates used in active living walls for indoor environment conditioning in Mediterranean buildings. Build. Environ. 2012, 51, 370–378. [Google Scholar] [CrossRef]
- Valera, D.L.; Álvarez, A.J.; Molina, F. Aerodynamic analysis of several insect-proof screens used in greenhouses. Span. J. Agric. Res. 2006, 4, 273–279. [Google Scholar] [CrossRef]
- Mahmoodabadi, M.; Zamani, S.; Yazdanpanah, N. Enrichment of soil organic carbon in the eroded sediments due to the simultaneous occurrence of rain and wind. Geoderma 2021, 386, 114926. [Google Scholar] [CrossRef]
- Kheirabadi, H.; Mahmoodabadi, M.; Jalali, V.; Naghavi, H. Sediment flux, wind erosion and net erosion influenced by soil bed length, wind velocity and aggregate size distribution. Geoderma 2018, 323, 22–30. [Google Scholar] [CrossRef]
- Trent Wind Tunnel Laboratory TEWT. Available online: https://sites.google.com/view/tewt-at-trent/home (accessed on 23 March 2021).
- Rovelli, S.; Cattaneo, A.; Borghi, F.; Spinazzè, A.; Campagnolo, D.; Limbeck, A.; Cavallo, D.M. Mass concentration and size-distribution of atmospheric particulate matter in an urban environment. Aerosol Air Qual. Res. 2017, 17, 1142–1155. [Google Scholar] [CrossRef]
- Spangl, W.; Nagl, C. Jahresbericht der Luftgütemessungen in Österreich 2014; Umweltbundesamt GmbH: Vienna, Austria, 2015; ISBN 9783990041864. [Google Scholar]
- Cassee, F.R.; Morawska, L.; Peters, A. Ambient Ultrafine Particles: Evidence for Policy Makers; “White Paper”; Bilthoven, The Netherlands, 2019; Available online: https://www.researchgate.net/publication/337111816_Ambient_ultrafine_particles_evidence_for_policy_makers_A_report_prepared_by_the_%27Thinking_outside_the_box%27_team (accessed on 23 March 2021).
- Ji, W.; Zhao, B. A wind tunnel study on the effect of trees on PM2.5 distribution around buildings. J. Hazard. Mater. 2018, 346, 36–41. [Google Scholar] [CrossRef] [PubMed]
- Price, T.A.; Stoll, R.; Veranth, J.M.; Pardyjak, E.R. A wind-tunnel study of the effect of turbulence on PM10 deposition onto vegetation. Atmos. Environ. 2017, 159, 117–125. [Google Scholar] [CrossRef]
- Emeis, S.; Baumann-stanzer, K.; Piringer, M.; Kallistratova, M.; Kouznetsov, R.; Yushkov, V. Wind and turbulence in the urban boundary layer—Analysis from acoustic remote sensing data and fit to analytical relations. Meteorol. Z. 2007, 16, 393–406. [Google Scholar] [CrossRef]
- Mo, Z.; Liu, C.H. Wind tunnel measurements of turbulent boundary layer flows over arrays of ribs and cubes. Geosci. Lett. 2018, 5, 1–10. [Google Scholar] [CrossRef]
- Vardoulakis, S.; Fisher, B.E.; Pericleous, K.; Gonzalez-Flesca, N. Modelling air quality in street canyons: A review. Atmos. Environ. 2014, 37, 155–182. [Google Scholar] [CrossRef]
- Chew, L.W.; Aliabadi, A.A.; Norford, L.K. Flows across high aspect ratio street canyons: Reynolds number independence revisited. Environ. Fluid Mech. 2018, 18, 1275–1291. [Google Scholar] [CrossRef]
- Baik, J.J.; Park, R.S.; Chun, H.Y.; Kim, J.J. A laboratory model of urban street-canyon flows. J. Appl. Meteorol. 2000, 39, 1592–1600. [Google Scholar] [CrossRef]







| Name/Publication | Length | Cross-Section | Flow Speeds Used | Areas of Application |
|---|---|---|---|---|
| Trent Environmental Wind Tunnel (TEWT)/McKenna et al.; Richards T. et al. and Preston et al. [20,21,22] | 12.5 m | 0.54 m2 | up to 12 m s−1 | Dust emission, physics of particle transport, air quality, wind erosion, climatic effects |
| Aeolian Simulation Laboratory (BGU)/Katra et al. [23,24] | 10 m | 0.25 m2 | up to 18 m s−1 | Dust emission, wind erosion, particulate matter on surfaces |
| Franco et al. and Valera et al. [25,26] | 4.74 m | 0.38 m2 | up to 10 m s−1 | Evaporative cooling, substrate analysis, agro-textiles |
| IRPHE/Roupsard et al. [17] | 8.65 m | 0.17 m2 | up to 9.9 m s−1 | Submicron aerosol deposition on urban surfaces, vertical measurements |
| Simultaneous Water and Wind Erosion Simulator (SWWES)/Mahmoodabadi et al. and Kheirabadi et al. [27,28] | 12 m | 0.64 m2 | upt to 30 m s−1 | Sediment transport, simulation of rain and wind |
| Name | Material/Details | l (mm) | w (mm) | h (mm) |
|---|---|---|---|---|
| solid structural timber | spruce/fir | various | 45 60 | 70 100 |
| screen-printing plate | birch (phenolic resin coating) | various | various | 12 |
| swivel castor | wheel diameter 100 mm; wheel width 30 mm | 102 (mounting plate) | 83 (mounting plate) | 129 |
| tension locks | stainless steel | 75 | 26.5 | 16.5 |
| Fan Speed Level | Flow Direction Pre-Conditioning Zone [°] * | Flow Direction Post-Conditioning Zone [°] * | Flow Speed Pre-Conditioning Zone [m s−1] | Flow Speed Post-Conditioning Zone [m s−1] |
|---|---|---|---|---|
| Low (t = 60′) | 81.30 (SD = 3.89) (d) | 85.05 (SD = 2.12) (e) | 0.68 (SD = 0.05) (d) | 0.57 (SD = 0.03) (e) |
| Medium (t = 35′) | 84.66 (SD = 2.14) (d) | 83.51 (SD = 2.19) (e) | 1.51 (SD = 0.06) (d) | 1.28 (SD = 0.04) (e) |
| High (t = 25′) | 86.68 (SD = 1.95) (d) | 83.48 (SD = 1.29) (e) | 3.11 (SD = 0.38) (d) | 2.66 (SD = 0.33) (e) |
| Fan Speed Level | Temperature Pre-Conditioning Zone [°C] * | Temperature Post-Conditioning Zone [°C] * | Relative Humidity Pre-Conditioning Zone [%] | Relative Humidity Post-Conditioning Zone [%] |
| Low (t = 60′) | 12.07 (SD = 0.65) (d) | 12.20 (SD = 0.76) (e) | 62.17 (SD = 1.65) (d) | 60.93 (SD f= 2.06) (e) |
| Medium (t = 35′) | 10.28 (SD = 0.14) (d) | 10.20 (SD = 0.20) (e) | 68.12 (SD = 0.95) (d) | 67.64 (SD = 1.22) (e) |
| High (t = 25′) | 10.02 (SD = 0.07) (d) | 9.91 (SD = 0.08) (e) | 70.01 (SD = 0.33) (d) | 69.77 (SD = 0.35) (e) |
| Fan Speed Level | Flow Direction [°] * | Flow Speed [m s−1] | Temperature [°C] | Relative Humidity [%] |
|---|---|---|---|---|
| Low (t = 60′) | 88.38 (SD = 11.3) (a) | 0.30 (SD = 0.08) (a) | 12.11 (SD = 0.62) (b) | 61.61 (SD = 1.55) (b) |
| 79.08 (SD = 4.6) (b) | 0.28 (SD = 0.03) (b) | |||
| 95.58 (SD = 2.3) (c) | 0.58 (SD = 0.03) (c) | |||
| Medium (n = 35′) | 86.66 (SD = 1.54) (a) | 1.06 (SD = 0.06) (a) | 10.32 (SD = 0.17) (b) | 67.44 (SD = 1.08) (b) |
| 92.31 (SD = 1.98) (b) | 1.00 (SD = 0.09) (b) | |||
| 96.20 (SD = 2.00) (c) | 1.19 (SD = 0.06) (c) | |||
| High (n = 25′) | 91.84 (SD = 1.40) (a) | 2.14 (SD = 0.25) (a) | 9.96 (SD = 0.07) (b) | 69.91 (SD = 0.49) (b) |
| 93.92 (SD = 1.22) (b) | 2.21 (SD = 0.24) (b) | |||
| 93.36 (SD = 1.38) (c) | 2.55 (SD = 0.35) (c) |
| PM10 | PM2.5 | PM1 | TC (Dp > 0.25 µm) | ||||||||||
|---|---|---|---|---|---|---|---|---|---|---|---|---|---|
| Mean | Std. Err. | Median | Mean | Std. Err. | Median | Mean | Std. Err. | Median | Mean | Std. Err. | Median | ||
| Fan speed level | (µg m−3) | (µg m−3) | (µg m−3) | (cm−3) | |||||||||
| Low (n = 60) | Input (d) | 40.5 | ±1.6 | 40.3 | 13.1 | ±0.3 | 12.8 | 8.3 | ±0.2 | 7.9 | 102 | ±2.2 | 97 |
| Output (e) | 41.3 | ±1.7 | 40.9 | 13.0 | ±0.3 | 12.6 | 8.1 | ±0.2 | 7.8 | 97 | ±2.2 | 91 | |
| Removal Rate | 0.8% | ±2.7% | 0.6% | 1.2% | ±2.1% | 1.8% | 2.9% | ±2.1% | 2.9% | 5.7% | ±2.2% | 6.4% | |
| Stat. testresult | No sign. diff | No sign. diff. | Sign. diff. | Sign. diff. | |||||||||
| Medium (n = 35) | Input (d) | 44.4 | ±1.8 | 41.2 | 17.3 | ±0.6 | 17.1 | 12.0 | ±0.5 | 11.9 | 156 | ±7.1 | 158 |
| Output (e) | 43.3 | ±1.8 | 43.3 | 16.8 | ±0.6 | 16.6 | 11.6 | ±0.5 | 11.3 | 144 | ±6.7 | 140 | |
| Removal Rate | 5.2% | ±3.0% | 0.4% | 4.6% | ±2.9% | 2.0% | 5.0% | ±2.4% | 2.7% | 9.3% | ±2.0% | 7.7% | |
| Stat. testresult | No sign. diff. | No sign. diff. | Sign. diff. | Sign. diff. | |||||||||
| High (n = 25) | Input (d) | 37.9 | ±2.6 | 37.4 | 18.9 | ±1.0 | 16.9 | 14.9 | ±1.0 | 12.4 | 200 | ±13.8 | 164 |
| Output (e) | 36.6 | ±2.3 | 35.6 | 18.7 | ±1.0 | 18.2 | 14.8 | ±1.0 | 13.1 | 191 | ±13.1 | 170 | |
| Removal Rate | 5.4% | ±3.9% | 5.1% | 2.9% | ±2.1% | 0.9% | 1.9% | ±1.9% | −0.6% | 5.7% | ±1.5% | 5.0% | |
| Stat. testresult | No sign. diff. | No sign. diff. | No sign. diff. | Sign. diff. | |||||||||
Publisher’s Note: MDPI stays neutral with regard to jurisdictional claims in published maps and institutional affiliations. |
© 2021 by the authors. Licensee MDPI, Basel, Switzerland. This article is an open access article distributed under the terms and conditions of the Creative Commons Attribution (CC BY) license (https://creativecommons.org/licenses/by/4.0/).
Share and Cite
Spörl, P.; Göndör, A.; Irrgeher, J.; Prohaska, T.; Trimmel, S.; Capari, L.; Haluza, D.; Scharf, B.; Kasper-Giebl, A.; Pitha, U. Development of a Mobile Module-Based Wind Tunnel for the Determination of Collection Efficiencies of Particulate Matter on Surface Structures. Sustainability 2021, 13, 9565. https://doi.org/10.3390/su13179565
Spörl P, Göndör A, Irrgeher J, Prohaska T, Trimmel S, Capari L, Haluza D, Scharf B, Kasper-Giebl A, Pitha U. Development of a Mobile Module-Based Wind Tunnel for the Determination of Collection Efficiencies of Particulate Matter on Surface Structures. Sustainability. 2021; 13(17):9565. https://doi.org/10.3390/su13179565
Chicago/Turabian StyleSpörl, Philipp, Aron Göndör, Johanna Irrgeher, Thomas Prohaska, Simone Trimmel, Leo Capari, Daniela Haluza, Bernhard Scharf, Anne Kasper-Giebl, and Ulrike Pitha. 2021. "Development of a Mobile Module-Based Wind Tunnel for the Determination of Collection Efficiencies of Particulate Matter on Surface Structures" Sustainability 13, no. 17: 9565. https://doi.org/10.3390/su13179565
APA StyleSpörl, P., Göndör, A., Irrgeher, J., Prohaska, T., Trimmel, S., Capari, L., Haluza, D., Scharf, B., Kasper-Giebl, A., & Pitha, U. (2021). Development of a Mobile Module-Based Wind Tunnel for the Determination of Collection Efficiencies of Particulate Matter on Surface Structures. Sustainability, 13(17), 9565. https://doi.org/10.3390/su13179565

