Abstract
During the COVID-19 pandemic, students have been forced to learn at home. Authentic contexts are essential to designing useful learning activities. Therefore, this study used mobile technology, namely Ubiquitous Geometry (UG), to merge authentic contexts into learning activities and investigate the influence of authentic contextual learning (ACL) on students’ and parents’ perceptions. This is because parents inevitably have an effect on students’ learning at home, which has not been clearly addressed in past studies. This study investigated students’ and parents’ perceptions in terms of technological and pedagogical aspects of the implementation of ACL supported by UG while learning at home. We conducted one experiment on 20 fifth-grade students and their parents. In the students’ acceptance model, the results indicated that students’ ease of use and usefulness significantly influenced their positive attitude toward ACL supported by UG, and the positive attitude also significantly influenced intention to continue using our proposed system in both the technological and pedagogical aspects. In the mutual influence between students’ and parents’ acceptance model, it was found that parents significantly influenced their children’s perceptions of ACL at home. In the mediation analysis, we found parents’ ease of use and intention to use could mediate the relation between students’ positive attitude and intention to use in the pedagogical aspect. From the interview, we found that parents thought that the learning activity in authentic contexts was useful and encouraged their children to do more engagement. However, in the technological aspect of the mutual influence between students’ and parents’ acceptance model, no mediation existed. This might be because parents worried their children were overusing mobile devices.
1. Introduction
The spread of a novel coronavirus (COVID-19) has changed various aspects of human life throughout the world, including education. Education has experienced dramatic changes due to social distancing policies intended to contain the spread of the virus. In Indonesia, the government adopted a distance learning protocol for all educational stages (i.e., playgroup, K−12, higher education) to be implemented in this situation. Thus, the teaching and learning process needs to accommodate teachers and students being physically separated and interacting in a virtual way from their own homes. In such a learning activity, not only the availability of technology but also the cooperation between teachers and parents as control agents become important aspects of the learning process. Teachers lead the learning process because of their expertise, whereas parents play an important role in supporting learners while they learn from home individually.
Past studies revealed that parents’ involvement has a positive effect on students’ learning behavior at home [1,2,3,4]. However, parents’ involvement varies across different student ages [5]. Students in elementary school commonly have high parental involvement. In digital classes, they need their parents or older family members to provide devices, organize learning circumstances, schedule their time, and arrange learning sessions with teachers [6]. Although parents’ involvement is essential, there is a need to design learning at home that maintains students’ independence, which is necessary for cognitive development. For elementary students, involving real-world situations is essential not only to increase their cognitive development and learning motivation [7,8,9], but also to improve their psychomotor skills [10,11].
Authentic contextual learning (ACL) is a learning approach that has been widely implemented in educational research. ACL is designed to facilitate interactions among learners, authentic contexts, and other elements in real-world learning situations [12,13,14]. Accordingly, this learning approach can have great benefits while students are learning at home. Using mobile technology, namely Ubiquitous Geometry (UG), to support ACL, students learn actively by observing and applying geometry concepts in authentic contexts. They find geometrical objects in their surroundings and measure these objects by applying geometry concepts. Moreover, parents can observe and give valuable feedback to their children while doing such activities at home. Regarding the learning activity, parents’ perception of learning activities is a crucial factor that should be considered. Thus, it was found that two major issues were associated with this learning situation. One relates to UG as a technological tool used by students. The other is the students’ and parents’ acceptance of the learning activity in the pedagogical aspect, which concerns how to apply knowledge in the real world. Next, such a learning activity is called a learning activity in authentic contexts.
Therefore, the present study aimed to address these two issues. The relationship between students’ and parents’ acceptance of both the technological and pedagogical aspects is evaluated based on their perception of ease of use, usefulness, positive attitude, and intention to use the mobile device with UG and the learning activity in authentic contexts. Educational implications are discussed based on the relationship between students’ and parents’ acceptance of each aspect.
2. Literature Review
2.1. Authentic Contextual Learning Supported by Mobile Technology
In recent years, there has been widespread research into authentic contextual learning. In the field of situated learning, past studies have indicated that learning should take place under contexts based on real-world applications [9,15,16,17,18]. In this kind of learning activity, students can understand abstract concepts and build their own knowledge. However, findings from previous empirical studies argued that the particular context could significantly impact students’ learning [13,19]. Studies suggested that the contexts should mirror the real world instead of being created purposively [20]; the contexts need to use real objects rather than pictures or virtual objects [12,14,19].
Employing mobile devices with innovative technology (e.g., augmented reality) in learning can help students to explore different authentic contexts in their surroundings. Hence, there is no limitation on where the learning takes place. Students can more efficiently perform their learning in either indoor or outdoor environments. On the other hand, authentic contexts need to be selected and explored carefully. Appropriate authentic contexts can predict the success of students’ learning activities, including the cognitive process. For instance, measuring the area of the wall of the house can help students understand the concepts of area formulas and apply these in the real world.
2.2. Students’ and Parents’ Perceptions of the Use of Mobile Technology in Education
Many studies have addressed the increase in the use of information technology for educational purposes [14,20,21,22]. Mobile technology, which is currently inseparable from everyday life, is one of the renewable technologies that can bring about changes in educational practice [7]. These renewable technologies are supported by sensors, Google applications, and learning management systems, which can incorporate authentic contexts in surroundings with students’ learning activities. Many studies have applied the use of mobile technology in various learning settings, such as museums, gardens, and other places, which has benefits for students [7,14,20]. However, it is not enough to ensure that there are benefits only from the students’ point of view. Parents’ perceptions of the use of technology also need to be considered because parents have an important role in determining how the education of their children proceeds.
Concerning the role of parents in education, research has tried to reveal how mobile technology use by students is affected by parents’ involvement [23,24]. Although parents are familiar with the use of mobile technology, their knowledge about that use in education is less than for other learning media, such as television [25]. Two distinct qualities of parental perception are addressed in the literature. Those are based on parents’ perceptions of the advantageous and disadvantageous effects of mobile applications [16,24,26,27,28,29]. Although they are aware of the potential positive effects, such as enabling knowledge creation [30], increasing engagement [31], and enhancing motivation [9,32], parents are also concerned about the time their children spend on mobile devices, the damaging effects of excessive screen time, and the content they might encounter [27,33].
2.3. Students’ and Parents’ Perceptions of the Use of Authentic Contexts in Learning
The pedagogical approach in realistic mathematics education (RME) suggests that mathematics learning needs to replicate various real situations to help students think in abstract space [34]. Although real situations are important in RME, this approach uses the dual meaning of real situations that are situations happening in the real world (in authentic contexts) and situations happening in students’ imagination [35]. Researchers stated that such learning should be implemented in learning activities that are done in authentic contexts [7,12,13,20]. In the learning activities, students built their knowledge by observation, exploration, and evaluation of real objects or situations [7,12,19,36]. Many successful learning practices involve authentic contexts, for example, using content-based learning in recycling classification [20], applying language skills in English class [14], and measuring and applying geometry concepts in mathematics class [19]. These studies implied that students who practiced more in different authentic contexts had higher learning outcomes and higher cognitive levels.
In addition to self-practice in the school environment, a learning situation where students and their parents do activities together is needed to increase parents’ involvement in their children’s learning process [3,37]. Making parents familiar with the potential benefits of authentic contexts for students’ cognitive development is important in education. In learning with mobile devices, engaging students to learn in different authentic contexts can motivate them to do more practice [28] and reduce the possibilities of wasting time in front of screens. As a result, parents’ perception of the use of mobile devices will be changed in a positive direction. Moreover, parents’ perceptions of ways of learning can be changed if they see that learning happens not only in school but anywhere as long as their children can engage with it.
2.4. Technology Acceptance Model (TAM) from Different Roles
The technology acceptance model (TAM) has been widely used in studies investigating the acceptance of technology implementation in many educational designs. Studies commonly used the expanded and modified TAM to get better information about learners’ or educational practitioners’ perceptions about or willingness to use innovative technologies and to assess the selected purpose, essential features, and design of innovative educational practices [32]. Regarding learning with mobile device support, researchers have examined the influence of students’ social status (e.g., gender, age, and educational level) [38], past experience with information and communication technology [39], and attitude toward the use of mobile devices [40]. However, few studies have investigated the influence of parents’ perceptions on students’ perceptions of the use of mobile devices and learning activities in ACL.
A past study showed that family support influences students’ perceptions of the perceived ease of use and usefulness and their attitude and behavioral intention in terms of the use of innovative mobile device apps in education [40]. The findings imply that family support becomes one of the important factors that can determine the success of implementing innovative mobile device apps for educational purposes [40]. Despite considering both parents’ and students’ perceptions, researchers only considered one side’s perception [26,32,40,41], such as using students’ perceptions to understand the relationship with their parents. Hence, past studies focused on the use of mobile devices [15,23,42]. No study examined both the use of an innovative mobile app and learning activities, especially for ACL.
Therefore, a modified TAM that consists of the original TAM model (including perceived ease of use, perceived usefulness, and intention to use) and positive attitude was implemented in this study to examine students’ and parents’ perceptions. For the technological aspect, the ease of use of mobile devices with UG and its usefulness in learning are important factors when assessing parents’ and students’ perceptions [36]. Furthermore, parents’ and students’ thinking about the attitude and intention of using UG are also assessed. Similarly, students’ and parents’ perceptions of authentic learning activities, such as measuring real objects, are also evaluated by the four mentioned dimensions, e.g., perceived ease of use, perceived usefulness, intention to use, and positive attitude, to investigate the pedagogical aspect of ACL supported with UG.
2.5. The Context of This Study
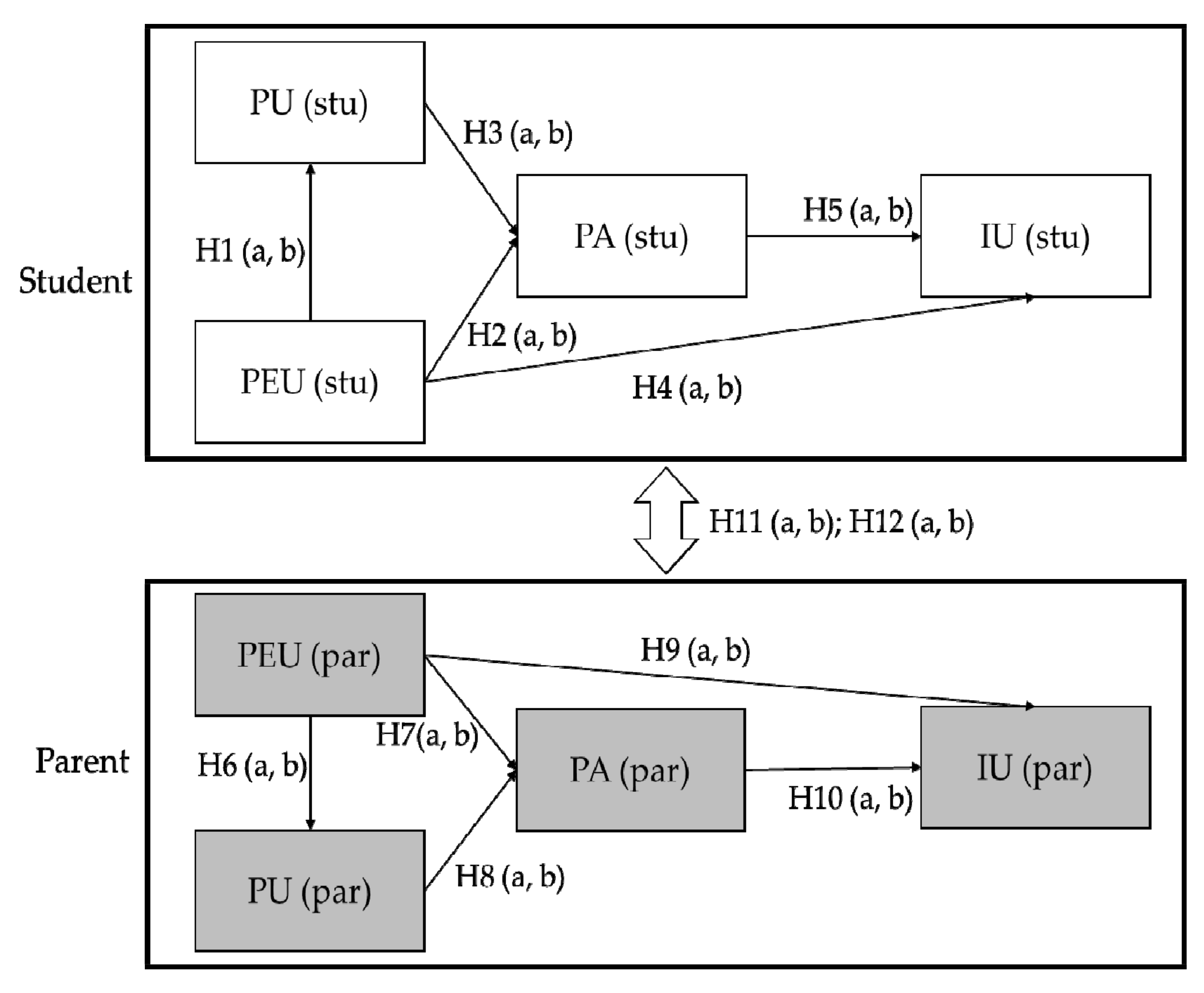
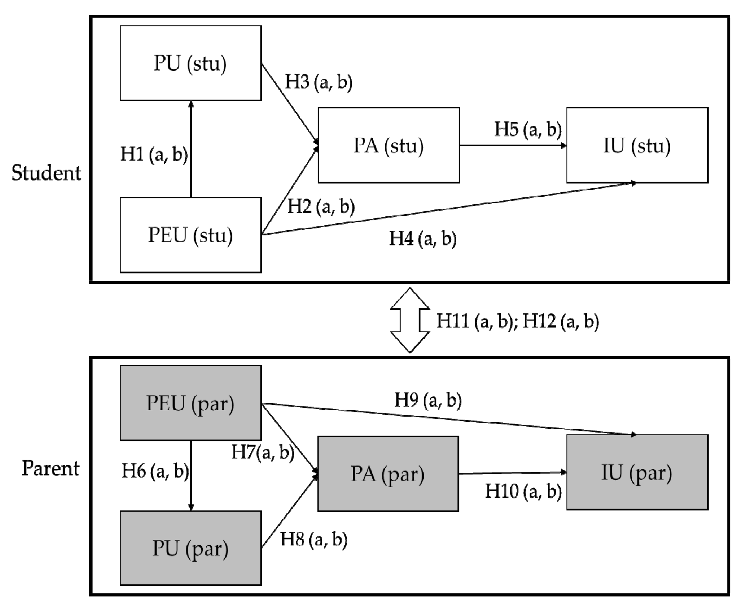
Based on the abovementioned information, the present study purposed to investigate the relationship between perceived ease of use, perceived usefulness, positive attitude, and intention to use from students’ and parents’ points of view in technological and pedagogical aspects by following the TAM model [38]. Moreover, the relationship between students’ and parents’ TAM models is also examined through moderation and mediation analysis. Therefore, the following hypotheses guided this research (Figure 1).
Figure 1.
The hypotheses model.
Students:
- Hypothesis 1 (H1):Perceived ease of use would positively predict perceived usefulness of the technological (H1a) and pedagogical (H1b) aspects.
- Hypothesis 2 (H2):Perceived ease of use would positively predict positive attitude of the technological (H2a) and pedagogical (H2b) aspects.
- Hypothesis 3 (H3):Perceived usefulness would positively predict positive attitude of the technological (H3a) and pedagogical (H3b) aspects.
- Hypothesis 4 (H4):Perceived ease of use would positively predict intention to use of the technological (H4a) and pedagogical (H4b) aspects.
- Hypothesis 5 (H5):Positive attitude would positively predict intention to use of the technological (H5a) and pedagogical (H5b) aspects.
Parents:
- Hypothesis 6 (H6):Perceived ease of use would positively predict perceived usefulness of the technological (H6a) and pedagogical (H6b) aspects.
- Hypothesis 7 (H7):Perceived ease of use would positively predict positive attitude of the technological (H7a) and pedagogical (H7b) aspects.
- Hypothesis 8 (H8):Perceived usefulness would positively predict positive attitude of the technological (H8a) and pedagogical (H8b) aspects.
- Hypothesis 9 (H9):Perceived ease of use would positively predict intention to use of the technological (H9a) and pedagogical (H9b) aspects.
- Hypothesis 10 (H10):Positive attitude would positively predict intention to use of the technological (H10a) and pedagogical (H10b) aspects.
Moderation and mediation models between students and parents:
- Hypothesis 11 (H11):There are moderation effects between any constructs in students’ and parents’ TAM models of the technological (H11a) and pedagogical (H11b) aspects.
- Hypothesis 12 (H12):There are mediation effects among any constructs in students’ and parents’ TAM models of the technological (H12a) and pedagogical (H12b) aspects.
3. Materials and Methods
3.1. Study Design, Participants, and Procedure
Following purposive sampling means that participants were selected who are possibly considered to be most representative of the population as a whole [43]. Therefore, we used 20 fifth-grade students (aged between 11 and 12 years old, 7 females, 13 males) as the participants of this study, the minimum number of students in one class, to represent the condition of one learning session during the COVID-19 pandemic in Yogyakarta, Indonesia. Moreover, each participant’s parent needed to agree to enroll their children in ACL supported by UG.
Students learned geometry concepts, i.e., surface areas and volumes of 3D objects, by measuring objects in the home. All students were given mobile devices with UG that provided the learning material (including geometry concepts and tasks), measurement tools, and information on learning progress. Students were briefed through a pre-recorded video about all UG features and how to use these before the learning process. Parents had also been informed via WhatsApp Messenger about the use of UG for educational purposes to support students’ learning at home. The ACL-supported UG was designed to be used for one month under COVID-19 conditions; thereafter, an anonymous survey based on the TAM questionnaire was conducted to analyze students’ and parents’ perceptions of the learning in authentic contexts (as a pedagogical aspect) and the use of UG (as the technological aspect). The survey was created using Google Forms, and the link was delivered to students (N = 20) and parents (N = 20) via WhatsApp Messenger from 6 to 12 August 2020. All students and parents who participated in this study agreed to fill out the questionnaire. Besides the survey, some students and parents answered a few open-ended questions (via WhatsApp Messenger) to learn their opinion about the ACL-supported UG. A mathematics teacher who facilitated conducting this study was also interviewed using open-ended questions.
3.2. Ubiquitous Geometry
Ubiquitous Geometry (UG) is an android application with augmented reality (AR) technology that was developed to support geometry learning, focusing on learning surfaces and the volumes of cubes and cuboid shapes. UG provides learners with learning resources, including learning materials, learning tasks, measurement tools based on AR, and a multimedia whiteboard (Figure 2) integrating calculation and annotation tools. There are three kinds of annotation tools, i.e., texts, voice, and drawing annotations.
Figure 2.
Multimedia whiteboard in UG.
3.3. Instruments
The two questionnaires administrated to students and parents were adapted from the technology acceptance model (TAM) questionnaire. Students’ and parents’ technological and pedagogical acceptance was obtained through these questionnaires (Appendix A: Table A1 and Table A2). Specifically, the perceived ease of use (PEU), perceived usefulness (PU), and intention to use (IU), consisting of three items, four items, and two items, respectively, were adapted from Davis and Venkatesh [44] for both the technological and pedagogical aspects. With regard to the positive attitude (PA) in the two measured aspects, four items were adapted from Tella and Olasina [45]. All items were measured using a five-point Likert scale ranging from 1 (strongly disagree) to 5 (strongly agree).
The Cronbach alpha was measured to determine the reliability of the questionnaire. Building on the 40 samples, all scales in the technological aspect, including PEU (α = 0.771), PU (α = 0.926), PA (α = 0.836), and IU (α = 0.756), exhibited good reliability [46], as well as in the pedagogical aspect containing PEU (α = 0.781), PU (α = 0.901), PA (α = 0.865), and IU (α = 0.705). Moreover, the composite reliability (CR) and average variance extracted (AVE) of each construct in each aspect were all above 0.8 and 0.6, respectively (Table 1). These values surpassed the suggested thresholds of 0.7 and 0.5 [46].
Table 1.
Reliability of the questionnaire.
Table 2 gives descriptions and examples of each construct, in both technological and pedagogical aspects.
Table 2.
Description of constructs.
3.4. Analysis
The descriptive analysis was conducted with SPSS 22.0 to evaluate the patterns of the data. The results showed no missing data; 100% of samples (20 students and 20 parents) had complete data for all constructs. Next, Pearson correlations and multiple regression with SPSS 22.0 were conducted to examine the TAM model of students and parents (to verify H1 to H12). In a further analysis, the moderation and mediation models were tested using SPSS macro PROCESS 3.5 (http://www.fhayes.com) [47]. The bootstrap method with the default setting in PROCESS (1000 bootstrap samples) was used to test the 95% confidence interval (CI) of the model effect.
4. Results
4.1. Students’ and Parents’ Perceptions of the Use of Mobile Technology in Learning
Students and parents had positive perceptions of the use of UG as a mobile technology that supports students’ learning at home during the COVID-19 pandemic. As shown in Table 3, all constructs, i.e., PEU, PU, PA, and IU, of students’ perceptions have a significant correlation with each other. Similar results were also seen for parents’ constructs. According to the correlation between students and parents, students’ PEU also significantly correlates with parents’ PU. Moreover, the PA of students significantly correlates with parents’ PEU and PU. Next, a multiple regression analysis is needed to analyze the relationships between constructs to clarify the hypotheses and build a representative model.
Table 3.
Descriptive statistics and coefficient correlations of each construct of students’ and parents’ questionnaires in the technological aspect.
The relationships between PEU, PU, PA, and IU in the technological aspect are explored in Hypotheses 1−10 (students: H1a−H5a; parents: H6a−H10a). From the multiple regression analysis, it can be seen that students’ and parents’ PU (R2 = 0.384 and R2 = 0.721, respectively) are significantly affected by students’ and parents’ PEU (H1a: β = 0.619 and H6a: β = 0.849, respectively). Students’ and parents’ IU are significantly influenced by students’ and parents’ PA (H5a: β = 0.765 and H10a: β = 0.709, respectively), which have 58.5% and 50.3% explanation power, respectively. Hence, a different result existed in the PA construct. Students’ PA is predicted by students’ PEU (H2a: β = 0.354) and PU (H3a: β = 0.604), whereas parents’ PA is only affected by parents’ PU (H8a: β = 0.852). Accordingly, among the 10 hypotheses, there are three (H4a, H7a, and H9a) that are not supported by the results.
Regarding the influence of parents’ perceptions in Table 4, we see that parents’ perceptions can influence students’ perceptions. Specifically, parents’ PU (β = 0.482) and PEU (β = 0.500) predispose students’ PEU and PA, respectively. However, a further analysis of these results does not indicate the existence of moderation and mediation effects between students and parents in the technological aspect. Thus, H11a and H12a are rejected.
Table 4.
Multiple regression analysis of students’ and parents’ acceptance model for the technological aspect.
4.2. Students’ and Parents’ Perceptions of the Use of Authentic Contexts in Learning
In the pedagogical aspect, students’ and parents’ perceptions of the use of authentic contexts were also investigated. On average, all constructs, including PEU, PU, PA, and IU, were above 4 for both students and parents. This means that students and parents had positive perceptions of the use of authentic contextual learning to support students’ learning from home during the COVID-19 pandemic.
As shown in Table 5, all constructs, i.e., PEU, PU, PA, and IU, of students’ perceptions have a significant correlation with each other. Similar results are also seen for parents’ constructs. Moreover, some constructs of students’ perceptions are significantly correlated with constructs of parents’ perceptions. Those are students’ PEU and PU with parents’ PEU, students’ PA with parents’ PEU and IU, and students’ IU with parents’ PEU. Accordingly, a multiple regression analysis is needed to analyze the relationships between constructs to build a representative model based on the hypotheses.
Table 5.
Descriptive statistics and coefficient correlations of each construct of students’ and parents’ questionnaires in the pedagogical aspect.
Hypotheses 1b−10b deal with the relationships between PEU, PU, PA, and IU in the pedagogical aspect based on students’ (H1b−H5b) and parents’ (H6b−H10b) perceptions. From the multiple regression analysis, it can be seen that students’ and parents’ PU (R2 = 0.267 and R2 = 0.549, respectively) are significantly affected by students’ and parents’ PEU (H1b: β = 0.517 and H6b: β = 0.741, respectively). A different result between the students’ and parents’ model is addressed in the PA and IU constructs. Students’ PA is significantly influenced by PU (H3b: β = 0.559) and PEU (H2b: β = 0.466) with a 79.9% explanation power, while parents’ PA, with a 80.2% explanation power, is significantly predicted by parents’ PU (H8b: β = 0.895). In IU, it is found that students’ PA (H5b: β = 0.840) is a single factor that has a significant effect on students’ IU (R2 = 0.705); meanwhile, parents’ IU (R2 = 0.826) is significantly affected by two independent factors: parents’ PEU (H9b: β = 0.622) and PA (H10b: β = 0.354). Therefore, there are two hypotheses (H4b and H7b) that are not supported by the results.
Regarding the influence analysis of parents’ perceptions on students’, the students–parents model, shown in Table 6, shows that parents’ perceptions can influence students’ perceptions. Specifically, PEU (par) (β = 1.078) and PA (par) (β = −0.433) significantly predispose PA (stu), and IU (stu) can be affected by PEU (par) (β = 1.289) and IU (par) (β = −0.780). Accordingly, a moderation and mediation analysis was used to further identify the moderating (H11b) and mediating (H12b) effects of parents’ perceptions on students’ perceptions, based on a multiple regression of the students–parents model. However, there is no moderation that can be found in this study. This means that H11b is rejected.
Table 6.
Multiple regression analysis of students’ and parents’ acceptance model in the pedagogical aspect.
Table 7 summarizes the results of the mediation effect indicated in PEU (par) and IU (par). Model 1 tested the effect of PEU (stu) mediated by PEU (par) on PA (stu). The total effect of model 1 was significant in 95% CI ranging from 0.214 to 1.121. The results in model 1 indicate that PEU (par) (β = 0.446, p < 0.01) has a significant influence on PA (stu), whereas PEU (stu) (β = 0.446, p > 0.05) does not have a significant influence on PA (stu). This implies a significant mediation effect of PEU (par) existing between PEU (stu) and PA (stu). In model 2, the total effect indicates a significant effect in terms of a 95% degree of tolerance, with CI ranging from 0.488 to 1.071. The mean effect of IU (par) (β = −0.179, p > 0.05) does not reach significance, whereas PA (stu) (β = 0.909, p < 0.01) has a significant positive effect on IU (stu). This means that there is a partial mediation effect, addressed in model 2 with IU (par) as a mediation factor of the relationship between PA (stu) and IU (stu). These findings indicate that students’ perceived ease of use not only has a direct effect on their positive attitude, but also indirectly influences students’ positive attitude by cultivating parents’ perceived ease of use. Furthermore, students’ positive attitude not only has a direct effect on their intention to use, but also indirectly influences them by having a partial mediating effect on their parents’ intention to use. Thus, it can be concluded that H12b is supported by the results. The mediation effects are represented in Figure 3.
Table 7.
Bootstrap test on the mediation effect in the pedagogical aspect.
Figure 3.
Mediation effect of parents’ perceptions on students’ perceptions in the pedagogical aspect: (a) the mediating effect of parents’ perceived ease of use on the relationship between students’ perceived ease of use and positive attitude and (b) the mediating effect of parents’ intention to use on the relationship between students’ positive attitude and intention to use.
5. Discussion
5.1. Students’ and Parents’ Acceptance of the Technological Aspect
This study reveals that the use of mobile technology, UG, during the learning-at-home period received broad acceptance from both students and parents. Mostly, students felt that UG had the potential to help their geometry learning at home and had a positive attitude towards the use of such technology. They intended to use UG in geometry learning at home. This might be due to the fact that UG could overcome students’ boredom while studying at home. The teacher said, “In the COVID-19 pandemic, the use of UG can support authentic contextual learning while students are learning at home. In the current situation (which forces students to learn at home), students sometimes feel bored with the way they learn [i.e., students watch videos provided by the teacher and then solve math problems] without any face-to-face class with their teacher and friends. UG can provide students with interactive and interesting learning through the use of mobile technology, as if they are playing a game” (Teacher).
Figure 4 shows the model of students’ and parents’ acceptance of the technological aspect of authentic contextual learning. In the parents’ case, while perceived ease of use directly influences their perceived usefulness and indirectly predicts their positive attitude [48] and intention to use technology [32,40,44], the present study provides additional evidence of the influence of parental acceptance on students’ perceptions and attitudes toward the use of UG. The results show that parents’ perceived usefulness and perceived ease of use have been found to be significant predictors of students’ perceived ease of use and positive attitude, respectively. In other words, parents’ perceptions could highly influence students’ attitudes in the technological aspect. Some parents gave comments on the use of UG, saying: “[UG] is very helpful and gives students easy-to-learn material” (Parent-01); “It is good. Students can actively look for materials needed at home; they do not need to go outside in the current situation [COVID-19], so the app [UG] can help students learning at home” (Parent-02). This can be explained by past studies finding that parents prefer to let their children use mobile technology at home, as long it is under a good control mechanism, for educational needs [36,42]. Furthermore, UG could reduce parents’ anxiety about the way of learning at home. Consequently, students are encouraged by their parents to use UG because of its ease of use and useful learning materials. This strengthened the argument that family support is a valuable factor in students’ acceptance of the technology used in education [40].
Figure 4.
Model of students’ and parents’ acceptance of the technology aspect of authentic contextual
learning.
5.2. Students’ and Parents’ Acceptance of the Pedagogical Aspect
While the student model revealed results similar to the original TAM model, a different structure was seen in the parent model in terms of the pedagogical aspect, as shown in Figure 5. The results imply that parents’ perceived ease of use and positive attitude directly predicted their children’s intention to use authentic contextual learning. A possible reason is that parents’ perceptions were influenced by children’s perceptions of ease of use because parents observed or helped their kids to measure authentic geometric objects in their surroundings (at home) and found it was easy to do. Moreover, a mediation effect of parents’ perceived ease of use was seen in the relationship between students’ perceived ease of use and positive attitude. A parent mentioned that, “The activity on measuring objects at home is easy because my child really enjoys it and is excited to do it” (Parent-01). Furthermore, a student said, “The measurement activity is easy because objects are easy to find at home. My parent accompanies me while measuring the objects, and it makes me feel good” (Student-01).
Figure 5.
Model of students’ and parents’ acceptance of the pedagogical aspect of authentic
contextual learning.
Moreover, parents’ intention to use authentic contexts in students’ learning becomes a mediator in the relationship between students’ positive attitude and intention to use. Parents can be active in the implementation of their children’s activities at home. They have the authority to accept or resist a designed learning activity with technological and pedagogical potential [27] to improve the quality of learning at home. Thus, it is important to familiarize parents with students’ learning activities and their benefits [37] because in the COVID-19 pandemic, elementary school students learned at their home and parents or family members could have more opportunities to assist the learning. Therefore, parents can realize the advantages of authentic learning activities. These advantages can be seen through students’ active engagement and ability to apply their knowledge of geometry objects to real life [12,19].
Regarding the teacher’s point of view, exploring and applying concepts via real-life problems are beneficial to students’ cognitive development. The teacher mentioned that, “Measuring real 3D objects, such as boxes and refrigerators, gives elementary students a better understanding of the concepts of geometry. They can apply the volume formula of a 3D object in a real situation” (Teacher). Through such learning activities, the damage caused by mobile devices can be reduced. Additionally, exploring and applying concepts in real life can also help to develop high-level cognition skills, such as applying and analyzing. While gaining experience in real object measurements, students can also acquire knowledge about geometry. Later, this knowledge can be used in higher-level cognition, in which they make comparisons between each different condition of these objects to construct their own concepts.
6. Educational Implications
The findings of this study lead to a number of educational implications on the use of mobile technology to support learning in authentic contexts during the COVID-19 pandemic. The findings in the technological aspect indicate that parents’ perceptions influence their children’s perceived ease of use and positive attitude towards the use of technology at home. Moreover, in the pedagogical aspect that is, based on the activity using authentic contexts, parents become the mediator of the effect of students’ perceived ease of use on their positive attitude and of their positive attitude on their intention to use the authentic contexts.
The different findings for technology and pedagogy imply different perceptions of parents toward their children using mobile devices and authentic contexts for learning. In the pedagogical aspect of authentic contextual learning, parents’ perceptions can mediate students’ perceptions in that they believe that the learning activity in authentic contexts is useful. However, in the technological aspect, parents usually worry about the overuse of mobile technology causing addiction for their children [23,49]. Past studies have addressed the negative effects of the overuse of mobile devices, including physical risks and mental risks [23,26,27,49,50]. Children who spend most of their time in front of a screen can endanger their health through eye damage, headaches, and neck pain. Moreover, mobile device addiction in the younger generation can be accompanied by mental health issues, such as loneliness, shyness, depression, and a lack of emotional control [24,29,49].
Integrating a mobile device app in ACL can increase the potential educational benefit and reduce the damage caused by the use of mobile devices. By using mobile devices with UG, students can easily access learning material anytime and anywhere [27] to explore more places and apply geometry concepts in various authentic contexts. In this learning experience, students develop their cognition. Moreover, the educational use of UG can improve interactions between students [27] in that they can share their knowledge and comments. The diverse knowledge that can be obtained by applying it in different authentic contexts and comparing personal experience with information from others could help students to develop high-level cognition.
It is important to note that students not only looked at the screen of their mobile devices while using UG to explore their surroundings, but also observed the geometric objects that existed in authentic contexts. This could decrease the health effects, such as sore eyes or headaches, caused by the use of mobile devices for a long period. Moreover, they did physical activities while measuring the width, length, and height of real objects and calculating those volumes or perimeters. This could increase students’ physical activity by requiring them to walk to different places and do various measurements.
7. Conclusions
The model of students’ and parents’ perceptions in the technological and pedagogical aspects offers a way to implement ACL at home with UG support and dealing with parents’ perception toward this learning. Based on our findings, students’ and parents’ perceptions toward ACL at home are different in terms of technology and pedagogy. It was shown that the relationship between perceived ease of use and positive attitude is different for students and parents. This may be because parents did not directly use UG and did not do authentic activities at home; they only watched their children use the app and apply knowledge in daily life applications.
Regarding the relationship between students’ and parents’ perceptions in TAM, our findings for the technological aspect indicate that parents’ perceived usefulness and ease of use can have a significant influence on students’ perceived ease of use and positive attitude toward using mobile devices with UG, respectively. When parents know that using mobile devices with UG can facilitate students’ learning at home, they will encourage their children to use mobile devices with UG to support their learning. Hence, students will think that UG on mobile devices is easy to use, and this positively influences their attitude toward the use of the app. However, further analysis cannot address any moderation or mediation effect between students and parents in the technological aspect. This may be because parents have some worries about the negative effect of overusing mobile devices. In the pedagogical aspect, parents’ ease of use and intention to use have mediation effects on students’ positive attitude and intention to use ACL with UG. Therefore, authentic geometry learning (e.g., measuring the length and width of objects in their surroundings) via the implementation of ACL with UG at home is very promising for students. Moreover, parents are happy to know their children have such useful learning opportunities and encourage them to do more. This finding and its model can be used as empirical evidence of studies that concern parental issues, educational instruction, and technologies.
According to the teacher’s perspective, authentic contextual learning supported by mobile devices with UG is beneficial in cognitive and affective aspects. By measuring the width, length, and height of real objects and calculating the volume and perimeter based on the collected information, students applied concepts of geometry and compared different situations in real life, which helped them to reach a higher cognitive level. Furthermore, using UG to learn geometry increased students’ motivation to learn geometry during the COVID-19 pandemic. Students actively practiced geometric object measurement around their homes.
Note, however, that this study involved a limited sample of students and parents. A large random sample is needed in future studies. In addition, it is necessary for future studies to investigate the effectiveness of the technological and pedagogical aspects to lead students to authentic contextual learning, especially for learning at home.
Author Contributions
Conceptualization, W.-Y.H.; Data curation, U.H.; Formal analysis, U.H.; Funding acquisition, W.-Y.H.; Investigation, U.H.; Supervision, W.-Y.H.; Writing—original draft, U.H.; Writing—review and editing, W.-Y.H. All authors have read and agreed to the published version of the manuscript.
Funding
This research received no external funding.
Conflicts of Interest
The authors declare no conflict of interest.
Appendix A
Table A1.
Questionnaire for students.
Table A1.
Questionnaire for students.
| Construct | Questionnaire Items |
|---|---|
| Technological Aspect | |
| When I use UG to learn mathematics at home, I think that: | |
| PEU1 | Using a mobile device with UG for geometry learning at home does not require a lot of my mental effort. |
| PEU2 | A mobile device with UG for geometry learning at home is easy to use. |
| PEU3 | I find it easy to get a mobile device with UG at home to do what I want it to do in geometry learning. |
| PU1 | Using a mobile device with UG at home improves my performance in geometry learning. |
| PU2 | Using a mobile device with UG at home increases my productivity in geometry learning. |
| PU3 | Using a mobile device with UG at home enhances my learning effectiveness in geometry. |
| PU4 | I find a mobile device with UG at home useful to learn geometry. |
| Assuming I have access to UG during the COVID-19 pandemic, I think that: | |
| PA1 | I like using a mobile device with UG for geometry learning at home. |
| PA2 | Using a mobile device with UG for geometry learning at home would be pleasant. |
| PA3 | I enjoy using a mobile device with UG for geometry learning at home. |
| PA4 | It is interesting to use a mobile device with UG for geometry learning at home. |
| When I use UG to learn mathematics at home, I think that: | |
| BI1 | I intend to use a mobile device with UG for geometry learning at home. |
| BI2 | I would use a mobile device with UG for geometry learning at home. |
| Pedagogical Aspect | |
| When I measure objects around the home, I think that: | |
| PEU1 | Measuring objects around the home with UG for geometry learning does not require a lot of my mental effort. |
| PEU2 | Measuring objects around the home with UG for geometry learning is easily done. |
| PEU3 | I find it easy to measure objects around the home with UG for geometry learning based on my preference. |
| PU1 | Measuring objects around the home with UG improves my performance in geometry learning. |
| PU2 | Measuring objects around the home with UG increases my active engagement in geometry learning. |
| PU3 | Measuring objects around the home with UG enhances my learning effectiveness in geometry. |
| PU4 | I find measuring objects around the home with UG useful to learning geometry. |
| Assuming I have tasks to measure objects around the home during the COVID-19 pandemic, I think that: | |
| PA1 | I like measuring objects around the home for geometry learning. |
| PA2 | Measuring objects around the home for geometry learning would be pleasant. |
| PA3 | I enjoy measuring objects around the home for geometry learning. |
| PA4 | It is interesting to measure objects around the home geometry learning. |
| Assuming I have tasks to measure objects around the home, I think that: | |
| BI1 | I intend to measure objects around the home with UG for geometry learning. |
| BI2 | I would measure different objects around the home with UG for geometry learning. |
Table A2.
Questionnaire for parents.
Table A2.
Questionnaire for parents.
| Construct | Questionnaire Items |
|---|---|
| Technological Aspect | |
| While my child uses UG, I think that: | |
| PEU1 | Using a mobile device with UG for geometry learning at home does not require a lot of the child’s mental effort. |
| PEU2 | A mobile device with UG for the child’s geometry learning at home is easy to use. |
| PEU3 | I find it easy to get a mobile device with UG at home to do what the child wants to do in their geometry learning. |
| PU1 | Using a mobile device with UG at home improves the child’s learning performance in geometry. |
| PU2 | Using a mobile device with UG at home increases the child’s active engagement in geometry learning. |
| PU3 | Using a mobile device with UG at home enhances the child’s learning effectiveness in geometry. |
| PU4 | I find a mobile device with UG at home useful to learning geometry for the child. |
| Assuming my child has access to UG during the COVID-19 pandemic, I think that: | |
| PA1 | My child likes using a mobile device with UG for geometry learning at home. |
| PA2 | Using a mobile device with UG for geometry learning at home would be pleasant for my child. |
| PA3 | My child enjoys using a mobile device with UG for geometry learning at home. |
| PA4 | It is interesting for my child to use a mobile device with UG for geometry learning at home. |
| Assuming my child has access to UG, I think that: | |
| BI1 | I intend to encourage my child to use a mobile device with UG for geometry learning at home. |
| BI2 | My child would use a mobile device with UG for geometry learning at home. |
| Pedagogical Aspect | |
| While my child measures object around the home, I think that: | |
| PEU1 | Measuring objects around the home with UG for geometry learning does not require a lot of children’s mental effort. |
| PEU2 | Measuring objects around the home with UG for geometry learning is easily done. |
| PEU3 | I find it easy for children to measure objects around the home with UG for geometry learning based on their preference. |
| PU1 | Measuring objects around the home with UG improves children’s learning performance in geometry. |
| PU2 | Measuring objects around the home with UG increases children’s active engagement in geometry learning. |
| PU3 | Measuring objects around the home with UG enhances children’s learning effectiveness in geometry. |
| PU4 | I find measuring objects around the home with UG useful to learning geometry for children. |
| Assuming children have access to UG during the COVID-19 pandemic, I think that: | |
| PA1 | My child likes measuring objects around the home with UG for geometry learning. |
| PA2 | My child measuring objects around the home with UG for geometry learning would be pleasant. |
| PA3 | My child enjoys measuring objects around the home with UG for geometry learning. |
| PA4 | It is interesting for my child to measure objects around the home with UG for geometry learning. |
| Assuming my child has access to UG, I think that: | |
| BI1 | I intend to encourage my child to measure objects around the home with UG for geometry learning. |
| BI2 | My child would measure different objects around the home with UG for geometry learning. |
References
- Cheung, C.S.; Pomerantz, E.M. Parents’ involvement in children’s learning in the United States and China: Implications for children’s academic and emotional adjustment. Child Dev. 2011, 82, 932–950. [Google Scholar] [CrossRef] [PubMed]
- Gonida, E.N.; Cortina, K.S. Parental involvement in homework: Relations with parent and student achievement-related motivational beliefs and achievement. Br. J. Educ. Psychol. 2014, 84, 376–396. [Google Scholar] [CrossRef] [PubMed]
- Patall, E.A.; Cooper, H.; Robinson, J.C. Parent involvement in homework: A research synthesis. Rev. Educ. Res. 2008, 78, 1039–1101. [Google Scholar] [CrossRef]
- Xu, J. Homework Completion at the Secondary School Level: A Multilevel Analysis. J. Educ. Res. 2011, 104, 171–182. [Google Scholar] [CrossRef]
- Wei, J.; Pomerantz, E.M.; Ng, F.F.Y.; Yu, Y.H.; Wang, M.Z.; Wang, Q. Why does parents’ involvement in youth’s learning vary across elementary, middle, and high school? Contemp. Educ. Psychol. 2019, 56, 262–274. [Google Scholar] [CrossRef]
- Iivari, N.; Sharma, S.; Ventä-Olkkonen, L. Digital transformation of everyday life—How COVID-19 pandemic transformed the basic education of the young generation and why information management research should care? Int. J. Inf. Manag. 2020, 55, 102183. [Google Scholar] [CrossRef]
- Cheng, S.C.; Hwang, G.J.; Chen, C.H. From reflective observation to active learning: A mobile experiential learning approach for environmental science education. Br. J. Educ. Technol. 2019, 50, 2251–2270. [Google Scholar] [CrossRef]
- Hwang, W.Y.; Chen, H.R.; Chen, N.S.; Lin, L.K.; Chen, J.W. Learning Behavior Analysis of a Ubiquitous Situated Reflective Learning System with Application to Life Science and Technology Teaching. Educ. Technol. Soc. 2018, 21, 137–149. [Google Scholar] [CrossRef]
- Sung, H.Y.; Hwang, G.J.; Lin, C.J.; Hong, T.W. Experiencing the Analects of Confucius: An experiential game-based learning approach to promoting students’ motivation and conception of learning. Comput. Educ. 2017, 110, 143–153. [Google Scholar] [CrossRef]
- Banville, D.; Kulinna, P.H.; Dyson, B.; Stylianou, M.; Colby, R.; Dryden, C. Feeling refreshed: Aotearoa/New Zealand students’ perspectives of the role of healthy behaviours in schools. Eur. Phys. Educ. Rev. 2017, 23, 41–59. [Google Scholar] [CrossRef]
- Martin, A.J.; Durksen, T.L.; Williamson, D.; Kiss, J.; Ginns, P. The Role of a Museum-Based Science Education Program in Promoting Content Knowledge and Science Motivation. J. Res. Sci. Teach. 2016, 53, 1364–1384. [Google Scholar] [CrossRef]
- Hwang, W.; Purba, S.W.D.; Liu, Y.; Zhang, Y.; Chen, N. An Investigation of the Effects of Measuring Authentic Contexts on Geometry Learning Achievement. IEEE Trans. Learn. Technol. 2019, 12, 291–302. [Google Scholar] [CrossRef]
- Hwang, W.Y.; Zhao, L.X.N.; Shadiev, R.; Lin, L.K.; Shih, T.M.K.; Chen, H.R. Exploring the effects of ubiquitous geometry learning in real situations. ETRD Educ. Technol. Res. Dev. 2020, 68, 1121–1147. [Google Scholar] [CrossRef]
- Shadiev, R.; Hwang, W.-Y.; Huang, Y.-M.; Liu, T.-Y. Facilitating application of language skills in authentic environments with a mobile learning system. J. Comput. Assist. Learn. 2018, 34, 42–52. [Google Scholar] [CrossRef]
- Chang, K.-E.; Wu, L.-J.; Lai, S.-C.; Sung, Y.-T. Using mobile devices to enhance the interactive learning for spatial geometry. Interact. Learn. Environ. 2016, 24, 916–934. [Google Scholar] [CrossRef]
- De Ravé, E.G.; Jiménez-Hornero, F.J.; Ariza-Villaverde, A.B.; Taguas-Ruiz, J. DiedricAR: A mobile augmented reality system designed for the ubiquitous descriptive geometry learning. Multimed. Tools Appl. 2016, 75, 9641–9663. [Google Scholar] [CrossRef]
- Gonzalez-Marcos, A.; Alba-Elias, F.; Navaridas-Nalda, F.; Ordieres-Mere, J. Student evaluation of a virtual experience for project management learning: An empirical study for learning improvement. Comput. Educ. 2016, 102, 172–187. [Google Scholar] [CrossRef]
- Herrington, J.; Parker, J. Emerging technologies as cognitive tools for authentic learning. Br. J. Educ. Technol. 2013, 44, 607–615. [Google Scholar] [CrossRef]
- Hwang, W.-Y.; Hoang, A.; Tu, Y.-H. Exploring Authentic Contexts with Ubiquitous Geometry to Facilitate Elementary School Students’ Geometry Learning. Asia Pac. Educ. Res. 2020, 29, 269–283. [Google Scholar] [CrossRef]
- Chang, C.S.; Chen, T.S.; Hsu, W.H. The study on integrating WebQuest with mobile learning for environmental education. Comput. Educ. 2011, 57, 1228–1239. [Google Scholar] [CrossRef]
- Bulman, G.; Fairlie, R.W. Chapter 5—Technology and Education: Computers, Software, and the Internet. In Handbook of the Economics of Education; Hanushek, E.A., Machin, S., Woessmann, L., Eds.; Elsevier: Amsterdam, The Netherlands, 2016; Volume 5, pp. 239–280. [Google Scholar]
- Hughes, J.E.; Ko, Y.; Lim, M.; Liu, S. Preservice Teachers’ Social Networking Use, Concerns, and Educational Possibilities: Trends from 2008-2012. J. Technol. Teach. Educ. 2015, 23, 185–212. [Google Scholar]
- Sun, R.; Gao, Q.; Xiang, Y.; Chen, T.; Liu, T.; Chen, Q. Parent–child relationships and mobile phone addiction tendency among Chinese adolescents: The mediating role of psychological needs satisfaction and the moderating role of peer relationships. Child. Youth Serv. Rev. 2020, 116, 105113. [Google Scholar] [CrossRef]
- Yang, J.X.; Fu, X.; Liao, X.L.; Li, Y.M. Association of problematic smartphone use with poor sleep quality, depression, and anxiety: A systematic review and meta-analysis. Psychiatry Res. 2020, 284, 9. [Google Scholar] [CrossRef]
- Rideout, V. Learning at Home: Families’ Educational Media Use in America; Joan Ganz Cooney Center at Sesame Workshop: New York, NY, USA, 2014. [Google Scholar]
- Ebbeck, M.; Yim, H.Y.B.; Chan, Y.; Goh, M. Singaporean Parents’ Views of Their Young Children’s Access and Use of Technological Devices. Early Child. Educ. J. 2016, 44, 127–134. [Google Scholar] [CrossRef]
- Hadad, S.; Meishar-Tal, H.; Blau, I. The parents’ tale: Why parents resist the educational use of smartphones at schools? Comput. Educ. 2020, 157, 103984. [Google Scholar] [CrossRef]
- Meng, H.; Cao, H.; Hao, R.; Zhou, N.; Liang, Y.; Wu, L.; Jiang, L.; Ma, R.; Li, B.; Deng, L.; et al. Smartphone use motivation and problematic smartphone use in a national representative sample of Chinese adolescents: The mediating roles of smartphone use time for various activities. J. Behav. Addict. 2020, 9, 163–174. [Google Scholar] [CrossRef] [PubMed]
- Sohn, S.; Rees, P.; Wildridge, B.; Kalk, N.J.; Carter, B. Prevalence of problematic smartphone usage and associated mental health outcomes amongst children and young people: A systematic review, meta-analysis and GRADE of the evidence. BMC Psychiatry 2019, 19, 10. [Google Scholar] [CrossRef]
- Sung, Y.-T.; Chang, K.-E.; Liu, T.-C. The effects of integrating mobile devices with teaching and learning on students’ learning performance: A meta-analysis and research synthesis. Comput. Educ. 2016, 94, 252–275. [Google Scholar] [CrossRef]
- Domingo, M.G.; Garganté, A.B. Exploring the use of educational technology in primary education: Teachers’ perception of mobile technology learning impacts and applications’ use in the classroom. Comput. Hum. Behav. 2016, 56, 21–28. [Google Scholar] [CrossRef]
- Nikou, S.A.; Economides, A.A. Mobile-Based Assessment: Integrating acceptance and motivational factors into a combined model of Self-Determination Theory and Technology Acceptance. Comput. Hum. Behav. 2017, 68, 83–95. [Google Scholar] [CrossRef]
- Sergi, K.; Gatewood, R.; Elder, A.; Xu, J. Parental perspectives on children’s use of portable digital devices. Behav. Inf. Technol. 2017, 36, 1148–1161. [Google Scholar] [CrossRef]
- Gravemeijer, K.; Doorman, M. Context Problems in Realistic Mathematics Education: A Calculus Course as an Example. Educ. Stud. Math. 1999, 39, 111–129. [Google Scholar] [CrossRef]
- Van den Heuvel-Panhuizen, M.; Drijvers, P. Realistic Mathematics Education. In Encyclopedia of Mathematics Education; Lerman, S., Ed.; Springer International Publishing: Cham, Germany, 2020; pp. 713–717. [Google Scholar] [CrossRef]
- Hwang, W.-Y.; Liu, Y.-F.; Chen, H.-R.; Huang, J.-W.; Li, J.-Y. Role of parents and annotation sharing in children’s learning behavior and achievement using E-readers. J. Educ. Technol. Soc. 2015, 18, 292–307. [Google Scholar]
- Cheng, K.-H.; Tsai, C.-C. Children and parents’ reading of an augmented reality picture book: Analyses of behavioral patterns and cognitive attainment. Comput. Educ. 2014, 72, 302–312. [Google Scholar] [CrossRef]
- Blackwell, C.K.; Lauricella, A.R.; Wartella, E. The influence of TPACK contextual factors on early childhood educators’ tablet computer use. Comput. Educ. 2016, 98, 57–69. [Google Scholar] [CrossRef]
- Jung, I.; Lee, J. A cross-cultural approach to the adoption of open educational resources in higher education. Br. J. Educ. Technol. 2020, 51, 263–280. [Google Scholar] [CrossRef]
- Zheng, J.; Li, S. What drives students’ intention to use tablet computers: An extended technology acceptance model. Int. J. Educ. Res. 2020, 102, 101612. [Google Scholar] [CrossRef]
- Tsuei, M.; Hsu, Y.-Y. Parents’ Acceptance of Participation in the Integration of Technology into Children’s Instruction. Asia Pac. Educ. Res. 2019, 28, 457–467. [Google Scholar] [CrossRef]
- Gao, Q.; Yan, Z.; Wei, C.; Liang, Y.; Mo, L. Three different roles, five different aspects: Differences and similarities in viewing school mobile phone policies among teachers, parents, and students. Comput. Educ. 2017, 106, 13–25. [Google Scholar] [CrossRef]
- Levy, P.S.; Lemeshow, S. Sampling of Populations: Methods and Applications; Wiley: Hoboken, NJ, USA, 2013. [Google Scholar]
- Davis, F.D.; Venkatesh, V. A critical assessment of potential measurement biases in the technology acceptance model: Three experiments. Int. J. Hum. Comput. Stud. 1996, 45, 19–45. [Google Scholar] [CrossRef]
- Tella, A.; Olasina, G. Predicting Users’ Continuance Intention Toward E-payment System: An Extension of the Technology Acceptance Model. Int. J. Inf. Syst. Soc. Chang. 2014, 5, 47–67. [Google Scholar] [CrossRef]
- Hair, J.F.; Black, W.C.; Babin, B.J.; Anderson, R.E.; Tatham, R.L. Multivariate Data Analysis; Prentice Hall: Upper Saddle River, NJ, USA, 1998; Volume 5. [Google Scholar]
- Hayes, A.F. Introduction to Mediation, Moderation, and Conditional Process Analysis: A Regression-Based Approach; Guilford Publications: New York, NY, USA, 2017. [Google Scholar]
- Weng, F.; Yang, R.-J.; Ho, H.-J.; Su, H.-M. A TAM-based study of the attitude towards use intention of multimedia among school teachers. Appl. Syst. Innov. 2018, 1, 36. [Google Scholar] [CrossRef]
- Bian, M.; Leung, L. Linking Loneliness, Shyness, Smartphone Addiction Symptoms, and Patterns of Smartphone Use to Social Capital. Soc. Sci. Comput. Rev. 2015, 33, 61–79. [Google Scholar] [CrossRef]
- Plowman, L.; McPake, J.; Stephen, C. The Technologisation of Childhood? Young Children and Technology in the Home. Child. Soc. 2010, 24, 63–74. [Google Scholar] [CrossRef]
Publisher’s Note: MDPI stays neutral with regard to jurisdictional claims in published maps and institutional affiliations. |
© 2020 by the authors. Licensee MDPI, Basel, Switzerland. This article is an open access article distributed under the terms and conditions of the Creative Commons Attribution (CC BY) license (http://creativecommons.org/licenses/by/4.0/).




