Next Article in Journal
Urban Comprehensive Water Consumption: Nonlinear Control of Production Factor Input Based upon the C-D Function
Previous Article in Journal
The Development Analysis of the Romanian Traditional Product Market Based on the Performance Model for Sustainable Economic Development
 
 
Font Type:
Arial Georgia Verdana
Font Size:
Aa Aa Aa
Line Spacing:
Column Width:
Background:
Article

Wolves’ Conservation through Educational Workshops: Which Method Works Best?

1
Department of Biology, Biotechnical Faculty, University of Ljubljana, Večna pot 111, 1001 Ljubljana, Slovenia
2
Faculty of Education; University of Ljubljana, Kardeljeva ploščad 16, 1000 Ljubljana, Slovenia
3
Department of Biology, Eberhard Karls University of Tübingen, Auf der Morgenstelle 24, D-72076 Tübingen, Germany
*
Author to whom correspondence should be addressed.
Sustainability 2019, 11(4), 1124; https://doi.org/10.3390/su11041124
Submission received: 31 January 2019 / Revised: 17 February 2019 / Accepted: 19 February 2019 / Published: 21 February 2019

Abstract

(1) Background: Conservation biology education is an important societal goal, targeting the worldwide promotion of biodiversity conservation. When learning about animals, direct experience poses an ideal opportunity to influence the participants’ attitudes and knowledge. However, in the case of large carnivores, direct experiences are scarcely possible, except at local zoos. School teaching should therefore rely on preserved materials, which are still originals. (2) Methods: Here, we investigated how students’ attitudes and knowledge regarding wolves can be improved in three different teaching contexts: (a) through conventional lectures, (b) through lectures combined with hands-on activities in the real classroom setting, and (c) through lectures with hands-on activities at the university. Students from general and vocational (veterinary) upper secondary school participated in the study. Attitudes and knowledge were tested before and after the teaching. (3) Results: Students displayed positive attitudes toward wolves and their prior knowledge had the highest influence on attitude ratings. Knowledge about wolves improved during teaching regardless of the teaching approach. The highest influence on attitudes and knowledge was observed in the university setting. (4) Conclusion: The university setting evidently produces the strongest effect so it is a recommended approach when designing conservational topics.

1. Introduction

1.1. Conservation Biology and Socio-scientific Issues Regarding Large Carnivores

Lack of knowledge and education in general are the main drivers of environmental problems [1]. Accordingly, conservation biology education was proposed to be one of the main societal goals [2], targeted at the worldwide promotion of biodiversity conservation [1]. Within the framework of biodiversity, large carnivore conservation is especially challenging because of extensive socio-scientific issues associated with it [3] and therefore essential in terms of conservation [4]. In management and conservation efforts of large carnivores, all three “fixes”, proposed by Heberlein [5], should be considered. These fixes refer to cognition, technology, and structure. A “cognitive fix” can be achieved through education, a “technological fix” by adopting various practices (e.g., prevention measures and hunting), and a “structural fix” by regulated legislation. Protective legislation, positive attitudes and practices supporting human-large carnivore coexistence are therefore important factors influencing large carnivore conservation [3]. To influence attitudes supporting large carnivore conservation efforts, which are considered as behavior predictors, the “cognitive fix” should be addressed, even if it is a long-term process [5].

1.2. Large Carnivores of Slovenia

Slovenia is inhabited by three large carnivore species: brown bear (Ursus arctos L.), wolf (Canis lupus L.), and Eurasian lynx (Lynx lynx L.). The most abundant and numerous species is the brown bear, with approximately 750 individuals [6] with one of the world’s highest reproduction rates.
Wolves are the second most abundant large carnivore species. National population monitoring [7] showed that the population consists of approximately 75 individuals. The population status is defined as favorable [7]. During the season of 2017/2018, 14 wolf packs were identified, four out of which are transboundary (shared with Croatia). Wolf population in Slovenia is slowly growing, which is mainly due to spatial distribution, pack number increases and greater abundance within single, vital packs [7]. Wolves are known for their ability to quickly adapt to live in human-dominated areas [3]. For that reason, human-wolf interactions are inevitable. Regarding the constant dynamics of such interactions, interventions supporting coexistence are therefore indispensable [8,9,10].
The rarest and most threatened large carnivore species in Slovenia is the Eurasian lynx. The population of approximately 15 individuals [11] is locally nearly extinct, mainly due to inbreeding [12,13]. In order to save this species from local extinction, non-related individuals from a viable Carpathian population will be translocated to Slovenia within the LIFE Lynx project (https://www.lifelynx.eu/).

1.3. Teaching about Animals in Schools

The majority of studies focused on assessing knowledge, attitudes, and acceptance of wolves in an adult population and concerning different stakeholder groups [14,15,16,17]. There are only a few studies where authors assessed a younger adolescent population [18,19,20,21]. One previous study [21] of attitudes and knowledge of vocational upper secondary school students (agricultural, veterinary, and environmental technician programs) revealed general positive attitudes to, but limited knowledge about wolves. Agricultural technicians’ attitudes showed a more utilitarian view and their knowledge was the most deficient. The authors therefore emphasized the importance of renewed study programs focusing on current socio-scientific issues, especially good practices supporting human-wolf coexistence. To increase educational efficiency in regards to conservation, the study programs should focus on developing attitudes and knowledge through direct experiences [2]. Besides gaining theoretical knowledge of the species, direct experiences are believed to positively affect attitude formation [22]. In the case of large carnivores, this approach is more complex. Observation of free-ranging large carnivores is very difficult because of their natural wariness and consequential avoidance of people. Some human dimensions studies, [14,15,23,24] showed that living in a wolf area or near their territories, in potential direct contact with wolves, are related to more negative attitudes. A general public survey in Sweden [25] also reported that direct experiences with wolves and brown bears lead to lower acceptance of those species. In many cases, those direct experiences may cause the development of more negative attitudes because of economic loss and emotional pain (e.g., livestock depredation). On the other hand, direct experiences of large carnivores in zoos (e.g., observing the animals in enclosures) can be effective in positive attitude formation [26]. Besides observing animals in zoo settings, direct experiences could also be gained within outdoor learning activities, which allow students to experience large carnivore habitat and see the signs of their presence (e.g., footprints, hairs, scats). The students can achieve higher affective learning in the presence of living animals [27] since their presence greatly affects the students’ emotions and motivation [28]. Similarly, teaching by using living animals can positively influence the students’ attitudes and knowledge [22,29,30]. In the case of large carnivores, preserved specimens can represent a good replacement of the presence of a living animal. Sherwood Jr. et al. [27] used preserved specimens as a teaching object and reported that students can achieve both, short- and long-term knowledge through indirect experiences as well. With the exception of the affective dimension of learning, no differences in learning outcomes were identified when using either living animals or preserved specimens. The results of similar studies were summarized by Hummel and Randler [28] in their meta-analysis. They reported that teaching with substitutes of living animals can also be very productive. In the case of wolves, it is not possible to bring living animals into the classroom so a substitution with other, original materials should be the best option.

1.4. Integrating Large Carnivore Education into Slovenian School Context

In lower secondary school, biology-related topics are covered within two subjects: Science (for sixth and seventh graders) and Biology (for eighth and ninth graders). Only the seventh graders learn about animals (Science) while the ninth graders learn about ecology and habitats in general (Biology). For those two groups, topics on large carnivores can be aligned directly with the present curricula. In the upper secondary school biology curricula, the teaching about wolves (large carnivores) can be incorporated into the topics of cell biology (such as cells, genes, and inheritance), structure and function of organisms, evolution, ecology, biodiversity, ethology, human and natural sources, and biology as a science. So far, the topics about large carnivores, especially practices regarding co-existence, have been under-represented.

1.5. The Present Study

One of the main goals of conservation biology is to raise general public awareness about local species and the loss of biodiversity [2]. Although, conservation biology projects funding’s are frequently assigned to educational actions, like the one in the present study, such actions are scarcely evaluated. Moreover, in a case of large carnivores (mammals), there is a need to promote a sustainable coexistence [31]. Large carnivore species (wolf, brown bear, and Eurasian lynx) in Slovenia live in human-dominated landscapes leading occasionally to negative interactions, [32].
To raise awareness and gain more knowledge regarding those issues among adolescents, teaching materials and general information about wolves were developed within the project SloWolf (Conservation and surveillance of the conservation status of the wolf (Canis lupus) population in Slovenia) [33]. These teaching materials were aligned with the upper secondary school biology curricula. In order to determine whether the teaching materials are appropriate for teachers’ use, we assessed their effect on the students’ attitudes to and knowledge about wolves in different learning contexts, i.e., the traditional teaching, teaching with hands-on experiences in school and teaching with hands-on experiences at the university.
A before/after-control/intervention group design with an intervention and a control group was implemented to study the effectiveness of learning and attitude change about wolves. Three conditions were compared: conventional lecture-based teaching at school (School condition—teacher-centered); practical teaching using the developed teaching materials at the respective school (School condition—practical); and a teaching sequence using teaching materials in an out-of-school setting (University condition). The latter two teaching approaches were identical in content and form of teaching except for the location (for a detailed description see the Materials and Methods section). The unique aspect of the present study is that the same teaching intervention was used in school and out-of-school to determine which teaching condition performs better, while retaining a quasi-control group taught by the conventional method (teacher-centered teaching). It should be noted that the latter teaching method is still prevailing in Slovenian schools.
The present study aimed to: (1) assess the general upper secondary school (Gimnazija) and vocational (veterinary) students’ attitudes and knowledge regarding wolves and (2) verify whether their attitudes and knowledge change as a consequence of attending practical workshops regarding wolves. Several independent variables were included in the data analysis, such as students’ gender, type of school, students’ place of residence (within constant, occasional, or no wolf presence area), having a hunter in the family, breeding sheep/goats, and encountering a live wolf in nature. These variables were assessed within pre-test analysis.
Hypothesis 1.
Students’ learning achievement regarding wolves is higher after treatment. This applies to all studied conditions (1a), although the highest effect is expected within a university setting (1b).
Hypothesis 2.
Students’ attitudes are more positive after treatment (2a). This applies to all studied conditions, although the highest effect is expected within a university setting (2b).
Hypothesis 3.
Differential variables account for variance in the post-test scores, for example, the amount of knowledge, gender, study program, having a hunter in the family, breeding sheep/goats at home, and encountering a live wolf in nature will affect students’ attitude ratings before any teaching will take place (3a). We predict that considerable differences in the students’ attitude ratings will be found for the following variables: amount of knowledge and the study program.
Hypothesis 4.
The study program will produce the greatest differences in the amount of knowledge as the students from veterinary profession learn about dogs either within their study program, or possess more knowledge than their counterparts due to their interest in animal biology.

2. Materials and Methods

2.1. Sample

The initial sample consisted of 331 students from two schools. Only the students who participated in the pre- and post-testing and during teaching were included in the final sample (N = 302). Students were evenly distributed across two schools. The sample was composed of 187 (61.9%) students from general upper secondary school (Gimnazija - GUP) and 115 (38.1%) students from vocational upper secondary school (VUP) (Age: MGUP = 16.33, SD = 0.94; MVUP = 16.16, SD = 0.77). It included 43.4% of male and 56.6% of female students. The majority of the students lived outside the wolf occurrence (70.9%), 19.5% within occasional wolf occurrence and only 7.3% within constant wolf occurrence.
Prior to the study, the teachers were informed about the teaching material that was especially developed for this purpose. The teachers were invited to attend the workshop, where the teaching materials were presented (Figure 1). The two schools and their biology teachers were then informed about the need for a student sample for testing the materials in practice. The testing took place from the middle to the end of the year 2013. The students’ participation was voluntary and the results did not affect their grades. Since the testing was anonymous and the study was of educational nature, the ethical approval in Slovenia was not needed. The inclusion criteria required that the students were not given any other lessons about large carnivores prior to or during the intervention.

2.2. SloWolf Project and Preparation of Teaching Materials

The goal of the SloWolf project was the long-term conservation of the wolf population, its main prey and habitats in Slovenia, and improvement of their coexistence with humans [34]. The project included also the preparation of the teaching manual [35]. As the original version is in the Slovenian language, the content of teaching materials is presented in brief.
  • The lecture about wolves (biology of wolves, systematics, characteristics of wolves, wolf habitat, (social) behavior of wolves, status of wolves in Slovenia, howling, winter tracking, telemetry, CMR—capture mark recapture method, molecular genetics (STR—short tandem repeats analysis), wolf conservation, ecological importance of wolves and misconceptions about wolves.
  • Practical work using realia (skulls, fur and footprints-casts) for learning about large carnivore anatomy and feeding.
  • Non-invasive genetic sampling-using molecular genetics techniques for DNA fingerprinting in order to estimate wolf population size and to study genetic relationships within and between wolf packs (STR analysis worksheet).
  • Estimating the wolf population size using CMR method (not included in the study).
  • Forming attitudes toward wolves through role-playing (i.e., environmentalist/conservation biologist, sheep breeder, hunter, politician) (just briefly covered in the discussion section of each lecture).
The development and preparation of teaching materials was financed through the SloWolf project. The evaluation of the teaching materials was conducted as part of the research activities at the Department of biology, Biotechnical faculty, University of Ljubljana.

2.3. Study Design

The study encompassed a pre-test, the teaching intervention and a post-test (Figure 2). As the purpose of the study was also to test which of the conditions, teacher-centered instruction, working at workstations or an out-of-school setting contributes most to the students’ knowledge about and attitude towards wolves, the sample was divided into three groups, [36,37]. The teacher-centered School condition and the workshop School condition groups were from the general upper secondary school (School 1). The University condition group of students was a mixed group of vocational and general upper secondary school students (School 2), who came to the university as separate groups. In order to avoid the teacher effect [38], all the students were taught by the same person, a pre-service teacher, experienced in conducting similar workshops and teaching in schools. The teacher-centered instruction was performed as a lecture about the wolf topics mentioned above, with the addition of a worksheet about non-invasive genetic sampling that the students had to complete. In a workstation setting at school and at the university, the students were first instructed about the tasks at individual workstation and then worked independently in groups, using worksheets. A different topic was presented at each station. When the allocated time (15 min) ended, the correctness of students’ notes and findings were discussed with the pre-service teacher. Similarly to the teacher-centered instruction, worksheets about non-invasive genetic sampling were distributed to students to complete. A short lecture followed on the topics not covered at the workstations. All the school teaching was incorporated into regular biology classes. Workshops at the university were implemented as part of a Science Day.

2.4. Measures

A questionnaire was developed to assess the students’ attitudes towards and knowledge about wolves. The first part of the questionnaire consisted of questions about the student’s socio-demographics. Attitudinal items that were selected for the present analysis inquired about the students’ (1) willingness to learn about wolves, (2) acceptance (fear) of wolves and (3) views regarding wolves’ conservation in Slovenia. The terms are similar to those frequently used also for different animals or animal groups, i.e., [19,39,40,41,42,43]. There were 12 attitudinal items included.
First, the principal component analyses (PCA) with oblimin rotation were conducted in order to assess whether the selected items would fit into different attitudinal dimension (principal component). Eigen values >1 were used for a final solution. PCA analysis was conducted for pre- and post-test questionnaire delivery. Since the item A12 (“Wolves should not be near human settlements.”) failed to load on any dimension in one of the initial PCA analyses, it was excluded from the final analyses. The final PCAs were conducted on the remaining 11 items. Kaiser–Meyer–Olkin (KMO) measure of the sampling adequacy test and Bartlett’s test for sphericity were used to assess the appropriateness of using PCA on this dataset. Critical KMO value of > 0.70 [44] and minimum loading of at least 0.40 were used [45].
In addition to exploratory analysis, a confirmatory factor analysis was also applied in both, pre- and post-test using AMOS 25 (SPSS, IBM Germany, Ehningen). In the first round, we fitted the pre-test data and then checked the same model with the post-test data. The model fit was based on several recommended criteria [46], the comparative fit index (CFI > 0.90), the Tucker–Lewis index (TLI > 0.90), the root mean square error of approximation (RMSEA < 0.06 was acceptable, between 0.08 and 0.10 was mediocre, and >0.10 was a poor fit) and the CMIN/df (minimum discrepancy divided by its degrees of freedom; which should be close to 2, but below 5).
The students’ knowledge of wolves was assessed by the third part of the questionnaire, using 12 true/false statements and nine multiple choice questions related to wolf biology and wolf conservation. For each question, a “Don’t know” option was added. Thus the students’ possibility of guessing was minimized. The summed score of correct answers (maximum = 21 points) was used either as a dependent or independent variable. The list of knowledge items can be found in [21].

2.5. Data Analysis

Raw data from the questionnaires were retyped into the computer program Microsoft Office Excel and later transferred to the program SPSS (SPSS, IBM Germany, Ehningen). First, the principal component analysis (PCA) and confirmatory factor analyses (CFA) were applied in order to reduce the number of attitudinal dependent variables, to extract meaningful principal components (PCs) and confirm the suitability of the factor structure.
Extracted PCs from attitude part of the questionnaire and summed knowledge scores were used as dependent variables, which were analyzed according to selected independent variables: gender, school, students’ place of residence (within constant, occasional, or no wolf presence area), having a hunter in the family, sheep/goat breeding, and encountering a live wolf in nature. Gender, school, and students’ place of residence were treated as fixed factors in General Linear Model (GLM) analysis, while knowledge was treated as a covariate. Due to the small number of students that reported having a hunter in the family, breeding sheep/goats and encountering a live wolf in nature, those variables were not included in GLM analysis. Summed knowledge score was also used to categorize students to low, middle, and high achievers (low achievers summed score < M – 1SD; middle achievers summed score within M ± 1SD and high achievers summed score > M + 1SD) and those categories were used to compare the students’ attitude scores according to their achievement. All statistical procedures were conducted using SPSS 20.0 software and AMOS 25 (SPSS, IBM Germany, Ehningen).

3. Results

The results are presented in three parts. In the first part, the results of Exploratory and Confirmatory Factor Analyses are displayed. They are followed by the results of the analyses of the students’ attitudes and knowledge on pre-test according to the selected independent variables. The third part of the results reveals the effect of different teaching conditions on students’ attitudes and knowledge.

3.1. Results of Exploratory and Confirmatory Factor Analyses Regarding Attitudes

The results of both PCA analyses are presented in Table 1. Both pre- and post-test Kaiser–Meyer–Olkin measure of the sampling adequacy test and Bartlett’s test for sphericity show the appropriateness of using PCA on this dataset. The KMO values exceeded the critical value of 0.70 and item loadings > 0.40 were found. PC I was named “Learning”, PC II “Acceptance (fear)”, and PC III “Conservation”. Cronbach αs for the total scale were 0.85, both for pre and post-testing. Also, Cronbach αs were satisfactory for the first two PCs (both above 0.69). Cronbach α for PC III was low, ranging from 0.60 to 0.66. Its eigenvalue on a pre-test according to parallel analysis was lower than the corresponding random eigenvalue (1.15), however, its eigenvalue on post-test was above the corresponding random eigenvalue. Lower scores on the “Acceptance (fear)”–dimension present more negative attitude due to the reversed negative wording items.
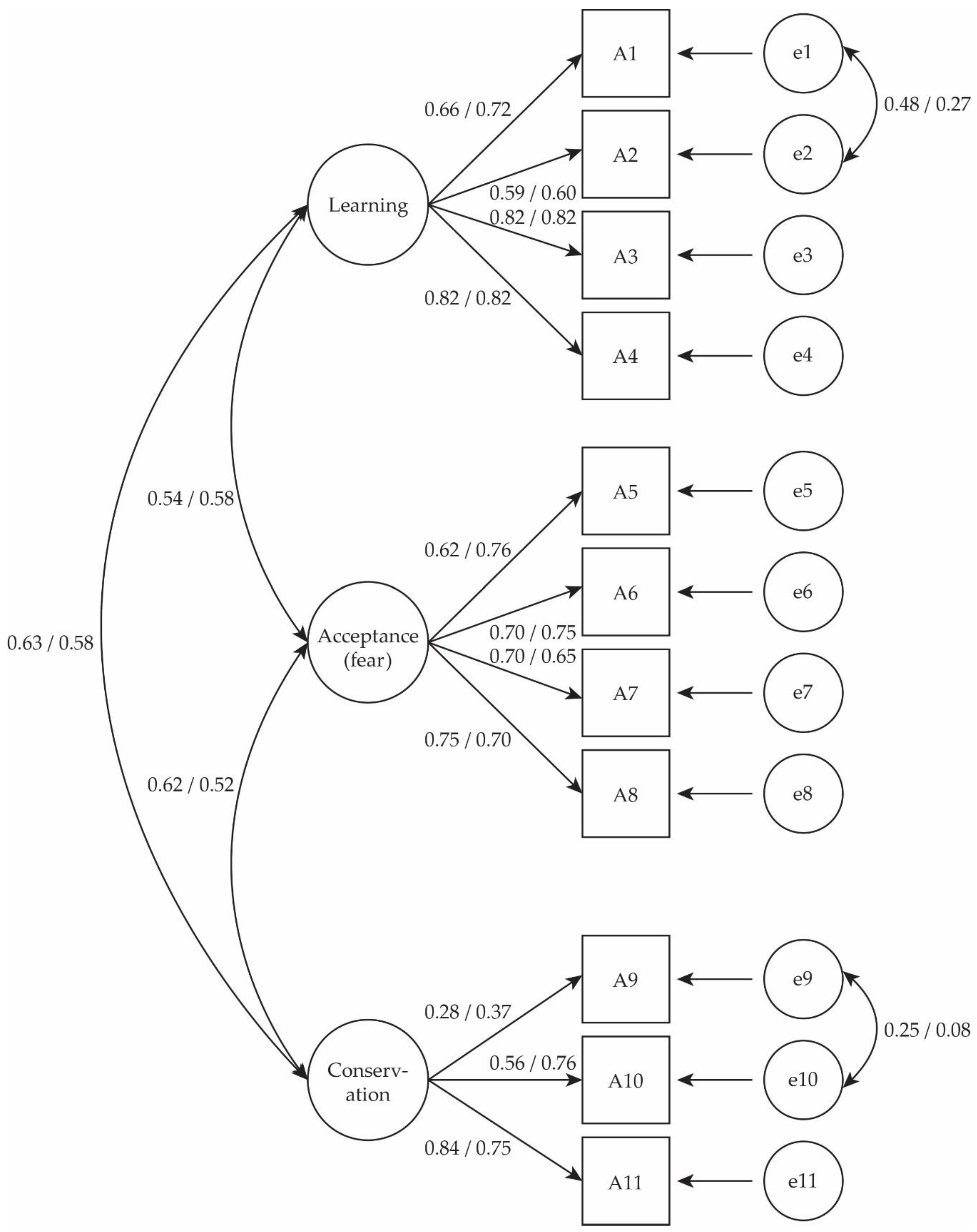
The posited three-factor structure of the model did not have an acceptable fit (Figure 3). Modification indices suggested to allow covariances between the error terms e1 and e2 and e9 and e10. Both were loading onto the same latent construct. After allowing these covariances in the pre-test, the model received acceptable fit values. CMIN/df was 2.697, TLI 0.922, CFI 0.945, and RMSEA was 0.075 (with 0.058 as lower and 0.093 as upper confidence limits). The post-test data already produced acceptable fits (CMIN/df = 3.299, TLI = 0.899, CFI = 0.924, and RMSEA = 0.087 (CI from 0.071 to 0.104)), but indices improved when the same structure was applied as in the pre-test (CMIN/df = 3.044, TLI = 0.910, CFI = 0.936, and RMSEA = 0.082 (95% CI from 0.066 to 0.100).

3.2. Students’ Attitudes and Knowledge on a Pre-Test

3.2.1. Results of GLM Multivariate Analysis

Variables that were included in GLM (multivariate) statistics: Knowledge as covariate, and as fixed factors: gender, school, and wolf presence (Table 2). Gender and wolf presence variables did not produce any significant effect on students’ attitude ratings. The effect was observed for Knowledge and School variables only. There were no interactions found between independent variables.

3.2.2. Differential Effects of Knowledge, Gender, School, and Wolf Presence

The results show that Knowledge had the greatest effect on students’ attitude ratings (Kruskal–Wallis; all p < 0.001; Figure 4a). School also had a great influence on students’ knowledge and attitudes (Mann–Whitney; all p < 0.001; Figure 4c). Gender and wolf presence did not affect the students’ achievement (Figure 4b, d). However, ratings related to gender affected students’ attitude ratings regarding “Learning” about animals, where female students were more interested in learning about wolves than male students (Mann–Whitney: Z = 2.18, p = 0.029; Figure 4b). Statistically significant differences in students’ attitude ratings related to wolf presence were found in two attitudinal dimensions, “Learning” about animals and “Acceptance (fear)” of animals (Figure 4d). Thus, the students who live within persistent/permanent wolf home ranges displayed the most positive attitudes (Kruskal Wallis: χ2 = 9.12, df = 2, p = 0.010 and χ2 = 6.45, df = 2, p = 0.040, respectively).

3.2.3. Differential Effects of Having a Hunter in the Family, Breeding Sheep, and Experiencing Live Wolves in Nature

Variables that were excluded from the GLM analysis due to the small sample size were: “Do you have a hunter in your family?”, “Are you breeding sheep/goats at home?”, and “Have you ever seen a wolf in nature?”. Only 44 (14.6%) students reported having a hunter in the family, 13 (4.3%) reported that they are breeding sheep at home and 18 (6.0%) reported seeing a wolf in nature. Only the students enrolled in the veterinary study program (n = 115) reported that they are sheep breeders at home (n = 13). For the latter variable, the achievement and attitude ratings only within this group was calculated. The students who confirmed the presence of a hunter in the family and seeing a wolf in nature were equally distributed among the general and vocational school sample and the statistics were calculated for the whole sample. Figure 5 shows students’ attitude ratings and knowledge scores for these variables. None of these variables affected the students’ achievement. There were only two statistically significant differences with the small effect size found in the students’ attitude ratings: in the students’ interest to learn about animals related to having a hunter in the family (Mann–Whitney: Z = 2.65, p = 0.008; Figure 5a) and the acceptance of wolves related to experiencing a live animal in nature (Mann–Whitney: Z = 2.59, p = 0.010; Figure 5c). Having a hunter in the family and experiencing a live wolf in nature positively affected students’ ratings.

3.3. Students’ Attitudes and Knowledge as a Result of Teaching

The results of different treatments/teaching situations had influenced the students’ attitudes and achievement (Figure 6). Students from the University group (School 2) displayed the most positive attitudes and the highest knowledge already at the pre-test. Similarly, the School lecture and the School workshop groups did not differ significantly in attitudes and knowledge neither in the pre- nor in the post-testing (Mann–Whitney; all p > 0.05). The differences were found between School lecture vs. University workshop groups and School workshop vs. University workshop groups (Mann–Whitney; all p < 0.01). The only variable that did not differ between pre- and post-testing within the same groups was the students’ willingness to learn about wolves. Their attitudes regarding the latter remained the same in all treatments (Figure 6a). On “Acceptance (fear)” attitudinal dimension, students of the School lecture and University workshop groups displayed more positive attitudes after the instruction (Figure 6b). Only the students of the School lecture group displayed more positive attitudes towards conservation of wolves in Slovenia (Figure 6c). Nevertheless, the students of all three groups displayed significantly higher learning achievement after the instruction (Figure 6d). The highest effect was recorded within the University workshop group of students.

4. Discussion

Attitudes and Knowledge before Treatment

In contrast to previous research [19,47,48,49], the present study showed no significant effect of gender on students’ attitudes in general. However, the relation between gender and attitude ratings was found only in regards to willingness to learn. Female students were slightly more interested to learn about wolves than males, which is consistent with previous research [21,50].
In contrast to the general belief that wolf presence arouses more negative attitudes in humans [14,15,23,24,51], the present study showed no relationship between living in a wolf area and general negative attitudes. Living in a wolf area positively affected students’ attitude ratings regarding willingness to learn and acceptance of wolves. The attitudes of the students who live in areas with constant wolf presence were the most positive. General beliefs or negative attitudes from wolf areas can be linked to negative direct experiences with wolves, such as damages to human property. However, Consorte-McCrea et al. [51] argued that direct experience with animals, in their case maned wolf (Chrysocyon brachyurus), in zoo settings (observing the animal) can influence attitudes positively even if the person’s previous direct experiences were negative. In spite of the fact that wolf presence was linked to only two attitudinal dimensions, the findings of the present research suggest great opportunity to work with younger generations in rural areas to enhance coexistence and wolf conservation for the future. Neither gender nor wolf presence influenced the students’ knowledge about wolves. It would be informative to evaluate other areas in Europe with wolf presence in this respect.
Results of the present research indicate that knowledge influences attitudes to a greater extent, which is consistent with previous research [21,48]. Students with the highest amount of knowledge expressed significantly more positive attitudes than their counterparts. Kellert [52] already proposed that education is one the most influencing factors regarding the formation of pro-environmental attitudes. When using knowledge as a prerequisite to more positive attitude formation, education activities should be planned carefully. Some authors [53] pointed out the importance of science knowledge. According to their findings, factual knowledge may lead to more public support for science and technology topics. On the contrary, subjective knowledge may influence support negatively. Nevertheless, both knowledge dimensions in their study influenced attention to the media reports positively. The impact of subjective dimension was even more significant. Not just the attention to the media reports, also attention to the learning topics may be influenced by different knowledge dimensions. Topics of wolves, as charismatic and also predator species, can quickly capture the students’ attention. Nevertheless, the support of wolves and their conservation can be influenced either positively or negatively by the students’ previous subjective knowledge. Røskaft et al. [54] argued that insufficient knowledge regarding wolf ecology end ethology can influence attitudes negatively. Along with the previously mentioned learning topics, learning about proper human behavior [55] and practices regarding wolf damage prevention [56] should be considered.
Besides knowledge, the students’ attitudes were significantly influenced by the school type as well. The type of school had an impact not only on attitudes but also on the amount of knowledge. The students from School 2 came from veterinary and general upper secondary study programs and did not differ in knowledge and attitudes. It can be concluded that the latter students might have been influenced by the other (veterinary) school programs from the same school. Both groups of students were taught by the same teachers and met regularly, which could have led to knowledge transfer. The fact may be explained by the interests of students who decide to study in this type of school (Biotechnical center). The results show that students from School 2 possessed more knowledge than their counterparts from School 1. The findings of the previous research [21] highlighted extensive knowledge and support of students enrolled in such program regarding wolves. Correlation between educational background, knowledge, and attitudes was also corroborated by other research [48].
Other differential factors, such as having a hunter in the family, breeding sheep, and experiencing live wolf in nature, had no effect on the respondents’ learning achievement and had only lesser influence on attitudes. The students who reported having a hunter in the family, expressed more interest to learn about wolves. Research of hunters’ attitudes towards wolves can be contradictory. Some findings [23], present hunters’ attitudes as more positive than those of general public. Similar results were produced by the present research. The hunters in the respondents’ families can only encourage the students’ interest to learn if their attitudes regarding learning about wolves were also favorable.
Previous research [21] pointed out that having a hunter in the family results in participants’ lower fear of wolves. In the present research, this finding was not confirmed. The results indicate that seeing a wolf in nature raises more support for wolves. These findings coincide with favorable impact of direct experience on attitude formation [22]. However, further research should be undertaken to substantiate the statement that education is most effective when it is based on direct experience [2]. Future studies are also required to determine the effect of sheep breeding in the family, and seeing a live wolf in nature. The present research established no relationship between breeding sheep at home and the respondents’ attitudes, which is contrary to the widespread general belief. Probably it may be due to the fact that the decision to breed sheep is made by the parents rather than by the adolescents themselves.

Attitudes and Knowledge after Treatment

The results indicate that the university workshop treatment was most effective, even if it was performed by the same teacher and the instructions were identical for the school setting. According to Williams and Williams [57], students’ motivation can also be improved by the change of learning environment, see also [35,36]. The difference may also be explained by the fact that the university group consisted mainly of veterinary technician school students, who expressed the most positive attitudes and the highest knowledge scores already before teaching. University workshop also significantly influenced the students’ acceptance of wolves as their fear after the treatment was reduced, which is consistent with the model of Cognitive vulnerability [58]. The school lectures and teacher-centered treatment also influenced the students’ attitudes regarding acceptance of wolves, but the effects were not as significant as the ones of the university workshop. It needs to be pointed out that only school lecture treatment influenced the students’ attitudes regarding wolf conservation and changed them into slightly more positive. Students from this group expressed the most favorable attitudes regarding conservation already in the pre-test. The result may be the consequence of the ceiling effect [45]. Nevertheless, all the treatments influenced the students’ knowledge. All of them demonstrated significantly more knowledge regarding wolves in the post-test. Surprisingly, none of the treatments influenced attitudes regarding interest to learn. No more willingness to learn about wolves was detected among respondents after the different type of treatment. If the observation of living wolves were included in the instructions (i.e., zoo visit), we could have expected a shift in interest to learn about the species, since the presence of living animals arouses emotions and consequently higher motivation [27,28]. The present research indicates that living in an area with constant wolf presence positively correlates with interest to learn and acceptance of wolves. In addition, the relationship between seeing a wolf in nature and less fear and consequently more acceptance was noted. Both findings regarding wolf presence are contrary to the general beliefs i.e., [14,15,23,24,25,52,59]. Findings of the present study can serve as the orientation for educational programs’ planning. In order to make students more willing to learn, direct experience of wolves and their natural habitats should be considered.

5. Conclusions

The findings of the present research showed that knowledge regarding wolves was higher after the treatment. As predicted, the highest achievement was observed among the University groups (aligning with Hypothesis 1) due to the novel learning environment or students’ educational background. Contrary to our expectations, the students’ attitudes were not more positive in all dimensions after treatment. This finding can be explained by different instruction design (treatment). Instructions in the future should encompass direct experiences of wolves to arouse the students’ interest to learn. The highest attitude change after the treatment was recorded for the University workshop, as predicted in Hypothesis 2. The results indicate that knowledge and the study program are the strongest influencing factors regarding attitudes (aligning with Hypothesis 3). Other factors, i.e., gender, having a hunter in the family, breeding livestock, and direct experiences with wolf in nature, have no such strong effect on students’ attitudes. Gender and having a hunter in the family generate more interest to learn. Observing a wolf in nature was linked with less fear and consequently better acceptance of the species. Breeding livestock was the only factor with no effect on the students’ attitudes, but it must be noted that these results are based only on part of the sample. In future research, a larger sample to explore the effect of this factor is needed. As predicted (Hypothesis 4), the study program produced the highest differences regarding the knowledge of wolves. The students from veterinary technician study program were more knowledgeable than their counterparts from the general upper secondary school program. However, it is not certain whether this is a result of learning in different schools or that of students’ knowledge and their interests for enrolment in vocational or general schools.
The present study highlights the importance of the students’ knowledge and their educational background in regards to wolf conservation issues. In contrast to the general belief, the study results indicate that female students were more willing to learn about wolves. Other factors that should also be considered in educational programs include hunters’ influence on students’ motivation to learn and observing wolves to mitigate the students’ fear. The authors urge that future research also focuses on students’ attitudes regarding livestock breeding family background. Finally, the present study foregrounds the effectiveness of the student-centered instruction regarding wolf conservation issues and should be considered when planning teaching interventions in species conservation and management actions. Also, when educating the general public we consider these practical methods as more appropriate than simple lectures.

Author Contributions

Conceptualization, all authors; methodology, all authors; software, C.R. and I.T.; validation, C.R. and I.T.; formal analysis, C.R., I.T., and V.O.; investigation, D.N. and V.O.; resources, C.R. and I.T.; data curation, V.O.; I.T.; writing—original draft preparation, V.O. and I.T.; writing—review and editing, all authors; visualization, I.T.; supervision, C.R. and I.T.

Funding

This research received no formal external funding. Christoph Randler is supported by the Gips-Schüle Stiftung. The funder had no influence on the research and the decision to publish. We also acknowledge the support by Deutsche Forschungsgemeinschaft and Open Access Publishing Fund of University of Tübingen.

Acknowledgments

The authors wish to thank Tina Levec for correcting the English and students for their participation in the research.

Conflicts of Interest

The authors declare no conflict of interest.

References

  1. Ramírez, F.; Santana, J. Environmental Education and Biodiversity Conservation. In Environmental Education and Ecotourism; Springer Briefs in Environmental Science; Springer: Cham, Switzerland, 2019; pp. 7–11. [Google Scholar] [CrossRef]
  2. Trombulak, S.C.; Omland, K.S.; Robinson, J.A.; Lusk, J.J.; Fleischner, T.L.; Brown, G.; Domroese, M. Principles of conservation biology: Recommended guidelines for conservation literacy from the education committee of the society for conservation biology. Conserv. Biol. 2004, 18, 1180–1190. [Google Scholar] [CrossRef]
  3. Chapron, G.; Kaczensky, P.; Linnell, J.D.C.; von Arx, M.; Huber, D.; Andrén, H.; Adamec, M.; Álvares, F.; Anders, O.; Balčiauskas, L.; et al. Recovery of large carnivores in Europe’s modern human dominated landscapes. Science 2014, 346, 1517–1519. [Google Scholar] [CrossRef] [PubMed]
  4. Dickman, A.; Marcini, S.; Manfredo, M. The importance of the human dimension in addressing conflict with large carnivores. In Key Topics in Conservation Biology; David, W., Macdonald, D.W., Willis, K.J., Eds.; Wiley-Blackwell: Hoboken, NJ, USA, 2013; pp. 112–126. [Google Scholar]
  5. Heberlein, T.A. Navigating environmental attitudes. Conserv. Biol. 2012, 26, 583–585. [Google Scholar] [CrossRef] [PubMed]
  6. Jerina, K.; Polaina, E.; Huber, Đ.; Reljić, S.; Bartol, M.; Skrbinšek, T.; Jonozovič, M. Reconstruction of Brown Bear Population Dynamics in SLOVENIA and Croatia for the Period 1998–2018; LIFE DINALP BEAR Project (LIFE13 NAT/SI/000550); University of Ljubljana: Ljubljana, Slovenija, 2018; 46p. [Google Scholar]
  7. Bartol, M.; Boljte, B.; Černe, R.; Jelenčič, M.; Jonozovič, M.; Konec, M.; Kos, I.; Kraševec, R.; Krofel, M.; Kuralt, Ž.; et al. Spremljanje Varstvenega Stanja Volkov v Sloveniji v Letih 2017/2020; Drugo delno poročilo—poročilo za sezono 2017/2018; Ministrstvo za Okolje in Proctor: Ljubljana, Slovenija, 2018; p. 25. [Google Scholar]
  8. Chandelier, M.; Steuckardt, A.; Matheveta, R.; Diwersy, S.; Gimenez, O. Content analysis of newspaper coverage of wolf recolonization in France using structural topic modeling. Biol. Conserv. 2018, 220, 254–261. [Google Scholar] [CrossRef]
  9. Kabir, M.; Hameed, S.; Ali, H.; Bosso, L.; Ud Din, J.; Bischof, R.; Redpath, S.; Ali Nawaz, M. Habitat Suitability and Movement Corridors of Grey Wolf (Canis lupus) in Northern Pakistan. PLoS ONE 2017, 12, e0187027. [Google Scholar] [CrossRef]
  10. Karamanlidis, A.A.; de Gabriel Hernando, M.; Georgiadis, L.; Kusak, J. Activity, movement, home range and habitat use of an adult gray wolf in a Mediterranean landscape of northern Greece. Mammalia 2017, 81, 95–99. [Google Scholar] [CrossRef]
  11. Kos, I.; Koren, I.; Potočnik, H.; Krofel, M. Status and distribution of Eurasian lynx (Lynx lynx) in Slovenia from 2005 to 2009. Acta Biol. Slov. 2012, 55, 49–63. [Google Scholar]
  12. Sindičić, M.; Polanc, P.; Gomerčić, T.; Jelenčič, M.; Huber, Đ.; Trontelj, T.; Skrbinšek, T. Genetic data confirm critical status of the reintroduced Dinaric population of Eurasian lynx. Conserv. Genet. 2013, 14, 1009–1018. [Google Scholar] [CrossRef]
  13. Skrbinšek, T.; Jelenčič, M.; Kos, I. Genetska Analiza Vzorcev Evrazijskih Risov (Lynx lynx) iz Izvorne Populacije v Slovaških Karpatih; Končno poročilo za Agencijo Republike Slovenije za okolje; Ljubljana, Univerza v Ljubljani, Biotehniška fakulteta, Oddelek za biologijo: Ljubljana, Slovenija, 2013; p. 10. [Google Scholar]
  14. Bjerke, T.; Reitan, O.; Kellert, S.R. Attitudes toward wolves in southeastern Norway. Soc. Nat. Resour. 1998, 11, 169–178. [Google Scholar] [CrossRef]
  15. Karlsson, J.; Sjöström, M. Human attitudes towards wolves, a matter of distance. Biol. Conserv. 2007, 137, 610–616. [Google Scholar] [CrossRef]
  16. Majić, A.; Bath, A.J. Changes in attitudes toward wolves in Croatia. Biol. Conserv. 2010, 14, 255–260. [Google Scholar] [CrossRef]
  17. Vittersø, J.; Kaltenborn, B.P.; Bjerke, T. Attachment to livestock and attitudes towards large carnivores among sheep farmers in Norway. Anthrozoös 1998, 11, 210–217. [Google Scholar] [CrossRef]
  18. Prokop, P.; Kubiatko, M. Bad wolf kills lovable rabbits: Children’s attitudes toward predator and prey. Electron. J. Sci. Educ. 2008, 12, 1–16. [Google Scholar]
  19. Prokop, P.; Tunnicliffe, S.D. Effects of keeping pets at home on children’s attitudes toward popular and unpopular animals. Anthrozoös 2010, 23, 21–35. [Google Scholar] [CrossRef]
  20. Skogen, K. Who’s afraid of the big, bad wolf? Young people’s responses to the conflicts over large carnivores in Eastern Norway. Rural Sociol. 2001, 66, 203–226. [Google Scholar] [CrossRef]
  21. Oražem, V.; Tomažič, I. The vocational upper secondary schools students’ knowledge and their attitudes toward wolves. J. Balt. Sci. Educ. 2018, 17, 918–934. [Google Scholar] [CrossRef]
  22. Tomažič, I. The Influence of Direct Experience on Students’ Attitudes To, and Knowledge about Amphibians. Acta Biol. Slov. 2008, 51, 39–49. [Google Scholar]
  23. Williams, C.K.; Ericsson, G.; Heberlein, T.A. A quantitative summary of attitudes toward wolves and their reintroduction (1972–2000). Wildl. Soc. Bull. 2002, 30, 575–584. [Google Scholar]
  24. Ericsson, G.; Heberlein, T.A. Attitudes of hunters, locals, and the general public in Sweden now that the wolves are back. Biol. Conserv. 2003, 111, 149–159. [Google Scholar] [CrossRef]
  25. Eriksson, M.; Sandström, C.; Ericsson, G. Direct experience and attitude change towards bears and wolves. Wildl. Biol. 2015, 21, 131–137. [Google Scholar] [CrossRef]
  26. Prokop, P.; Özel, M.; Uşak, M. Cross-cultural comparison of student attitudes toward snakes. Soc. Anim. 2009, 17, 224–240. [Google Scholar] [CrossRef]
  27. Sherwood, K.P., Jr.; Rallis, S.F.; Stone, J. Effects of live animals vs. preserved specimens on student learning. Zoo Biol. 1989, 8, 99–104. [Google Scholar] [CrossRef]
  28. Hummel, E.; Randler, C. Experiments with living animals—Effects on learning success, experimental competency and emotions. Procedia Soc. Behav. Sci. 2010, 2, 3823–3830. [Google Scholar] [CrossRef]
  29. Tomažič, I.; Hummel, E.; Schrenk, M.; Rupnik, T.; Randler, C. Cognitive and affective outcomes of teaching about poisonous and venomous animals. J. Biol. Educ. 2018. [Google Scholar] [CrossRef]
  30. Randler, C.; Hummel, E.; Prokop, P. Practical work at school reduces disgust and fear of unpopular animals. Soc. Anim. 2012, 20, 61–74. [Google Scholar] [CrossRef]
  31. Pudyatmoko, S.; Budiman, A.; Kristiansen, S. Towards sustainable coexistence: People and wild mammals in Baluran National Park, Indonesia. For. Policy Econ. 2018, 90, 151–159. [Google Scholar] [CrossRef]
  32. Mulej, J. Analysis of media publications on damage caused to property by large carnivores. Varst. Narave 2017, 30, 67–86. [Google Scholar]
  33. Tomažič, I.; Nagode, D. Volk kot Modelni Organizem za Pouk Biologije; Univerza v Ljubljani, Biotehniška Fakulteta: Ljubljana, Slovenija, 2013; ISBN 978-961-6379-24-3. [Google Scholar]
  34. SloWolf. Available online: http://www.volkovi.si/?page_id=1070 (accessed on 25 January 2019).
  35. SloWolf. Available online: http://www.volkovi.si/wp-content/uploads/2014/10/prirocnik_os_gim_volk_web.pdf (accessed on 25 January 2019).
  36. Wüst-Ackermann, P.; Vollmer, C.; Itzek-Greulich, H.; Randler, C. Invertebrate disgust reduction in and out of school and its effects on state intrinsic motivation. Palgrave Commun. 2018, 4, 1–26. [Google Scholar] [CrossRef]
  37. Wüst-Ackermann, P.; Vollmer, C.; Randler, C.; Itzek-Greulich, H. The Vivarium: Maximizing learning with living invertebrates—An out-of-school intervention is more effective than an equivalent lesson at school. Insects 2018, 9, 3. [Google Scholar] [CrossRef] [PubMed]
  38. Randler, C.; Bogner, F.X. Efficacy of two different instructional methods involving complex ecological content. Int. J. Sci. Math. Educ. 2009, 7, 315–337. [Google Scholar] [CrossRef]
  39. Thompson, T.L.; Mintzes, J.J. Cognitive structure and the affective domain: On knowing and feeling in biology. Int. J. Sci. Educ. 2002, 24, 645–660. [Google Scholar] [CrossRef]
  40. Prokop, P.; Usak, M.; Erdogan, M. Good predators in bad stories: Cross-cultural comparison of children’s attitudes toward wolves. J. Balt. Sci. Educ. 2011, 10, 229–242. [Google Scholar]
  41. Barney, E.C.; Mintzes, J.J.; Yen, F.-C. Assessing knowledge, attitudes, and behavior toward charismatic megafauna: The case of dolphins. J. Environ. Educ. 2005, 36, 41–55. [Google Scholar] [CrossRef]
  42. Lukas, K.E.; Ross, S.R. Zoo visitor knowledge and attitudes toward gorillas and chimpanzees. J. Environ. Educ. 2005, 36, 33–38. [Google Scholar]
  43. Tomažič, I.; Šorgo, A. Factors Affecting Students’ Attitudes Toward Toads. Eurasia J. Math. Sci. Technol. Educ. 2017, 13, 2505–2528. [Google Scholar] [CrossRef]
  44. Leech, N.L.; Barrett, K.C.; Morgan, G.A. SPSS for Intermediate Statistics: Use and Interpretation, 2nd ed.; Lawrence Erlbaum Associates: Mahwah, NY, USA, 2005. [Google Scholar]
  45. Tabachnick, B.G.; Fidell, L.S. Using Multivariate Statistics, 6th ed.; Pearson Education: Harlow, UK, 2014. [Google Scholar]
  46. Hu, L.T.; Bentler, P.M. Cutoff criteria for fit indexes in covariance structure analysis: Conventional criteria versus new alternatives. Struct. Equ. Model. Multidiscip. J. 1999, 6, 1–55. [Google Scholar] [CrossRef]
  47. Kellert, S.R.; Berry, J.K. Attitudes, knowledge, and behaviors toward wildlife as affected by gender. Wildl. Soc. Bull. 1987, 15, 363–371. [Google Scholar]
  48. Tikka, P.M.; Kuitunen, M.T.; Tynys, S.M. Effects of Educational Background on Students’ Attitudes, Activity Levels, and Knowledge Concerning the Environment. J. Environ. Educ. 2010, 31, 12–19. [Google Scholar] [CrossRef]
  49. Musila, S.; Prokop, P.; Gichuki, N. Knowledge and Perceptions of, and Attitudes to, Bats by People Living around Arabuko-Sokoke Forest, Malindi-Kenya. Anthrozoös 2018, 31, 247–262. [Google Scholar] [CrossRef]
  50. Glikman, J.A.; Vaske, J.J.; Bath, A.J.; Ciucci, P.; Boitani, L. Residents’ support for wolf and bear conservation: The moderating influence of knowledge. Eur. J. Wildl. Res. 2012, 5, 295–302. [Google Scholar] [CrossRef]
  51. Consorte-McCrea, A.; Nigbur, D.; Bath, A.J. Implications of teenagers’ attitudes towards maned wolf conservation in Brazil. Canid Biol. Conserv. 2016, 20, 16–24. [Google Scholar]
  52. Kellert, S.R. The Value of Life: Biological Diversity and Human Society; Island Press: Washington, DC, USA, 1996. [Google Scholar]
  53. Ho, S.S.; Looi, J.; Leong, A.D.; Leung, Y.W. Explicating Factual and Subjective Science Knowledge: Knowledge as a Mediator of News Attention and Attitudes. Asian J. Commun. 2019, 29, 73–91. [Google Scholar] [CrossRef]
  54. Røskaft, E.; Bjerke, T.; Kalternborn, B.; Linnell, J.D.C.; Andersen, R. Patterns of self-reported fear toward large carnivores among the Norwegian public. Evol. Hum. Behav. 2003, 24, 184–198. [Google Scholar] [CrossRef]
  55. Johansson, M.; Karlsson, J. Subjective experience of fear and the cognitive interpretation of large carnivores. Hum. Dimens. Wildl. 2011, 16, 15–29. [Google Scholar] [CrossRef]
  56. Kikvidze, Z.; Tevzadze, G. Loss of traditional knowledge aggravates wolf–human conflict in Georgia (Caucasus) in the wake of socio-economic change. AMBIO 2015, 44, 452–457. [Google Scholar] [CrossRef] [PubMed]
  57. Williams, K.C.; Williams, C.C. Five Key Ingredients for Improving Student Motivation. Res. High. Educ. J. 2011, 12, 1–23. [Google Scholar]
  58. Armfield, J.M. Cognitive vulnerability: A model of the etiology of fear. Clin. Psychol. Rev. 2006, 26, 746–768. [Google Scholar] [CrossRef] [PubMed]
  59. Treves, A.; Naughton-Treves, L.; Shelley, V. Longitudinal analysis of attitudes toward wolves. Conserv. Biol. 2013, 27, 315–323. [Google Scholar] [CrossRef] [PubMed]
Figure 1. Presenting teaching materials to teachers: (a) A lecture about wolves; (bd) Working at the individual workstation (footprints and casts, skulls, and fur; respectively).
Figure 1. Presenting teaching materials to teachers: (a) A lecture about wolves; (bd) Working at the individual workstation (footprints and casts, skulls, and fur; respectively).
Sustainability 11 01124 g001
Figure 2. Study design.
Figure 2. Study design.
Sustainability 11 01124 g002
Figure 3. The results of Confirmatory factor analyses. Left values on the arrows show pre-test and right values post-test results of confirmatory factor analyses (CFA).
Figure 3. The results of Confirmatory factor analyses. Left values on the arrows show pre-test and right values post-test results of confirmatory factor analyses (CFA).
Sustainability 11 01124 g003
Figure 4. The effect of: (a) students’ knowledge (achievement) on their attitude ratings; (b) gender, (c) school, and (d) wolf presence on students’ knowledge and attitude ratings.
Figure 4. The effect of: (a) students’ knowledge (achievement) on their attitude ratings; (b) gender, (c) school, and (d) wolf presence on students’ knowledge and attitude ratings.
Sustainability 11 01124 g004
Figure 5. The effect of: (a) having a hunter in the family, (b) breeding sheep/goats at home, and (c) having seen a live wolf in nature on students’ knowledge and attitudes.
Figure 5. The effect of: (a) having a hunter in the family, (b) breeding sheep/goats at home, and (c) having seen a live wolf in nature on students’ knowledge and attitudes.
Sustainability 11 01124 g005
Figure 6. The effect of different learning conditions on students’ attitudes and knowledge.
Figure 6. The effect of different learning conditions on students’ attitudes and knowledge.
Sustainability 11 01124 g006
Table 1. Principal component analysis with an oblimin rotation of items to the individual attitudinal dimension.
Table 1. Principal component analysis with an oblimin rotation of items to the individual attitudinal dimension.
ItemPre-Test PCsPost-Test PCs
IIIIIIIIIIII
Interest to learn
I would like to know how wolves evolved. (A02)0.851 0.868
I would like to learn about different habitats of wolves. (A01)0.829 0.769
I like to read about wolves. (A03)0.778 0.819
I like to watch popular science broadcasts about wolves. (A04)0.758 0.745
Harm – Acceptance
I would be afraid walking through the forest, if I knew that wolves lived there.* (A06) 0.905 0.831
I would camp only where there are no wolves.* (A07) 0.788 0.818
I am afraid of wolves.* (A05) 0.705 0.815
I would accept the wolf presence in forests near my neighborhood. (A08) 0.596 0.575
Conservation
There is no need to preserve wolves in Slovenia because they live elsewhere in Europe.* (A09) 0.801 0.718
In Slovenia, wolves should be preserved for future generations. (A10) 0.737 0.767
In Slovenia, wolves’ abundance should increase. (A11) 0.441 0.731
Kaiser–Meyer–Olkin (KMO)0.8440.843
Bartlett’s test for sphericityχ2 = 1202.74, df = 55,
p < 0.001
χ2 = 1257.57, df = 55,
p < 0.001
Cronbach’s α (for included 11 items on pre-test and post-test was 0.85)0.840.790.600.840.810.66
Eigenvalues4.391.651.114.491.511.22
Explained variance39.9514.9610.1040.8413.7111.07
Mean3.273.304.233.253.584.31
Standard deviation0.920.890.640.940.920.69
Note: * - reversed items; Principal component loadings over 0.40 are presented.
Table 2. General Linear Model (GLM) analysis of independent variables effect on students’ attitude ratings.
Table 2. General Linear Model (GLM) analysis of independent variables effect on students’ attitude ratings.
EffectWilks’ ΛFHypothesis dfError dfpPartial η2
Intercept0.294224.0563280.0< 0.0010.706
Knowledge0.69840.4483280.0< 0.0010.302
Gender0.9881.1643280.00.3240.012
School0.9633.6293280.00.0130.037
Wolf presence (home town)0.9761.1216560.00.3490.012

Share and Cite

MDPI and ACS Style

Oražem, V.; Tomažič, I.; Kos, I.; Nagode, D.; Randler, C. Wolves’ Conservation through Educational Workshops: Which Method Works Best? Sustainability 2019, 11, 1124. https://doi.org/10.3390/su11041124

AMA Style

Oražem V, Tomažič I, Kos I, Nagode D, Randler C. Wolves’ Conservation through Educational Workshops: Which Method Works Best? Sustainability. 2019; 11(4):1124. https://doi.org/10.3390/su11041124

Chicago/Turabian Style

Oražem, Vesna, Iztok Tomažič, Ivan Kos, Dolores Nagode, and Christoph Randler. 2019. "Wolves’ Conservation through Educational Workshops: Which Method Works Best?" Sustainability 11, no. 4: 1124. https://doi.org/10.3390/su11041124

APA Style

Oražem, V., Tomažič, I., Kos, I., Nagode, D., & Randler, C. (2019). Wolves’ Conservation through Educational Workshops: Which Method Works Best? Sustainability, 11(4), 1124. https://doi.org/10.3390/su11041124

Note that from the first issue of 2016, this journal uses article numbers instead of page numbers. See further details here.

Article Metrics

Back to TopTop