Photovoltaic Power Forecasting Based on EEMD and a Variable-Weight Combination Forecasting Model
Abstract
1. Introduction
2. PV Power Prediction Modelling Theory
2.1. EEMD
2.2. Method of the Optimal Weight Determination
2.3. Variable Weight Prediction Modelling
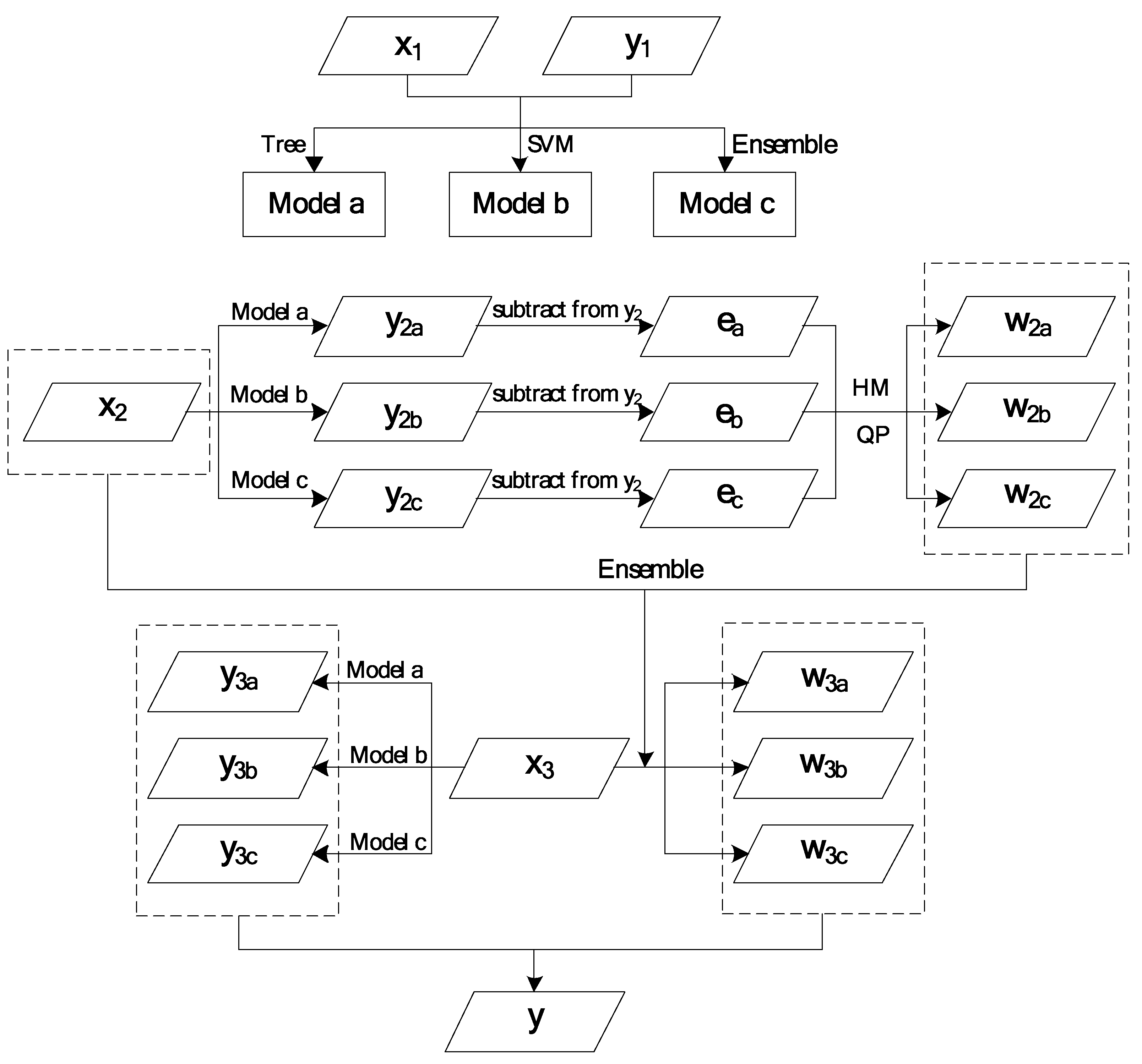
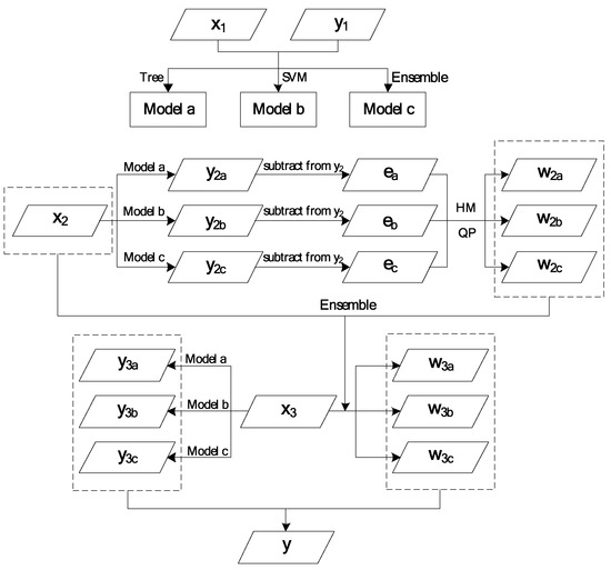
3. PV Power Prediction Modelling Based on EEMD and the Variable-Weight Combination Forecasting Model
3.1. Input Variable Selection
3.2. Modelling Procedure
3.3. Forecasting Results Evaluation
4. Empirical Analysis
4.1. Data Source and Parameter Initialization
4.2. EEMD and Variable Weight Combination Model
4.3. Comparison of the Models and Forecast Results
4.4. Discussion on the Effects of Input Variables
5. Conclusions
Author Contributions
Funding
Acknowledgments
Conflicts of Interest
References
- Singh, G.K. Solar power generation by PV (photovoltaic) technology: A review. Energy 2013, 53, 1–13. [Google Scholar] [CrossRef]
- Li, X.J.; Hui, D.; Lai, X.K. Battery energy storage station (BESS)-based smoothing control of photovoltaic (PV) and wind power generation fluctuations. IEEE Trans. Sustain. Energy 2013, 4, 464–473. [Google Scholar] [CrossRef]
- Nelson, D.B.; Nehrir, M.H.; Wang, C. Unit sizing and cost analysis of stand-alone hybrid wind/PV/fuel cell power generation systems. Renew. Energy 2006, 31, 1641–1656. [Google Scholar] [CrossRef]
- Kim, S.K.; Jeon, J.H.; Cho, C.H.; Kim, E.S.; Ahn, J.B. Modeling and simulation of a grid-connected PV generation system for electromagnetic transient analysis. Sol. Energy 2009, 83, 664–678. [Google Scholar] [CrossRef]
- Amirineni, S.S.T.; Morshed, M.J.; Fekih, A. Integral terminal sliding mode control for maximum power production in grid connected PV systems. In Proceedings of the 2016 IEEE Conference on Control Applications, Buenos Aires, Argentina, 19–22 September 2016. [Google Scholar]
- Ibrahim, D.K.; El Zahab, E.E.A.; Mostafa, S.A. New coordination approach to minimize the number of re-adjusted relays when adding DGs in interconnected power systems with a minimum value of fault current limiter. Int. J. Electr. Power Energy Syst. 2017, 85, 32–41. [Google Scholar] [CrossRef]
- Elmitwally, A.; Gouda, E.; Eladawy, S. Restoring recloser-fuse coordination by optimal fault current limiters planning in DG-integrated distribution systems. Int. J. Electr. Power Energy Syst. 2016, 77, 9–18. [Google Scholar] [CrossRef]
- Fani, B.; Hajimohammadi, F.; Moazzami, M.; Morshed, M.J. An adaptive current limiting strategy to prevent fuse-recloser miscoordination in PV-dominated distribution feeders. Electr. Power Syst. Res. 2018, 157, 177–186. [Google Scholar] [CrossRef]
- Jo, H.C.; Joo, S.K.; Lee, K. Optimal placement of superconducting fault current limiters (SFCLs) for protection of an electric power system with distributed generations (DGs). IEEE Trans. Appl. Supercond. 2013, 23, 5600304. [Google Scholar]
- Yang, H.T.; Huang, C.M.; Huang, Y.C.; Pai, Y.S. A weather-based hybrid method for 1-day ahead hourly forecasting of PV power output. IEEE Trans. Sustain. Energy 2014, 5, 917–926. [Google Scholar] [CrossRef]
- Raza, M.Q.; Nadarajah, M.; Ekanayake, C. On recent advances in PV output power forecast. Sol. Energy 2016, 136, 125–144. [Google Scholar] [CrossRef]
- Almeida, M.P.; Perpinan, O.; Narvarte, L. PV power forecast using a nonparametric PV model. Sol. Energy 2015, 115, 354–368. [Google Scholar] [CrossRef]
- Wu, Y.K.; Chen, C.R.; Rahman, H.A. A novel hybrid model for short-term forecasting in PV power generation. Int. J. Photoenergy 2014, 2014, 569249. [Google Scholar] [CrossRef]
- De Gooijer, J.G.; Hyndman, R.J. 25 years of time series forecasting. Int J. Forecast. 2006, 22, 443–473. [Google Scholar] [CrossRef]
- Khashei, M.; Bijari, M. A novel hybridization of artificial neural networks and ARIMA models for time series forecasting. Appl. Soft Comput. 2011, 11, 2664–2675. [Google Scholar] [CrossRef]
- Li, D.C.; Yeh, C.W.; Chen, C.C.; Wang, Y.T. A new grey prediction model for the return material authorization process in the TFT-LCD industry. Int. J. Adv. Manuf. Technol. 2018, 96, 2149–2160. [Google Scholar] [CrossRef]
- Kayacan, E.; Ulutas, B.; Kaynak, O. Grey system theory-based models in time series prediction. Expert Syst. Appl. 2010, 37, 1784–1789. [Google Scholar] [CrossRef]
- Quej, V.H.; Almorox, J.; Arnaldo, J.A.; Saito, L. ANFIS, SVM and ANN soft-computing techniques to estimate daily global solar radiation in a warm sub-humid environment. J. Atmos. Sol.-Terr. Phys. 2017, 155, 62–70. [Google Scholar] [CrossRef]
- Shamshirband, S.; Mohammadi, K.; Tong, C.W.; Zamani, M.; Motamedi, S.; Ch, S. A hybrid svm-ffa method for prediction of monthly mean global solar radiation. Theor. Appl. Climatol. 2016, 125, 53–65. [Google Scholar] [CrossRef]
- Ibrahim, I.A.; Khatib, T. A novel hybrid model for hourly global solar radiation prediction using random forests technique and firefly algorithm. Energy Convers. Manag. 2017, 138, 413–425. [Google Scholar] [CrossRef]
- Sun, H.W.; Gui, D.W.; Yan, B.W.; Liu, Y.; Liao, W.H.; Zhu, Y.; Lu, C.W.; Zhao, N. Assessing the potential of random forest method for estimating solar radiation using air pollution index. Energy Convers. Manag. 2016, 119, 121–129. [Google Scholar] [CrossRef]
- Ibarra-Berastegi, G.; Saenz, J.; Esnaola, G.; Ezcurra, A.; Ulazia, A. Short-term forecasting of the wave energy flux: Analogues, random forests, and physics-based models. Ocean Eng. 2015, 104, 530–539. [Google Scholar] [CrossRef]
- Senjyu, T.; Toyama, H.; Areekul, P.; Chakraborty, S.; Yona, A.; Urasaki, N.; Funabashi, T. Next-day peak electricity price forecasting using NN based on rough sets theory. IEEJ Trans. Electr. Electron. Eng. 2009, 4, 618–624. [Google Scholar] [CrossRef]
- Wang, F.; Mi, Z.Q.; Su, S.; Zhao, H.S. Short-term solar irradiance forecasting model based on artificial neural network using statistical feature parameters. Energies 2012, 5, 1355–1370. [Google Scholar] [CrossRef]
- Wang, D.; Borthwick, A.G.; He, H.D.; Wang, Y.K.; Zhu, J.Y.; Lu, Y.; Xu, P.C.; Zeng, X.K.; Wu, J.C.; Wang, L.C.; et al. A hybrid wavelet de-noising and rank-set pair analysis approach for forecasting hydro-meteorological time series. Environ. Res. 2018, 160, 269–281. [Google Scholar] [CrossRef] [PubMed]
- Liu, D.; Niu, D.X.; Wang, H.; Fan, L.L. Short-term wind speed forecasting using wavelet transform and support vector machines optimized by genetic algorithm. Renew. Energy 2014, 62, 592–597. [Google Scholar] [CrossRef]
- Emmanuel, M.; Rayudu, R.; Welch, I. Impacts of power factor control schemes in time series power flow analysis for centralized PV plants using wavelet variability model. IEEE Trans. Ind. Inform. 2017, 13, 3185–3194. [Google Scholar] [CrossRef]
- Liu, D.; Wang, J.L.; Wang, H. Short-term wind speed forecasting based on spectral clustering and optimised echo state networks. Renew. Energy 2015, 78, 599–608. [Google Scholar] [CrossRef]
- Li, F.F.; Wang, S.Y.; Wei, J.H. Long term rolling prediction model for solar radiation combining empirical mode decomposition (emd) and artificial neural network (ann) techniques. J. Renew. Sustain. Energy 2018, 10, 013704. [Google Scholar] [CrossRef]
- Guo, Z.H.; Zhao, W.G.; Lu, H.Y.; Wang, J.Z. Multi-step forecasting for wind speed using a modified emd-based artificial neural network model. Renew. Energy 2012, 37, 241–249. [Google Scholar] [CrossRef]
- He, K.J.; Zha, R.; Wu, J.; Lai, K.K. Multivariate emd-based modeling and forecasting of crude oil price. Sustainability 2016, 8, 387. [Google Scholar] [CrossRef]
- Wang, W.C.; Chau, K.W.; Xu, D.M.; Chen, X.Y. Improving forecasting accuracy of annual runoff time series using ARIMA based on EEMD decomposition. Water Resour. Manag. 2015, 29, 2655–2675. [Google Scholar] [CrossRef]
- Liu, Z.G.; Sun, W.L.; Zeng, J.J. A new short-term load forecasting method of power system based on EEMD and SS-PSO. Neural Comput. Appl. 2014, 24, 973–983. [Google Scholar] [CrossRef]
- Ouyang, Q.; Lu, W.X.; Xin, X.; Zhang, Y.; Cheng, W.G.; Yu, T. Monthly rainfall forecasting using EEMD-SVR based on phase-space reconstruction. Water Resour. Manag. 2016, 30, 2311–2325. [Google Scholar] [CrossRef]
- Li, T.Y.; Zhou, M.; Guo, C.Q.; Luo, M.; Wu, J.; Pan, F.; Tao, Q.Y.; He, T. Forecasting crude oil price using EEMD and RVM with adaptive pso-based kernels. Energies 2016, 9, 1014. [Google Scholar] [CrossRef]
- Yu, M.; Wang, B.; Zhang, L.L.; Chen, X. Wind speed forecasting based on EEMD and ARIMA. In Proceedings of the 2015 Chinese Automation Congress (CAC), Wuhan, China, 27–29 November 2015; pp. 1299–1302. [Google Scholar]
- Zhang, N.N.; Lin, A.J.; Shang, P.J. Multidimensional k-nearest neighbor model based on EEMD for financial time series forecasting. Phys. A Stat. Mech. Its Appl. 2017, 477, 161–173. [Google Scholar] [CrossRef]
- Li, H.M.; Wang, J.Z.; Lu, H.Y.; Guo, Z.H. Research and application of a combined model based on variable weight for short term wind speed forecasting. Renew. Energy 2018, 116, 669–684. [Google Scholar] [CrossRef]
- Song, J.J.; Wang, J.Z.; Lu, H.Y. A novel combined model based on advanced optimization algorithm for short-term wind speed forecasting. Appl. Energy 2018, 215, 643–658. [Google Scholar] [CrossRef]
- Zhang, F.Y.; Dong, Y.Q.; Zhang, K.Q. A novel combined model based on an artificial intelligence algorithm—A case study on wind speed forecasting in Penglai, China. Sustainability 2016, 8, 555. [Google Scholar] [CrossRef]
- Jiang, P.; Li, C. Research and application of an innovative combined model based on a modified optimization algorithm for wind speed forecasting. Measurement 2018, 124, 395–412. [Google Scholar] [CrossRef]
- Jiang, A.H.; Mei, C.; E, J.Q.; Shi, Z.M. Nonlinear combined forecasting model based on fuzzy adaptive variable weight and its application. J. Cent. South. Univ. Technol. 2010, 17, 863–867. [Google Scholar] [CrossRef]
- Li, L.H.; Mu, C.Y.; Ding, S.H.; Wang, Z.; Mo, R.Y.; Song, Y.F. A robust weighted combination forecasting method based on forecast model filtering and adaptive variable weight determination. Energies 2016, 9, 20. [Google Scholar] [CrossRef]
- Li, W.; Xie, H. Geometrical variable weights buffer gm(1,1) model and its application in forecasting of China’s energy consumption. J. Appl. Math. 2014, 2014, 131432. [Google Scholar] [CrossRef]
- Kaldellis, J.K.; Kapsali, M.; Kavadias, K.A. Temperature and wind speed impact on the efficiency of PV installations. Experience obtained from outdoor measurements in Greece. Renew. Energy 2014, 66, 612–624. [Google Scholar] [CrossRef]





| Model | MAE | MSE |
|---|---|---|
| TREE | 0.0761 | 0.0199 |
| EEMD + TREE | 0.0682 | 0.0114 |
| EEMD + VWCF (QP) | 0.0697 | 0.0123 |
| EEMD + VWCF (HM) | 0.0622 | 0.0107 |
| Model | MAE | MSE |
|---|---|---|
| Random Forest | 0.0833 | 0.0140 |
| Back Propagation (BP) Neural Network | 0.0816 | 0.0157 |
| EMD + TREE | 0.0713 | 0.0130 |
| EMD + VWCF (HM) | 0.0684 | 0.0127 |
| EEMD + VWCF (HM) | 0.0622 | 0.0107 |
| MAE of Different States | QP | HM |
|---|---|---|
| Optimal forecasting of LF | 0.0192 | 0.0267 |
| Last forecasting of LF | 0.0308 | 0.0313 |
| Optimal forecasting of MF | 0.0278 | 0.0381 |
| Last forecasting of MF | 0.0544 | 0.0556 |
| Optimal forecasting of HF | 0.0287 | 0.0460 |
| Last forecasting of HF | 0.0723 | 0.0717 |
| Last forecasting | 0.0697 | 0.0622 |
| MAE | 6 Variables | 13 Variables |
|---|---|---|
| TREE | 0.0761 | 0.0900 |
| EEMD + TREE | 0.0682 | 0.0826 |
| EEMD + VWCF (HM) | 0.0622 | 0.0773 |
© 2018 by the authors. Licensee MDPI, Basel, Switzerland. This article is an open access article distributed under the terms and conditions of the Creative Commons Attribution (CC BY) license (http://creativecommons.org/licenses/by/4.0/).
Share and Cite
Wang, H.; Sun, J.; Wang, W. Photovoltaic Power Forecasting Based on EEMD and a Variable-Weight Combination Forecasting Model. Sustainability 2018, 10, 2627. https://doi.org/10.3390/su10082627
Wang H, Sun J, Wang W. Photovoltaic Power Forecasting Based on EEMD and a Variable-Weight Combination Forecasting Model. Sustainability. 2018; 10(8):2627. https://doi.org/10.3390/su10082627
Chicago/Turabian StyleWang, Hui, Jianbo Sun, and Weijun Wang. 2018. "Photovoltaic Power Forecasting Based on EEMD and a Variable-Weight Combination Forecasting Model" Sustainability 10, no. 8: 2627. https://doi.org/10.3390/su10082627
APA StyleWang, H., Sun, J., & Wang, W. (2018). Photovoltaic Power Forecasting Based on EEMD and a Variable-Weight Combination Forecasting Model. Sustainability, 10(8), 2627. https://doi.org/10.3390/su10082627
