Abstract
The aim of this study was to determine the correlation between the external friction angle of cereal kernels and the roughness of a steel friction plate. The experiment was performed on the kernels of five principal cereals: wheat, rye, barley, oats, and triticale. Flat seed units composed of three spaced kernels joined by adhesive tape were analyzed in each experimental variant. The external friction angle of flat seed units was determined on nine steel friction plates with different roughness. Measurements were performed in three replications with a photosensor device which registered the external friction angle of cereal kernels. On friction plates with surface roughness Ra = 0.36 to Ra = 6.72, the average values of the angle of external friction ranged from 17.56° in rye kernels to 34.01° in oat kernels. The greatest similarities in the angle of external friction were observed between wheat and triticale kernels, whereas the greatest differences were noted between barley and oat kernels and between barley and triticale kernels. Friction plates made of ST3S steel should be characterized by the lowest surface roughness to minimize energy consumption during grain processing. The optimal surface roughness of steel friction plates was determined at Ra = 0.9.
1. Introduction
Cereals are a group of flowering grasses of the family Poaceae. The fruit of grasses are kernels, which are characterized by high starch content and are used in the production of foodstuffs and feedstuffs and in industrial processing. The main cereal-derived foods are flour, grits, oil, and syrup. Cereals play vital roles in many industries, including milling, distilling, brewing, and pharmaceutical processing. Cereal processing requires a thorough knowledge of the physical properties of seeds/kernels, including frictional properties which influence seed transport, proportioning, mixing, compaction, and processing [1,2,3,4,5,6,7].
Most industrial surfaces appear highly complex during microscopic observations. They are composed of irregular elements that differ significantly in height and distribution. In terms of geometry, technological surfaces are characterized by variations in shape, waviness, porosity, directional structure, and geometric defects. These features are collectively referred to as geometrical product specifications (GPS) [8]. When surface irregularities are classified based on wavelength, roughness is generally considered to be the high-wavelength component, waviness the medium-wavelength component, and porosity the short-wavelength component of a measured surface. In engineering practice, GPS are generally determined along the cross-sectional profile of a surface [8,9]. Several height and longitudinal parameters are used to characterize a surface in two-dimensional (2D) space, including Ra: arithmetical mean deviation of a profile, Rz: height of peaks at 10 points along a profile, Rt: total profile height, and Rq: root mean square of profile deviations [8,9,10]. Surfaces cannot be comprehensively described with the use of a single profile, which is why their irregularities are analyzed and registered in three-dimensional (3D) space. The following GPS parameters have been developed for surface evaluations: Sa: average roughness, Sp: maximum peak height, Sq: root mean square roughness, Sv: maximum valley depth, Ssk: skewness, etc. [9,11].
Surface roughness can be measured with the use of automated profilographs and microscopes or by comparing the analyzed surface against a reference material. In analyses that involve profilographs, the surface contour is copied by sliding the cutting head across the surface with constant speed. Textural variations are registered by a mechanical-optical system or an electronic system, and they are processed into parameters that collectively describe surface irregularities along the measured section. The cutting head should have a very small nose radius (the optimal range is 1.5 to 12.5 µm) and minimum test load (0.0004 to 0.06 N) to accurately render the profile. Optical measurements involve non-destructive tests where surfaces are analyzed with the use of light-emitting and light interference devices. These methods are generally rapid, but they reflect selected statistical properties of the analyzed surface; therefore, a suitable parametric model and advanced image analysis software are required for parametric analyses [8].
Friction is generally defined as a combination of phenomena that occur at the point of contact between two physical objects and result from the mutual movement of contacting surfaces. Friction causes moving objects to lose their energy, and their surfaces are deformed at the point of contact. In solids, surface deformation is caused mainly by the formation of grooves and abrasion [2,3]. Friction is difficult to explain, and several theories have been proposed to describe this phenomenon with varying degrees of precision. Three groups of theories have been postulated: mechanical, molecular, and mechanical/molecular. According to the most accurate theories, friction is a phenomenon with a dual mechanical and molecular nature [1,2,3,4,12]. The most recent theory of friction has been developed by Frączek [1], who postulated that friction force has three components: deformation, adhesion, and cohesion. According to Frączek, the deformation component is linked to changes in the shape of surface asperities that tug each other. Deformation is directly proportional to the applied load, and it is determined by the surface roughness and elasticity of the materials that form a friction pair and by the moisture content of plant materials. The adhesion component accounts for the contact between the surface layers of two physical objects, and its value is determined by sliding velocity, duration of frictional contact, and surface microhardness of plant material. Adhesion is a power function of load. The cohesion component is related to the mutual attraction between the molecules of a friction pair. It is determined by the real area of contact and the microhardness of plant material. Therefore, the proposed theory accounts for deformations caused by tugging between surface asperities and forces of attraction and cohesion between the surfaces that come into contact. It has been assumed that external friction is influenced by various properties of materials that form a friction pair. Similar interpretations of friction have been provided by Horabik [13], Molenda and Horabik [14], Afzalinia and Roberge [3], and Bakun-Mazor et al. [15].
According to the literature [1,3,4,7,12,13,15,16,17,18], the following parameters should be taken into account in descriptions of seed-processing operations: seed attributes (maturity, moisture content, species, variety, shape variations), properties of the friction plate (type of material, roughness parameters), friction conditions (seed orientation relative to the direction of movement, sliding distance, presence of normal load), and environmental conditions (air temperature and humidity).
Frączek [1], Molenda et al. [12], and Horabik [13] observed that the geometric structure of a surface and the roughness of biological materials influence the frictional properties of seeds. Despite the above, most researchers indicate only the type of structural materials, such as concrete, steel, or wood, without describing their manufacturing precision. For this reason, published data should be interpreted with caution because they do not account for differences in surface smoothness which influence adhesion.
The aim of this study was to determine the correlation between the external friction angle of the kernels of five cereal species and the roughness of a steel friction plate and to generate data for grain processing models.
2. Materials and Methods
2.1. Sample Preparation
The experiment was performed on the kernels of the five principal cereal species: wheat cv. Batuta, rye cv. Dańkowskie Diament, barley cv. Rataj, oat cv. Bingo, and triticale cv. Berenika. Grain was harvested in the Region of Warmia and Mazury in northern Poland. The kernels of each cereal species were separated from the threshed mass harvested in 2016 with a combined harvester. The obtained grain was stored in a closed container at room temperature (around 20 °C) for around 5 months. The relative moisture content of stored grain was determined on a drying scale with a MAX 5-/WH halogen lamp (Radwag Radom, Poland). The analyzed parameter was similar across the analyzed cereal species in the range of 9.5% to 10.2%.
Fifty kernels of each tested cereal species were selected by the survey sampling method [19], and their physical properties (basic dimensions and mass) were determined. Fifty flat seed units (Figure 1) were prepared for each experimental variant (nine friction plates). Each flat seed unit was composed of three spaced kernels that were placed on the friction plate with the crease down and joined with adhesive tape.
Figure 1.
Diagram of an “ideally flat seed unit” [20]: 1: adhesive tape; 2: kernel; L: kernel length.
2.2. Physical Properties
The length L and width W of each kernel were measured under an MWM 2325 workshop microscope (PZO Warszawa, Poland), kernel thickness T was measured with a dial test indicator (MasterTools, Kraków, Poland), and kernel mass m was determined on a WAA 100/C/2 laboratory weighing scale (Radwag Radom, Poland). The above measurements were performed according to the methodology described by Kaliniewicz et al. [21]. Each measurement of length L and width W was based on two readouts from the micrometer screw gauge, and the above parameters were determined to the nearest 0.02 mm. Kernel thickness T and kernel mass m were determined to the nearest 0.01 mm and 0.1 mg, respectively.
The dimensions of cereal kernels were used to determine the following parameters:
- geometric mean diameter D, aspect ratio R, and sphericity index Φ [22]:
- density ρ (on the assumption that kernel shape resembles an ellipsoid):
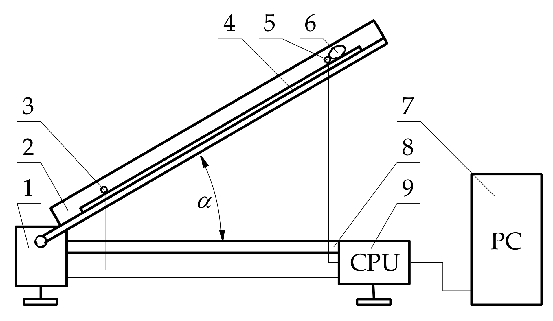
Flat seed units were used to measure the angle of external friction α of cereal kernels. The measurements were performed with a device equipped with photodetectors (Figure 2) [18,23]. Friction plates were attached to the arm of the testing device. The roughness parameters of friction plates were determined in 2D space with a Diavite DH-5 surface roughness tester (Bülach, Switzerland), and they are presented in Table 1. Flat seed units were placed on a horizontally inclined plate, just above the light level of the top photodetector. The adjustable arm was lifted with a constant angular velocity of 1.25°·s−1. When kernel motion was initiated, the light beam was interrupted and the arm was automatically paused. The angle of inclination was measured to the nearest 0.01°. Every flat seed unit was measured in three replications, and the results were used to calculate the average values. After the angle of external friction had been measured in five successive flat seed units, the plate was wiped with cotton wool saturated with petroleum ether (Chempur Piekary Śląskie, Piekary Śląskie, Poland) to remove cutin.
Figure 2.
Device for measuring the frictional properties of cereal kernels: 1: stepper motor; 2: adjustable arm; 3: bottom phototube; 4: friction plate; 5: top phototube; 6: kernel; 7: personal computer (PC); 8: base of inclined plane; 9: central processing unit (CPU) controller.
Table 1.
Structural parameters of steel friction plates.
2.3. Statistical Analysis
The measured angles of external friction were processed in Statistica PL v. 12.5 (StatSoft Polska Sp. z o.o., Crakow, Poland) at a significance level of α = 0.05. The differences between the measured angles of external friction were determined by one-way analysis of variance (ANOVA). The normality of each group was verified by the Shapiro–Wilk test, and the equality of variances was assessed with Levene’s test. Where the null hypothesis postulating equal average values of external friction angles was rejected, the significance of differences was determined and homogenous groups were identified with the use of Duncan’s test [24].
3. Results
3.1. Experimental Material
The physical parameters of kernels of the evaluated cereal species are presented in Table 2. The standard error of the mean did not exceed 0.3 mm in basic dimensions and 3 mg in mass. Average thickness was identical in wheat, barley, and triticale kernels, and it was similar in rye and oat kernels. Barley kernels were characterized by the greatest average width, and rye kernels by the smallest average width. The above results contributed to similar ratios between the mass and geometric mean diameter of kernels in these cereal species. Wheat kernels were shortest, and oat kernels were longest. As a result, wheat and oat kernels were also characterized by extreme average values of the aspect ratio and the sphericity index. The kernels of the analyzed cereal species were arranged in the following descending order based on their average density: wheat, triticale, rye, barley, and oats.
Table 2.
Physical parameters of kernels of the evaluated cereal species (mean value ± standard deviation).
3.2. Angle of External Friction
The angle of external friction of the evaluated cereal kernels (Table 3) ranged from 13.71° in rye to 44.92° in oats. The average angle of external friction ranged from 17.56° (rye kernels on a steel plate with surface roughness Ra = 0.90 μm) to 34.01° (oat kernels on a steel plate with surface roughness Ra = 6.72 µm). The standard error of the mean did not exceed 1.3°. The above results indicate that the angle of external friction is largely determined by the surface roughness of the steel plate. With the exception of wheat, the smallest angle of external friction was noted on a steel plate with surface roughness Ra = 0.90 μm. The difference between the largest and the smallest angle of external friction of cereal kernels on the evaluated steel plates ranged from 11.35° (barley) to 15.55° (rye). The differences in the average angles of external friction on the same steel plate were not significant. Similar observations were made in the analysis of variance, which supported the identification of homogeneous groups of external friction angles and where significant differences in the evaluated parameter were not noted between cereal species on any of the tested steel plates. Subject to plate roughness, the difference between the largest and the smallest angle of external friction ranged from 1.22° (steel plate with surface roughness Ra = 0.36 μm) to 5.46° (steel plate with surface roughness Ra = 6.72 μm).
Table 3.
Distribution of external friction angles of cereal kernels and significant differences between the angles.
3.3. Correlation between Plate Roughness and the Angle of External Friction of Cereal Kernels
Due to the similarities in the frictional properties of cereal kernels, one homogeneous group was created for further analyses. The changes in the external friction angle of kernels tested on plates with various surface roughness are presented in Figure 3. In general, the average angle of external friction increased with a rise in parameter Ra within the adopted range of plate roughness values. The above function cannot be described with a simple equation because the angle of external friction increased or decreased relative to the general change trend in selected points. Such characteristic points were the average values of the external friction angle on steel plates with surface roughness Ra = 0.47 μm (21.83°), Ra = 0.9 μm (18.37°), Ra = 3.7 μm (30.32°), and Ra = 4.78 μm (28.52°). The smallest variations in the values of external friction angles were observed on a steel plate with surface roughness Ra = 0.36 μm, and the greatest variations were noted on a plate with surface roughness Ra = 5.66 μm.
Figure 3.
Relationship between the angle of external friction of cereal kernels and surface roughness of a friction plate.
4. Discussion
The dimensions and mass of kernels of the analyzed cereal species did not differ significantly from the values given in the literature [25,26,27,28,29]. The kernels of wheat cv. Batuta resembled the kernels of wheat cv. Boroudeur [30], Korweta [25], Pehlivan [31], and Baekjoong and Keumkang [29]. In terms of physical properties, the kernels of rye cv. Dańkowskie Diament were similar to the kernels of rye cv. Dańkowskie Złote [25], and the kernels of barley cv. Rataj to the kernels of barley cv. Tiffany [26]. In view of the above, it can be assumed that kernel dimensions were within the range of intra-specific variations for the analyzed cereals; therefore, they could be regarded as representative of the tested material.
According to numerous authors, including Molenda et al. [12], Frączek [1], Horabik [13], Wiącek et al. [4], and Królczyk [7], moisture content significantly influences the frictional properties of kernels. Changes in moisture content induce changes in the surface properties of kernels and endosperm properties [27]. In this study, attempts were made to minimize the influence of moisture content by storing seeds in identical conditions for around 5 months. The greatest difference in the moisture content of wheat and barley grain was determined at 0.7 percentage points; therefore, it did not exert a significant effect on the measured values of the external friction angle.
The range of changes in the external friction angle of the analyzed kernels overlapped; therefore, a single cereal species that differed considerably from the remaining species could not be identified. The highest number of minimal values of the external friction angle was noted in rye kernels (on five steel plates), and the highest number of maximal values in wheat kernels (on four steel plates). Wheat kernels were most similar, and barley kernels were least similar to other cereal species in terms of their external friction angle. Therefore, wheat grain probably well-represents this group of seeds, and similar observations have been made by Molenda et al. [12]. Wheat and triticale kernels were most similar in terms of the analyzed parameter (no significant differences in seven out of nine cases). Significant differences were observed between barley and oat kernels and between barley and triticale kernels on every friction plate. The range of variations in the above parameter (17.56° to 34.01°) and the corresponding range of values of external friction coefficients (0.316 to 0.675) are similar to the values given in the literature [12,18,28,32,33,34,35].
The parameters of the friction plate significantly influence the external friction angle of cereal kernels. In general, the angle of external friction increases with a rise in plate roughness, which is partially consistent with the theory postulated by Frączek [1]. According to the cited author, structural materials are generally much harder than biological materials; therefore, their surface asperities are not deformed within a short period of time. When a friction plate comes into contact with cereal kernels, the asperities on the plate surface are embedded into the kernel surface and surface grooves are produced. Microprotrusions on plate surface produce “scratches”, cut asperity peaks, and chisel out fragments of biological material. Therefore, an increase in plate roughness increases the deformation component of the friction force, which increases the angle of external friction. If the remaining components of the friction force were constant values, the angle of external friction would be a linear function of plate roughness. In this experiment, a linear function was not observed because the friction force is also influenced by adhesion and cohesion components. According to many authors [1,12,13,36], adhesion has the greatest influence on friction. Molenda et al. [12] investigated the behavior of wheat kernels on friction plates with various roughness and observed a rapid decrease in the friction coefficient of kernels on a plate with the greatest roughness Rt = 11 μm, which approximates the roughness parameter Ra = 1.28 μm in this study. The highest value of the friction coefficient was reported on a friction plate with roughness Rt = 6 μm (which is equivalent to roughness parameter Ra = 0.90 μm). The above findings deviate significantly from the results of this study, not only in relation to wheat kernels, but also to the remaining cereal species. According to the cited authors, the observed differences in the friction coefficients of kernels could be attributed to the varied influence of physical phenomena on the angle of friction. Adhesion effects are predominant on smooth surfaces, whereas on rough surfaces, kernel surfaces are mechanically scarred by asperity peaks on friction plates. According to Królczyk [7], stored kernels have irregular surfaces with a predominance of grooves rather than protrusions. The asperity peaks of friction materials could become lodged in the grooves and determine the degree of contact between two materials. When motion is initiated, frictional connections are broken, kernel surfaces are scarred, and the number of these defects influences the ultimate value of a kernel’s friction angle. When surface asperities on the kernel and the friction plate become aligned, a minor shift in the kernel’s center of gravity can be observed towards or away from the friction plate, which will increase or decrease the cohesive component of the friction force, respectively. The alignment of surface asperities on the materials that form a friction pair changes the actual area of contact between the kernel and the friction plate, and this change is also reflected in the cohesive component of friction. The synergistic effects between surface asperities can be observed when plate roughness is Ra = 0.47 and Ra = 3.70, and the external friction angle of cereal seeds increases steeply at these points (Figure 3). Differences in the surface asperities of a friction plate and a seed are particularly manifested when plate roughness is Ra = 0.90, and they are less pronounced when plate roughness is Ra = 4.78. The average value of the external friction angle decreases in the above points. Friction plates with the above roughness parameters should be used to minimize seed resistance during transport and to reduce energy requirements. However, seeds transported in large-scale industrial processes wear down the friction plate and make it smoother over time, which also changes its frictional properties.
According to Frączek [1], surface asperities in cereal kernels are determined not only by species, but also by cultivar, and kernels with various surface roughness can be encountered within the same cultivar. In a detailed analysis of kernel surface roughness in 3D space, Królczyk [7] reported that significant differences in roughness parameters can be observed at different points on the surface of the same kernel. The above observation could explain the high variation in the external friction angle of cereal kernels on different friction plates as well as the overlapping values of the relevant changes on different friction plates.
5. Conclusions
The results of this study indicate that the parameters of a steel friction plate significantly influence the external friction angle of cereal kernels and that local disruptions are observed relative to the generally increasing change trend. The above applies to the grain of all cereal species, and local disruptions are noted in the same characteristic locations. The external friction angle of cereal kernels ranged from 17.56° (rye) to 34.01° (oats) on friction plates with roughness Ra = 0.36 μm to Ra = 6.72 μm, where the smallest angle was noted on a friction plate with roughness Ra = 0.90 μm, and the largest angle on a friction plate with roughness Ra = 5.66 μm.
Friction is a complex process with three components (deformation, adhesion, and cohesion), and the external friction angle of cereal kernels changes within a wide range of values even on the same friction plate. The difference between the largest and the smallest external friction angle of kernels on a given friction plate can be as high as 20°. The frictional properties of wheat kernels are relatively similar to those of other cereal species analyzed in this study; therefore, future research into the frictional properties of cereal kernels could be conducted solely on wheat kernels which well-represent the tested material.
Studies aiming to reduce the energy requirements of cereal processing should account for the type of structural material and the parameters of friction surfaces that come into direct contact with seeds. The frictional properties of surfaces can change over time, and this fact should be taken into account when calculating seed resistance during transport. The external friction angle of cereal kernels can change subject to the initial roughness of the friction plate.
Author Contributions
Zdzisław Kaliniewicz conceived and designed the experiment; Zbigniew Żuk performed the experiments; Zdzisław Kaliniewicz and Zbigniew Krzysiak analyzed the data; Zdzisław Kaliniewicz contributed materials/analysis tools; Zdzisław Kaliniewicz wrote the paper.
Conflicts of Interest
The authors declare no conflict of interest.
References
- Frączek, J. Tarcie Ziarnistych Materiałów Roślinnych [Friction of Granular Materials of Plant Origin]; Akademia Rolnicza: Cracow, Poland, 1999; pp. 1–114. ISSN 12334189. (In Polish) [Google Scholar]
- Frączek, J.; Kaczorowski, J.; Ślipek, Z.; Horabik, J.; Molenda, M. Standaryzacja Metod Pomiaru Właściwości Fizyko-Mechanicznych Roślinnych Materiałów Ziarnistych [Standardization of Methods for the Determination of the Physical and Mechanical Properties of Granular Plant Materials]; Acta Agrophysica: Lublin, Poland, 2003; pp. 1–160. ISSN 12344125. (In Polish) [Google Scholar]
- Afzalinia, S.; Roberge, M. Physical and mechanical properties of selected forage materials. Can. Biosyst. Eng. 2007, 49, 2–23. [Google Scholar]
- Wiącek, J.; Molenda, M.; Horabik, J. Mechanical Properties of Granular Agro-Materials. Cintinuum and Discrete Approach; Acta Agrophysica: Lublin, Poland, 2011; pp. 1–152. ISSN 12344125. [Google Scholar]
- Bridwater, J. Mixing powders and granular materials by mechanical means—A perspective. Particuology 2012, 10, 397–427. [Google Scholar] [CrossRef]
- Mahjoub, M.; Movahhed, S.; Chenarbon, H.A. Effective parameters on angle of repose, internal and external friction coefficient in two wheat varieties (Behrang and Shirudi). Int. J. Biosci. 2014, 5, 117–124. [Google Scholar] [CrossRef]
- Królczyk, J.B. Metrological changes in the surface morphology of cereal grains in the mixing process. Int. Agrophys. 2016, 30, 192–202. [Google Scholar] [CrossRef]
- Paczyński, P. Metrologia Techniczna. Przewodnik do Wykładów, Ćwiczeń i Laboratoriów [Technical Metrology. A Guide Book for Lectures and Workshops]; Wydawnictwo Politechniki Poznańskiej: Poznań, Poland, 2003; ISBN 8371435320. (In Polish) [Google Scholar]
- Dzierwa, A. Influence of light intensity in optical profilometer on measurement results of surface topography. Aparatura Badawcza i Dydaktyczna 2017, 4, 227–235. (In Polish) [Google Scholar]
- Polish Committee for Standardization. Specyfikacje Geometrii Wyrobów—Struktura Geometryczna powierzchni: Metoda profilowa—Terminy, Definicje i Parametry Struktury Geometrycznej Powierzchni [Geometrical Product Specifications—Geometric Structure of Surfaces: The Profile Method—Terms, Definitions and Parameters of Geometric Surface Structures]; Polish Committee for Standardization: Warsaw, Poland, 2010. (In Polish) [Google Scholar]
- Polish Committee for Standardization. Specyfikacje Geometrii Wyrobów (GPS)—Struktura Geometryczna Powierzchni: Przestrzenna—Część 2: Terminy, Definicje i Parametry Struktury Geometrycznej Powierzchni [Geometrical Product Specifications (GPS)—Geometric Structure of Surfaces—Part 2: Terms, Definitions and Parameters of Geometric Surface Structures]; Polish Committee for Standardization: Warsaw, Poland, 2010. [Google Scholar]
- Molenda, M.; Horabik, J.; Grochowicz, M.; Szot, B. Tarcie Ziarna Pszenicy [Friction of Wheat Grain]; Acta Agrophisica: Lublin, Poland, 1995; pp. 1–88. ISSN 12344125. (In Polish) [Google Scholar]
- Horabik, J. Charakterystyka Właściwości Fizycznych Roślinnych Materiałów Sypkich Istotnych w Procesach Składowania [Physical Attributes of Loose Plant Material Which Are Significant during Storage]; Acta Agrophysica: Lublin, Poland, 2001; pp. 1–128. ISSN 12344125. (In Polish) [Google Scholar]
- Molenda, M.; Horabik, J. On applicability of a direct shear test for strength estimation of cereal grain. Part. Part. Syst. Char. 2004, 21, 310–315. [Google Scholar] [CrossRef]
- Bakun-Mazor, D.; Hatzor, Y.H.; Glaser, S.D. Dynamic sliding of tetrahedral wedge: The role of interface friction. Int. J. Numer. Anal. Methods Geomech. 2012, 36, 327–343. [Google Scholar] [CrossRef]
- Sharobeem, Y.F. Apparent dynamic friction coefficients for grain crops. Misr J. Agric. Eng. 2007, 24, 557–574. [Google Scholar]
- Ibrahim, M.M. Determination of dynamic coefficient of friction for some materials for feed pellet under different values of pressure and temperature. Misr J. Agric. Eng. 2008, 25, 1389–1409. [Google Scholar]
- Kaliniewicz, Z.; Anders, A.; Markowski, P.; Jadwisieńczak, K.; Rawa, T. Influence of cereal seed orientation on external friction coefficients. Trans. ASABE 2016, 59, 1073–1081. [Google Scholar] [CrossRef]
- Greń, J. Statystyka Matematyczna. Modele i Zadania [Mathematical Statistics. Models and Tasks]; PWN: Warszawa, Poland, 1984; (In Polish). ISBN 830103699. [Google Scholar]
- Kaliniewicz, Z.; Rawa, T. Laboratorium z Maszyn Rolniczych [Laboratory of Agricultural Machinery]; Uniwersytet Warmińsko-Mazurski: Olsztyn, Poland, 2000; ISBN 8388343181. (In Polish) [Google Scholar]
- Kaliniewicz, Z.; Markowski, P.; Anders, A.; Jadwisieńczak, B.; Rawa, T.; Szczechowicz, D. Basic physical properties of Norway spruce (Picea abies (L.) Karst.) seeds. Tech. Sci. 2016, 19, 103–115. [Google Scholar]
- Mohsenin, N.N. Physical Properties of Plant and Animal Materials; Gordon and Breach Science Public: New York, NY, USA, 1986; ISBN 9780677213705. [Google Scholar]
- Bakier, S.; Konopka, S.; Lipiński, A.; Anders, A.; Obidziński, S.; Bareja, K.; Bajko, E. Innowacyjne Metody w Badaniach Agrotechnicznych [Innovative Methods in Agricultural Engineering]; Polska Akademia Nauk, Komitet Agrofizyki PAN, Wydawnictwo Naukowe FRNA: Lublin, Poland, 2015; (In Polish). ISBN 9788360489284. [Google Scholar]
- Rabiej, M. Statystyka z Programem Statistica [Statisctics in Statistica Software]; Helion: Gliwice, Poland, 2012; ISBN 9788324641109. (In Polish) [Google Scholar]
- Hebda, T.; Micek, P. Dependences between geometrical features of cereal grain. Inżynieria Rolnicza 2005, 6, 233–241. (In Polish) [Google Scholar]
- Hebda, T.; Micek, P. Geometric features of grain for selected corn varieties. Inżynieria Rolnicza 2007, 5, 187–193. (In Polish) [Google Scholar]
- Horabik, J.; Molenda, M. Właściwości Fizyczne Sypkich Surowców Spożywczych [Physical Properties of Granular Food Materials]; Acta Agrophysica: Lublin, Poland, 2002; pp. 1–96. ISSN 12344125. (In Polish) [Google Scholar]
- Boac, J.M.; Casada, M.E.; Maghirang, R.G.; Harner, J.P., III. Material and interaction properties of selected grains and oilseeds for modeling discrete particles. Trans. ASABE 2010, 53, 1201–1216. [Google Scholar] [CrossRef]
- Kim, K.H.; Shin, S.H.; Park, S.; Park, J.C.; Kang, C.S.; Park, C.S. Relationship between pre-harvest sprouting and functional markers associated with grain weight, TaSUS2-2B, TaGW2-6A, and TaCWI-A1, in Korean wheat cultivars. SABRAO J. Breed. Genet. 2014, 46, 319–328. [Google Scholar]
- Mabille, F.; Abecassis, J. Parametric modelling of wheat grain morphology: A new perspective. J. Cereal Sci. 2003, 37, 43–53. [Google Scholar] [CrossRef]
- Kalkan, F.; Kara, M. Handling, frictional and technological properties of wheat as affected by moisture content and cultivar. Powder Tech. 2011, 213, 116–122. [Google Scholar] [CrossRef]
- Kram, B.B. Research on the coefficient of external friction of corn grain in humidity function. Inżynieria Rolnicza 2006, 3, 175–182. (In Polish) [Google Scholar]
- Kaliniewicz, Z. Analysis of frictional properties of cereal seeds. Afr. J. Agric. Res. 2013, 8, 5611–5621. [Google Scholar] [CrossRef]
- Markowski, M.; Majewska, K.; Kwiatkowski, D.; Malkowski, M.; Burdylo, G. Selected geometric and mechanical properties of barley (Hordeum vulgare L.) grain. Int. J. Food Prop. 2010, 13, 890–903. [Google Scholar] [CrossRef]
- Markowski, M.; Żuk-Gołaszewska, K.; Kwiatkowski, D. Influence of variety on selected physical and mechanical properties of wheat. Ind. Crops Prod. 2013, 47, 113–117. [Google Scholar] [CrossRef]
- Kaczorowski, J.; Ślipek, Z. Modelling of the external friction kinetic process in plant materials. Part II. Determination of the real contact area during kinetic friction of plant materials. Ann. Rev. Agric. Eng. 1996, 1, 87–94. [Google Scholar]
© 2018 by the authors. Licensee MDPI, Basel, Switzerland. This article is an open access article distributed under the terms and conditions of the Creative Commons Attribution (CC BY) license (http://creativecommons.org/licenses/by/4.0/).


