Optimization of Route Design and Scheduling for Heterogeneous Fleets with Electric Vessel Charging Requirements
Abstract
1. Introduction
- A joint optimization model is developed for heterogeneous fleets in inland feeder transport that simultaneously considers hub return time windows, cargo flow temporal constraints, and charging/range constraints of AESs within a unified framework.
- An ALNS algorithm with a two-level evaluation mechanism is designed to handle the strong coupling between charging decisions and route selection. Fast feasibility checks are integrated with precise cost evaluation, effectively balancing solution quality and computational efficiency for large-scale instances.
- The impact of integrating AESs on the cost structure and carbon emissions is analyzed through a case study based on Yangtze River feeder network data. Additionally, a sensitivity analysis of battery capacity was conducted to examine how key technical parameters influence all-electric ship utilization and total operational cost, providing quantitative insights to support the green transition of inland shipping.
2. Literature Review
2.1. Network Design and Operational Scheduling of Fuel-Based Vessels
2.2. Joint Routing Optimization of AESs and Energy Management
3. Optimization Model
3.1. Problem Description
3.2. Model Assumptions
- Within the planning horizon, cargo demand between ports is constant.
- The operational fleet comprises fuel-based ships and AESs, each with known characteristics (e.g., capacity, design speed, variable sailing cost, and fixed activation cost).
- For AESs, characteristics such as battery capacity, energy consumption per unit distance, and charging or battery-swapping durations are considered deterministic.
- Port information in the network is known, including inter-port distances and which ports are equipped to provide charging or battery-swapping services for AESs.
- At designated charging ports, AESs are replenished with sufficient energy within the standard port turnaround time. In practice, high-power shore charging (or battery swapping) is typically planned as part of routine port operations at equipped nodes, and charging can be scheduled in parallel with cargo handling.
- Vessels sail at a constant speed between ports, and stochastic or unexpected en-route delays are neglected. The vessels typically cruise near an economical speed, and the input data (distance, service time, and cost rates) are aggregated at the voyage level. Moreover, small random delays can be absorbed by schedule slack in port operations and the hub return time window.
3.3. Notation
3.3.1. Sets and Indices
- N: set of all ports, where 0 denotes the hub port.
- : set of hinterland ports, .
- : set of ports with charging or battery swapping capability, .
- K: set of all available vessels.
- : set of AESs, .
- : set of fuel-based vessels, .
- : port indices, .
- k: vessel index, .
3.3.2. Parameters
- : total cargo demand from port i to port j (twenty-foot equivalent units, TEU).
- : sailing distance from port i to port j (km).
- : service (loading/unloading) time at port i (h).
- : target time window for returning to the hub, where is the earliest arrival time and is the latest arrival time (h).
- : maximum carrying capacity of vessel k (TEU).
- : fixed activation cost of vessel k, including depreciation, insurance, crew wages, and routine maintenance that do not vary with sailing distance; for AESs, this term also amortizes battery degradation and lifetime cost over the operational horizon (RMB).
- : unit time penalty costs for returning earlier than or later than , respectively (RMB/h).
- : full battery capacity of AES k, (kWh).
- v: unified sailing speed of vessels (km/h).
- : fuel price (RMB/kg).
- : electricity price (cost per unit of electricity) (RMB/kWh).
- : carbon tax price (RMB/ton CO2).
- : carbon emission factor of fuel consumption for fuel-based vessel k (ton CO2/ton fuel).
- : average carbon emission factor of the power grid (ton CO2/MWh).
- : fuel consumption per unit distance for empty fuel-based vessel k (kg/km).
- : additional fuel consumption per unit distance per unit load for fuel-based vessel k (kg/km/TEU).
- : electricity consumption per unit distance for empty AES k (kWh/km).
- : additional electricity consumption per unit distance per unit load for AES k (kWh/km/TEU).
- M: a sufficiently large positive constant used for logical expressions in constraints (RMB).
3.3.3. Decision Variables
- : binary variable; equals 1 if vessel k sails directly from port i to port j and 0 otherwise.
- : binary variable; equals 1 if vessel k is activated and 0 otherwise.
- : cargo volume transported by vessel k from port i to port j (TEU).
- : binary variable; equals 1 if demand is transported by vessel k, and 0 otherwise.
3.3.4. Auxiliary Variables
- : continuous variable; arrival time of vessel k at port i (h).
- : continuous variable; remaining battery energy of AES upon arriving at port i (kWh).
- : continuous variables; early and late return time of vessel k to the hub, respectively (h).
- : continuous variable; load of vessel k when departing port i (TEU).
- : continuous variable; total fuel consumption of fuel-based vessel k on leg (kg).
- : continuous variable; total electricity consumption of AES on leg (kWh).
- : continuous variable used to linearize the product of load and arc selection decision (TEU).
3.4. Optimization Model
3.4.1. Objective Function
3.4.2. Constraints
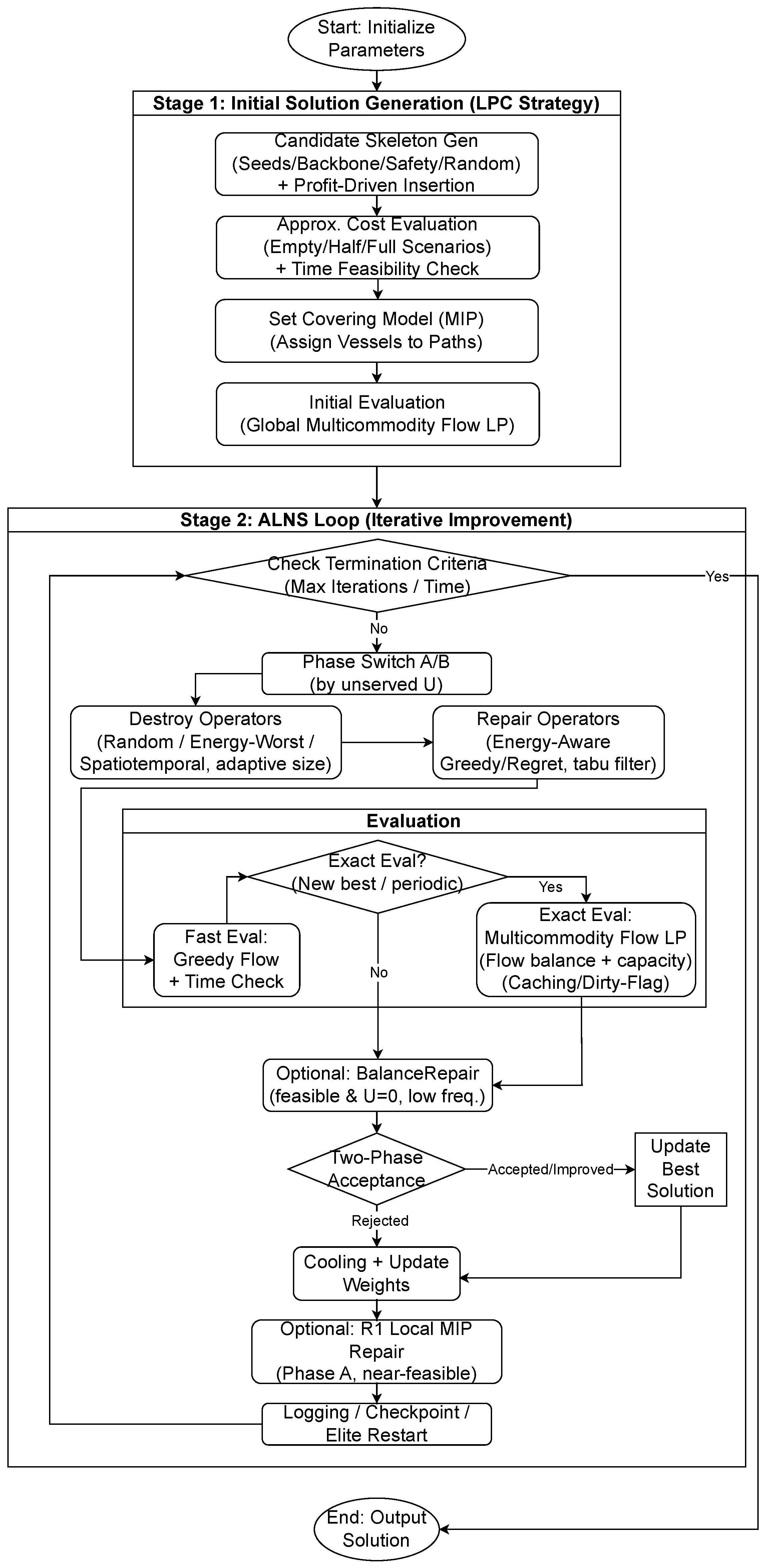
4. Solution Algorithm: A Metaheuristic Framework Based on ALNS
4.1. Problem Characteristics and Solution Approach
4.2. Algorithm Framework
4.3. Solution and Hierarchical Structure
- Decision layer (explicit variables): As shown in the upper part of the figure, these variables are directly manipulated by the ALNS operators, including the port visiting sequence and the assigned vessel type. Neighborhood search is mainly conducted at this level by modifying visit orders or swapping vessel types.
- Evaluation layer (implicit variables): As shown in the lower part of the figure, these variables are computed by the evaluation function, including charging amounts at ports, the detailed cargo flow allocation, and related timing/energy states. These variables are not directly perturbed during neighborhood search; instead, they represent the best response given the decision layer variables, obtained by solving an embedded LP subproblem. For a fixed candidate solution S (i.e., the set of selected route legs and vessel assignments), the evaluation-layer LP keeps the binary routing decisions fixed and minimizes the operational cost by optimizing continuous variables such as cargo flows , schedule-related variables (e.g., arrival times), and battery-related variables (e.g., SOC and charging), subject to linearized constraints for demand fulfillment, capacity, time windows, and energy feasibility, and returns the corresponding optimal objective value as the exact evaluation of S.
4.4. Initial Solution Generation: A Hybrid Strategy Based on Linear Profit Coverage
- Step 1: Multi-strategy generation of candidate route skeletons
- Demand pair seeding: This strategy prioritizes the service of key cargo demands. The algorithm computes a composite weight for each origin–destination (OD) pair (defined as the product of volume and distance) and selects the top K OD pairs as seeds. For each seeded OD pair, a skeleton route [hub → origin → destination → hub] is constructed, ensuring that key demands are transported with either direct or minimal-stop patterns.
- Generalized backbone construction: To build backbone routes that span the network, this strategy selects anchor ports based on geographic distance. The algorithm identifies the farthest ports from the hub as well as key midstream ports and constructs skeleton routes [hub → anchor port → hub], thereby enhancing spatial coverage and accommodating long distance transport demands.
- Safety net (fallback) strategy: To prevent peripheral ports from being omitted due to complex spatiotemporal constraints, the algorithm enforces the generation of a simple round trip route [hub → that port → hub] for each non-hub port. This fallback mechanism ensures feasibility of the initial solution by guaranteeing that each port is reachable via at least one feasible path.
- Random augmentation: To increase diversity and explore potentially high-quality combinations ignored by deterministic rules, the algorithm randomly selects several non-hub port pairs and generates skeleton routes with random perturbations. This procedure helps avoid the initial solution from being trapped in local optima induced by deterministic construction.
- Step 2: Profit-driven insertion and filling
- Step 3: Approximate cost evaluation and vessel type assignment
- Fast heuristic cost estimation: Given the potentially large initial candidate set, exact evaluation for each candidate is computationally expensive. To address this, a rapid estimation strategy is adopted. For each route–vessel pair, time feasibility is first verified based on the total route length and the time window limit . The variable cost is then estimated in preset load scenarios , weighted by , and combined with the vessel’s fixed cost to obtain an approximate cost . This enables rapid screening of the initial route set.
- Relaxed set-covering model: To avoid infeasibility of the initial solution arising from limited fleet size or overly tight constraints, an unserved-demand penalty mechanism is introduced, transforming the classic set-covering problem into a soft-constraint model.
- Decision variables:
- : equals 1 if vessel k is assigned to route r.
- : auxiliary variable; equals 1 if demand is not covered.
- Objective function:
- Constraints:
4.5. ALNS Optimization Framework
4.5.1. Two-Level Solution Evaluation and Hybrid Optimization Strategy
- Approximate evaluation mode: In most iterations, the algorithm estimates the quality of a candidate solution in a heuristic and lightweight approach. Specifically, cargo allocation is performed via a greedy strategy that sorts demand by unit transport cost, with an overall complexity of approximately . Meanwhile, instead of performing complex exact computations, a rapid time feasibility check is conducted using sailing speed, total route distance, and the time window limit. This approximate evaluation enables candidate solutions in the neighborhood to be screened at millisecond-level, substantially reducing evaluation overhead during iterations.
- Exact evaluation mode: Exact evaluation is activated when the rapid approximate evaluation indicates that a new solution may improve the incumbent best, or when a predefined periodic checkpoint is reached. In this mode, a global multicommodity flow LP is formulated and solved to allocate cargo precisely across the network, providing a reliable assessment of the objective value. In addition, a dirty-flag mechanism is introduced: energy and time calculations are recomputed only for routes whose paths or loads have changed significantly, while cached results are reused for unchanged routes. This approach controls the computational cost of exact evaluation without compromising accuracy.
4.5.2. Destroy and Repair Operators
- Customized destroy operators
- High-energy-consumption worst removal: Unlike traditional distance-based removal, this operator prioritizes legs with the highest unit transport costs or those that cause sharp drops in battery SOC. This encourages the algorithm to identify more energy-efficient paths and select more appropriate charging nodes during the repair phase.
- Spatiotemporal related removal: Considering the port cluster characteristics of the feeder network, this operator calculates an association strength based on geographical proximity and time window tightness between ports. It removes groups of demands with strong spatiotemporal correlation, allowing the algorithm to reconstruct more compact and efficient transport sub-tours.
- Energy-aware repair operators
- Energy-aware greedy insertion: When calculating insertion costs, the algorithm synchronously considers the cascading impact of the insertion action on the battery SOC of subsequent nodes. If a direct insertion leads to energy infeasibility, the algorithm will trigger a charging remedy mechanism to attempt to increase charging duration at preceding or current capable ports, or inserting charging nodes.
- Regret insertion considering charging opportunities: When calculating regret values, penalty costs caused by insufficient energy are included, prioritizing demands that would be difficult to accommodate later due to limited charging opportunities if not scheduled immediately. Through this mechanism, the algorithm dynamically balances transport efficiency and charging flexibility while restoring a feasible and well-structured solution.
5. Case Study
5.1. Parameter Settings and Data Sources
5.2. Algorithm Performance Comparison
5.3. Result Analysis
5.4. Sensitivity Analysis
6. Conclusions and Future Work
Author Contributions
Funding
Data Availability Statement
Acknowledgments
Conflicts of Interest
References
- Gaber, M.; El-Banna, S.; El-Dabah, M.; Hamad, M. Intelligent Energy Management System for an all-electric ship based on adaptive neuro-fuzzy inference system. Energy Rep. 2021, 7, 7989–7998. [Google Scholar] [CrossRef]
- Kim, K.; Park, K.; Lee, J.; Chun, K.; Lee, S.H. Analysis of battery/generator hybrid container ship for CO2 reduction. IEEE Access 2018, 6, 14537–14543. [Google Scholar] [CrossRef]
- Kanellos, F. Optimal power management with GHG emissions limitation in all-electric ship power systems comprising energy storage systems. IEEE Trans. Power Syst. 2013, 29, 330–339. [Google Scholar] [CrossRef]
- Zhang, Y.; Sun, L.; Fan, T.; Ma, F.; Xiong, Y. Speed and energy optimization method for the inland all-electric ship in battery-swapping mode. Ocean Eng. 2023, 284, 115234. [Google Scholar] [CrossRef]
- Karsten, C.V.; Brouer, B.D.; Pisinger, D. Competitive liner shipping network design. Comput. Oper. Res. 2017, 87, 125–136. [Google Scholar] [CrossRef]
- Zhou, S.; Ji, B.; Song, Y.; Yu, S.S.; Zhang, D.; Van Woensel, T. Hub-and-spoke network design for container shipping in inland waterways. Expert Syst. Appl. 2023, 223, 119850. [Google Scholar] [CrossRef]
- Lin, D.Y.; Liu, H.Y. Combined ship allocation, routing and freight assignment in tramp shipping. Transp. Res. Part E Logist. Transp. Rev. 2011, 47, 414–431. [Google Scholar] [CrossRef]
- Lin, D.Y.; Chang, Y.T. Ship routing and freight assignment problem for liner shipping: Application to the Northern Sea Route planning problem. Transp. Res. Part E Logist. Transp. Rev. 2018, 110, 47–70. [Google Scholar] [CrossRef]
- Li, D.C.; Yang, H.L. Ship routing in inland waterway liner transportation with foldable and standard empty containers repositioning. Ocean Eng. 2023, 285, 115391. [Google Scholar] [CrossRef]
- Psaraftis, H.N.; Kontovas, C.A. Ship speed optimization: Concepts, models and combined speed-routing scenarios. Transp. Res. Part C Emerg. Technol. 2014, 44, 52–69. [Google Scholar] [CrossRef]
- Aydin, N.; Lee, H.; Mansouri, S.A. Speed optimization and bunkering in liner shipping in the presence of uncertain service times and time windows at ports. Eur. J. Oper. Res. 2017, 259, 143–154. [Google Scholar] [CrossRef]
- Bian, Y.; Yan, W.; Hu, H.; Li, Z. Feeder scheduling and container transportation with the factors of draught and bridge in the Yangtze River, China. J. Mar. Sci. Eng. 2021, 9, 964. [Google Scholar] [CrossRef]
- Li, D.C.; Yang, H.L.; Xing, Y.W. Economic and emission assessment of LNG-fuelled ships for inland waterway transportation. Ocean Coast. Manag. 2023, 246, 106906. [Google Scholar] [CrossRef]
- Wang, Y.; Zhu, S.; Iris, Ç. An exact algorithm for fleet co-deployment and slot co-chartering in a sustainable shipping alliance under emissions trading system. Eur. J. Oper. Res. 2025, 327, 450–468. [Google Scholar] [CrossRef]
- Tao, Y.; Qiu, J.; Lai, S.; Sun, X.; Zhao, J. Flexible voyage scheduling and coordinated energy management strategy of all-electric ships and seaport microgrid. IEEE Trans. Intell. Transp. Syst. 2022, 24, 3211–3222. [Google Scholar] [CrossRef]
- Wen, S.; Jin, X.; Zheng, Y.; Wang, M. Probabilistic coordination of optimal power management and voyage scheduling for all-electric ships. IEEE Trans. Transp. Electrif. 2023, 10, 3661–3669. [Google Scholar] [CrossRef]
- Hein, K.; Xu, Y.; Wilson, G.; Gupta, A.K. Coordinated optimal voyage planning and energy management of all-electric ship with hybrid energy storage system. IEEE Trans. Power Syst. 2020, 36, 2355–2365. [Google Scholar] [CrossRef]
- Huang, Y.; Lan, H.; Hong, Y.Y.; Wen, S.; Fang, S. Joint voyage scheduling and economic dispatch for all-electric ships with virtual energy storage systems. Energy 2020, 190, 116268. [Google Scholar] [CrossRef]
- Gao, J.; Lan, H.; Zhang, X.; Iu, H.; Hong, Y.Y.; Yin, H. A coordinated generation and voyage planning optimization scheme for all-electric ships under emission policy. Int. J. Electr. Power Energy Syst. 2024, 156, 109698. [Google Scholar] [CrossRef]
- Lin, A.; Wen, S.; Zhu, M.; Ding, Z.; Ding, T. Joint optimal energy management and voyage scheduling for economic and resilient operation of all-electric ships considering safe return. IEEE Trans. Ind. Appl. 2023, 59, 5304–5313. [Google Scholar] [CrossRef]
- Wen, S.; Zhao, T.; Tang, Y.; Xu, Y.; Zhu, M.; Fang, S.; Ding, Z. Coordinated optimal energy management and voyage scheduling for all-electric ships based on predicted shore-side electricity price. IEEE Trans. Ind. Appl. 2020, 57, 139–148. [Google Scholar] [CrossRef]
- Sun, X.; Qiu, J.; Tao, Y.; Liu, H.; Zhao, J. Customized coordinated voltage regulation and voyage scheduling for all-electric ships in seaport microgrids. IEEE Trans. Sustain. Energy 2024, 15, 1515–1527. [Google Scholar] [CrossRef]
- Wen, S.; Dong, Z.; Zhao, T.; Zhu, M.; Huang, Y. Hierarchical game theory-based optimal power management for both seaports and ships. Energy 2024, 313, 133748. [Google Scholar] [CrossRef]
- Yang, T.; Cao, B.; Wang, C. Joint generation and voyage scheduling of all-electric ships considering power supply capacity constraints. IEEE Trans. Appl. Supercond. 2024, 34, 5403204. [Google Scholar] [CrossRef]
- Guidi, G.; Suul, J.A.; Jenset, F.; Sorfonn, I. Wireless charging for ships: High-power inductive charging for battery electric and plug-in hybrid vessels. IEEE Electrif. Mag. 2017, 5, 22–32. [Google Scholar] [CrossRef]
- Gu, M.; Wen, S.; Zhu, M.; Chen, C.; Huang, Y. Voyage optimization for all-electric vessels integrated with swappable containerized battery. In Proceedings of the 2021 11th International Conference on Power and Energy Systems (ICPES), Shanghai, China, 18–20 December 2021; pp. 586–591. [Google Scholar]
- Ren, B.; Li, Y.; Wen, X.; Ma, H.L. The offshore mobile charging vessel location and electric vessels charging scheduling problem. Ocean Eng. 2025, 339, 122181. [Google Scholar] [CrossRef]
- Lu, Z.; Wen, S.; Gu, M.; Wang, W.; Zhu, M.; Ma, J. Coordinated Route and Operation Scheduling for All-Electric Ship Clusters. In Proceedings of the 2025 IEEE Industry Applications Society Annual Meeting (IAS), Taipei, China, 15–20 June 2025; IEEE: New York, NY, USA, 2025; pp. 1–8. [Google Scholar]
- Cui, Z.; Fu, X.; Jin, H.; Chen, A.; Wang, K. Transitioning to electrification: Optimal strategies for ship fleet replacement. Transp. Res. Part C Emerg. Technol. 2025, 174, 105079. [Google Scholar] [CrossRef]
- Koumaniotis, E.K.; Kanellos, F.D. Optimal routing and sustainable operation scheduling of large ships with integrated full-electric propulsion. Sustainability 2024, 16, 10662. [Google Scholar] [CrossRef]
- Yang, Z.; Sun, Y.; Lian, F.; Feng, H.; Li, G. Optimization of river container port-access transport based on the innovatively designed electric ship in the Yangtze River Delta. Ocean Coast. Manag. 2024, 248, 106976. [Google Scholar] [CrossRef]
- Li, D.C.; Yang, H.L. Designing scheduled route for river liner shipping services with empty container repositioning. Expert Syst. Appl. 2024, 247, 123246. [Google Scholar] [CrossRef]
- Zhang, Y.; Sun, L.; Ma, F.; Wu, Y.; Jiang, W.; Fu, L. Collaborative optimization of the battery capacity and sailing speed considering multiple operation factors for a battery-powered ship. World Electr. Veh. J. 2022, 13, 40. [Google Scholar] [CrossRef]












| Segment | Distance | Segment | Distance |
|---|---|---|---|
| Shanghai → Nantong | 128 | Tongling → Anqing | 113 |
| Nantong → Suzhou | 51 | Anqing → Jiujiang | 196 |
| Suzhou → Jiangyin | 19 | Jiujiang → Wuhan | 251 |
| Jiangyin → Taizhou | 69 | Wuhan → Yueyang | 231 |
| Taizhou → Yangzhou | 62 | Yueyang → Jingzhou | 244 |
| Yangzhou → Zhenjiang | 19 | Jingzhou → Yichang | 232 |
| Zhenjiang → Nanjing | 77 | Yichang → Fuling | 528 |
| Nanjing → Ma’anshan | 48 | Fuling → Chongqing | 120 |
| Ma’anshan → Wuhu | 48 | Chongqing → Luzhou | 254 |
| Wuhu → Tongling | 104 | Luzhou → Yibin | 130 |
| Scenario | Group | Ports | Vessels | Demands | Horizon (h) | Charging Ports |
|---|---|---|---|---|---|---|
| S1 | Small | 4 | 3 | 6 | 720 | 2 |
| S2 | Small | 6 | 8 | 30 | 720 | 2 |
| S3 | Small | 8 | 15 | 60 | 720 | 3 |
| M1 | Medium | 10 | 22 | 100 | 720 | 3 |
| M2 | Medium | 12 | 30 | 150 | 720 | 3 |
| M3 | Medium | 14 | 38 | 200 | 720 | 5 |
| L1 | Large | 16 | 45 | 260 | 720 | 6 |
| L2 | Large | 18 | 52 | 330 | 720 | 7 |
| L3 | Large | 21 | 60 | 406 | 1080 | 8 |
| Scenario | Exact Solver (MILP, CPLEX) | Proposed Heuristic (ALNS) | Classic ALNS (Heuristic Rules) | |||||
|---|---|---|---|---|---|---|---|---|
| Objective (RMB) | Time (s) | Objective (RMB) | Time (s) | GAP (%) | Objective (RMB) | Time (s) | GAP (%) | |
| S1 | 0.16 | 0.07 | 0.00 | 0.03 | 0.00 | |||
| S2 | 558.91 | 256.63 | 1.5 | 139 | 4.82 | |||
| S3 | 3600 * | 2862.88 | 7.55 | 1873 | 21.94 | |||
| M1 | – | 3600 * | 2402.56 | – | 1619.70 | – | ||
| M2 | – | 3600 * | 2259.67 | – | 1894.29 | – | ||
| M3 | – | 3600 * | 1828.32 | – | 2048.09 | – | ||
| L1 | – | 3600 * | 1821.92 | – | 2214.88 | – | ||
| L2 | – | 3600 * | 2458.68 | – | 2135.53 | – | ||
| L3 | – | 3600 * | 2120.71 | – | 2846.79 | – | ||
Disclaimer/Publisher’s Note: The statements, opinions and data contained in all publications are solely those of the individual author(s) and contributor(s) and not of MDPI and/or the editor(s). MDPI and/or the editor(s) disclaim responsibility for any injury to people or property resulting from any ideas, methods, instructions or products referred to in the content. |
© 2026 by the authors. Published by MDPI on behalf of the World Electric Vehicle Association. Licensee MDPI, Basel, Switzerland. This article is an open access article distributed under the terms and conditions of the Creative Commons Attribution (CC BY) license.
Share and Cite
Huang, P.; Jiang, Y.; Chen, H.; Wang, J.; Zhang, P. Optimization of Route Design and Scheduling for Heterogeneous Fleets with Electric Vessel Charging Requirements. World Electr. Veh. J. 2026, 17, 147. https://doi.org/10.3390/wevj17030147
Huang P, Jiang Y, Chen H, Wang J, Zhang P. Optimization of Route Design and Scheduling for Heterogeneous Fleets with Electric Vessel Charging Requirements. World Electric Vehicle Journal. 2026; 17(3):147. https://doi.org/10.3390/wevj17030147
Chicago/Turabian StyleHuang, Pengfei, Yuyue Jiang, Hongbin Chen, Jinggai Wang, and Pengfei Zhang. 2026. "Optimization of Route Design and Scheduling for Heterogeneous Fleets with Electric Vessel Charging Requirements" World Electric Vehicle Journal 17, no. 3: 147. https://doi.org/10.3390/wevj17030147
APA StyleHuang, P., Jiang, Y., Chen, H., Wang, J., & Zhang, P. (2026). Optimization of Route Design and Scheduling for Heterogeneous Fleets with Electric Vessel Charging Requirements. World Electric Vehicle Journal, 17(3), 147. https://doi.org/10.3390/wevj17030147

