Quantification of Teicoplanin Using the HPLC-UV Method for Clinical Applications in Critically Ill Patients in Korea
Abstract
1. Introduction
2. Materials and Methods
2.1. Materials
2.2. Apparatus
2.3. Sample Preparation
2.4. Validation
2.4.1. Linearity; Lower limit of quantification (LLOQ)
2.4.2. Precision and Accuracy
2.4.3. Recovery and Stability
2.5. Clinical Application
3. Results and Discussion
3.1. Optimization of the HPLC-UV Method and IS
3.2. Validation of the Optimized Method: Specificity, Linearity, Sensitivity, Accuracy, Precision, Recovery, and Stability
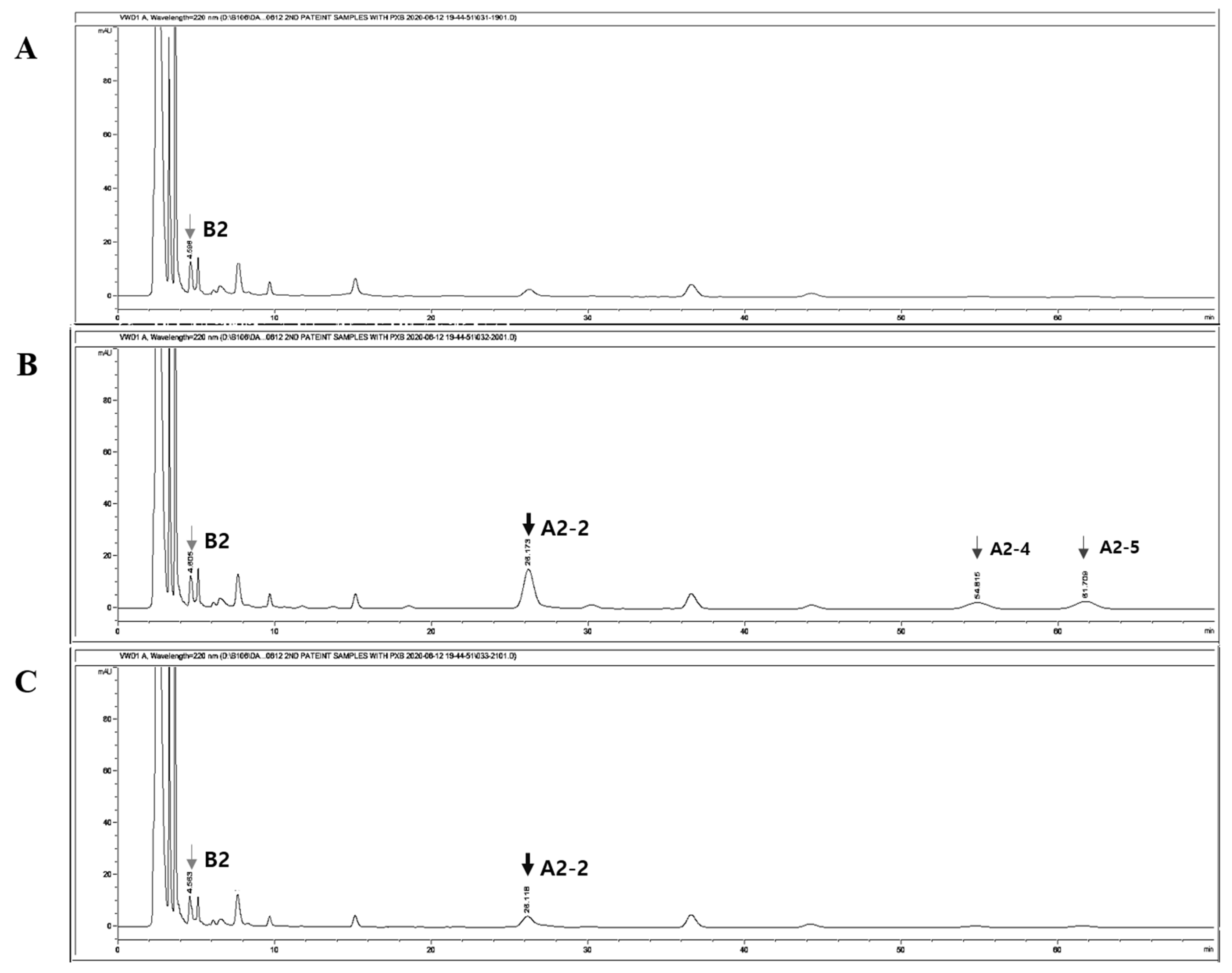
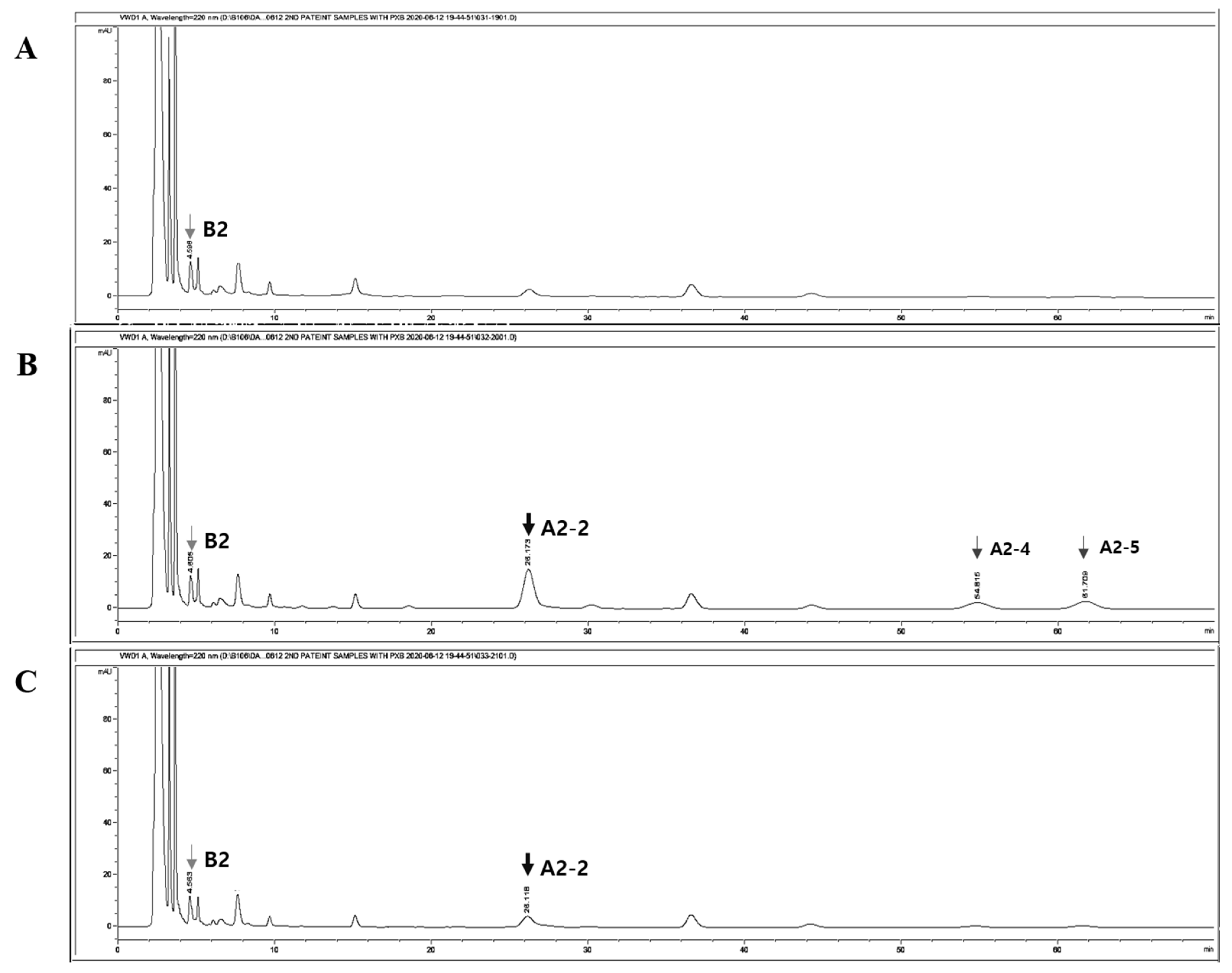
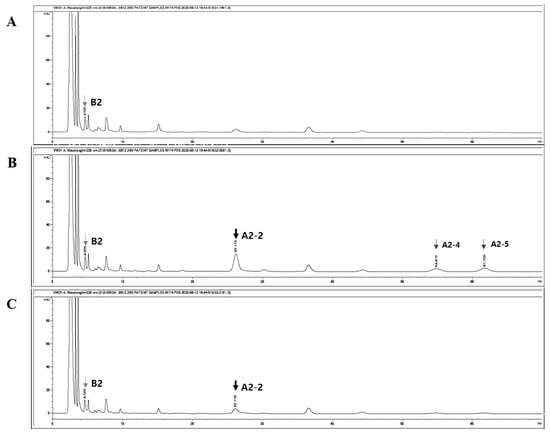
3.3. Application to Patient Samples from the Ongoing Clinical Study
4. Conclusions
Supplementary Materials
Author Contributions
Funding
Institutional Review Board Statement
Informed Consent Statement
Data Availability Statement
Acknowledgments
Conflicts of Interest
References
- Park, S.; Kang, J.E.; Choi, H.J.; Kim, C.J.; Chung, E.K.; Kim, S.A.; Rhie, S.J. Antimicrobial Stewardship Programs in Community Health Systems Perceived by Physicians and Pharmacists: A Qualitative Study with Gap Analysis. Antibiotics 2019, 8, 252. [Google Scholar] [CrossRef]
- Kang, G.S.; Jung, Y.H.; Kim, H.S.; Lee, Y.S.; Park, C.; Lee, K.J.; Cha, J.O. Prevalence of Major Methicillin-Resistant Staphylococcus aureus Clones in Korea Between 2001 and 2008. Ann. Lab. Med. 2016, 36, 536–541. [Google Scholar] [CrossRef]
- Larsen, A.R.; Stegger, M.; Bocher, S.; Sorum, M.; Monnet, D.L.; Skov, R.L. Emergence and characterization of community-associated methicillin-resistant Staphyloccocus aureus infections in Denmark, 1999 to 2006. J. Clin. Microbiol. 2009, 47, 73–78. [Google Scholar] [CrossRef]
- Svetitsky, S.; Leibovici, L.; Paul, M. Comparative efficacy and safety of vancomycin versus teicoplanin: Systematic review and meta-analysis. Antimicrob. Agents Chemother. 2009, 53, 4069–4079. [Google Scholar] [CrossRef] [PubMed]
- Wang, S.; Lin, F.; Ruan, J.; Ye, H.; Wang, L. Pharmacokinetics of multiple doses of teicoplanin in Chinese elderly critical patients. Expert Rev. Clin. Pharmacol. 2018, 11, 537–541. [Google Scholar] [CrossRef]
- Finch, R.G.; Eliopoulos, G.M. Safety and efficacy of glycopeptide antibiotics. J. Antimicrob. Chemother. 2005, 55 (Suppl. 2), ii5–ii13. [Google Scholar] [CrossRef]
- Kahne, D.; Leimkuhler, C.; Lu, W.; Walsh, C. Glycopeptide and lipoglycopeptide antibiotics. Chem. Rev. 2005, 105, 425–448. [Google Scholar] [CrossRef] [PubMed]
- Rowland, M. Clinical pharmacokinetics of teicoplanin. Clin. Pharmacokinet. 1990, 18, 184–209. [Google Scholar] [CrossRef]
- Matzke, G.R.; Zhanel, G.G.; Guay, D.R. Clinical pharmacokinetics of vancomycin. Clin. Pharmacokinet. 1986, 11, 257–282. [Google Scholar] [CrossRef]
- Brink, A.J.; Richards, G.A.; Cummins, R.R.; Lambson, J.; Gauteng Understanding Teicoplanin Serum Levels Study Group. Recommendations to achieve rapid therapeutic teicoplanin plasma concentrations in adult hospitalised patients treated for sepsis. Int. J. Antimicrob. Agents 2008, 32, 455–458. [Google Scholar] [CrossRef]
- Ueda, T.; Takesue, Y.; Nakajima, K.; Ichki, K.; Wada, Y.; Komatsu, M.; Tsuchida, T.; Takahashi, Y.; Ishihara, M.; Kimura, T.; et al. High-dose regimen to achieve novel target trough concentration in teicoplanin. J. Infect. Chemother. 2014, 20, 43–47. [Google Scholar] [CrossRef]
- Tarighi, P.; Eftekhari, S.; Chizari, M.; Sabernavaei, M.; Jafari, D.; Mirzabeigi, P. A review of potential suggested drugs for coronavirus disease (COVID-19) treatment. Eur. J. Pharmacol. 2021, 895, 173890. [Google Scholar] [CrossRef] [PubMed]
- Parenta, D.M.; Laplante, K.L. Anti-infective therapy, 145-glycopetides. In Infectious Diseases, 4th ed.; Cohen, J., Opal, S.M., Powderly, W.G., Eds.; Elsevier Ltd.: Amsterdam, The Netherlands, 2017; pp. 1249–1255. [Google Scholar]
- Tsai, I.L.; Sun, H.Y.; Chen, G.Y.; Lin, S.W.; Kuo, C.H. Simultaneous quantification of antimicrobial agents for multidrug-resistant bacterial infections in human plasma by ultra-high-pressure liquid chromatography-tandem mass spectrometry. Talanta 2013, 116, 593–603. [Google Scholar] [CrossRef] [PubMed]
- Wilson, A.P. Clinical pharmacokinetics of teicoplanin. Clin. Pharmacokinet. 2000, 39, 167–183. [Google Scholar] [CrossRef]
- Fung, F.H.; Tang, J.C.; Hopkins, J.P.; Dutton, J.J.; Bailey, L.M.; Davison, A.S. Measurement of teicoplanin by liquid chromatography-tandem mass spectrometry: Development of a novel method. Ann. Clin. Biochem. 2012, 49, 475–481. [Google Scholar] [CrossRef]
- McCann, S.J.; White, L.O.; Keevil, B. Assay of teicoplanin in serum: Comparison of high-performance liquid chromatography and fluorescence polarization immunoassay. J. Antimicrob. Chemother. 2002, 50, 107–110. [Google Scholar] [CrossRef] [PubMed][Green Version]
- Roberts, J.A.; Stove, V.; De Waele, J.J.; Sipinkoski, B.; McWhinney, B.; Ungerer, J.P.; Akova, M.; Bassetti, M.; Dimopoulos, G.; Kaukonen, K.M.; et al. Variability in protein binding of teicoplanin and achievement of therapeutic drug monitoring targets in critically ill patients: Lessons from the DALI Study. Int. J. Antimicrob. Agents 2014, 43, 423–430. [Google Scholar] [CrossRef]
- Riva, E.; Ferry, N.; Cometti, A.; Cuisinaud, G.; Gallo, G.G.; Sassard, J. Determination of teicoplanin in human plasma and urine by affinity and reversed-phase high-performance liquid chromatography. J. Chromatogr. 1987, 421, 99–110. [Google Scholar] [CrossRef]
- Jung, J.; Lee, K.; Oh, J.; Choi, R.; Woo, H.I.; Park, H.D.; Kang, C.I.; Kim, Y.J.; Lee, S.Y. Therapeutic drug monitoring of teicoplanin using an LC-MS/MS method: Analysis of 421 measurements in a naturalistic clinical setting. J. Pharm. Biomed. Anal. 2019, 167, 161–165. [Google Scholar] [CrossRef] [PubMed]
- Begou, O.; Kontou, A.; Raikos, N.; Sarafidis, K.; Roilides, E.; Papadoyannis, I.N.; Gika, H.G. An ultra-high pressure liquid chromatography-tandem mass spectrometry method for the quantification of teicoplanin in plasma of neonates. J. Chromatogr. B Anal. Technol. Biomed. Life Sci. 2017, 1047, 215–222. [Google Scholar] [CrossRef]
- Ferrari, D.; Ripa, M.; Premaschi, S.; Banfi, G.; Castagna, A.; Locatelli, M. LC-MS/MS method for simultaneous determination of linezolid, meropenem, piperacillin and teicoplanin in human plasma samples. J. Pharm. Biomed. Anal. 2019, 169, 11–18. [Google Scholar] [CrossRef]
- Wang, X.-X.; Jin, P.-F.; Li, P.-M.; Xu, S.; Kong, X.-D.; Qin, W.; Chen, W.-Q.; Qin, W.-J.; Zhang, X.-L. Interlaboratory analysis of teicoplanin plasma concentration assays among Chinese laboratories. J. Clin. Pharm. Ther. 2020, 45, 983–990. [Google Scholar] [CrossRef]
- Borghi, A.; Coronelli, C.; Faniuolo, L.; Allievi, G.; Pallanza, R.; Gallo, G.G. Teichomycins, new antibiotics from Actinoplanes teichomyceticus nov. sp. IV. Separation and characterization of the components of teichomycin (teicoplanin). J. Antibiot. Tokyo 1984, 37, 615–620. [Google Scholar] [CrossRef] [PubMed]
- Orwa, J.A.; Govaerts, C.; Busson, R.; Roets, E.; Van Schepdael, A.; Hoogmartens, J. Isolation and structural characterization of polymyxin B components. J. Chromatogr. A 2001, 912, 369–373. [Google Scholar] [CrossRef]
- Cao, G.; Ali, F.E.; Chiu, F.; Zavascki, A.P.; Nation, R.L.; Li, J. Development and validation of a reversed-phase high-performance liquid chromatography assay for polymyxin B in human plasma. J. Antimicrob. Chemother. 2008, 62, 1009–1014. [Google Scholar] [CrossRef] [PubMed]
- Bioanalytical Method Validation Guidance for Industry, US Department of Health and Human Services, Food and Drug Administration. Available online: https://www.fda.gov/regulatory-information/search-fda-guidance-documents/bioanalytical-method-validation-guidance-industry (accessed on 16 July 2020).
- Byrne, C.J.; Roberts, J.A.; McWhinney, B.; Ryder, S.A.; Fennell, J.P.; O’Byrne, P.; Deasy, E.; Egan, S.; Desmond, R.; Enright, H.; et al. Population pharmacokinetics of teicoplanin and attainment of pharmacokinetic/pharmacodynamic targets in adult patients with haematological malignancy. Clin. Microbiol. Infect. 2017, 23, 674.e7–674.e13. [Google Scholar] [CrossRef] [PubMed]
- Matthews, P.C.; Chue, A.L.; Wyllie, D.; Barnett, A.; Isinkaye, T.; Jefferies, L.; Lovering, A.; Scarborough, M. Increased teicoplanin doses are associated with improved serum levels but not drug toxicity. J. Infect. 2014, 68, 43–49. [Google Scholar] [CrossRef]
- Zhang, Y.V.; Wei, B.; Zhu, Y.; Zhang, Y.; Bluth, M.H. Liquid Chromatography-Tandem Mass Spectrometry: An Emerging Technology in the Toxicology Laboratory. Clin. Lab. Med. 2016, 36, 635–661. [Google Scholar] [CrossRef]
- Tuzimski, T.; Petruczynik, A. Review of chromatographic methods coupled with morden detection techniques applied in the therapeytic drugs monitoring (TDM). Molecules 2020, 25, 4026. [Google Scholar] [CrossRef]
- Dorival-Garcia, N.; Zafra-Gomez, A.; Camino-Sanchez, F.J.; Navalon, A.; Vilchez, J.L. Analysis of quinolone antibiotic derivatives in sewage sludge samples by liquid chromatography-tandem mass spectrometry: Comparison of the efficiency of three extraction techniques. Talanta 2013, 106, 104–118. [Google Scholar] [CrossRef]




| Concentration (mg/L) b | Intra-Day (n = 9) | Inter-Day (n = 3) | ||
|---|---|---|---|---|
| Accuracy (%) | Precision (%, CV) | Accuracy (%) | Precision (%, CV) | |
| 7.81 (Low) | 110.7 ± 15.3 | 13.8 | 93.92 ± 12.2 | 13.0 |
| 62.5 (Middle) | 108.5 ± 9.44 | 8.70 | 106.2 ± 4.40 | 4.14 |
| 500.0 (High) | 108.8 ± 10.4 | 9.58 | 103.5 ± 3.82 | 3.69 |
| Compound (Conc.) c | 4 °C, 36 h (%) | −70 °C, 24-d (%) | Freeze-Thaw (%) | Post-Prep. (%) b |
|---|---|---|---|---|
| Teicoplanin (Low) | 106.1 ± 13.1 | 110.0 ± 10.2 | 111.4 ± 6.26 | 103.5 ± 16.1 |
| Teicoplanin (High) | 103.3 ± 2.29 | 103.2 ± 0.62 | 112.4 ± 5.12 | 104.2 ± 11.9 |
| IS (100 mg/L) | 96.19 ± 2.79 | 112.2 ± 8.74 | 111.5 ± 7.36 |
Publisher’s Note: MDPI stays neutral with regard to jurisdictional claims in published maps and institutional affiliations. |
© 2021 by the authors. Licensee MDPI, Basel, Switzerland. This article is an open access article distributed under the terms and conditions of the Creative Commons Attribution (CC BY) license (https://creativecommons.org/licenses/by/4.0/).
Share and Cite
Lee, J.; Chung, E.-K.; Kang, S.-W.; Lee, H.-J.; Rhie, S.-J. Quantification of Teicoplanin Using the HPLC-UV Method for Clinical Applications in Critically Ill Patients in Korea. Pharmaceutics 2021, 13, 572. https://doi.org/10.3390/pharmaceutics13040572
Lee J, Chung E-K, Kang S-W, Lee H-J, Rhie S-J. Quantification of Teicoplanin Using the HPLC-UV Method for Clinical Applications in Critically Ill Patients in Korea. Pharmaceutics. 2021; 13(4):572. https://doi.org/10.3390/pharmaceutics13040572
Chicago/Turabian StyleLee, Jaeok, Eun-Kyoung Chung, Sung-Wook Kang, Hwa-Jeong Lee, and Sandy-Jeong Rhie. 2021. "Quantification of Teicoplanin Using the HPLC-UV Method for Clinical Applications in Critically Ill Patients in Korea" Pharmaceutics 13, no. 4: 572. https://doi.org/10.3390/pharmaceutics13040572
APA StyleLee, J., Chung, E.-K., Kang, S.-W., Lee, H.-J., & Rhie, S.-J. (2021). Quantification of Teicoplanin Using the HPLC-UV Method for Clinical Applications in Critically Ill Patients in Korea. Pharmaceutics, 13(4), 572. https://doi.org/10.3390/pharmaceutics13040572

