A Study on Properties of Charcoal Producing from Alien Tree Species: Cinnamomum burmannii
Abstract
:1. Introduction
2. Materials and Methods
2.1. Research Materials
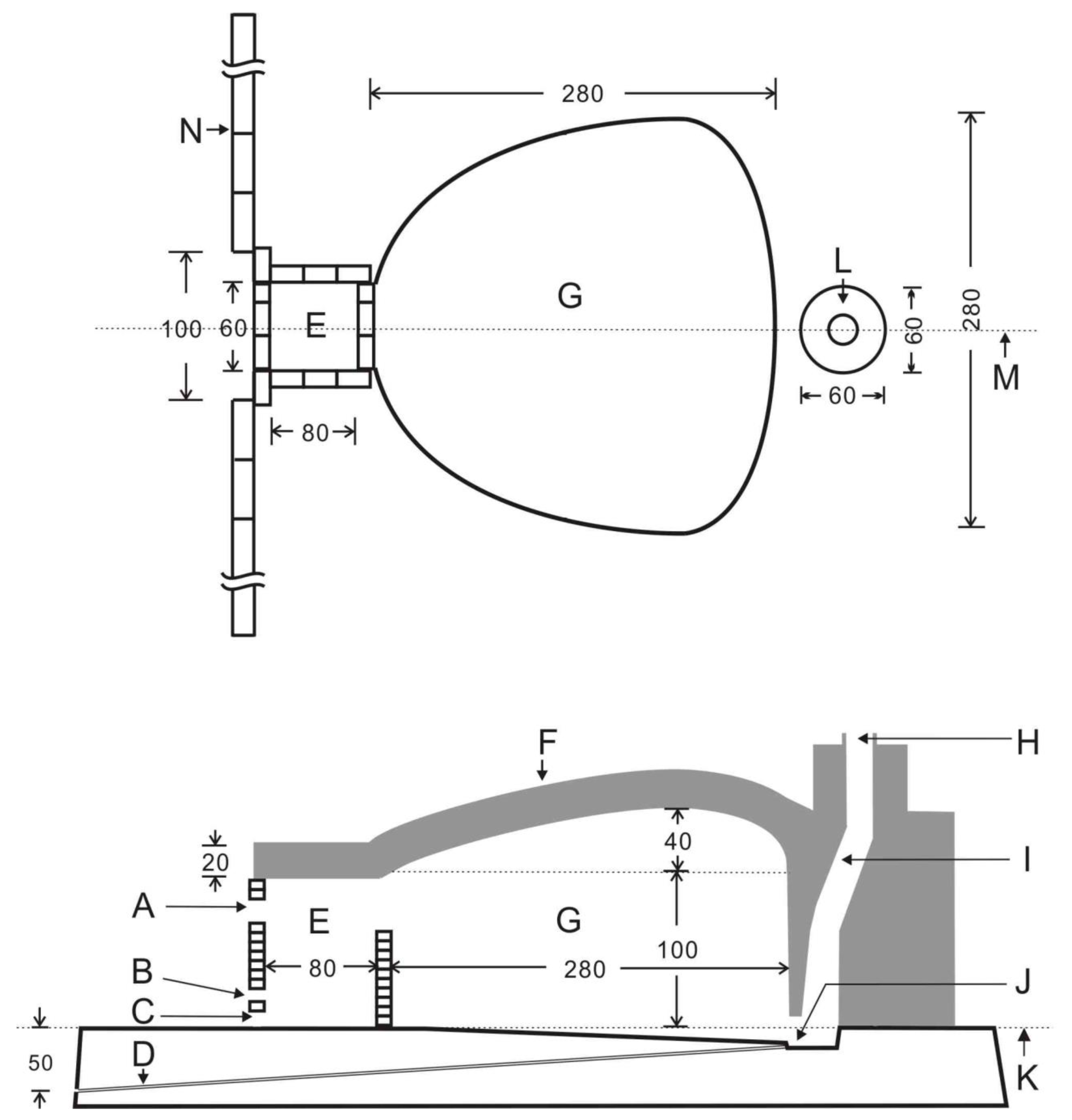
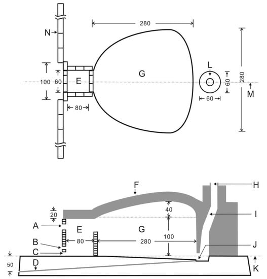
2.2. Cinnamomum burmannii Charcoal Producing
2.3. Detection of Properties of Cinnamomum burmannii Charcoal
2.3.1. Basic Property Test
2.3.2. Determination of the Brunauer–Emmett–Teller Surface Area (BET)
2.3.3. pH Value
3. Results
3.1. Carbonizing Temperature and Charcoal Yield
3.2. The Basic Properties of Cinnamomum burmannii Charcoal
4. Discussions
4.1. Carbonization Temperature and Charcoal Yield
4.2. Comparison of the Basic Properties of Cinnamomum burmannii Charcoal
5. Conclusions
Author Contributions
Funding
Institutional Review Board Statement
Informed Consent Statement
Data Availability Statement
Acknowledgments
Conflicts of Interest
References
- Chen, C.F.; Yin, H.W.; Lu, S.Y. Facing the impact of Cinnamomoum burmannii on Cinnamomoum osmophloeum. Taiwan For. J. 2008, 34, 26–30. (In Chinese) [Google Scholar]
- Utami, R.; Khasanah, L.U.; Manuhara, G.J.; Ayuningrum, Z.K. Effects of Cinnamon Bark Essential Oil (Cinnamomum burmannii) on Characteristics of Edible Film and Quality of Fresh Bee. Pertanika J. Trop. Agric. Sci. 2019, 42, 1173–1184. [Google Scholar]
- Al-Dhubiab, B.E. Pharmaceutical applications and phytochemical profile of Cinnamomum burmannii. Pharmacogn. Rev. 2012, 6, 125–131. [Google Scholar] [CrossRef] [PubMed]
- Nasution, A.; Chikmawati, T.; Walujo, E.B.; Zuhud, E.A.M. Ethnoecology of Mandailing Tribe in Batang Gadis National Park. In Proceedings of the IOP Conference Series: Earth and Environmental Science 197(012017), The 2nd International Conference on Biosciences (ICoBio), Bogor, Indonesia, 8–10 August 2017; IPB International Convention Center: Bogor, Indonesia, 2017; pp. 1–9. [Google Scholar]
- Tamba, J.T.; Komariyah, S.; Faisal, T.M. Summation of Cinnamon Leaf Flour (Cinnamomum burmannii) with Different Concentrations in Feed on Growth of Snakehead (Channa striata). J. Perikan. Trop. 2020, 7, 35–44. [Google Scholar] [CrossRef]
- Syu, Y.C.; Fang, Y.L.; Hsu, W.C.; Chang, K.C. Study on Naturalized Distribution and Hybridization Test of Cinnamomoum burmannii. In Proceedings of the Symposium at 2014 Flatland Afforestation Test Research and Monitoring, Taipei, Taiwan, 17 September 2014; Taiwan Forestry Research Institute of 4F Conference Room: Taipei, Taiwan, 2014; pp. 9–13. (In Chinese). [Google Scholar]
- Ervina, M.; Nawu, Y.E.; Esar, S.Y. Comparison of in vitro antioxidant activity of infusion, extract and fractions of Indonesian Cinnamon (Cinnamomum burmannii) bark. Int. Food Res. J. 2016, 23, 1346–1350. [Google Scholar]
- Tseng, Y.H.; Liu, C.Y.; Wang, C.C.; Ou, C.H. Cinnamomum burmannii (Nees) Blume (Lauraceae), a Newly Naturalized Tree in Taiwan. Q. J. For. Res. 2008, 30, 25–30. [Google Scholar]
- Tsai, J.H.; Chen, H.Y.; Ye, Z.Y.; Su, S.W. Exotic Plant, Cinnamomoum burmannii plant groupings: Slopeland located in the west of Taichung Metropolitan Park as an example. In Proceedings of the Symposium at 2017 International Forum on Taichungology, Taichung, Taiwan, 27–29 October 2017; National Chung Hsing University: Taichung, Taiwan, 2017; pp. 393–410, (In Chinese with an English Summary). [Google Scholar]
- Horcher, A.T. Stand Dynamics of Cinnamomum Burmannii, an Invasive Tree, on O’ahu, Hawaii. Master’s Thesis, The University of Montana, Missoula, MT, USA, 2000. [Google Scholar]
- Laughlin, S.E. Avian Seed Dispersal of Cinnamomum burmannii in Nuuanu Valley O’ahu Hawaii and Its Implications for Alien Species Invasion. Master’s Thesis, The University of Montana, Missoula, MT, USA, 2000. [Google Scholar]
- Luo, Y.Y.; Liao, S.P.; Chen, C.F.; Chen, S.Y.; Koh, C.N. Study on Gut Passage Effect of Taiwan’s Native Avian Frugivores on Seed Germination of Cinnamomum burmannii. Q. J. Chin. For. 2012, 45, 55–66, (In Chinese with an English Summary). [Google Scholar]
- Chimera, C.; Drake, D.R. Effects of pulp removal on seed germination of five invasive plants in Hawaii. Plant Prot. Q. 2010, 25, 137–140. [Google Scholar]
- Taiwan Academy of Ecology. Cinnamomum burmannii Invades the Forests of Taiwan, an Artificial Ecological Crisis. Taiwan Acad. Ecol. Epaper. 2012, p. 320. Available online: https://drive.google.com/file/d/1IeuU7EFdHN2-ks4vEjKbip6fOpqaOIpz/view (accessed on 4 May 2021).
- Hwang, G.S.; Lee, C.M.; Wang, C.H.; Yu, H.Y. Making Charcoal from Wood of Leucaena leucocephala in Kenting National Park. J. Natl. Park 2010, 20, 25–33, (In Chinese with an English Summary). [Google Scholar]
- Lo, S.F.; Wang, S.Y. Effects of Carbonization Condition on the Basic Properties of Charcoals Made from Moso Bamboo and Ma Bamboo-(I) Charcoal Yield, Shrinkage, True Density, and Element Analysis. For. Prod. Ind. 2007, 26, 117–132, (In Chinese with an English Summary). [Google Scholar]
- Lo, S.F. Basic Properties of Bamboo Charcoals and Adsorption Capacities of Heavy Metal Ions by Bamboo Activated Carbons. Ph.D. Thesis, National Taiwan University, Taipei, Taiwan, 2008. (In Chinese with an English Summary). [Google Scholar]
- Lu, K.T.; Zhou, K.C. Manufacture of Bamboo Charcoals and Vinegars from Major Domestic Bamboos. Q. J. For. Res. 2009, 31, 55–64. [Google Scholar]
- Das, S.K.; Ghosh, G.K.; Avasthe, R.K.; Sinha, K. Compositional heterogeneity of different biochar: Effect of pyrolysis temperature and feedstocks. J. Environ. Manag. 2021, 278, 111501. [Google Scholar] [CrossRef] [PubMed]
- Lan, F.L.; Lai, H.L.; Teng, W.F. Study on the Moso Bamboo Charcoal Property. Crop. Environ. Bioinform. 2008, 5, 180–186, (In Chinese with an English Summary). [Google Scholar]
- Hsu, L.Y. Effect of Multiple-Step Carbonization on the Basic Properties and Adsorption Capacities of Moso Bamboo Charcoals. Master’s Thesis, National Chung Hsing University, Taichung, Taiwan, 2008. (In Chinese with an English Summary). [Google Scholar]
- Borchard, N.; Siemens, J.; Ladd, B.; Möller, A.; Amelung, W. Application of biochars to sandy and silty soil failed to increase maize yield under common agricultural practice. Soil Tillage Res. 2014, 144, 184–194. [Google Scholar] [CrossRef]
- Jien, S.H.; Chen, W.C. Effects of Co-applying Compost and Rice Hull Biochar on Release Potential of Nitrogen and Phosphorus in Slope land Soils. J. Taiwan Agric. Eng. 2014, 60, 61–71. [Google Scholar]
- Lin, D.F. Effects of Feedstock and Pyrolysis Temperature on Agronomic Performance of Biochar. Master’s Thesis, National Taiwan University, Taipei, Taiwan, 2013. (In Chinese with an English Summary). [Google Scholar]
- Hwang, G.S. Effects of Carbonization Temperatures in an Earthen Kiln on the Properties of Bamboo Charcoal. Taiwan J. Sci. 2016, 31, 285–291. [Google Scholar]
- Lin, Y.J.; Hwang, G.S. Charcoal from biomass residues of a Cryptomeria plantation and analysis of its carbon fixation benefit in Taiwan. Biomass Bioenergy 2009, 33, 1289–1294. [Google Scholar] [CrossRef]
- Wang, Y.C.; Lin, J.C. Air quality enhancement zones in Taiwan: A carbon reduction benefit assessment. For. Policy Econ. 2012, 23, 40–45. [Google Scholar] [CrossRef]
- Jayasanka, D.J.; Jayasinghe, G.Y.; Maheepala, S. Cinnamon Wood Biochar Characteristics and Application Rates Influence on Crop Growth and Properties of Problematic Soil in Southern Sri Lanka. Int. J. Innov. Technol. Explor. Eng. (IJITEE) 2020, 9, 30–33. [Google Scholar]
- Lin, Y.J.; Ho, C.L.; Yu, H.Y.; Hwang, G.S. Study on Charcoal Production with Branches and Tops Wood of Cryptomeria Japonica Using an Earthen Kiln. Q. J. Chin. For. 2008, 41, 549–558, (In Chinese with English Summary). [Google Scholar]
- Askeland, M.; Clarke, B.; Paz-Ferreiro, J. Comparative characterization of biochars produced at three selected pyrolysis temperatures from common woody and herbaceous waste streams. PeerJ 2019, 7, e6784. [Google Scholar] [CrossRef] [PubMed]
- Tsai, C.C. Amelioration of Degradation Potential of Facilities Soils with Rice Husk Biochar: The Effects on Soil Physic-Chemical Properties, Soil Fertility, and Crop Growth. Ministry of Science and Technology Special Research Project Achievement Report. 2014. Available online: https://www.grb.gov.tw/search/planDetail?id=3101246 (accessed on 6 May 2021).
- Tomczyk, A.; Sokołowska, Z.; Boguta, P. Biochar physicochemical properties: Pyrolysis temperature and feedstock kind effects. Rev. Environ. Sci. Bio/Technol. 2020, 19, 191–215. [Google Scholar] [CrossRef]
- Lin, Y.J.; Lin, J.C.; Hwang, G.S.; Wei, M.T. Establishing Bamboo Charcoal Quality Evaluation Indicators in Taiwan. Taiwan J Sci 2005, 20, 269–281. [Google Scholar]
- Lin, Y.J.; Lin., J.C.; Hwang, G.H.; Lee, K.C. Application of the Analytic Hierarchy Process (AHP) to Analyze the Importance of Bamboo Charcoal Quality Indicators. Taiwan J. Sci. 2007, 22, 15–28. [Google Scholar]
- Ahmad, M.; Lee, S.S.; Dou, X.; Mohan, D.; Sung, J.K.; Yang, J.E.; Ok, Y.S. Effects of pyrolysis temperature on soybean stove and peanut shell-derived biochar properties and TCE adsorption in water. Bioresour. Technol. 2012, 118, 536–544. [Google Scholar] [CrossRef] [PubMed]
- Zhao, S.X.; Ta, N.; Wang, X.D. Effect of Temperature on the Structural and Physicochemical Properties of Biochar with Apple Tree Branches as Feedstock Material. Energies 2017, 10, 1293. [Google Scholar] [CrossRef] [Green Version]
- Zhang, Z.; Zhu, Z.; Shen, B.; Liu, L. Insights into biochar and hydrochar production and applications: A review. Energy 2019, 171, 581–598. [Google Scholar] [CrossRef]



| Rank | Feedstock Input (kg) | Charcoal Output (kg) | Charcoal Yield (%) |
|---|---|---|---|
| 1. | 3252 (4054) * | 495 | 15.2 |
| 2. | 3395 (4232) | 493 | 14.5 |
| 3. | 3316 (4134) | 473 | 14.3 |
| Total | 9963 (12,420) | 1461 | 44.0 |
| Average | 3321 (4140) | 487 | 14.7 |
| Items | Unit | Result | Testing Method |
|---|---|---|---|
| Moisture content | wt% | 12.32 | Refer to ISO 18134-1:2015 |
| Ash | wt% | 5.96 | Refer to ISO 18122:2015 |
| Higher heating value | kcal/kg | 6745 | Refer to ISO 18125:2017 |
| Lower heating value | kcal/kg | 6610 | Refer to ISO 18125:2017 |
| Volatile matter | wt% | 4.88 | Refer to ISO 562 |
| Fixed Carbon | wt% | 80.71 | Refer to ISO 17246 |
| Oxygen | wt% | 13.7 | Refer to ISO 16948 |
| Nitrogen | wt% | 0.442 | Refer to ISO 16948 |
| Carbon | wt% | 81.4 | Refer to ISO 16948 |
| Hydrogen | wt% | 1.80 | Refer to ISO 16948 |
| Sulfur | wt% | 0.05 | Refer to ISO 16994:2016 |
| Chlorine | wt% | 0.118 | Refer to ISO 16994:2016 |
| Aluminum | wt% | 0.00937 | Refer to USEPA 3050b-1996 |
| Calcium | wt% | 1.44 | Refer to USEPA 3050b-2004 |
| Chromium | wt% | 0.0072 | Refer to USEPA 3050b-2005 |
| Copper | wt% | 0.014 | Refer to USEPA 3050b-2008 |
| Iron | wt% | 0.145 | Refer to USEPA 3050b-2012 |
| Potassium | wt% | 1.60 | Refer to USEPA 3050b-2021 |
| Magnesium | wt% | 0.163 | Refer to USEPA 3050b-2024 |
| Manganese | wt% | 0.044 | Refer to USEPA 3050b-2025 |
| Nickel | wt% | 0.00514 | Refer to USEPA 3050b-2028 |
| Sodium | wt% | 0.535 | Refer to USEPA 3050b-2029 |
| Phosphorus | wt% | 0.459 | Refer to USEPA 3050b-2034 |
| Silicon | wt% | 0.0643 | Refer to USEPA 3050b-2044 |
| Strontium | wt% | 0.00424 | Refer to USEPA 3050b-2045 |
| Tin | wt% | 0.0059 | Refer to USEPA 3050b-2046 |
| Zinc | wt% | 0.0207 | Refer to USEPA 3050b-2059 |
| F | T (°C) | EQ | Y (%) | pH | BET (m2/g) | Ash (%) | FC (%) | References |
|---|---|---|---|---|---|---|---|---|
| CB | 866 | EK | 13.09 | 9.14 | 426.4 | 5.96 | 80.71 | |
| CZ | 600 | PK | 28 | 10.5 | 12.7 | 9 | 70 | Jayasanka et al., 2020 [28] |
| LL | 767 | EK | 29.97 | 9.78 | 340.4 | - | 85.7 | Hwang et al., 2010 [15] |
| CJ | 759 | EK | 29.0 | 9.04 | 371.8 | - | 80.2 | Lin et al., 2008 [29] |
| PR | 750 | TLUD | - | 8.2 | 397.4 | 1.92 | 91.91 | Askeland et al., 2019 [30] |
| PS | 750 | TLUD | - | 10.9 | 157.7 | 23.95 | 64.54 | Askeland et al., 2019 [30] |
| LC | 600 | CK | 22.13 | 8.09 | 41.4 | 20.2 | 57.67 | Das et al., 2021 [19] |
| MOB | 800 | EMK | 27.7 | 9.4 | 369.7 | 1.63 | 86.12 | Hsu, 2008 [21] |
| MKB | 600 | EMK | 32 | 8.56 | 354.0 | - | 80.43 | Lu and Zhou, 2009 [18] |
| MAB | 800 | BT | 30.09 | 10.26 | 65.93 | 1.57 | 81.68 | Lo, 2008 [17] |
| RH | 700 | UB | 27.5 | 8.07 | 2.81 | 33.1 | 51.1 | Tsai, 2014 [31] |
| PNS | 700 | EK | 21.9 | 10.6 | 448.2 | 8.9 | 83.3 | Tomczyk et al., 2020 [32] |
| SB | 750 | EK | 26.9 | 9.7 | - | 2.2 | 90.5 | Tomczyk et al., 2020 [32] |
Publisher’s Note: MDPI stays neutral with regard to jurisdictional claims in published maps and institutional affiliations. |
© 2022 by the authors. Licensee MDPI, Basel, Switzerland. This article is an open access article distributed under the terms and conditions of the Creative Commons Attribution (CC BY) license (https://creativecommons.org/licenses/by/4.0/).
Share and Cite
Fu, C.-H.; Lin, J.-C.; Liu, L.-C.; Wang, S.-H.; Lin, Y.-J. A Study on Properties of Charcoal Producing from Alien Tree Species: Cinnamomum burmannii. Forests 2022, 13, 1412. https://doi.org/10.3390/f13091412
Fu C-H, Lin J-C, Liu L-C, Wang S-H, Lin Y-J. A Study on Properties of Charcoal Producing from Alien Tree Species: Cinnamomum burmannii. Forests. 2022; 13(9):1412. https://doi.org/10.3390/f13091412
Chicago/Turabian StyleFu, Chuen-Hsu, Jiunn-Cheng Lin, Ling-Chung Liu, Shwu-Hwa Wang, and Yu-Jen Lin. 2022. "A Study on Properties of Charcoal Producing from Alien Tree Species: Cinnamomum burmannii" Forests 13, no. 9: 1412. https://doi.org/10.3390/f13091412
APA StyleFu, C.-H., Lin, J.-C., Liu, L.-C., Wang, S.-H., & Lin, Y.-J. (2022). A Study on Properties of Charcoal Producing from Alien Tree Species: Cinnamomum burmannii. Forests, 13(9), 1412. https://doi.org/10.3390/f13091412
