Concatenated Residual Attention UNet for Semantic Segmentation of Urban Green Space
Abstract
:1. Introduction
2. Materials and Methods
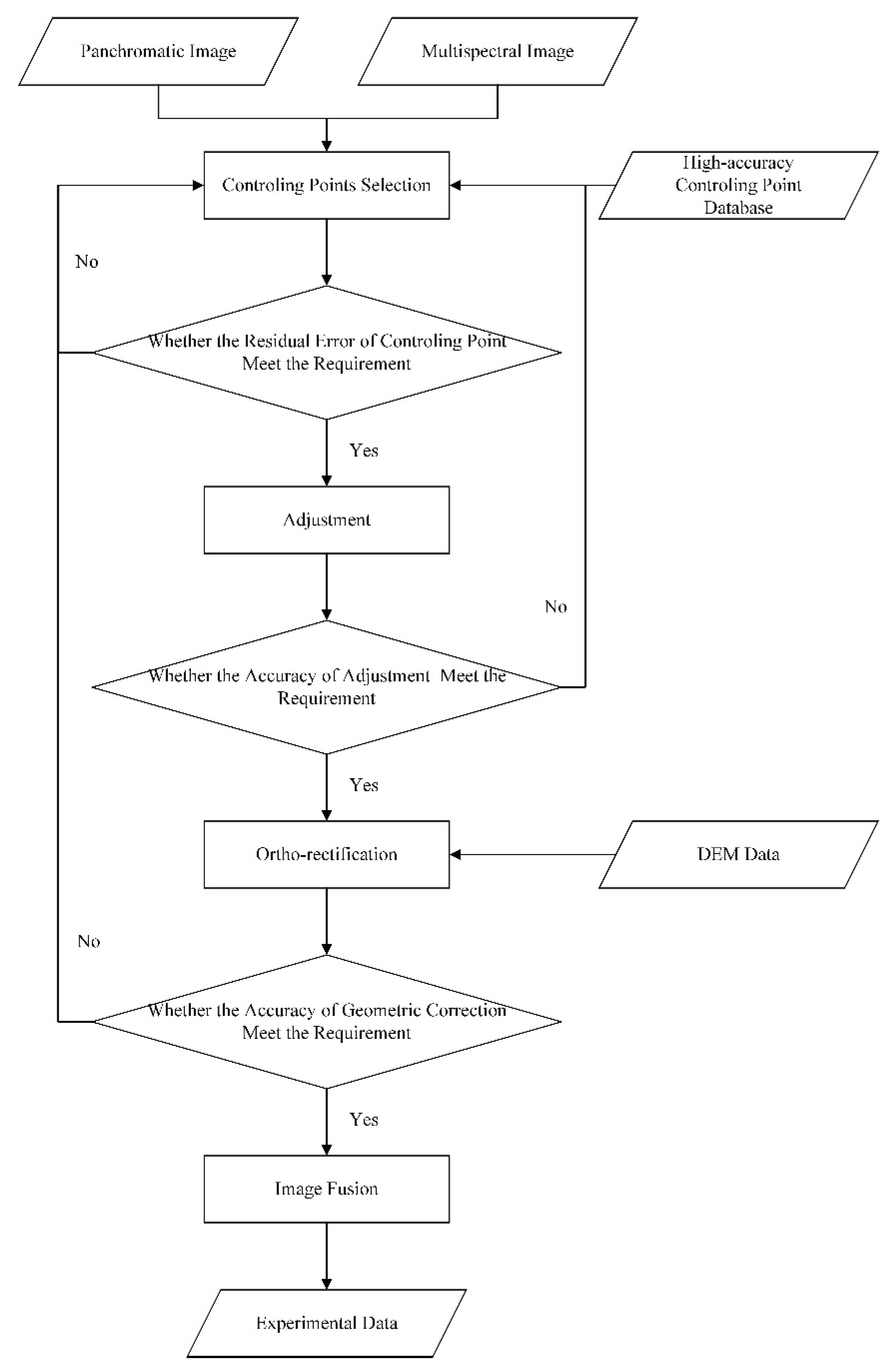
2.1. Study Area and Data Sources
2.2. Methods
2.2.1. Sample Generation
2.2.2. Improved Residual Structure
2.2.3. Convolutional Block Channel Attention Mechanism
2.2.4. Network Structure
2.2.5. Inference Methodology
2.2.6. Accuracy Assessment
3. Experiment
3.1. Effectiveness of Concatenated Residual Structure
3.2. Performance of Convolution Block Channel Attention Module
4. Results
4.1. Comparative Experiment with Other Networks
4.2. Performance Comparison on Different Landcover
4.3. Urban Green Space Mapping and Accuracy Evaluation
5. Discussion
- (1)
- Some networks have made contributions to solving the gradient disappearance phenomenon in the training process, like DenseNet [44]. The core idea of DenseNet is to establish the connection relationship between different layers, make full use of the feature, and further reduce the problem of gradient disappearance., but the price in exchange is a sharp increase in memory usage. In order to make full use of the characteristics of different levels to solve the degradation problem of neural network, and to avoid the increase of memory, we introduce the residual model. In CRAUNet, the residual module we proposed makes it retain more feature information of the original image during the feature extraction process, which solves the degradation problem of the neural network to a certain extent and has advantages in identifying small target green spaces. At the same time, this structure does not cause memory usage to rise sharply.
- (2)
- Existing networks are all affected by noise to varying degrees, and the edges of green spaces are smooth. Especially in DeepLabV3+, it is not sensitive to the boundaries of urban green space. In order to solve this problem, we introduce the attention mechanism. The function of this attention mechanism is to quickly locate important information, highlight important information, suppress unimportant information and obtain information that is not easy to mine. Our network can obtain more complete target and real edge information during segmentation and is less affected by noise. This is because the added CBCA module enhances deep-level feature extraction through the interdependence of modeling channels, strengthens effective green space features and suppresses invalid features.
- (3)
- In the studies mentioned in the introduction of this paper and other networks that introduce residual structure for innovation, such as R2UNet [45] and ResUNet-a [28], high accuracy is usually obtained by increasing the network depth or adding other modules to increase the number of parameters. The improvement of our network performance is not at the cost of simply increasing the amount of parameters and computation, but by concatenating the features between different convolution kernels to make the network lightweight. That is to say, the network we propose not only improves the accuracy, but also reduces the number of parameters.
6. Conclusions
Author Contributions
Funding
Institutional Review Board Statement
Informed Consent Statement
Data Availability Statement
Conflicts of Interest
References
- Brander, L.M.; Koetse, M.J. The value of urban open space: Meta-analyses of contingent valuation and hedonic pricing results. J. Environ. Manag. 2011, 92, 2763–2773. [Google Scholar] [CrossRef]
- Kabisch, N.; Strohbach, M.; Haase, D.; Kronenberg, J. Urban green space availability in European cities. Ecol. Indic. 2016, 70, 586–596. [Google Scholar] [CrossRef]
- Völker, S.; Kistemann, T. Developing the urban blue: Comparative health responses to blue and green urban open spaces in Germany. Health Place 2015, 35, 196–205. [Google Scholar] [CrossRef] [PubMed]
- Taylor, L.; Hochuli, D.F. Defining greenspace: Multiple uses across multiple disciplines. Landsc. Urban Plan. 2017, 158, 25–38. [Google Scholar] [CrossRef] [Green Version]
- Standard for Classification of Urban Green Space 2017. CJJ/T 85-2017. Available online: http://www.mohurd.gov.cn/wjfb/201806/t20180626_236545.html (accessed on 15 September 2021).
- Wolch, J.R.; Byrne, J.; Newell, J.P. Urban green space, public health, and environmental justice: The challenge of making cities ‘just green enough’. Landsc. Urban Plan. 2014, 125, 234–244. [Google Scholar] [CrossRef] [Green Version]
- Strohbach, M.W.; Arnold, E.; Haase, D. The carbon footprint of urban green space—A life cycle approach. Landsc. Urban Plan. 2012, 104, 220–229. [Google Scholar] [CrossRef]
- Heidt, V.; Neef, M. Benefits of urban green space for improving urban climate. In Ecology, Planning, and Management of Urban Forests; Springer: Berlin/Heidelberg, Germany, 2008; pp. 84–96. [Google Scholar] [CrossRef]
- Zhang, B.; Gao, J.-X.; Yang, Y. The cooling effect of urban green spaces as a contribution to energy-saving and emission-reduction: A case study in Beijing, China. Build. Environ. 2014, 76, 37–43. [Google Scholar] [CrossRef]
- Fuller, R.A.; Irvine, K.N.; Devine-Wright, P.; Warren, P.H.; Gaston, K.J. Psychological benefits of greenspace increase with biodiversity. Biol. Lett. 2007, 3, 390–394. [Google Scholar] [CrossRef] [PubMed]
- Villeneuve, P.J.; Jerrett, M.; Su, J.G.; Burnett, R.T.; Chen, H.; Wheeler, A.J.; Goldberg, M.S. A cohort study relating urban green space with mortality in Ontario, Canada. Environ. Res. 2012, 115, 51–58. [Google Scholar] [CrossRef]
- Gong, C.; Yu, S.; Joesting, H.; Chen, J. Determining socioeconomic drivers of urban forest fragmentation with historical remote sensing images. Landsc. Urban Plan. 2013, 117, 57–65. [Google Scholar] [CrossRef]
- Wang, H.; Wang, C.; Wu, H. Using GF-2 imagery and the conditional random field model for urban forest cover mapping. Remote Sens. Lett. 2016, 7, 378–387. [Google Scholar] [CrossRef]
- Zhou, X.; Li, L.; Chen, L.; Liu, Y.; Cui, Y.; Zhang, Y.; Zhang, T. Discriminating urban forest types from Sentinel-2A image data through linear spectral mixture analysis: A case study of Xuzhou, East China. Forests 2019, 10, 478. [Google Scholar] [CrossRef] [Green Version]
- Yao, Z.; Liu, J.; Zhao, X.; Long, D.; Wang, L. Spatial dynamics of aboveground carbon stock in urban green space: A case study of Xi’an, China. J. Arid Land 2015, 7, 350–360. [Google Scholar] [CrossRef]
- Myeong, S.; Nowak, D.J.; Duggin, M.J. A temporal analysis of urban forest carbon storage using remote sensing. Remote Sens. Environ. 2006, 101, 277–282. [Google Scholar] [CrossRef]
- Shojanoori, R.; Shafri, H.Z. Review on the use of remote sensing for urban forest monitoring. Arboric Urban 2016, 42, 400–417. [Google Scholar] [CrossRef]
- Shen, C.; Li, M.; Li, F.; Chen, J.; Lu, Y. Study on urban green space extraction from QUICKBIRD imagery based on decision tree. In Proceedings of the 2010 18th International Conference on Geoinformatics, Beijing, China, 18–20 June 2010; pp. 1–4. [Google Scholar] [CrossRef]
- Feng, Q.; Liu, J.; Gong, J. UAV remote sensing for urban vegetation mapping using random forest and texture analysis. Remote Sens. 2015, 7, 1074–1094. [Google Scholar] [CrossRef] [Green Version]
- Diamantopoulou, M.J. Filling gaps in diameter measurements on standing tree boles in the urban forest of Thessaloniki, Greece. Environ. Model. Softw. 2010, 25, 1857–1865. [Google Scholar] [CrossRef]
- Walker, J.S.; Briggs, J.M. An object-oriented approach to urban forest mapping in Phoenix. Photogramm. Eng. Remote Sens. 2007, 73, 577–583. [Google Scholar] [CrossRef]
- Ardila, J.P.; Bijker, W.; Tolpekin, V.A.; Stein, A. Context-sensitive extraction of tree crown objects in urban areas using VHR satellite images. Int. J. Appl. Earth Obs. Geoinf. 2012, 15, 57–69. [Google Scholar] [CrossRef] [Green Version]
- Nijhawan, R.; Sharma, H.; Sahni, H.; Batra, A. A deep learning hybrid CNN framework approach for vegetation cover mapping using deep features. In Proceedings of the 2017 13th International Conference on Signal-Image Technology & Internet-Based Systems (SITIS), Jaipur, India, 4–7 December 2017; pp. 192–196. [Google Scholar] [CrossRef]
- A Novel Software for Analyzing the Natural Landscape Surface Using Deep Learning. Available online: https://openreview.net/forum?id=HJgWtnd9kr (accessed on 15 September 2021).
- Timilsina, S.; Aryal, J.; Kirkpatrick, J.B. Mapping urban tree cover changes using object-based convolution neural network (OB-CNN). Remote Sens. 2020, 12, 3017. [Google Scholar] [CrossRef]
- Hartling, S.; Sagan, V.; Sidike, P.; Maimaitijiang, M.; Carron, J. Urban tree species classification using a WorldView-2/3 and LiDAR data fusion approach and deep learning. Sensors 2019, 19, 1284. [Google Scholar] [CrossRef] [Green Version]
- Blaschke, T.; Hay, G.J.; Kelly, M.; Lang, S.; Hofmann, P.; Addink, E.; Feitosa, R.Q.; Van der Meer, F.; Van der Werff, H.; Van Coillie, F. Geographic object-based image analysis–towards a new paradigm. ISPRS J. Photogramm. Remote Sens. 2014, 87, 180–191. [Google Scholar] [CrossRef] [PubMed] [Green Version]
- Diakogiannis, F.I.; Waldner, F.; Caccetta, P.; Wu, C. ResUNet-a: A deep learning framework for semantic segmentation of remotely sensed data. ISPRS J. Photogramm. Remote Sens. 2020, 162, 94–114. [Google Scholar] [CrossRef] [Green Version]
- Kemker, R.; Salvaggio, C.; Kanan, C. Algorithms for semantic segmentation of multispectral remote sensing imagery using deep learning. ISPRS J. Photogramm. Remote Sens. 2018, 145, 60–77. [Google Scholar] [CrossRef] [Green Version]
- Albawi, S.; Mohammed, T.A.; Al-Zawi, S. Understanding of a convolutional neural network. In Proceedings of the 2017 International Conference on Engineering and Technology (ICET), Antalya, Turkey, 21–23 August 2017; pp. 1–6. [Google Scholar] [CrossRef]
- Yuan, Y.; Guo, H.; Xu, H.; Li, W.; Luo, S.; Lin, H.; Yuan, Y. China’s first special economic zone: The case of Shenzhen. In Building Engines for Growth and Competitiveness in China: Experience with Special Economic Zones and Industrial Clusters; Zeng, D.Z., Ed.; World Bank Publications: Washington, DC, USA, 2010; Chapter 2; pp. 55–86. [Google Scholar]
- Chen, X.; Li, F.; Li, X.; Hu, Y.; Hu, P. Evaluating and mapping water supply and demand for sustainable urban ecosystem management in Shenzhen, China. J. Clean. Prod. 2020, 251, 119754. [Google Scholar] [CrossRef]
- Tengfei, L.; Weili, J.; Guojin, H. Nested regression based optimal selection (NRBOS) of rational polynomial coefficients. Photogramm. Eng. Remote Sens. 2014, 80, 261–269. [Google Scholar] [CrossRef]
- Xiao, P.; Zhang, X.; Zhang, H.; Hu, R.; Feng, X. Multiscale optimized segmentation of urban green cover in high resolution remote sensing image. Remote Sens. 2018, 10, 1813. [Google Scholar] [CrossRef] [Green Version]
- Yang, G.; Pennington, J.; Rao, V.; Sohl-Dickstein, J.; Schoenholz, S.S. A mean field theory of batch normalization. Arxiv 2019, arXiv:1902.08129 2019. [Google Scholar]
- He, K.; Zhang, X.; Ren, S.; Sun, J. Deep residual learning for image recognition. In Proceedings of the IEEE Conference on Computer Vision and Pattern Recognition, Las Vegas, NV, USA, 26 June–1 July 2016; pp. 770–778. [Google Scholar]
- He, K.; Zhang, X.; Ren, S.; Sun, J. Identity mappings in deep residual networks. In Proceedings of the European Conference on Computer Vision, Amsterdam, The Netherlands, 11–14 October 2016; pp. 630–645. [Google Scholar] [CrossRef] [Green Version]
- Wang, F.; Jiang, M.; Qian, C.; Yang, S.; Li, C.; Zhang, H.; Wang, X.; Tang, X. Residual attention network for image classification. In Proceedings of the IEEE Conference on Computer Vision and Pattern Recognition, Honolulu, HI, USA, 21–26 July 2017; pp. 3156–3164. [Google Scholar]
- Woo, S.; Park, J.; Lee, J.-Y.; Kweon, I.S. Cbam: Convolutional block attention module. In Proceedings of the European Conference on Computer Vision (ECCV), Munich, Germany, 8–14 September 2018; pp. 3–19. [Google Scholar]
- Ronneberger, O.; Fischer, P.; Brox, T. U-net: Convolutional networks for biomedical image segmentation. In Proceedings of the International Conference on Medical Image Computing and Computer-Assisted Intervention, Munich, Germany, 5–9 October 2015; pp. 234–241. [Google Scholar] [CrossRef] [Green Version]
- Odena, A.; Dumoulin, V.; Olah, C. Deconvolution and checkerboard artifacts. Distill 2016, 1, e3. [Google Scholar] [CrossRef]
- Yu, L.; Wu, H.; Zhong, Z.; Zheng, L.; Deng, Q.; Hu, H. TWC-Net: A SAR ship detection using two-way convolution and multiscale feature mapping. Remote Sens. 2021, 13, 2558. [Google Scholar] [CrossRef]
- Badrinarayanan, V.; Kendall, A.; Cipolla, R. Segnet: A deep convolutional encoder-decoder architecture for image segmentation. IEEE Trans. Pattern Anal. Mach. Intell. 2017, 39, 2481–2495. [Google Scholar] [CrossRef] [PubMed]
- Gao, H.; Zhuang, L.; Van Der Maaten, L.; Kilian, Q.W. Densely Connected Convolutional Networks. In Proceedings of the IEEE Conference on Computer Vision and Pattern Recognition (CVPR), Honolulu, HI, USA, 21–26 July 2017; pp. 4700–4708. [Google Scholar]
- Alom, M.Z.; Yakopcic, C.; Hasan, M.; Taha, T.; Asari, V. Recurrent residual U-Net for medical image segmentation. J. Med Imaging 2019, 6, 014006. [Google Scholar] [CrossRef] [PubMed]













| Satellite | Central Longitude (°E) | Central Latitude (°N) | Imaging Time | Image Size (Pixel × Pixel) | Image Usage |
|---|---|---|---|---|---|
| Gaofen-1 | 114.2 | 22.4 | 11 December 2017 | 21,196 × 21,103 | Training |
| Gaofen-1 | 114.2 | 22.7 | 11 December 2017 | 21,200 × 21,106 | Training |
| Gaofen-1 | 113.7 | 22.7 | 19 December 2017 | 20,599 × 20,456 | Training |
| Gaofen-1 | 113.9 | 22.4 | 15 February 2017 | 23,436 × 22,351 | Training |
| Gaofen-1 | 114.0 | 22.6 | 15 February 2017 | 23,976 × 22,962 | Training |
| Gaofen-1 | 114.5 | 22.4 | 11 December 2017 | 21,476 × 21,347 | Testing |
| Gaofen-1 | 114.6 | 22.7 | 11 December 2017 | 21,470 × 21,348 | Testing |
| Gaofen-1B | 114.1 | 22.4 | 22 February 2020 | 41,008 × 40,888 | Training |
| Gaofen-1B | 114.2 | 23.0 | 22 February 2020 | 41,008 × 40,890 | Training |
| Gaofen-1B | 114.6 | 22.4 | 12 January 2020 | 40,936 × 40,837 | Training |
| Gaofen-1C | 113.7 | 22.4 | 26 October 2020 | 40,003 × 39,699 | Training |
| Gaofen-1C | 113.9 | 23.0 | 26 October 2020 | 39,986 × 39,678 | Testing |
| Accuracy Evaluation Criteria | Definition | Formula |
|---|---|---|
| PA | The ratio of the correctly classified number of pixels and the total number of pixels | |
| Precision | The ratio of the number of correctly classified pixels and the number of the labeled pixels | |
| Recall | The ratio of the number of correctly classified pixels and the number of the actual target feature pixels | |
| IoU | The ratio of the intersection and the union of the ground truth and the predicted area | |
| MIoU | The average IoU for all classes | |
| -Score | The harmonic means for precision and recall | |
| Params | The total weight parameters of all parameterized layers of the model | |
| FLOPs | The number of multiplication and addition operations in the model |
| Model | PA (%) | Params (M) | FLOPs (G) |
|---|---|---|---|
| UNet | 96.5 | 31.04 | 46.20 |
| CUNet | 96.9 | 27.91 | 37.03 |
| CRUNet | 97.1 | 28.09 | 37.46 |
| ResUNet | 97.0 | 32.80 | 52.51 |
| Model | PA (%) | MIoU (%) | Params (M) | FLOPs (G) | Train Time (min) | |
|---|---|---|---|---|---|---|
| FCN8S | 95.35 | 94.60 | 91.49 | 18.64 | 20.14 | 805 |
| Unet | 96.60 | 95.71 | 94.61 | 31.04 | 46.20 | 795 |
| Deeplab | 93.87 | 92.48 | 89.79 | 55.70 | 82.67 | 1150 |
| CRUNet | 97.33 | 96.32 | 94.68 | 28.09 | 37.46 | 780 |
| CRAUNet | 97.34 | 96.26 | 94.77 | 28.44 | 37.46 | 806 |
| Type | FCN8s | DeepLabV3+ | UNet | CRAUNet |
|---|---|---|---|---|
| Froest | 96.31% | 95.89% | 97.42% | 97.81% |
| Golf Course | 93.72% | 94.34% | 98.26% | 97.98% |
| Bare Land | 93.68% | 95.12% | 96.49% | 97.06% |
| Sports Ground | 83.91% | 80.82% | 89.17% | 92.33% |
| Farmland | 93.26% | 94.05% | 96.42% | 97.27% |
| Aquaculture Area | 96.32% | 95.14% | 96.54% | 98.36% |
| Method | Classification Data | ||||
|---|---|---|---|---|---|
| Urban Green Space | Background | Total | |||
| Random sampling | Reference data | Urban Green Space | 274 | 19 | 293 |
| Background | 14 | 193 | 210 | ||
| Total | 288 | 212 | 500 | ||
| Equal distance sampling | Urban Green Space | 258 | 15 | 273 | |
| Background | 7 | 211 | 218 | ||
| Total | 265 | 226 | 491 | ||
| Method | PA | MIoU | Precision | Recall | |
|---|---|---|---|---|---|
| Random samplings | 93.40% | 87.32% | 93.52% | 95.14% | 94.32% |
| Equal distance sampling | 95.52% | 91.35% | 94.51% | 97.36% | 95.90% |
Publisher’s Note: MDPI stays neutral with regard to jurisdictional claims in published maps and institutional affiliations. |
© 2021 by the authors. Licensee MDPI, Basel, Switzerland. This article is an open access article distributed under the terms and conditions of the Creative Commons Attribution (CC BY) license (https://creativecommons.org/licenses/by/4.0/).
Share and Cite
Men, G.; He, G.; Wang, G. Concatenated Residual Attention UNet for Semantic Segmentation of Urban Green Space. Forests 2021, 12, 1441. https://doi.org/10.3390/f12111441
Men G, He G, Wang G. Concatenated Residual Attention UNet for Semantic Segmentation of Urban Green Space. Forests. 2021; 12(11):1441. https://doi.org/10.3390/f12111441
Chicago/Turabian StyleMen, Guoqiang, Guojin He, and Guizhou Wang. 2021. "Concatenated Residual Attention UNet for Semantic Segmentation of Urban Green Space" Forests 12, no. 11: 1441. https://doi.org/10.3390/f12111441
APA StyleMen, G., He, G., & Wang, G. (2021). Concatenated Residual Attention UNet for Semantic Segmentation of Urban Green Space. Forests, 12(11), 1441. https://doi.org/10.3390/f12111441
