Shear Performance of RC Beams Strengthened with High-Performance Fibre-Reinforced Concrete (HPFRC) Under Static and Fatigue Loading
Abstract
1. Introduction
2. Experimental Programme
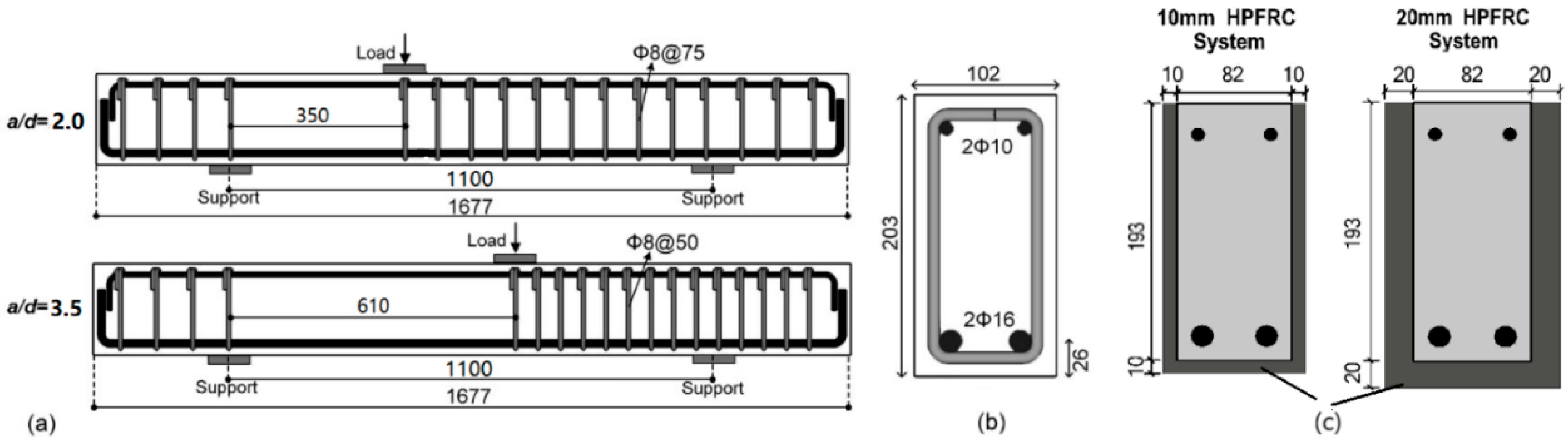
2.1. Specimen Details
2.2. Test Setup
3. Results and Discussion
3.1. Static Tests
| Series | Beam | fc (MPa) | Pmax (kN) | ΔPmax (%) | Pu (kN) | δmax (mm) | δd (mm) | V (kN) | VJAC (kN) | VJAC/V (%) | Failure Mode | |
|---|---|---|---|---|---|---|---|---|---|---|---|---|
| A | A-N | 26.4 | 51.3 | - | 41.1 | 2.50 | 3.96 | 35.0 * | - | - | - | SH |
| A-10 | 30.6 | 113.7 | 122 | 91.0 | 4.93 | 6.30 | 77.5 $ | 42.5 | 55 | 1.72 | SH | |
| A-20 | 28.4 | 117.8 | 130 | 94.2 | 4.34 | 6.53 | 80.3 $ | 45.3 | 56 | 2.04 | SH | |
| B | B-N | 24.2 | 38.8 | - | 31.2 | 1.41 | 1.50 | 16.9 * | - | - | - | SH |
| B-10 | 26.7 | 75.5 | 95 | 60.4 | 4.34 | 5.43 | 32.9 $ | 16.0 | 49 | 2.06 | SH |
3.2. Fatigue Tests
| Series | Beam | (kN) | (kN) | (MPa) | (cycles) | (mm) | (%) | (kN·mm) | Failure Mode |
|---|---|---|---|---|---|---|---|---|---|
| A | A-N | 15.4 | 35.9 | 24.7 | 75 | 3.81 | 56.0 | 8.5 | SH |
| A-10 | 34.1 | 79.6 | 23.7 | 90 | 4.34 | 25.2 | 11.8 | SH | |
| A-20 | 35.3 | 82.5 | 31.2 | 951 | 6.99 | 47.8 | 13.6 | SH | |
| B | B-N | 11.6 | 27.2 | 24.4 | 12,525 | 1.61 | 30.4 | 2.56 | SH |
| B-10 | 22.7 | 52.9 | 26.9 | 48,786 | 4.79 | 48.8 | 7.42 | SH |
- Initial stage: During the initial cycles, the deflection and strain of various components, including the longitudinal reinforcement, strengthening system, and concrete, underwent a rapid increase due to the emergence of a significant number of initial cracks.
- Stable stage: The response shifted into a stable phase marked by a notable deceleration in the accumulation of damage. During this stage, the rate of increase in deflection and the degradation of stiffness decelerated. This stable phase persisted until the commencement of the final, brief stage preceding failure.
- Final stage: The tested beams experienced a sudden and marked surge in both deflection and stiffness degradation, ultimately leading to failure.
4. Fatigue Life Prediction of the HPFRC Jacketed Beams
5. Conclusions
- Static Loading: HPFRC jacketing increased the shear strength of RC beams by 95% to 130%. Strengthening effects were more pronounced with increased HPFRC thickness, especially in deeper beams (a/d = 2.0), while a reduced enhancement was observed as the a/d ratio increased. The strengthened beams exhibited partial detachment but maintained a shear failure mode, with fibre bridging contributing to crack control.
- Fatigue Loading: HPFRC significantly improved the fatigue life of RC beams, extending the number of cycles by up to 951 cycles in beams with a/d = 2.0, and up to 48,786 cycles in beams with a/d = 3.5. The typical diagonal tension failure mode persisted across all the specimens. The beams experienced three distinct phases of deflection, stiffness degradation, and energy dissipation, related to damage accumulation.
- Fatigue Life Prediction Model: A predictive model for fatigue life was developed based on maximum fatigue load and ultimate shear strength under static loading. Further validation with additional data are required to refine the model’s accuracy.
Author Contributions
Funding
Institutional Review Board Statement
Informed Consent Statement
Data Availability Statement
Acknowledgments
Conflicts of Interest
References
- Lynn, A.C.; Moehle, J.P.; Mahin, S.A.; Holmes, W.T. Seismic evaluation of existing reinforced concrete building columns. Earthq. Spectra 1996, 12, 715–739. [Google Scholar] [CrossRef]
- Sezen, H.; Moehle, J.P. Shear strength model for lightly reinforced concrete columns. J. Struct. Eng. 2004, 130, 1692–1703. [Google Scholar] [CrossRef]
- Life, S.T. Turkey-Earthquake: Emergency Situation Report (06.04.2023); Support to Life: Istanbul, Turkey, 2023. [Google Scholar]
- Bournas, D.A. Concurrent seismic and energy retrofitting of RC and masonry building envelopes using inorganic textile-based composites combined with insulation materials: A new concept. Compos. Part B Eng. 2018, 148, 166–179. [Google Scholar] [CrossRef]
- Kam, W.Y.; Pampanin, S.; Elwood, K. Seismic performance of reinforced concrete buildings in the 22 February Christchurch (Lyttleton) earthquake. Bull. N. Zealand Soc. Earthq. Eng. 2011, 44, 239–278. [Google Scholar] [CrossRef]
- Thermou, G.; Elnashai, A. Seismic retrofit schemes for RC structures and local-global consequences. Prog. Struct. Eng. Mater. 2006, 8, 1–15. [Google Scholar] [CrossRef]
- Pampanin, S. Controversial aspects in seismic assessment and retrofit of structures in modern times: Understanding and implementing lessons from ancient heritage. Bull. N. Zealand Soc. Earthq. Eng. 2006, 39, 120–133. [Google Scholar] [CrossRef][Green Version]
- Sharif, A.; Al-Sulaimani, G.; Basunbul, I.; Baluch, M.; Ghaleb, B. Strengthening of initially loaded reinforced concrete beams using FRP plates. Struct. J. 1994, 91, 160–168. [Google Scholar]
- Sakr, M.A.; Sleemah, A.A.; Khalifa, T.M.; Mansour, W.N. Behavior of RC beams strengthened in shear with ultra-high performance fiber reinforced concrete (UHPFRC). In Proceedings of the MATEC Web of Conferences, Cape Town, South Africa, 19–21 November 2018; p. 09002. [Google Scholar]
- Gonzalez-Libreros, J.H.; Sabau, C.; Sneed, L.H.; Pellegrino, C.; Sas, G. State of research on shear strengthening of RC beams with FRCM composites. Constr. Build. Mater. 2017, 149, 444–458. [Google Scholar] [CrossRef]
- Chaallal, O.; Boussaha, F.; Bousselham, A. Fatigue performance of RC beams strengthened in shear with CFRP fabrics. J. Compos. Constr. 2010, 14, 415–423. [Google Scholar] [CrossRef]
- Laterza, M.; D’amato, M.; Casamassima, V.M. Stress-life curves method for fatigue assessment of ancient brick arch bridges. Int. J. Archit. Herit. 2017, 11, 843–858. [Google Scholar] [CrossRef]
- Roberts, T.M.; Hughes, T.G.; Dandamudi, V.; Bell, B. Quasi-static and high cycle fatigue strength of brick masonry. Constr. Build. Mater. 2006, 20, 603–614. [Google Scholar] [CrossRef]
- Graeff, Â.G.; Pilakoutas, K.; Neocleous, K.; Peres, M.V.N.N. Fatigue resistance and cracking mechanism of concrete pavements reinforced with recycled steel fibres recovered from post-consumer tyres. Eng. Struct. 2012, 45, 385–395. [Google Scholar] [CrossRef]
- Thomas, J.; Ramaswamy, A. Crack Width in Partially Prestressed T-Beams Having Steel Fibers. Aci Struct. J. 2006, 103, 568–576. [Google Scholar]
- Murthy, A.R.; Karihaloo, B.L.; Rani, P.V.; Priya, D.S. Fatigue behaviour of damaged RC beams strengthened with ultra high performance fibre reinforced concrete. Int. J. Fatigue 2018, 116, 659–668. [Google Scholar] [CrossRef]
- Jongvivatsakul, P.; Attachaiyawuth, A.; Pansuk, W. A crack-shear slip model of high-strength steel fiber-reinforced concrete based on a push-off test. Constr. Build. Mater. 2016, 126, 924–935. [Google Scholar] [CrossRef]
- Savino, V.; Lanzoni, L.; Tarantino, A.M.; Viviani, M. Simple and effective models to predict the compressive and tensile strength of HPFRC as the steel fiber content and type changes. Compos. Part B Eng. 2018, 137, 153–162. [Google Scholar] [CrossRef]
- Buttignol, T.E.T.; Sousa, J.; Bittencourt, T. Ultra High-Performance Fiber-Reinforced Concrete (UHPFRC): A review of material properties and design procedures. Rev. IBRACON Estrut. E Mater. 2017, 10, 957–971. [Google Scholar] [CrossRef]
- Ren, G.; Yao, B.; Huang, H.; Gao, X. Influence of sisal fibers on the mechanical performance of ultra-high performance concretes. Constr. Build. Mater. 2021, 286, 122958. [Google Scholar] [CrossRef]
- Kang, S.-T.; Lee, Y.; Park, Y.-D.; Kim, J.-K. Tensile fracture properties of an Ultra High Performance Fiber Reinforced Concrete (UHPFRC) with steel fiber. Compos. Struct. 2010, 92, 61–71. [Google Scholar] [CrossRef]
- Tsioulou, O.; Lampropoulos, A.; Paschalis, S. Combined non-destructive testing (NDT) method for the evaluation of the mechanical characteristics of ultra high performance fibre reinforced concrete (UHPFRC). Constr. Build. Mater. 2017, 131, 66–77. [Google Scholar] [CrossRef]
- Nicolaides, D.; Kanellopoulos, A.; Petrou, M.; Savva, P.; Mina, A. Development of a new Ultra High Performance Fibre Reinforced Cementitious Composite (UHPFRCC) for impact and blast protection of structures. Constr. Build. Mater. 2015, 95, 667–674. [Google Scholar] [CrossRef]
- Huang, Y.; Grünewald, S.; Schlangen, E.; Luković, M. Strengthening of concrete structures with ultra high performance fiber reinforced concrete (UHPFRC): A critical review. Constr. Build. Mater. 2022, 336, 127398. [Google Scholar] [CrossRef]
- Sohail, M.G.; Kahraman, R.; Al Nuaimi, N.; Gencturk, B.; Alnahhal, W. Durability characteristics of high and ultra-high performance concretes. J. Build. Eng. 2021, 33, 101669. [Google Scholar] [CrossRef]
- Amin, M.; Zeyad, A.M.; Tayeh, B.A.; Agwa, I.S. Effects of nano cotton stalk and palm leaf ashes on ultrahigh-performance concrete properties incorporating recycled concrete aggregates. Constr. Build. Mater. 2021, 302, 124196. [Google Scholar] [CrossRef]
- Said, A.; Elsayed, M.; Abd El-Azim, A.; Althoey, F.; Tayeh, B.A. Using ultra-high performance fiber reinforced concrete in improvement shear strength of reinforced concrete beams. Case Stud. Constr. Mater. 2022, 16, e01009. [Google Scholar] [CrossRef]
- Brühwiler, E. “Structural UHPFRC”: Welcome to the post-concrete era! In Proceedings of the International Interactive Symposium on Ultra-High Performance Concrete, Des Moines, IA, USA, 18–20 July 2016. [Google Scholar]
- Nunes, S.; Pimentel, M.; Sousa, C. Mechanical and Fracture Behaviour of an HPFRC. In Proceedings of the Fibre Reinforced Concrete: Improvements and Innovations II: X RILEM-fib International Symposium on Fibre Reinforced Concrete (BEFIB) 2021 10; Springer: Berlin/Heidelberg, Germany, 2022; pp. 174–185. [Google Scholar]
- Garg, V.; Bansal, P.P.; Sharma, R. Retrofitting of shear-deficient RC beams using UHP-FRC. Iran. J. Sci. Technol. Trans. Civ. Eng. 2019, 43, 419–428. [Google Scholar] [CrossRef]
- Ji, H.; Liu, C. Ultimate shear resistance of ultra-high performance fiber reinforced concrete-normal strength concrete beam. Eng. Struct. 2020, 203, 109825. [Google Scholar] [CrossRef]
- Wang, J.; Ji, W.; An, M.; Li, W. Fatigue behavior of reinforced UHPC-NC composite beams. Case Stud. Constr. Mater. 2023, 18, e02055. [Google Scholar] [CrossRef]
- Tzoura, E.; Triantafillou, T. Shear strengthening of reinforced concrete T-beams under cyclic loading with TRM or FRP jackets. Mater. Struct. 2016, 49, 17–28. [Google Scholar] [CrossRef]
- Kerakoll. Technical Data Sheet: Geolite Magma. Available online: https://products.kerakoll.com/en-gcc/p/geolite-magma (accessed on 15 October 2024).
- Kerakoll. Technical Data Sheet: Steel Fibre. Available online: https://products.kerakoll.com/en/p/steel-fiber (accessed on 15 October 2024).
- Czaderski, C.; Motavalli, M. Fatigue behaviour of CFRP L-shaped plates for shear strengthening of RC T-beams. Compos. Part B Eng. 2004, 35, 279–290. [Google Scholar] [CrossRef]
- El-Saikaly, G.; Chaallal, O. Extending the fatigue life of reinforced concrete T-beams strengthened in shear with externally bonded FRP: Upgrading versus repairing. J. Compos. Constr. 2015, 19, 04014027. [Google Scholar] [CrossRef]
- Du Béton, F.I. Externally bonded FRP reinforcement for RC structures. Bulletin 2001, 14, 138. [Google Scholar]
- Al-Rousan, R.; Issa, M. Fatigue performance of reinforced concrete beams strengthened with CFRP sheets. Constr. Build. Mater. 2011, 25, 3520–3529. [Google Scholar] [CrossRef]
- Banjara, N.K.; Ramanjaneyulu, K. Investigations on behaviour of flexural deficient and CFRP strengthened reinforced concrete beams under static and fatigue loading. Constr. Build. Mater. 2019, 201, 746–762. [Google Scholar] [CrossRef]
- Banjara, N.K.; Ramanjaneyulu, K. Effect of Deficiencies on Fatigue Life of Reinforced Concrete Beams. ACI Struct. J. 2020, 117, 31. [Google Scholar]
- Garcez, M.R.; Meneghetti, L.C.; Teixeira, R.M. The effect of FRP prestressing on the fatigue performance of strengthened RC beams. Struct. Concr. 2021, 22, 6–21. [Google Scholar] [CrossRef]
- Gagani, A.I.; Monsås, A.B.; Krauklis, A.E.; Echtermeyer, A.T. The effect of temperature and water immersion on the interlaminar shear fatigue of glass fiber epoxy composites using the I-beam method. Compos. Sci. Technol. 2019, 181, 107703. [Google Scholar] [CrossRef]
- Barnes, R.A.; Mays, G.C. Fatigue performance of concrete beams strengthened with CFRP plates. J. Compos. Constr. 1999, 3, 63–72. [Google Scholar] [CrossRef]
- Mahal, M.; Blanksvrd, T.; Tljsten, B.; Sas, G. Using digital image correlation to evaluate fatigue behavior of strengthened reinforced concrete beams. Eng. Struct. 2015, 105, 277–288. [Google Scholar] [CrossRef]
- Shang, X.Y.; Yu, J.T.; Li, L.Z.; Lu, Z.D. Shear strengthening of fire damaged RC beams with stirrup reinforced engineered cementitious composites. Eng. Struct. 2020, 210, 110263. [Google Scholar] [CrossRef]
- ASCE. Seismic Rehabilitation of Existing Buildings (ASCE/SEI 41–06); ASCE: New York, NY, USA, 2007. [Google Scholar]
- Tetta, Z.C.; Koutas, L.N.; Bournas, D.A. Shear strengthening of concrete members with TRM jackets: Effect of shear span-to-depth ratio, material and amount of external reinforcement. Compos. Part B Eng. 2018, 137, 184–201. [Google Scholar] [CrossRef]
- Wakjira, T.G.; Ebead, U. Shear span-to-depth ratio effect on steel reinforced grout strengthened reinforced concrete beams. Eng. Struct. 2020, 216, 110737. [Google Scholar] [CrossRef]
- Bandelt, M.J.; Billington, S.L. Bond behavior of steel reinforcement in high-performance fiber-reinforced cementitious composite flexural members. Mater. Struct. 2016, 49, 71–86. [Google Scholar] [CrossRef]
- Mangalathu, S.; Jeon, J.-S. Classification of failure mode and prediction of shear strength for reinforced concrete beam-column joints using machine learning techniques. Eng. Struct. 2018, 160, 85–94. [Google Scholar] [CrossRef]
- D’Antino, T.; Carloni, C.; Sneed, L.; Pellegrino, C. Fatigue and post-fatigue behavior of PBO FRCM-concrete joints. Int. J. Fatigue 2015, 81, 91–104. [Google Scholar] [CrossRef]
- Xia, J.; Chen, K.; Wu, Y.; Xiao, W.; Jin, W.; Zhang, J. Shear fatigue behavior of reinforced concrete beams produced with manufactured sand as alternatives for natural sand. J. Build. Eng. 2022, 62, 105412. [Google Scholar] [CrossRef]
- Akbari Hadad, H.; Nanni, A.; Ebead, U.A.; El Refai, A. Static and fatigue performance of FRCM-strengthened concrete beams. J. Compos. Constr. 2018, 22, 04018033. [Google Scholar] [CrossRef]
- Mahal, M.; Blanksvärd, T.; Täljsten, B. Examination at a material and structural level of the fatigue life of beams strengthened with mineral or epoxy bonded FRPs: The state of the art. Adv. Struct. Eng. 2013, 16, 1311–1327. [Google Scholar] [CrossRef]
- Gallego, J.M.; Zanuy, C.; Albajar, L. Shear fatigue behaviour of reinforced concrete elements without shear reinforcement. Eng. Struct. 2014, 79, 45–57. [Google Scholar] [CrossRef]
- Noshiravani, T.; Brühwiler, E. Analytical model for predicting response and flexure-shear resistance of composite beams combining reinforced ultrahigh performance fiber-reinforced concrete and reinforced concrete. J. Struct. Eng. 2014, 140, 04014012. [Google Scholar] [CrossRef]
- Yin, H.; Shirai, K.; Teo, W. Prediction of shear capacity of UHPC–concrete composite structural members based on existing codes. J. Civ. Eng. Manag. 2018, 24, 607–618. [Google Scholar] [CrossRef]
- Liu, X.; Thermou, G.E. A review on the shear performance of reinforced concrete (RC) beams strengthened with externally bonded mortar-based composites. Structures 2023, 58, 105474. [Google Scholar] [CrossRef]
- Committee, J.C. Recommendation for Design and Construction of Ultra High Strength Fiber Reinforced Concrete Structures (Draft); Committee, J.C: Tokyo, Japan, 2006. [Google Scholar]
- Européen, C. Eurocode 2: Design of concrete structures—Part 1-1: General rules and rules for buildings. Lond. Br. Stand. Inst. 2004, 668, 659–668. [Google Scholar]
- Akbari Hadad, H.; Nanni, A. Fatigue behavior of FRCM-strengthened RC beams. J. Compos. Constr. 2020, 24, 04020074. [Google Scholar] [CrossRef]















| Name | Jacketing Type | |
|---|---|---|
| Group A (a/d = 2.0) | A-N | Control beam |
| A-10 | 10 mm HPFRC | |
| A-20 | 20 mm HPFRC | |
| Group B (a/d = 3.5) | B-N | Control beam |
| B-10 | 10 mm HPFRC |
| Mixture Density (kg/cm3) | 1 (MPa) | 2 (MPa) | 3 (MPa) | 4 (GPa) | |
|---|---|---|---|---|---|
| HPC | 2270 | 110 | 14 | 2 | 34 |
| Shape | Diameter (mm) | Length (mm) | 1 (MPa) | (GPa) | 2 (%) | |
|---|---|---|---|---|---|---|
| Steel Fibre | straight rigid | 0.2 | 13 | 3100 | 200 | 1 |
Disclaimer/Publisher’s Note: The statements, opinions and data contained in all publications are solely those of the individual author(s) and contributor(s) and not of MDPI and/or the editor(s). MDPI and/or the editor(s) disclaim responsibility for any injury to people or property resulting from any ideas, methods, instructions or products referred to in the content. |
© 2024 by the authors. Licensee MDPI, Basel, Switzerland. This article is an open access article distributed under the terms and conditions of the Creative Commons Attribution (CC BY) license (https://creativecommons.org/licenses/by/4.0/).
Share and Cite
Liu, X.; Thermou, G.E. Shear Performance of RC Beams Strengthened with High-Performance Fibre-Reinforced Concrete (HPFRC) Under Static and Fatigue Loading. Materials 2024, 17, 5227. https://doi.org/10.3390/ma17215227
Liu X, Thermou GE. Shear Performance of RC Beams Strengthened with High-Performance Fibre-Reinforced Concrete (HPFRC) Under Static and Fatigue Loading. Materials. 2024; 17(21):5227. https://doi.org/10.3390/ma17215227
Chicago/Turabian StyleLiu, Xiangsheng, and Georgia E. Thermou. 2024. "Shear Performance of RC Beams Strengthened with High-Performance Fibre-Reinforced Concrete (HPFRC) Under Static and Fatigue Loading" Materials 17, no. 21: 5227. https://doi.org/10.3390/ma17215227
APA StyleLiu, X., & Thermou, G. E. (2024). Shear Performance of RC Beams Strengthened with High-Performance Fibre-Reinforced Concrete (HPFRC) Under Static and Fatigue Loading. Materials, 17(21), 5227. https://doi.org/10.3390/ma17215227

