Theoretical and Experimental Designs on Several Mechanical Properties of Cu–Al–Zn Shape Memory Alloys Used in the Processing Industry
Abstract
1. Introduction
2. Theoretical Design
2.1. Non-Differentiability Applied to SMA Dynamics in the Form of the Multifractal Hydrodynamic Model: A Short Reminder
- Therefore, according to [37,38,39,42], the existence of either the term from Equation (6a) or from Equation (6b) may correspond to a complex viscosity coefficient, the first being of a multifractal type and the second being only of a monofractal type. In such a context, it is possible to state that either the multifractal fluid or the fractal fluid, which describes the SMA dynamics of such a material, has a “memory”.
2.2. Mechanical Hysteresis-Type Behaviors “Mimed” through a Multifractal Tunnel Effect
- Any SMA can be viewed as a mathematical object of multifractal type;
- Any SMA dynamics can be described by means of multifractal hydrodynamic equations;
- The SMA system functions as a multifractal tunnel effect defined by the scalar potential (see Figure 1).
- SMA dynamics can be defined by means of the multifractal energy conservation law in the shape:or explicitly:
- Zone (1), named the multifractal incidence zone;
- Zone (2), named the multifractal barrier;
- Zone (3), named the multifractal emergence zone.
- For Zone (1) (incident states):
- For Zone (3) (emergent states):
- For Zone (1) (reflected states):
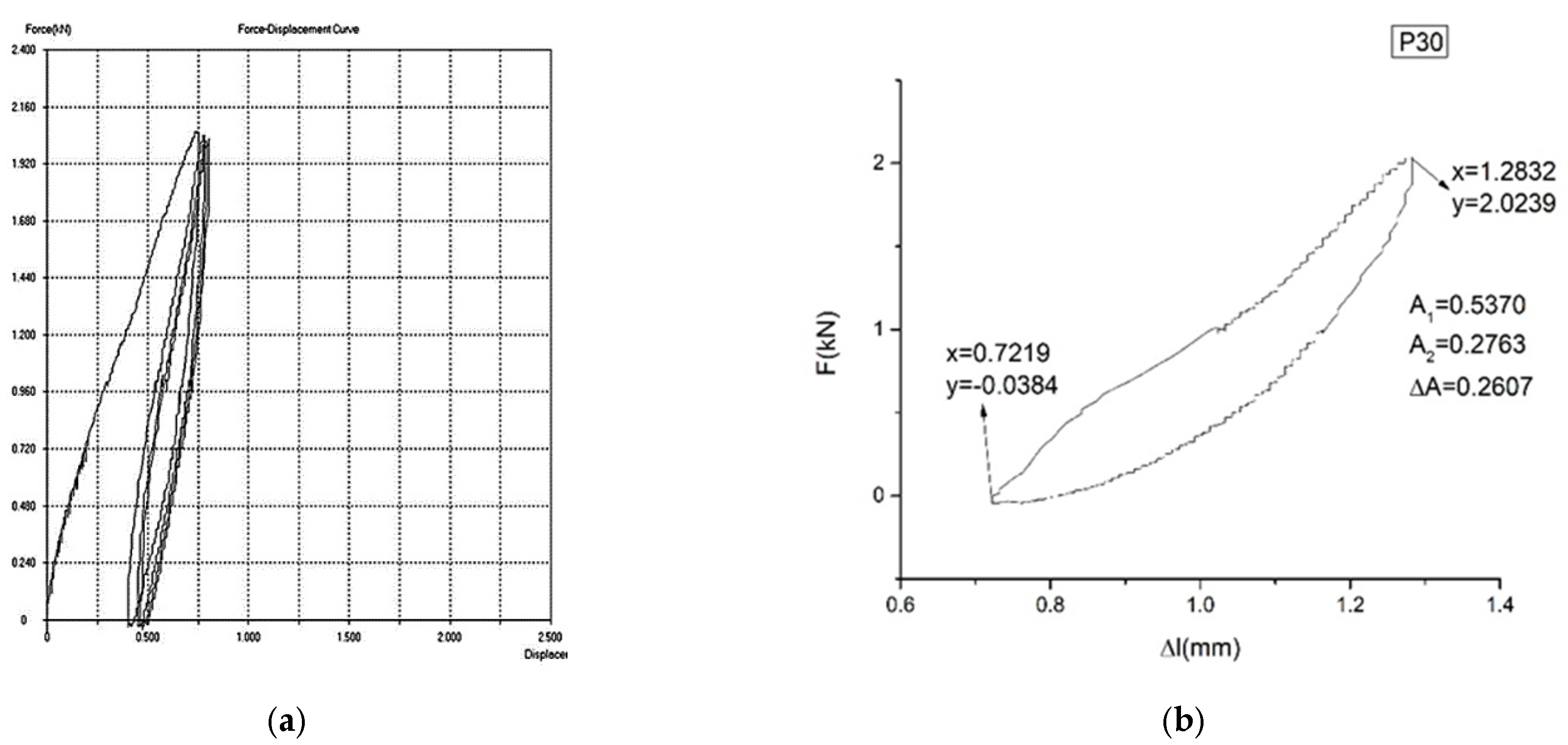
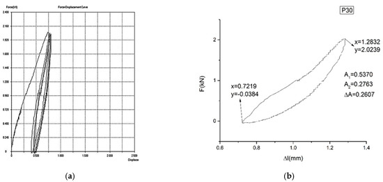
3. Experimental Design of SMAs of Cu–Al–Zn Alloy
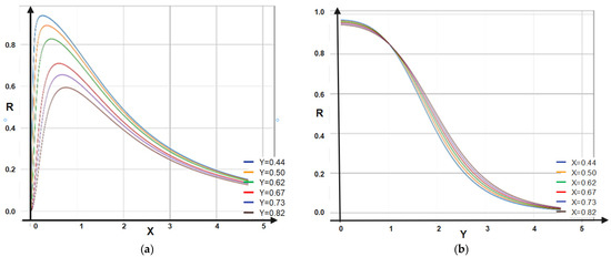
4. Validation of the Model
5. Conclusions
- ○
- By assimilating SMAs with mathematical multifractal-type objects, a theoretical model, using the Scale Relativity Theory, was developed for the purpose of explaining the behavior of such materials;
- ○
- Considering that the dynamics of the entities belonging to any SMA are described through continuous and non-differentiable curves (multifractal curves), the motion equations (geodesics on multifractal manifolds) were obtained in the multifractal hydrodynamic model;
- ○
- The properties of any SMA were put in correspondence with the properties of a multifractal fluid: complex viscous-type coefficient in correlation with the scale resolution (which can “mime” the shape memory), the multifractal reversibility in correlation with the martensite–austenite transformation, and the existence of a multifractal tensor, which is in correlation with material constitutive laws (in particular, the force–displacement curve);
- ○
- As a final remark, the chemical composition of the SMA can be linked to the fractality degree, while the yield can be linked to the scale resolution, as is shown in Figure 6;
- ○
- The loading–unloading graphs of the alloys show a pronounced hysteresis. This is due to the fact that the inverse transformation (martensite–austenite) does not occur at the same stress levels during unloading, compared to the direct transformation during loading. This indicates that a supplementary force is needed due to stored elastic deformation energy;
- ○
- When in the loading phase, the alloy undergoes a transformation from the austenitic phase to the martensitic phase;
- ○
- When the force reaches a maximum, the original austenitic phase is transformed into a martensitic one. An elastic loading of the martensite might occur (accompanied by a percentage of non-transformable, residual austenite) which, in practice, can lead to a conventional plastic deformation above this loading leve;
- ○
- If the martensitic material is too tensed, an irreversible plastic deformation may occur;
- ○
- When the force decreases, the alloy reverses to its initial phase, this aspect being possible due to the retransformations stress (which means that hysteresis exists);
- ○
- Finally, for a sufficiently low load, the alloy completely reverts to its austenitic phase.
Author Contributions
Funding
Institutional Review Board Statement
Informed Consent Statement
Data Availability Statement
Conflicts of Interest
References
- Hornbogen, E. Thermo-mechanical fatigue of shape memory alloys. J. Mater. Sci. 2004, 39, 385–399. [Google Scholar] [CrossRef]
- Benafan, O.; Bigelow, G.S.; Garg, A.; Noebe, R.D.; Gaydosh, D.J.; Rogers, R.B. Processing and scalability of NiTiHf high-temperature shape memory alloys. Shape Mem. Superelasticity 2021, 7, 109–165. [Google Scholar] [CrossRef]
- Velmurugan, C.; Senthilkumar, V.; Kamala, P.S. Microstructure and corrosion behavior of NiTi shape memory alloys sintered in the SPS process. Int. J. Min. Met. Mater. 2019, 26, 1311–1321. [Google Scholar] [CrossRef]
- Wu, M.H.; Schetky, L.M. Industrial applications for shape memory alloys. In Proceedings of the International Conference on Shape Memory and Superelastic Technolgies, Pacific Grove, CA, USA, 15–19 May 2000; pp. 171–182. [Google Scholar]
- Mohd Jani, J.; Leary, M.; Subic, A.; Gibson, M.A. A review of shape memory alloy research, applications and opportunities. Mater. Des. 2014, 56, 1078–1113. [Google Scholar] [CrossRef]
- Castrodeza, E.M.; Mapelli, C.; Vedani, M.; Arnaboldi, S.; Bassani, P.; Tuissi, A. Processing of shape memory CuZnAl open-cell foam by molten metal infiltration. J. Mater. Eng. Perform. 2009, 18, 484–489. [Google Scholar] [CrossRef]
- Akahori, T.; Niinomi, M.; Higuchi, T.; Morii, K. Microstructures and mechanical properties of Ti-Ni and Ti-Ni-Co type shape memory alloys. J. Jpn. Inst. Met. 2003, 67, 595–603. [Google Scholar] [CrossRef]
- Amini, A.; Cheng, C. Nature of hardness evolution in nanocrystalline NiTi shape memory alloys during solid-state phase transition. Sci. Rep. 2013, 3, 2476. [Google Scholar] [CrossRef]
- Basu, R.; Jain, L.; Maji, B.C.; Krishnan, M.; Krishna, K.V.M.; Samajdar, I.; Pant, P. Origin of microstructural irreversibility in Ni-Ti based shape memory alloys during thermal cycling. Metall. Mater. Trans. A 2012, 43a, 1277–1287. [Google Scholar] [CrossRef]
- Espiritu, R.; Amorsolo, A. Fabrication and characterization of Cu-Zn-Sn shape memory alloys via an electrodeposition-annealing route. Int. J. Min. Met. Mater. 2019, 26, 1436–1449. [Google Scholar] [CrossRef]
- Lohan, N.M.; Suru, M.G.; Pricop, B.; Bujoreanu, L.G. Cooling rate effects on the structure and transformation behavior of Cu-Zn-Al shape memory alloys. Int. J. Min. Met. Mater. 2014, 21, 1109–1114. [Google Scholar] [CrossRef]
- Saha, G.; Ghosh, M.; Antony, A.; Biswas, K. Ageing behaviour of Sc-Doped Cu-Zn-Al shape memory alloys. Arab. J. Sci. Eng. 2019, 44, 1569–1581. [Google Scholar] [CrossRef]
- Wang, J.J.; Omori, T.; Sutou, Y.; Kainuma, R.; Ishida, K. Microstructure and thermal expansion properties of invar-type Cu-Zn-Al shape memory alloys. J. Electron. Mater. 2004, 33, 1098–1102. [Google Scholar] [CrossRef]
- Dang, S.; Li, Y.G.; Zou, Q.; Wang, M.Z.; Xiong, J.C.; Luo, W.Q. Progress in Fe-Mn-Si based shape memory alloys prepared by mechanical alloying and powder metallurgy. Cailiao Gongcheng 2019, 47, 18–25. [Google Scholar]
- Lin, K.M.; Chen, J.H.; Lin, C.C.; Liu, C.H.; Lin, H.C. Optimization of shape-memory effect in Fe-Mn-Si-Cr-Re shape-memory alloys. J. Mater. Eng. Perform. 2014, 23, 2327–2332. [Google Scholar] [CrossRef]
- Ogawa, K.; Sawaguchi, T.; Kikuchi, T.; Kajiwara, S. Mechanism of improvement of shape memory effect in NbC containing Fe-Mn-Si-based shape memory alloys. J. Jpn. Inst. Met. 2006, 70, 25–33. [Google Scholar] [CrossRef]
- Chen, Z.X.; Peng, W.Y. Fe-Ni-Al-Ta polycrystalline shape memory alloys showing excellent superelasticity. Funct. Mater. Lett. 2020, 13, 1950096. [Google Scholar] [CrossRef]
- Fu, H.D.; Zhao, H.M.; Zhang, Y.X.; Xie, J.X. Enhancement of superelasticity in Fe-Ni-Co-based shape memory alloys by microstructure and texture control. Procedia Eng. 2017, 207, 1517–1522. [Google Scholar] [CrossRef]
- Tolea, F.; Schinteie, G.; Popescu, B. Mossbauer spectroscopy and magnetic measurements on Fe-Ni-Co-Ti shape memory alloys. J. Optoelectron. Adv. Mater. 2006, 8, 1502–1506. [Google Scholar]
- Gupta, D.; Lieberman, D.S. Defects and diffusion in a prototype of shape memory alloys: Beta(2)’ Au-Cd alloys. Defect Diffus. Forum 2009, 283–286, 139–148. [Google Scholar] [CrossRef]
- Hosoda, H.; Hori, T.; Morita, T.; Umise, A.; Tahara, M.; Inamura, T.; Goto, K.; Kanetaka, H. Effect of Al and Cu contents on mechanical properties of Au-Cu-Al shape memory alloys. J. Jpn Inst. Met. Mater. 2016, 80, 27–36. [Google Scholar] [CrossRef]
- Xue, D.Z.; Zhou, Y.M.; Ding, X.D.; Otsuka, K.; Sun, J.; Ren, X.B. Martensite aging effects on the dynamic properties of Au-Cd shape memory alloys: Characteristics and modeling. Acta Mater. 2011, 59, 4999–5011. [Google Scholar] [CrossRef]
- Kosorukova, T.A.; Gerstein, G.; Odnosum, V.V.; Koval, Y.N.; Maier, H.J.; Firstov, G.S. Microstructure formation in cast TiZrHfCoNiCu and CoNiCuAlGaIn high entropy shape memory alloys: A comparison. Materials 2019, 12, 4227. [Google Scholar] [CrossRef] [PubMed]
- Nakata, Y.; Iizuka, Y.; Ono, T. The effects of aging on the degree of order in Cu-Al-Ni shape memory alloys. Mater. Trans. 2016, 57, 257–262. [Google Scholar] [CrossRef]
- Xue, D.Q.; Yuan, R.H.; Zhou, Y.M.; Xue, D.Z.; Lookman, T.; Zhang, G.J.; Ding, X.D.; Sun, J. Design of high temperature Ti-Pd-Cr shape memory alloys with small thermal hysteresis. Sci. Rep. 2016, 6, 28244. [Google Scholar] [CrossRef]
- Benguerine, O.; Nabi, Z.; Benichou, B.; Bouabdallah, B.; Bouchenafa, H.; Maachou, M.; Ahuja, R. Structural, elastic, electronic, and magnetic properties of Ni2MnSb, Ni2MnSn, and Ni2MnSb0.5Sn0.5 magnetic shape memory alloys. Rev. Mex. Fis. 2020, 66, 121–126. [Google Scholar] [CrossRef]
- Cui, S.S.; Wan, J.F.; Zhang, J.H.; Chen, N.L.; Rong, Y.H. Phase-field study of microstructure and plasticity in polycrystalline MnNi shape memory alloys. Metall. Mater. Trans. A 2018, 49a, 5936–5941. [Google Scholar] [CrossRef]
- Konopatsky, A.; Sheremetyev, V.; Dubinskiy, S.; Zhukova, Y.; Firestein, K.; Golberg, D.; Filonov, M.; Prokoshkin, S.; Brailovski, V. Structure and Superelasticity of novel Zr-Rich Ti-Zr-Nb shape memory alloys. Shape Mem. Superelasticity 2021, 7, 304–313. [Google Scholar] [CrossRef]
- Paulsen, A.; Frenzel, J.; Langenkamper, D.; Rynko, R.; Kadletz, P.; Grossmann, L.; Schmahl, W.W.; Somsen, C.; Eggeler, G. A Kinetic study on the evolution of martensitic transformation behavior and microstructures in Ti-Ta high-temperature shape-memory alloys during aging. Shape Mem. Superelasticity 2019, 5, 16–31. [Google Scholar] [CrossRef]
- Stanciu, S.; Bujoreanu, L.; Ionita, I.; Sandu, A.V.; Enache, A. A structural-morphological study of a Cu63Al26Mn11 shape memory alloy. In Advanced Topics in Optoelectronics, Microelectronics, and Nanotechnologies; SPIE: Bellingham, WA, USA, 2009; Volume 7297, pp. 80–83. [Google Scholar] [CrossRef]
- Kneissl, A.C.; Unterweger, E.; Lojen, G.; Anzel, I. Microstructure and properties of shape memory alloys. Microsc. Microanal. 2005, 11, 1704–1705. [Google Scholar] [CrossRef]
- Bahador, A.; Hamzah, E.; Kondoh, K.; Tsutsumi, S.; Umeda, J.; Abu Bakar, T.A.; Yusof, F. Heat-conduction-type and keyhole-type laser welding of Ti-Ni shape-memory alloys processed by spark-plasma sintering. Mater. Trans. 2018, 59, 835–842. [Google Scholar] [CrossRef]
- Richter, F.; Kastner, O.; Eggeler, G. Finite—Element model for simulations of fully coupled thermomechanical processes in shape memory alloys. In Proceedings of the ESOMAT 2009—8th European Symposium on Martensitic Transformations, Prague, Czech Republic, 7–11 September 2009; 2009, p. 06029. [Google Scholar]
- Louche, H.; Schlosser, P.; Favier, D.; Orgeas, L. Heat source processing for localized deformation with non-constant thermal conductivity. Application to superelastic tensile tests of NiTi shape memory alloys. Exp. Mech. 2012, 52, 1313–1328. [Google Scholar] [CrossRef]
- Ibrahim, M.K.; Hamzah, E.; Saud, S.N.; Nazim, E.M.; Iqbal, N.; Bahador, A. Effect of Sn additions on the microstructure, mechanical properties, corrosion and bioactivity behaviour of biomedical Ti-Ta shape memory alloys. J. Therm. Anal. Calorim. 2018, 131, 1165–1175. [Google Scholar] [CrossRef]
- Kok, M.; Ates, G. The effect of addition of various elements on properties of NiTi-based shape memory alloys for biomedical application. Eur. Phys. J. Plus 2017, 132, 185. [Google Scholar] [CrossRef]
- Nottale, L. Scale Relativity and Fractal Space-Time: A New Approach to Unifying Relativity and Quantum Mechanics; Imperial College Press: London, UK, 2011; pp. 1–743. [Google Scholar]
- Agop, M.; Paun, V.P. On the New Perspectives of Fractal Theory. Fundaments and Applications; Editura Academiei Române: Bucharest, Romania, 2017. [Google Scholar]
- Mazilu, N.; Agop, M.; Merches, I. Scale Transitions as Foundations of Physics; World Scientific: Singapore, 2020; p. 428. [Google Scholar]
- Mandelbrot, B.B. The Fractal Geometry of Nature; W. H. Freeman and Co., Ltd.: San Francisco, CA, USA, 1983; Volume 8, p. 406. [Google Scholar]
- Cristescu, C. Nonlinear Dynamics and Chaos. Theoretical Fundaments and Applications; Romanian Academy Publishing House: Bucharest, Romania, 2008. [Google Scholar]
- Merches, I.; Agop, M. Differentiability and Fractality in Dynamics of Physical Systems; World Scientific: Singapore, 2015; p. 300. [Google Scholar]
- Bujoreanu, C.; Irimiciuc, S.; Benchea, M.; Nedeff, F.; Agop, M. A fractal approach of the sound absorption behaviour of materials. Theoretical and experimental aspects. Int. J. Nonlinear. Mech. 2018, 103, 128–137. [Google Scholar] [CrossRef]
- Plăcintă, C. Contribuții Experimentale și Teoretice Asupra Studiului Proprietăților Aliajelor cu Memoria Formei CuZnAl; Universitatea Tehnică, Gheorghe Asachi: Iaşi, Romania, 2022. [Google Scholar]
- Duerig, T.W.; Melton, K.N.; Stöckel, D. Engineering Aspects of Shape Memory Alloys; Butterworth-Heinemann: London, UK, 1990. [Google Scholar]
- Lagoudas, D.C. Shape Memory Alloys Modeling and Engineering Applications; Springer: Berlin/Heidelberg, Germany, 2010. [Google Scholar]
- Meng, Z.; Huaibin, Q.; Yongxin, W.; Jin, L.; Mengyao, Z.; Yongliang, G.; Junzhe, L.; Bingheng, L. Superelastic behaviors of additively manufactured porous NiTi shape memory alloys designed with Menger sponge-like fractal structures. Mater. Des. 2021, 200, 109448. [Google Scholar]
- Ge, G.; Zhu, Z.-W.; Xu, J. Chaos and fractal boundary of safe basin of a shape memory alloy beam subjected to simple hamonic and white nosie excitations. J. Vib. Shock 2012, 31, 1–5,11. [Google Scholar]










| Sample No. | Cu Percentage(%) | Zn Percentage(%) | Al Percentage(%) | Trace Material Percentage(%) |
|---|---|---|---|---|
| P10 | 71.01 | 22.52 | 6.41 | 0.039 |
| P12 | 78.59 | 15.21 | 6.13 | 0.042 |
| P17 | 74.50 | 18.40 | 7.06 | 0.035 |
| P19 | 75.08 | 18.05 | 6.78 | 0.079 |
| P20 | 74.06 | 20.86 | 6.69 | 0.097 |
| P30 | 73.63 | 19.40 | 6.90 | 0.042 |
| P33 | 70.29 | 25.17 | 4.40 | 0.054 |
| P34 | 74.06 | 21.57 | 4.31 | 0.034 |
| P36 | 72.60 | 21.21 | 6.12 | 0.11 |
Disclaimer/Publisher’s Note: The statements, opinions and data contained in all publications are solely those of the individual author(s) and contributor(s) and not of MDPI and/or the editor(s). MDPI and/or the editor(s) disclaim responsibility for any injury to people or property resulting from any ideas, methods, instructions or products referred to in the content. |
© 2023 by the authors. Licensee MDPI, Basel, Switzerland. This article is an open access article distributed under the terms and conditions of the Creative Commons Attribution (CC BY) license (https://creativecommons.org/licenses/by/4.0/).
Share and Cite
Plăcintă, C.; Stanciu, S.; Panainte-Lehadus, M.; Mosnegutu, E.; Nedeff, F.; Nedeff, V.; Tomozei, C.; Petrescu, T.-C.; Agop, M. Theoretical and Experimental Designs on Several Mechanical Properties of Cu–Al–Zn Shape Memory Alloys Used in the Processing Industry. Materials 2023, 16, 1441. https://doi.org/10.3390/ma16041441
Plăcintă C, Stanciu S, Panainte-Lehadus M, Mosnegutu E, Nedeff F, Nedeff V, Tomozei C, Petrescu T-C, Agop M. Theoretical and Experimental Designs on Several Mechanical Properties of Cu–Al–Zn Shape Memory Alloys Used in the Processing Industry. Materials. 2023; 16(4):1441. https://doi.org/10.3390/ma16041441
Chicago/Turabian StylePlăcintă, Constantin, Sergiu Stanciu, Mirela Panainte-Lehadus, Emilian Mosnegutu, Florin Nedeff, Valentin Nedeff, Claudia Tomozei, Tudor-Cristian Petrescu, and Maricel Agop. 2023. "Theoretical and Experimental Designs on Several Mechanical Properties of Cu–Al–Zn Shape Memory Alloys Used in the Processing Industry" Materials 16, no. 4: 1441. https://doi.org/10.3390/ma16041441
APA StylePlăcintă, C., Stanciu, S., Panainte-Lehadus, M., Mosnegutu, E., Nedeff, F., Nedeff, V., Tomozei, C., Petrescu, T.-C., & Agop, M. (2023). Theoretical and Experimental Designs on Several Mechanical Properties of Cu–Al–Zn Shape Memory Alloys Used in the Processing Industry. Materials, 16(4), 1441. https://doi.org/10.3390/ma16041441

