From Virtual Reconstruction to Additive Manufacturing: Application of Advanced Technologies for the Integration of a 17th-Century Wooden Ciborium
Abstract
1. Introduction
2. Materials and Methods
2.1. Case Study: Ciborium
2.2. Experimental Procedure
- Selection and characterization of polymers for the 3D printing;
- Manual two-dimensional replica of the column;
- Manual three-dimensional replica of the column;
- 3D printing of a PLA demonstrative prototype;
- 3D printing of the PETG 3D model; and
- Restoration.
2.2.1. Selection and Characterization of Polymers for the 3D Printing
2.2.2. Manual Two-Dimensional and Manual Three-Dimensional Replicas of the Column
2.2.3. D Printing
2.2.4. Restoration Materials
3. Results
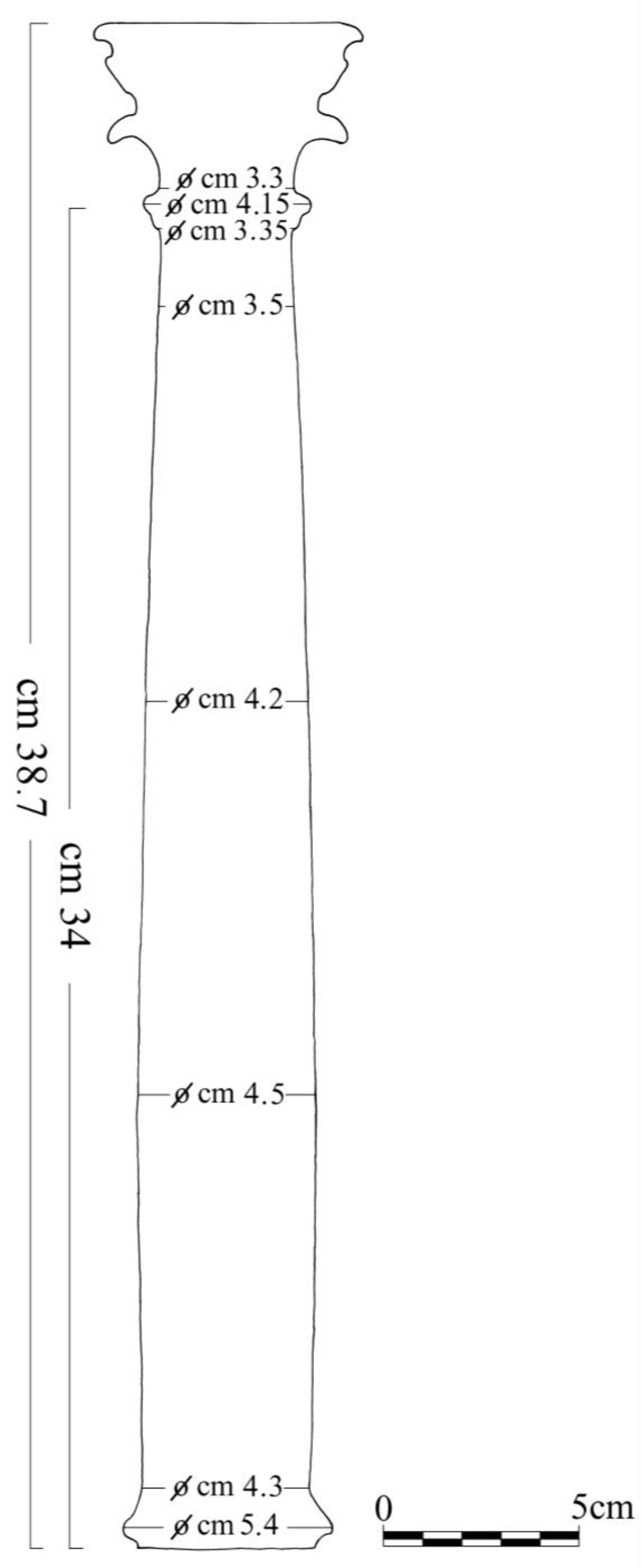
3.1. Manual Two-Dimensional and Manual Three-Dimensional Replicas of the Column
3.2. D Printing of a PLA Demonstrative Prototype
3.3. D Printing of the PETG 3D Model
3.4. Restoration
4. Conclusions
- Creation of a manual 2D survey, followed by a manual 3D redesign with Rhinoceros software, which was used to print the missing elements by fused filament fabrication (FFF).
- Preliminary experimental characterization of two of the most used 3D printing materials in order to select polyethylene terephthalate glycol (PETG) for the construction of the final 3D model.
- Restoration of the 3D printed column, applying preliminary plastering and proceeding with gouache gilding and strip or hatching retouching. A metal bar was inserted inside the finished columns to make them more resistant to stress.
Supplementary Materials
Author Contributions
Funding
Institutional Review Board Statement
Informed Consent Statement
Data Availability Statement
Acknowledgments
Conflicts of Interest
References
- Vyavahare, S.; Teraiya, S.; Panghal, D.; Kumar, S. Fused Deposition Modelling: A Review. Rapid Prototyp. J. 2020, 26, 176–201. [Google Scholar] [CrossRef]
- Ahmad, M.N.; Ishak, M.R.; Mohammad Taha, M.; Mustapha, F.; Leman, Z.; Anak Lukista, D.D.; Irianto; Ghazali, I. Application of Taguchi Method to Optimize the Parameter of Fused Deposition Modeling (FDM) Using Oil Palm Fiber Reinforced Thermoplastic Composites. Polymers 2022, 14, 2140. [Google Scholar] [CrossRef] [PubMed]
- Figueiredo, L.F.; Vieira, F.S.; Jamieson, O.D.; Reeder, J.; Mc Lean, T.; Olsen, J.; Crapnell, R.D.; Whittingham, M.J.; Banks, C.E.; Law, R.; et al. Influence of Design and Material Characteristics on 3D Printed Flow-Cells for Heat Transfer-Based Analytical Devices. Microchim. Acta 2022, 189, 73. [Google Scholar] [CrossRef]
- Ferrari, F.; Striani, R.; Fico, D.; Alam, M.M.; Greco, A.; Esposito Corcione, C. An Overview on Wood Waste Valorization as Biopolymers and Biocomposites: Definition, Classification, Production, Properties and Applications. Polymers 2022, 14, 5519. [Google Scholar] [CrossRef] [PubMed]
- Esposito Corcione, C.; Palumbo, E.; Masciullo, A.; Montagna, F.; Torricelli, M.C. Fused Deposition Modeling (FDM): An Innovative Technique Aimed at Reusing Lecce Stone Waste for Industrial Design and Building Applications. Constr. Build. Mater. 2018, 158, 276–284. [Google Scholar] [CrossRef]
- Balletti, C.; Ballarin, M. An Application of Integrated 3D Technologies for Replicas in Cultural Heritage. ISPRS Int. J. Geo-Inform. 2019, 8, 285. [Google Scholar] [CrossRef]
- Anchez-belenguer, C.S.; Val, D.; Anchez-l, M.S.; Carmen, D.; Carlos, S.; Carmen, D. Automatic Production of Tailored Packaging for Fragile Archaeological Artifacts. J. Comput. Cult. Herit. 2015, 8, 1–11. [Google Scholar] [CrossRef]
- Higueras, M.; Calero, A.I.; Jos, F. Digital 3D Modeling Using Photogrammetry and 3D Printing Applied to the Restoration of a Hispano-Roman Architectural Ornament. Digit. Appl. Archaeol. Cult. Herit. 2021, 20, e00179. [Google Scholar] [CrossRef]
- Fico, D.; Rizzo, D.; Casciaro, R.; Esposito Corcione, C. A Review of Polymer-Based Materials for Fused Filament Fabrication (FFF): Focus on Sustainability and Recycled Materials. Polymers 2022, 14, 465. [Google Scholar] [CrossRef]
- Klippstein, H.; Diaz De Cerio Sanchez, A.; Hassanin, H.; Zweiri, Y.; Seneviratne, L. Fused Deposition Modeling for Unmanned Aerial Vehicles (UAVs): A Review. Adv. Eng. Mater. 2018, 20, 1700552. [Google Scholar] [CrossRef]
- Levy, G.N.; Schindel, R.; Kruth, J.P. Rapid Manufacturing and Rapid Tooling with Layer Manufacturing (LM) Technologies, State of the Art and Future Perspectives. CIRP Ann.-Manuf. Technol. 2003, 52, 589–609. [Google Scholar] [CrossRef]
- Grzegorz Gaweł, T. Review of Additive Manufacturing Methods. Solid State Phenom. 2020, 308, 1–20. [Google Scholar] [CrossRef]
- Medellin-Castillo, H.I.; Zaragoza-Siqueiros, J. Design and Manufacturing Strategies for Fused Deposition Modelling in Additive Manufacturing: A Review. Chin. J. Mech. Eng. (Engl. Ed.) 2019, 32, 53. [Google Scholar] [CrossRef]
- Fico, D.; Rizzo, D.; De Carolis, V.; Montagna, F.; Esposito Corcione, C. Sustainable Materials and Technologies Sustainable Polymer Composites Manufacturing through 3D Printing Technologies by Using Recycled Polymer and Filler. Polymers 2022, 14, 3756. [Google Scholar] [CrossRef] [PubMed]
- Fico, D.; Rizzo, D.; De Carolis, V.; Montagna, F.; Palumbo, E.; Esposito Corcione, C. Development and Characterization of Sustainable PLA/Olive Wood Waste Composites for Rehabilitation Applications Using Fused Filament Fabrication (FFF). J. Build. Eng. 2022, 56, 104673. [Google Scholar] [CrossRef]
- Balletti, C.; Ballarin, M.; Guerra, F. 3D Printing: State of the Art and Future Perspectives. J. Cult. Herit. 2017, 26, 172–182. [Google Scholar] [CrossRef]
- De Crescenzio, F.; Fantini, M.; Persiani, F.; Virgilli, V.; Santopuoli, N.; Seccia, L. Restauro L’Ebe di Canova: Modello Digitale e Sviluppi Applicativi. Archeomatica 2010, 32. [Google Scholar] [CrossRef]
- Irene, G. La Stampa 3D Nei Beni Culturali Analisi e Caratterizzazione Di Materiali per La Fabbricazione Digitale Di Beni Culturali; Università Cà Foscari Venezia: Venice, Italy, 2018. [Google Scholar]
- A 3D Printed Replica of Michelangelo’s Statue of David Presented at the Dubai World Expo. Available online: https://www.3dnatives.Com/En/3d-Printed-Replica-Statue-of-David-Dubai-World-Expo-051020216/ (accessed on 27 December 2022).
- Olden, K. A futuristic simulation of Notre Dame to power its real world resurrection. Domus, 8 April 2021. [Google Scholar]
- Algarni, M.; Ghazali, S. Comparative Study of the Sensitivity of Pla, Abs, Peek, and Petg’s Mechanical Properties to Fdm Printing Process Parameters. Crystals 2021, 11, 995. [Google Scholar] [CrossRef]
- Cano-Vicent, A.; Tambuwala, M.M.; Hassan, S.S.; Barh, D.; Aljabali, A.A.A.; Birkett, M.; Arjunan, A.; Serrano-Aroca, Á. Fused Deposition Modelling: Current Status, Methodology, Applications and Future Prospects. Addit. Manuf. 2021, 47, 102378. [Google Scholar] [CrossRef]
- Rett, J.P.; Traore, Y.L.; Ho, E.A. Sustainable Materials for Fused Deposition Modeling 3D Printing Applications. Adv. Eng. Mater. 2021, 23, 1–8. [Google Scholar] [CrossRef]
- Scopigno, R.; Cignoni, P.; Pietroni, N.; Callieri, M.; Dellepiane, M. Digital Fabrication Techniques for Cultural Heritage: A Survey. In Computer Graphics Forum; The Eurographs Association & John Wiley & Sons, Ltd.: Chichester, UK, 2017; Volume 36, pp. 6–21. [Google Scholar] [CrossRef]
- Muhammad, A.; Rashidi, A.R.; Roslan, A.; Idris, S.A. Development of Bio Based Plastic Materials for Packaging from Soybeans Waste. AIP Conf. Proc. 2017, 1885, 020230. [Google Scholar] [CrossRef]
- Muñoz, V.G.; Muneta, L.M.; Carrasco-Gallego, R.; Marquez, J.D.J.; Hidalgo-Carvajal, D. Evaluation of the Circularity of Recycled PLA Filaments for 3D Printers. Appl. Sci. 2020, 10, 8967. [Google Scholar] [CrossRef]
- Esposito Corcione, C.; Gervaso, F.; Scalera, F.; Padmanabhan, S.K.; Madaghiele, M.; Montagna, F.; Sannino, A.; Licciulli, A.; Maffezzoli, A. Highly Loaded Hydroxyapatite Microsphere/ PLA Porous Scaffolds Obtained by Fused Deposition Modelling. Ceram. Int. 2019, 45, 2803–2810. [Google Scholar] [CrossRef]
- Esposito Corcione, C.; Scalera, F.; Gervaso, F.; Montagna, F.; Sannino, A.; Maffezzoli, A. One-Step Solvent-Free Process for the Fabrication of High Loaded PLA/HA Composite Filament for 3D Printing. J. Therm. Anal. Calorim. 2018, 134, 575–582. [Google Scholar] [CrossRef]
- Murariu, M.; Paint, Y.; Murariu, O.; Laoutid, F.; Dubois, P. Recent Advances in Production of Ecofriendly Polylactide (PLA)–Calcium Sulfate (Anhydrite II) Composites: From the Evidence of Filler Stability to the Effects of PLA Matrix and Filling on Key Properties. Polymers 2022, 14, 2360. [Google Scholar] [CrossRef]
- Vaidya, A.N.; Pandey, R.A.; Mudliar, S.; Kumar, M.S.; Chakrabarti, T.; Devotta, S. Production and Recovery of Lactic Acid for Polylactide-An Overview. Crit. Rev. Environ. Sci. Technol. 2005, 35, 429–467. [Google Scholar] [CrossRef]
- Carrasco, F.; Pagès, P.; Gámez-Pérez, J.; Santana, O.O.; Maspoch, M.L. Processing of Poly(Lactic Acid): Characterization of Chemical Structure, Thermal Stability and Mechanical Properties. Polym. Degrad. Stab. 2010, 95, 116–125. [Google Scholar] [CrossRef]
- Amza, C.G.; Zapciu, A.; Baciu, F.; Vasile, M.I.; Nicoara, A.I. Accelerated Aging Effect on Mechanical Properties of Common 3d-printing Polymers. Polymers 2021, 13, 4132. [Google Scholar] [CrossRef]
- Głowacki, M.; Mazurkiewicz, A.; Słomion, M.; Skórczewska, K. Resistance of 3D-Printed Components, Test Specimens and Products to Work under Environmental Conditions—Review. Materials 2022, 15, 6162. [Google Scholar] [CrossRef]
- Moraczewski, K.; Stepczyńska, M.; Malinowski, R.; Karasiewicz, T.; Jagodziński, B.; Rytlewski, P. The Effect of Accelerated Aging on Polylactide Containing Plant Extracts. Polymers 2019, 11, 575. [Google Scholar] [CrossRef]
- Cuiffo, M.A.; Snyder, J.; Elliott, A.M.; Romero, N.; Kannan, S.; Halada, G.P. Impact of the Fused Deposition (FDM) Printing Process on Polylactic Acid (PLA) Chemistry and Structure. Appl. Sci. 2017, 7, 579. [Google Scholar] [CrossRef]
- Moreno Nieto, D.; Alonso-García, M.; Pardo-Vicente, M.A.; Rodríguez-Parada, L. Product Design by Additive Manufacturing for Water Environments: Study of Degradation and Absorption Behavior of Pla and Petg. Polymers 2021, 13, 1036. [Google Scholar] [CrossRef] [PubMed]
- Marković, M.P.; Cingesar, I.K.; Keran, L.; Prlić, D.; Grčić, I.; Vrsaljko, D. Thermal and Mechanical Characterization of the New Functional Composites Used for 3D Printing of Static Mixers. Materials 2022, 15, 6713. [Google Scholar] [CrossRef] [PubMed]
- Shi, Q.; Xiao, R.; Yang, H.; Lei, D. Effects of Physical Aging on Thermomechanical Behaviors of Poly(Ethylene Terephthalate)-Glycol (PETG). Polym. Technol. Mater. 2020, 59, 835–846. [Google Scholar] [CrossRef]
- Colón Quintana, J.L.; Slattery, L.; Pinkham, J.; Keaton, J.; Lopez-Anido, R.A.; Sharp, K. Effects of Fiber Orientation on the Coefficient of Thermal Expansion of Fiber-Filled Polymer Systems in Large Format Polymer Extrusion-Based Additive Manufacturing. Materials 2022, 15, 2764. [Google Scholar] [CrossRef]
- Ronca, A.; Abbate, V.; Redaelli, D.F.; Storm, F.A.; Cesaro, G.; De Capitani, C.; Sorrentino, A.; Colombo, G.; Fraschini, P.; Ambrosio, L. A Comparative Study for Material Selection in 3D Printing of Scoliosis Back Brace. Materials 2022, 15, 5724. [Google Scholar] [CrossRef]
- Vidakis, N.; Petousis, M.; Velidakis, E.; Liebscher, M.; Mechtcherine, V.; Tzounis, L. On the Strain Rate Sensitivity of Fused Filament Fabrication (Fff) Processed Pla, Abs, Petg, Pa6, and Pp Thermoplastic Polymers. Polymers 2020, 12, 2924. [Google Scholar] [CrossRef]
- Scianna, A.; Filippo, G. Di Rapid Prototyping for the Extension of the Accessibility to Cultural Heritage for Blind People. Int. Arch. Photogramm. Remote Sens. Spatial Inf. Sci. 2019, XLII, 1077–1082. [Google Scholar]
- Catic, I.; Caloska, J.; Godec, D.; Kovacic, M.; Pilipovic, A.; Skala, K. Fluid-Deposition of Rocks Is Natural Model for Additive Production. Interdiscip. Descr. Complex Syst. 2017, 15, 180–189. [Google Scholar] [CrossRef]
- Ferrari, F.; Esposito Corcione, C.; Montagna, F.; Maffezzoli, A. 3D Printing of Polymer Waste for Improving People’s Awareness about Marine Litter. Polymers 2020, 12, 1738. [Google Scholar]







Disclaimer/Publisher’s Note: The statements, opinions and data contained in all publications are solely those of the individual author(s) and contributor(s) and not of MDPI and/or the editor(s). MDPI and/or the editor(s) disclaim responsibility for any injury to people or property resulting from any ideas, methods, instructions or products referred to in the content. |
© 2023 by the authors. Licensee MDPI, Basel, Switzerland. This article is an open access article distributed under the terms and conditions of the Creative Commons Attribution (CC BY) license (https://creativecommons.org/licenses/by/4.0/).
Share and Cite
Rizzo, D.; Fico, D.; Montagna, F.; Casciaro, R.; Esposito Corcione, C. From Virtual Reconstruction to Additive Manufacturing: Application of Advanced Technologies for the Integration of a 17th-Century Wooden Ciborium. Materials 2023, 16, 1424. https://doi.org/10.3390/ma16041424
Rizzo D, Fico D, Montagna F, Casciaro R, Esposito Corcione C. From Virtual Reconstruction to Additive Manufacturing: Application of Advanced Technologies for the Integration of a 17th-Century Wooden Ciborium. Materials. 2023; 16(4):1424. https://doi.org/10.3390/ma16041424
Chicago/Turabian StyleRizzo, Daniela, Daniela Fico, Francesco Montagna, Raffaele Casciaro, and Carola Esposito Corcione. 2023. "From Virtual Reconstruction to Additive Manufacturing: Application of Advanced Technologies for the Integration of a 17th-Century Wooden Ciborium" Materials 16, no. 4: 1424. https://doi.org/10.3390/ma16041424
APA StyleRizzo, D., Fico, D., Montagna, F., Casciaro, R., & Esposito Corcione, C. (2023). From Virtual Reconstruction to Additive Manufacturing: Application of Advanced Technologies for the Integration of a 17th-Century Wooden Ciborium. Materials, 16(4), 1424. https://doi.org/10.3390/ma16041424

