Modelling the Kerf Angle, Roughness and Waviness of the Surface of Inconel 718 in an Abrasive Water Jet Cutting Process
Abstract
1. Introduction
2. Materials and Methods
3. Results and Discussion
3.1. Influence of Cutting Height on Surface Topography
3.2. Modelling of Surface Roughness Parameters
3.3. Modelling of Surface Waviness Parameters
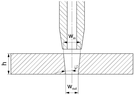
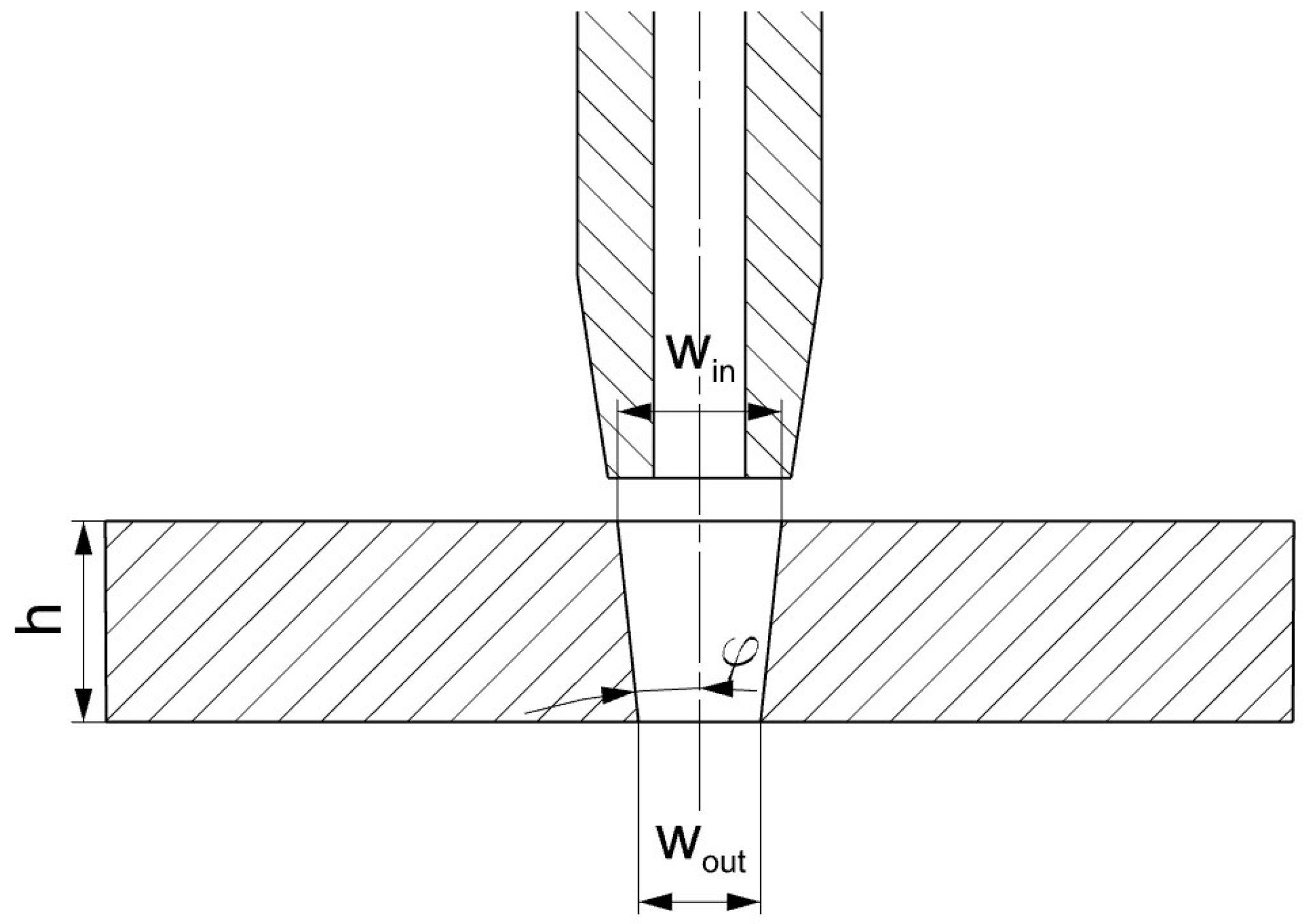
3.4. Modelling of Kerf Angle
4. Conclusions
- The height of the sample has no impact on the roughness and waviness at a particular depth of cut. Regardless of the height of the cut sample, the surface roughness and waviness at a particular depth of cut did not change. Therefore, the cut height parameter h does not appear in the models of Ra, Rz, Wa and Wt parameters.
- The depth of cut has the greatest influence on surface roughness. Abrasive flow rate has a small influence and cutting speed has only a marginal effect.
- Surface waviness is equally influenced by depth of cut and cutting speed but abrasive flow has a negligible effect.
- The influence of cutting process parameters on surface roughness and waviness greatly varies and is non-monotonic in certain parameter ranges.
- Surface roughness and waviness after cutting varies at the depth of cut smoothly without a clear boundary between smooth and rough region
Author Contributions
Funding
Institutional Review Board Statement
Informed Consent Statement
Data Availability Statement
Conflicts of Interest
References
- Wang, Z.; Ma, Z.; Chen, T.; Fan, C.; Yu, T.; Zhao, J. Experimental Investigation into the Effect of Process Parameters on the Inconel 718 Surface Integrity for Abrasive Waterjet Peening. Surf. Coat. Technol. 2023, 454, 129186. [Google Scholar] [CrossRef]
- Kubade, P.R.; Kshirsagar, G. Parametric Optimization of Abrasive Water Jet Machining of Inconel-718 Material. Int. Res. J. Eng. Technol. (IRJET) 2016, 3, 1236–1242. [Google Scholar]
- Cano-Salinas, L.; Sourd, X.; Moussaoui, K.; Le Roux, S.; Salem, M.; Hor, A.; Zitoune, R. Effect of Process Parameters of Plain Water Jet on the Cleaning Quality, Surface and Material Integrity of Inconel 718 Milled by Abrasive Water Jet. Tribol. Int. 2023, 178, 108094. [Google Scholar] [CrossRef]
- Llanto, J.M.; Tolouei-Rad, M.; Vafadar, A.; Aamir, M. Recent Progress Trend on Abrasive Waterjet Cutting of Metallic Materials: A Review. Appl. Sci. 2021, 11, 3344. [Google Scholar] [CrossRef]
- Tosun, N.; Dagtekin, I.; Ozler, L.; Deniz, A. Abrasive Waterjet Cutting of Aluminum Alloys: Workpiece Surface Roughness. Appl. Mech. Mater. 2013, 404, 3–9. [Google Scholar] [CrossRef]
- Biruk-Urban, K.; Zagórski, I.; Kulisz, M.; Leleń, M. Analysis of Vibration, Deflection Angle and Surface Roughness in Water-Jet Cutting of AZ91D Magnesium Alloy and Simulation of Selected Surface Roughness Parameters Using ANN. Materials 2023, 16, 3384. [Google Scholar] [CrossRef]
- Sutowska, M.; Kapłonek, W.; Pimenov, D.Y.; Gupta, M.K.; Mia, M.; Sharma, S. Influence of Variable Radius of Cutting Head Trajectory on Quality of Cutting Kerf in the Abrasive Water Jet Process for Soda–Lime Glass. Materials 2020, 13, 4277. [Google Scholar] [CrossRef]
- Gembalová, L.; Hlaváč, L.M.; Spadło, S.; Geryk, V.; Oros, L. Notes on the Abrasive Water Jet (AWJ) Machining. Materials 2021, 14, 7032. [Google Scholar] [CrossRef]
- Vishnu, M.; Saleeshya, P.G. Abrasive Water Jet Machining Process Parameters Optimisation for Machining of Complex Profiled Component from Inconel 718 Super Alloys. Int. J. Manuf. Technol. Manag. 2021, 35, 127. [Google Scholar] [CrossRef]
- Bhandarkar, V.; Singh, V.; Gupta, T.V.K. Experimental Analysis and Characterization of Abrasive Water Jet Machining of Inconel 718. Mater. Today Proc. 2020, 23, 647–650. [Google Scholar] [CrossRef]
- Hlaváč, L.M. Revised Model of Abrasive Water Jet Cutting for Industrial Use. Materials 2021, 14, 4032. [Google Scholar] [CrossRef] [PubMed]
- Gubencu, D.-V.; Opriș, C.; Han, A.-A. Analysis of Kerf Quality Characteristics of Kevlar Fiber-Reinforced Polymers Cut by Abrasive Water Jet. Materials 2023, 16, 2182. [Google Scholar] [CrossRef]
- Akkurt, A.; Kulekci, M.K.; Seker, U.; Ercan, F. Effect of Feed Rate on Surface Roughness in Abrasive Waterjet Cutting Applications. J. Mater. Process. Technol. 2004, 147, 389–396. [Google Scholar] [CrossRef]
- Raj, A.C.A.; Senkathir, S.; Geethapriyan, T.; Abhijit, J. Experimental Investigation of Abrasive Waterjet Machining of Nickel Based Superalloys (Inconel 625). IOP Conf. Ser. Mater. Sci. Eng. 2018, 402, 012181. [Google Scholar] [CrossRef]
- Srirangarajalu, N.; Vijayakumar, R.; Rajesh, M. Multi Performance Investigation of Inconel-625 by Abrasive Aqua Jet Cutting. Mater. Manuf. Process. 2022, 37, 1393–1404. [Google Scholar] [CrossRef]
- Kumbhar, M.A.D.; Chatterjee, M.; Student, M. Optimization of Abrasive Water Jet Machining Process Parameters Using Responce Surface Method on Inconel–188. Int. J. Technol. Res. Eng. 2017, 4, 2347–4718. [Google Scholar]
- Sami Abushanab, W.; Moustafa, E.B.; Harish, M.; Shanmugan, S.; Elsheikh, A.H. Experimental Investigation on Surface Characteristics of Ti6Al4V Alloy during Abrasive Water Jet Machining Process. Alex. Eng. J. 2022, 61, 7529–7539. [Google Scholar] [CrossRef]
- Begic-Hajdarevic, D.; Cekic, A.; Mehmedovic, M.; Djelmic, A. Experimental Study on Surface Roughness in Abrasive Water Jet Cutting. Procedia Eng. 2015, 100, 394–399. [Google Scholar] [CrossRef]
- Escobar-Palafox, G.A.; Gault, R.S.; Ridgway, K. The Effect of Abrasive Water Jet Process Variables on Surface and Subsurface Condition of Inconel 718. Adv. Mater. Res. 2012, 565, 351–356. [Google Scholar] [CrossRef]
- Alsoufi, M.S.; Suker, D.K.; Alhazmi, M.W.; Azam, S. Influence of Abrasive Waterjet Machining Parameters on the Surface Texture Quality of Carrara Marble. J. Surf. Eng. Mater. Adv. Technol. 2017, 7, 25–37. [Google Scholar] [CrossRef][Green Version]
- Löschner, P.; Jarosz, K.; Niesłony, P. Investigation of the Effect of Cutting Speed on Surface Quality in Abrasive Water Jet Cutting of 316L Stainless Steel. Procedia Eng. 2016, 149, 276–282. [Google Scholar] [CrossRef]
- Ficko, M.; Begic-Hajdarevic, D.; Cohodar Husic, M.; Berus, L.; Cekic, A.; Klancnik, S. Prediction of Surface Roughness of an Abrasive Water Jet Cut Using an Artificial Neural Network. Materials 2021, 14, 3108. [Google Scholar] [CrossRef]
- Kmec, J.; Gombár, M.; Harničárová, M.; Valíček, J.; Kušnerová, M.; Kříž, J.; Kadnár, M.; Karková, M.; Vagaská, A. The Predictive Model of Surface Texture Generated by Abrasive Water Jet for Austenitic Steels. Appl. Sci. 2020, 10, 3159. [Google Scholar] [CrossRef]
- Kumar, A.; Kumar, P.; Kumar, R. A Study of Kerf Quality of Inconel 718 Using Abrasive Water Jet Cutting. Mater. Today Proc. 2023, 81, 261–266. [Google Scholar] [CrossRef]
- Lenin, K.; Thileepan, S.; Kumar, H.R. Abrasive Waterjet Cutting of Inconel 718 Alloy and Desirability Analysis. Int. J. Des. Manuf. Technol. 2015, 10, 20–24. [Google Scholar] [CrossRef]
- Krajcarz, D.; Bańkowski, D.; Młynarczyk, P. The Effect of Traverse Speed on Kerf Width in AWJ Cutting of Ceramic Tiles. Procedia Eng. 2017, 192, 469–473. [Google Scholar] [CrossRef]













| Constant Technological Parameters | |
|---|---|
| Abrasive | Garnet 80 |
| Water pressure | 250 MPa |
| Stand-off distance | 1.5 mm |
| Focusing nozzle diameter | 0.3 mm |
| Cutting nozzle diameter | 0.76 mm |
| Cutting nozzle length | 80 mm |
| Variable Technological Parameters | |
| Cutting speed, vf | 20; 40; 60 mm/min |
| Abrasive flow rate, ma | 75; 120; 165 g/min |
| Cutting height, h | 2; 4; 6; 8; 10 mm |
| Sample Number | Cutting Speed vf mm/min | Abrasive Flow Rate ma g/min |
|---|---|---|
| W1 | 20 | 75 |
| W2 | 20 | 120 |
| W3 | 20 | 165 |
| W4 | 40 | 75 |
| W5 | 40 | 120 |
| W6 | 40 | 165 |
| W7 | 60 | 75 |
| W8 | 60 | 120 |
| W9 | 60 | 165 |
| W1 | W2 | W3 | W4 | W5 | W6 | W7 | W8 | W9 | |
|---|---|---|---|---|---|---|---|---|---|
| Ra | 0.8% | 0.07 | 0.73 | - | - | - | - | - | - |
| Rz | 0.45 | - | 1.46 | - | - | - | - | - | 1.7 |
| Wa | 1.04 | 1.62 | 0.05 | 0.13 | - | - | 1.1 | - | 0.38 |
| Wt | 0.08 | 2.34 | 0.72 | 0.4 | - | - | 0.64 | 0.39 | 0.09 |
| Term | DF | Seq SS | C (%) | Adj SS | Adj MS | F-Value | p-Value |
|---|---|---|---|---|---|---|---|
| Model | 8 | 2366.78 | 83.65% | 2366.78 | 295.85 | 108.71 | 0.000 |
| Linear | 3 | 1897.73 | 67.07% | 1987.34 | 662.45 | 243.41 | 0.000 |
| ma | 1 | 294.69 | 10.42% | 334.27 | 334.27 | 122.83 | 0.000 |
| ap | 1 | 1487.84 | 52.58% | 1557.16 | 1557.16 | 572.17 | 0.000 |
| vf | 1 | 115.19 | 4.07% | 128.18 | 128.18 | 47.10 | 0.000 |
| Square | 2 | 124.41 | 4.40% | 140.64 | 70.32 | 25.84 | 0.000 |
| ma2 | 1 | 15.90 | 0.56% | 18.66 | 18.66 | 6.86 | 0.010 |
| ap2 | 1 | 108.51 | 3.83% | 122.78 | 122.78 | 45.12 | 0.000 |
| 2-way | 3 | 344.64 | 12.18% | 344.64 | 114.88 | 42.21 | 0.000 |
| ma ap | 1 | 159.97 | 5.65% | 170.06 | 170.06 | 62.49 | 0.000 |
| ma vf | 1 | 16.84 | 0.60% | 18.88 | 18.88 | 6.94 | 0.009 |
| ap vf | 1 | 167.83 | 5.93% | 167.83 | 167.83 | 61.67 | 0.000 |
| Error | 170 | 462.65 | 16.35% | 462.65 | 2.72 | ||
| Total | 178 | 2829.44 | 100.00% |
| Term | DF | Seq SS | C (%) | Adj SS | Adj MS | F-Value | p-Value |
|---|---|---|---|---|---|---|---|
| Model | 8 | 36,950.8 | 83.51% | 36,950.8 | 4618.8 | 107.61 | 0.000 |
| Linear | 3 | 28,486.8 | 64.38% | 30,020.0 | 10,006.7 | 233.13 | 0.000 |
| ma | 1 | 4782.0 | 10.81% | 5441.1 | 5441.1 | 126.77 | 0.000 |
| ap | 1 | 20,859.1 | 47.14% | 22,003.1 | 22,003.1 | 512.63 | 0.000 |
| vf | 1 | 2845.7 | 6.43% | 3121.0 | 3121.0 | 72.71 | 0.000 |
| Square | 2 | 2022.9 | 4.57% | 2309.6 | 1154.8 | 26.90 | 0.000 |
| ma2 | 1 | 401.1 | 0.91% | 459.6 | 459.6 | 10.71 | 0.001 |
| ap2 | 1 | 1621.8 | 3.67% | 1865.4 | 1865.4 | 43.46 | 0.000 |
| 2-way | 3 | 6441.1 | 14.56% | 6441.1 | 2147.0 | 50.02 | 0.000 |
| ma ap | 1 | 2452.9 | 5.54% | 2641.9 | 2641.9 | 61.55 | 0.000 |
| ma vf | 1 | 559.8 | 1.27% | 612.6 | 612.6 | 14.27 | 0.000 |
| ap vf | 1 | 3428.4 | 7.75% | 3428.4 | 3428.4 | 79.87 | 0.000 |
| Error | 170 | 7296.8 | 16.49% | 7296.8 | 42.9 | ||
| Total | 178 | 44,247.6 | 100.00% |
| Term | DF | Seq SS | C (%) | Adj SS | Adj MS | F-Value | p-Value |
|---|---|---|---|---|---|---|---|
| Model | 8 | 16,598.0 | 89.85% | 16,598.0 | 2074.75 | 188.19 | 0.000 |
| Linear | 3 | 12,083.1 | 65.41% | 12,797.4 | 4265.80 | 386.93 | 0.000 |
| ma | 1 | 1184.3 | 6.41% | 1418.7 | 1418.70 | 128.68 | 0.000 |
| ap | 1 | 5850.4 | 31.67% | 6342.8 | 6342.80 | 575.32 | 0.000 |
| vf | 1 | 5048.4 | 27.33% | 5301.7 | 5301.65 | 480.89 | 0.000 |
| Square | 2 | 733.9 | 3.97% | 860.0 | 429.98 | 39.00 | 0.000 |
| ma2 | 1 | 250.8 | 1.36% | 283.0 | 283.03 | 25.67 | 0.000 |
| ap2 | 1 | 483.1 | 2.62% | 583.7 | 583.74 | 52.95 | 0.000 |
| 2-way | 3 | 3781.0 | 20.47% | 3781.0 | 1260.35 | 114.32 | 0.000 |
| ma ap | 1 | 768.5 | 4.16% | 861.0 | 860.96 | 78.09 | 0.000 |
| ma vf | 1 | 356.5 | 1.93% | 393.7 | 393.66 | 35.71 | 0.000 |
| ap vf | 1 | 2656.1 | 14.38% | 2656.1 | 2656.08 | 240.92 | 0.000 |
| Error | 170 | 1874.2 | 10.15% | 1874.2 | 11.02 | ||
| Total | 178 | 18,472.2 | 100.00% |
| Term | DF | Seq SS | C (%) | Adj SS | Adj MS | F-Value | p-Value |
|---|---|---|---|---|---|---|---|
| Model | 8 | 268,094 | 89.92% | 268,094 | 33,512 | 189.59 | 0.000 |
| Linear | 3 | 199,158 | 66.80% | 210,345 | 70,115 | 396.66 | 0.000 |
| ma | 1 | 16,976 | 5.69% | 20,517 | 20,517 | 116.07 | 0.000 |
| ap | 1 | 101,766 | 34.13% | 109,773 | 109,773 | 621.02 | 0.000 |
| vf | 1 | 80,415 | 26.97% | 84,334 | 84,334 | 477.11 | 0.000 |
| Square | 2 | 11,925 | 4.00% | 13,856 | 6928 | 39.20 | 0.000 |
| ma2 | 1 | 4535 | 1.52% | 5064 | 5064 | 28.65 | 0.000 |
| ap2 | 1 | 7390 | 2.48% | 8905 | 8905 | 50.38 | 0.000 |
| 2-way | 3 | 57,012 | 19.12% | 57,012 | 19,004 | 107.51 | 0.000 |
| ma ap | 1 | 12,369 | 4.15% | 13,772 | 13,772 | 77.91 | 0.000 |
| ma vf | 1 | 3921 | 1.32% | 4406 | 4406 | 24.93 | 0.000 |
| ap vf | 1 | 40,722 | 13.66% | 40,722 | 40,722 | 230.38 | 0.000 |
| Error | 170 | 30,049 | 10.08% | 30,049 | 177 | ||
| Total | 178 | 298,144 | 100.00% |
| Term | DF | Seq SS | C (%) | Adj SS | Adj MS | F-Value | p-Value |
|---|---|---|---|---|---|---|---|
| Model | 5 | 24.6462 | 93.31% | 24.6462 | 4.9292 | 108.81 | 0.000 |
| Linear | 2 | 23.3655 | 88.46% | 23.3655 | 11.6828 | 257.88 | 0.000 |
| h | 1 | 20.6236 | 78.08% | 20.6236 | 20.6236 | 455.24 | 0.000 |
| vf | 1 | 2.7419 | 10.38% | 2.7419 | 2.7419 | 60.53 | 0.000 |
| Square | 2 | 0.7403 | 2.80% | 0.7403 | 0.3701 | 8.17 | 0.001 |
| h2 | 1 | 0.5187 | 1.96% | 0.5187 | 0.5187 | 11.45 | 0.002 |
| vf2 | 1 | 0.2216 | 0.84% | 0.2216 | 0.2216 | 4.89 | 0.033 |
| 2-way | 1 | 0.5404 | 2.05% | 0.5404 | 0.5404 | 11.93 | 0.001 |
| h vf | 1 | 0.5404 | 2.05% | 0.5404 | 0.5404 | 11.93 | 0.001 |
| Error | 39 | 1.7668 | 6.69% | 1.7668 | 0.0453 | ||
| Total | 44 | 26.4130 | 100.00% |
Disclaimer/Publisher’s Note: The statements, opinions and data contained in all publications are solely those of the individual author(s) and contributor(s) and not of MDPI and/or the editor(s). MDPI and/or the editor(s) disclaim responsibility for any injury to people or property resulting from any ideas, methods, instructions or products referred to in the content. |
© 2023 by the authors. Licensee MDPI, Basel, Switzerland. This article is an open access article distributed under the terms and conditions of the Creative Commons Attribution (CC BY) license (https://creativecommons.org/licenses/by/4.0/).
Share and Cite
Płodzień, M.; Żyłka, Ł.; Żak, K.; Wojciechowski, S. Modelling the Kerf Angle, Roughness and Waviness of the Surface of Inconel 718 in an Abrasive Water Jet Cutting Process. Materials 2023, 16, 5288. https://doi.org/10.3390/ma16155288
Płodzień M, Żyłka Ł, Żak K, Wojciechowski S. Modelling the Kerf Angle, Roughness and Waviness of the Surface of Inconel 718 in an Abrasive Water Jet Cutting Process. Materials. 2023; 16(15):5288. https://doi.org/10.3390/ma16155288
Chicago/Turabian StylePłodzień, Marcin, Łukasz Żyłka, Krzysztof Żak, and Szymon Wojciechowski. 2023. "Modelling the Kerf Angle, Roughness and Waviness of the Surface of Inconel 718 in an Abrasive Water Jet Cutting Process" Materials 16, no. 15: 5288. https://doi.org/10.3390/ma16155288
APA StylePłodzień, M., Żyłka, Ł., Żak, K., & Wojciechowski, S. (2023). Modelling the Kerf Angle, Roughness and Waviness of the Surface of Inconel 718 in an Abrasive Water Jet Cutting Process. Materials, 16(15), 5288. https://doi.org/10.3390/ma16155288

