The Use of a High-Pressure Water-Ice Jet for Removing Worn Paint Coating in Renovation Process
Abstract
:1. Introduction
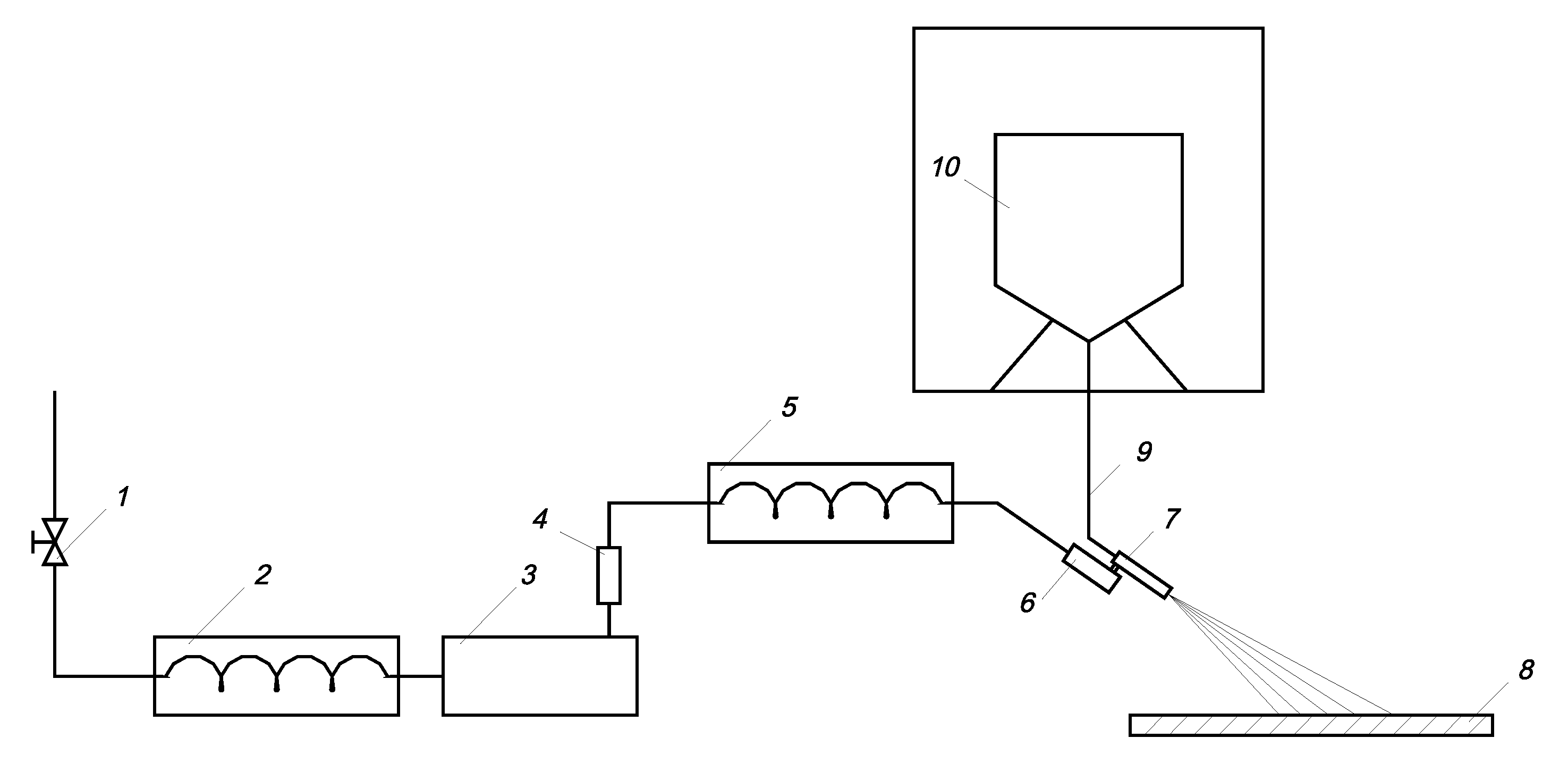
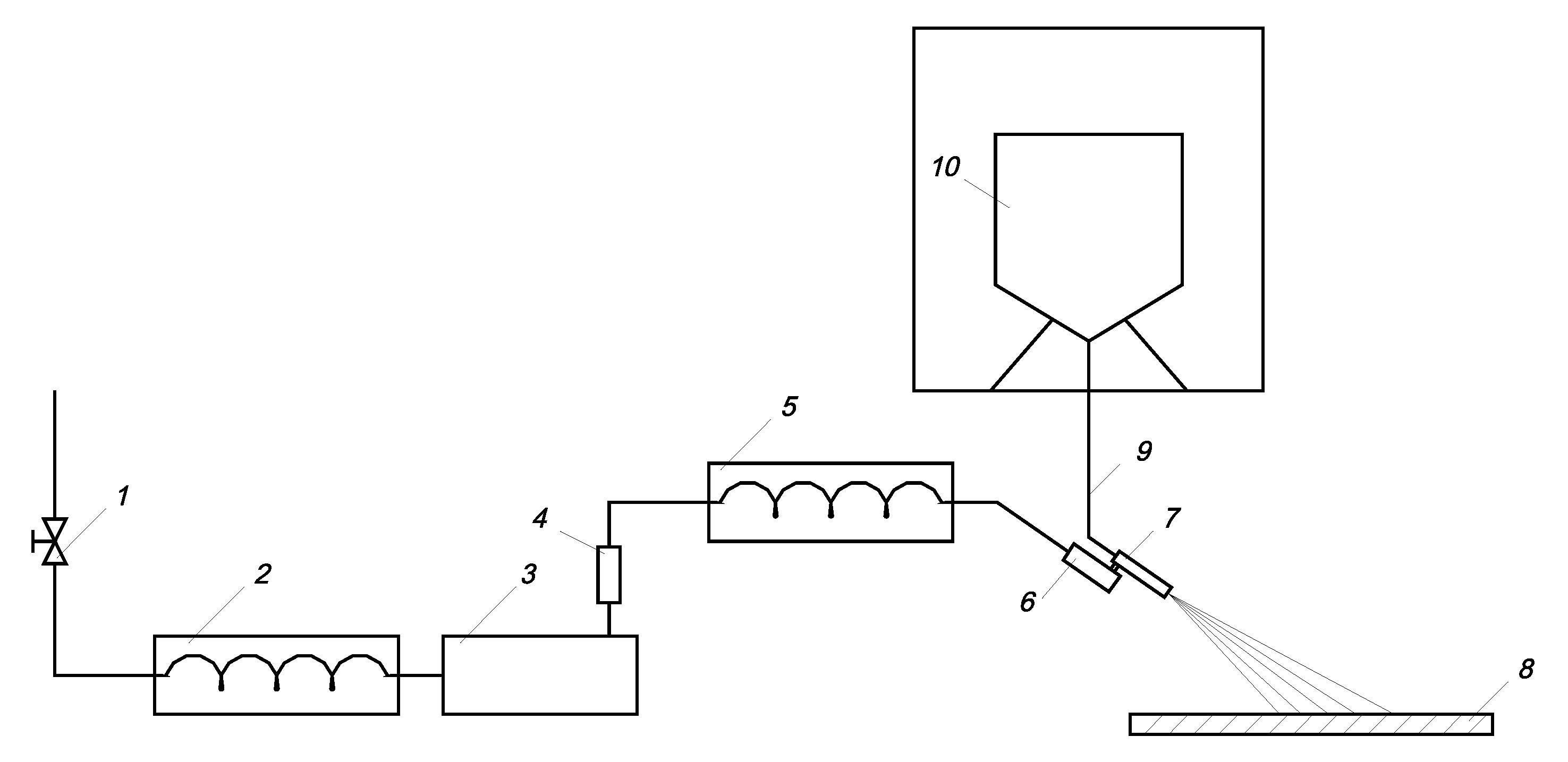
2. Materials and Methods
- X5CrNi18-10 steel
- PA2 aluminium alloy
- polymethyl methacrylate PMMA
3. Results and Discussion
3.1. The Surface Quality of the Base
3.2. Influence of Selected Treatment Parameters on the Surface Performance of the HPWIJ Process
4. Conclusions
- The use of a high-pressure water-ice jet with maximum pressure pw = 35 MPa does not cause any changes in the geometric structure of the surface of X5CrNi18-10 steel and PA2 aluminium alloy.
- In the case of brittle materials, such as polymethyl methacrylate PMMA, which form bases for lacquer coatings, it is necessary to use a water-ice jet with the maximum working pressure of pw = 20 MPa and dry ice flow rate of kg·h−1. The use of a water jet with pressure pw = 35 MPa and dry ice flow rate kg·h−1 causes traces of jet impact in the form of small chipping of the base material (PMMA polymethyl methacrylate).The highest surface treatment efficiency is obtained with a higher water jet pressure and an appropriately increased dry ice particle flow rate. For water jet pressure pw = 20 MPa, the best results are obtained when dry ice flow rate is kg·h−1, while for water jet pressure pw = 35 MPa, this output should not exceed kg·h−1.
- In order to obtain the maximum paint coat stripping efficiency irrespective of the water jet pressure and the dry ice particle flow rate, the working length of the jet needs to be l2 = 250 mm and the spray angle needs to be κ = 75 ÷ 90°.
- Increasing the pressure of the water jet results in higher efficiency of paint removal. The increase of processing efficiency is proportional in the tested range of jet pressure pw = 20 ÷ 35 MPa.
- The above research proves that one of the effective methods of removing paint coatings is the use of a high-pressure stream of water with ice. This method of processing allows for effective preparation of the substrate for the application of a renovation paint coating, while simultaneously maintaining appropriate processing parameters in that it does not change the geometric structure of the substrate.
Author Contributions
Funding
Institutional Review Board Statement
Informed Consent Statement
Data Availability Statement
Conflicts of Interest
References
- Kotnarowska, D. Destruction kinds of car body coating. J. Logistyka 2010, 6. [Google Scholar]
- Kotnarowska, D.; Kotnarowski, A. Influence of ageing on kinetics of epoxy coatings erosive wear. Int. J. Appl. Mech. D Eng. 2004, 9, 53–58. [Google Scholar]
- Kittel, J.; Celati, N.; Keddam, M.; Takenouti, H. Influence of the coating–substrate interactions on the corrosion protection: Characterisation by impedance spectroscopy of the inner and outer parts of a coating. Prog. Org. Coat. 2003, 46, 135–147. [Google Scholar] [CrossRef]
- Vesga, L.F.; Vera, E.; Panqueva, J.H. Use of the electrochemical impedance spectroscopy to evaluate the performance of a primer applied under different surface preparation methods. Prog. Org. Coat. 2000, 39, 61–65. [Google Scholar] [CrossRef]
- Santágata, D.M.; Seré, P.R.; Elsner, C.I.; Di Sarli, A.R. Evaluation of the surface treatment effect on the corrosion performance of paint coated carbon steel. Prog. Org. Coat. 1998, 33, 44–54. [Google Scholar] [CrossRef]
- Geng, S.; Sun, J.; Guo, L. Effect of sandblasting and subsequent acid pickling and passivation on the microstructure and corrosion behavior of 316L stainless steel. Mater. Des. 2015, 88, 1–7. [Google Scholar] [CrossRef]
- Barranco, V.; Onofre, E.; Escudero, M.L.; García-Alonso, M.C. Characterization of roughness and pitting corrosion of surfaces modified by blasting and thermal oxidation. Surf. Coat. Technol. 2010, 204, 3783–3793. [Google Scholar] [CrossRef] [Green Version]
- Geskin, E.S.; Shishkin, D.; Babets, K. Application of ice particles for precision cleaning of sensitive surfaces. In Proceedings of the 10th American Waterjet Conference, Houston, TX, USA, 14–17 August 1999; Volume 1. [Google Scholar]
- Dong, S.J.; Song, B.; Hansz, B.; Liao, H.L.; Coddet, C. Modelling of dry ice blasting and its application in thermal spray. Mater. Res. Innov. 2012, 16, 61–66. [Google Scholar] [CrossRef]
- Borkowski, P.J. Theoretical and Experimental Basis of Hydrostreaming Surface Treatment; University of Koszalin University of Technology: Koszalin, Poland, 2004. [Google Scholar]
- Ivey, R.B. Carbon dioxide pellets blasting paint removal for potential application on Warner Robins Managed Air Force Aircraft. In Proceedings of the 1st Annual International Workshop on Solvent Substitution, Phoenix, AZ, USA, 4–7 December 1990. [Google Scholar]
- Spur, G.; Uhlmann, E.; Elbing, F. Dry-ice blasting for cleaning: Process, optimization and application. Wear 1999, 233–235, 402–411. [Google Scholar] [CrossRef]
- Liu, Y.H.; Maruyama, H.; Matsusaka, S. Effect of particle impact on surface cleaning using dry ice jet. Aerosol Sci. Technol. 2011, 45, 1519–1527. [Google Scholar] [CrossRef] [Green Version]
- Chomka, G.; Chudy, J. Analysis and interpretation of measurements of surface machining effectiveness in the process of varnish removal by a water-ice jet. Teh.-Tech. Gazette 2013, 20, 847–852. [Google Scholar]
- Dunsky, C.M.; Hashish, M. Feasibility study of the use of ultrahigh-pressure liquefied gas jets for machining of nuclear fuel pins. In Proceedings of the 8th American Water Jet Conference, Houston, TX, USA, 26–29 August 1995. [Google Scholar]
- Toscano, C.; Ahmadi, G. Particle removal mechanisms in cryogenic surface cleaning. J. Adhes. 2003, 79, 175–201. [Google Scholar] [CrossRef]
- Liu, Y.H.; Maruyama, H.; Matsusaka, S. Agglomeration process of dry ice particles produced by expanding liquid carbon dioxide. Adv. Powder Technol. 2010, 21, 652–657. [Google Scholar] [CrossRef] [Green Version]
- Liu, H.T.; Fang, S.; Hibbard, C.; Maloney, J. Enhancement of ultrahigh-pressure technology with LN2 cryogenic jets. In Proceedings of the 10th American Waterjet Conference, Houston, TX, USA, 14–17 August 1999. [Google Scholar]
- Dunsky, C.M.; Hashish, M. Observations on cutting with abrasive-cryogenic jets. In Proceedings of the 13th International Conference on Jetting Technology—Applications and Opportunities, Sardinia, Italy, 29–31 October 1996. [Google Scholar]
- Hashish, M.; Dunsky, C.M. The formation of cryogenic and abrasive-cryogenic jets. In Proceedings of the 14th International Conference on Jetting Technology, Brugge, Belgium, 21–23 September 1998. [Google Scholar]
- Myslinski, P.; Precht, W.; Kukiełka, L.; Kamasa, P.; Pietruszka, K. A possibility of application of MTDIL to the residual stresses analysis: The hard coating-substrate system. J. Therm. Anal. Calorim. 2004, 77, 253–258. [Google Scholar] [CrossRef]
- Hlavacova, I.M.; Geryk, V. Abrasives for water-jet cutting of high-strength and thick hard materials. Int. J. Adv. Manuf. Technol. 2017, 90, 1217–1224. [Google Scholar] [CrossRef]
- Krajcarz, D. Comparison metal water jet cutting with laser and plasma cutting. Procedia Eng. 2014, 69, 838–843. [Google Scholar] [CrossRef] [Green Version]
- Perec, A. Research into the disintegration of abrasive materials in the abrasive water jet machining process. Materials 2021, 14, 3940. [Google Scholar] [CrossRef]
- Perec, A. Disintegration and recycling possibility of selected abrasives for water jet cutting. DYNA 2017, 84, 249–256. [Google Scholar] [CrossRef]
- Perec, A. Investigation of limestone cutting efficiency by the Abrasive Water Suspension Jet. In Advances in Manufacturing Engineering and Materials; Lecture Notes in Mechanical Engineering; Springer Nature: Cham, Switzerland, 2019; pp. 124–134. [Google Scholar] [CrossRef]
- Perec, A.; Radomska-Zalas, A. Modeling of abrasive water suspension jet cutting process using response surface method. AIP Conf. Proc. 2019, 2078, 0200511–0200518. [Google Scholar] [CrossRef]
- Perec, A. Environmental aspects of abrasive water jet cutting. Ann. Set Environ. Prot.–Rocz. 2018, 20, 258–274. [Google Scholar]
- Thangaraj, M.; Ahmadein, M.; Alsaleh, N.A.; Elsheikh, A.H. Optimization of Abrasive Water Jet Machining of SiC Reinforced Aluminum Alloy Based Metal Matrix Composites Using Taguchi–DEAR Technique. Materials 2021, 14, 6250. [Google Scholar] [CrossRef] [PubMed]
- Muthuramalingam, T.; Vasanth, S.; Vinothkumar, P.; Geethapriyan, T.; Rabik, M.M. Multi Criteria Decision Making of Abrasive Flow Oriented Process Parameters in Abrasive Water Jet Machining Using Taguchi–DEAR Methodology. Silicon 2018, 10, 2015–2021. [Google Scholar] [CrossRef]
- Kasperowicz, M.; Chomka, G.; Chudy, J. Determining the supply pressure depending on the feed speed and the diameter of the nozzle. Carpathian J. Food Sci. Technol. 2018, 10, 17–23. [Google Scholar]
- Kasperowicz, M.; Chomka, G.; Bil, T. Determination of supply pressure during cutting fish using high-pressure water stream taking into account the place and diameter of the water nozzle. DEGRUYTER Cutting. Int. J. Food Eng. 2019, 16, 1–9. [Google Scholar] [CrossRef]
- Bohdal, L. Application of a SPH Coupled FEM Method for Simulation of Trimming of Aluminum Autobody Sheet. Acta Mech. Et Autom. 2016, 10, 56–67. [Google Scholar] [CrossRef] [Green Version]
- Bohdal, L.; Kukielka, L.; Radchenko, A.M.; Patyk, R.; Kułakowski, M.; Chodór, J. Modelling of guillotining process of grain oriented silicon steel using FEM. Comput. Technol. Eng. 2019, 2078, 020080. [Google Scholar]
- Chodor, J.; Zurawski, L. Investigations on the chip shape and its upsetting and coverage ratios in partial symmetric face milling process of aluminium alloy AW-7075 and the simulation of the process with the use of FEM. In Advances in Mechanics: Theoretical, Computational and Interdisciplinary Issues; Taylor & Francis Ltd.: Gdansk, Poland, 2016; pp. 121–124. [Google Scholar]
- Florianowicz, M.; Bohdal, L. Modeling of the Refrigerants Condensation in the Superheated Vapor Area. Annu. Set Environ. Prot. 2012, 14, 393–406. [Google Scholar]
- Patyk, R.; Kukielka, L.; Kaldunski, P.; Bohdal, L.; Chodor, J.; Kulakowska, A.; Kukielka, K.; Nagnajewicz, S. Experimental and numerical researches of duplex burnishing process in aspect of achieved productive quality of the product. ESAFORM 2018, 1960, 070021. [Google Scholar]
- McGeough, J.A. Cutting of Food Products by Ice-particles in a Water-jet. Procedia CIRP 2016, 42, 863–865. [Google Scholar] [CrossRef]
- Mathia, T.G.; Pawlus, P.; Wieczorowski, M. Recent trends in surface metrology. Wear 2011, 3–4, 494–508. [Google Scholar] [CrossRef]
- Wieczorowski, M. Use of Topographic Analysis in Surface Roughness Measurements. Habilitation Thesis, Poznan University of Technology, Poznań, Poland, 2009; 429p. [Google Scholar]
- Kukiełka, L. Fundamentals of Engineering Studies; National Scientific Publisher: Warsaw, Poland, 2002; 273p. (In Polish) [Google Scholar]
- Rosenberg, B.; Yuan, L.; Fulmer, S. Ergonomics of abrasive blasting: A comparison of high pressure water and steel shot. Appl. Ergon. 2006, 37, 659–667. [Google Scholar] [CrossRef]
- Schnakovszky, C.; Herghelegiu, E.; Radu, C.; Cristea, I. The influence of the feed rate on the quality of surfaces processed by AWJ at high pressures. InAdvanced Materials Research; Trans Tech Publications: Bäch, Switzerland, 2014. [Google Scholar]
- Xiong, S.; Jia, X.; Wu, S.; Li, F.; Ma, M.; Wang, X. Parameter optimization and effect analysis of low-pressure abrasive water jet (LPAWJ) for paint removal of remanufacturing cleaning. Sustainability 2021, 13, 2900. [Google Scholar] [CrossRef]
- Yang, M.; Choi, J.; Lee, J.; Hur, N.; Kim, D. Wet blasting as a deburring process for aluminum. J. Mater. Process. Technol. 2014, 214, 524–530. [Google Scholar] [CrossRef]
- Yu, Y.; Sun, T.; Yuan, Y.; Gao, H.; Wang, X. Experimental investigation into the effect of abrasive process parameters on the cutting performance for abrasive waterjet technology: A case study. Int. J. Adv. Manuf. Technol. 2020, 107, 2757–2765. [Google Scholar] [CrossRef]
- Zhong, Z.W.; Han, Z.Z. Performance comparison of four waterjet nozzles. Mater. Manuf. Process. 2003, 18, 965–978. [Google Scholar] [CrossRef]
















| Material Used in the Research | Material According to the Norm (EN) | Density ρ [kg × m−ρ] | Tensile Strength Rm [MPa] | Young’s Modulus E [GPa] | Yield Point Re [MPa] |
|---|---|---|---|---|---|
| X5CrNi18-10 | 1.4301 | 7900 | 540 | 200 | 230 |
| PA2 | AW-5251 | 2700 | 130 | 70 | 60 |
| PMMA | - | 1180 | 75 | 3 | 0.06 |
| pw [MPa] | 20 | |||||||||||||
| l2 [mm] | 150 | 200 | ||||||||||||
| [kg·h−1] | 52 | 78 | 104 | 130 | 156 | 182 | 208 | 52 | 78 | 104 | 130 | 156 | 182 | 208 |
| l2 [mm] | 250 | 300 | ||||||||||||
| [kg·h−1] | 52 | 78 | 104 | 130 | 156 | 182 | 208 | 52 | 78 | 104 | 130 | 156 | 182 | 208 |
| l2 [mm] | 350 | 400 | ||||||||||||
| [kg·h−1] | 52 | 78 | 104 | 130 | 156 | 182 | 208 | 52 | 78 | 104 | 130 | 156 | 182 | 208 |
| pw [MPa] | 35 | |||||||||||||||||
| l2 [mm] | 150 | 200 | ||||||||||||||||
| [kg·h−1] | 52 | 78 | 104 | 130 | 156 | 182 | 208 | 234 | 260 | 52 | 78 | 104 | 130 | 156 | 182 | 208 | 234 | 260 |
| l2 [mm] | 250 | 300 | ||||||||||||||||
| [kg·h−1] | 52 | 78 | 104 | 130 | 156 | 182 | 208 | 234 | 260 | 52 | 78 | 104 | 130 | 156 | 182 | 208 | 234 | 260 |
| l2 [mm] | 350 | 400 | ||||||||||||||||
| [kg·h−1] | 52 | 78 | 104 | 130 | 156 | 182 | 208 | 234 | 260 | 52 | 78 | 104 | 130 | 156 | 182 | 208 | 234 | 260 |
| Sample No. | Sa [μm] | [μm] | s(z) [μm] | R(z) [μm] | Sz [μm] | [μm] | s(z) [μm] | R(z) [μm] |
|---|---|---|---|---|---|---|---|---|
| 1 | 0.77 | 0.76 | 0.01 | 0.02 | 7.3 | 7.30 | 0.10 | 0.20 |
| 2 | 0.75 | 7.4 | ||||||
| 3 | 0.76 | 7.2 | ||||||
| 4 | 0.78 | 0.77 | 0.01 | 0.02 | 7.4 | 7.40 | 0.10 | 0.20 |
| 5 | 0.76 | 7.3 | ||||||
| 6 | 0.78 | 7.5 | ||||||
| 7 | 0.77 | 0.78 | 0.01 | 0.01 | 7.4 | 7.50 | 0.10 | 0.20 |
| 8 | 0.78 | 7.5 | ||||||
| 9 | 0.78 | 7.6 | ||||||
| 10 | 0.77 | 0.77 | 0.01 | 0.01 | 7.2 | 7.30 | 0.10 | 0.20 |
| 11 | 0.76 | 7.3 | ||||||
| 12 | 0.77 | 7.4 | ||||||
| 13 | 0.78 | 0.77 | 0.01 | 0.01 | 7.4 | 7.40 | 0.10 | 0.20 |
| 14 | 0.77 | 7.5 | ||||||
| 15 | 0.77 | 7.3 | ||||||
| 16 | 0.74 | 0.76 | 0.02 | 0.03 | 7.6 | 7.57 | 0.06 | 0.10 |
| 17 | 0.76 | 7.5 | ||||||
| 18 | 0.77 | 7.6 | ||||||
| 19 | 0.78 | 0.77 | 0.02 | 0.03 | 7.2 | 7.37 | 0.21 | 0.40 |
| 20 | 0.75 | 7.3 | ||||||
| 21 | 0.77 | 7.6 | ||||||
| 22 | 0.78 | 0.76 | 0.02 | 0.04 | 7.5 | 7.33 | 0.21 | 0.40 |
| 23 | 0.74 | 7.1 | ||||||
| 24 | 0.76 | 7.4 | ||||||
| 25 | 0.78 | 0.76 | 0.02 | 0.03 | 7.3 | 7.37 | 0.21 | 0.40 |
| 26 | 0.76 | 7.2 | ||||||
| 27 | 0.75 | 7.6 | ||||||
| 28 | 0.78 | 0.76 | 0.02 | 0.04 | 7.4 | 7.47 | 0.06 | 0.10 |
| 29 | 0.74 | 7.5 | ||||||
| 30 | 0.76 | 7.5 | ||||||
| 31 | 0.76 | 0.76 | 0.02 | 0.03 | 7.3 | 7.40 | 0.17 | 0.30 |
| 32 | 0.75 | 7.3 | ||||||
| 33 | 0.78 | 7.6 | ||||||
| 34 | 0.77 | 0.76 | 0.02 | 0.03 | 7.4 | 7.37 | 0.15 | 0.30 |
| 35 | 0.74 | 7.2 | ||||||
| 36 | 0.77 | 7.5 | ||||||
| 37 | 0.77 | 0.77 | 0.02 | 0.03 | 7.3 | 7.33 | 0.25 | 0.50 |
| 38 | 0.75 | 7.6 | ||||||
| 39 | 0.78 | 7.1 | ||||||
| 40 | 0.77 | 0.77 | 0.02 | 0.03 | 7.4 | 7.43 | 0.06 | 0.10 |
| 41 | 0.78 | 7.5 | ||||||
| 42 | 0.75 | 7.4 | ||||||
| 43 | 0.77 | 0.76 | 0.01 | 0.02 | 7.6 | 7.37 | 0.25 | 0.50 |
| 44 | 0.77 | 7.4 | ||||||
| 45 | 0.75 | 7.1 | ||||||
| 46 | 0.76 | 0.76 | 0.01 | 0.02 | 7.2 | 7.30 | 0.10 | 0.20 |
| 47 | 0.75 | 7.3 | ||||||
| 48 | 0.77 | 7.4 |
| Sample No. | Sa [μm] | [μm] | s(z) [μm] | R(z) [μm] | Sz [μm] | [μm] | s(z) [μm] | R(z) [μm] | |
|---|---|---|---|---|---|---|---|---|---|
| 1 | 52 | 0.77 | 0.76 | 0.01 | 0.02 | 7.4 | 7.37 | 0.06 | 0.10 |
| 2 | 0.76 | 7.4 | |||||||
| 3 | 0.75 | 7.3 | |||||||
| 4 | 78 | 0.77 | 0.77 | 0.01 | 0.01 | 7.3 | 7.37 | 0.21 | 0.40 |
| 5 | 0.77 | 7.2 | |||||||
| 6 | 0.76 | 7.6 | |||||||
| 7 | 104 | 0.77 | 0.77 | 0.02 | 0.03 | 7.3 | 7.50 | 0.17 | 0.30 |
| 8 | 0.79 | 7.6 | |||||||
| 9 | 0.76 | 7.6 | |||||||
| 10 | 130 | 0.77 | 0.76 | 0.02 | 0.03 | 7.3 | 7.33 | 0.15 | 0.30 |
| 11 | 0.74 | 7.2 | |||||||
| 12 | 0.76 | 7.5 | |||||||
| 13 | 156 | 0.77 | 0.77 | 0.01 | 0.01 | 7.4 | 7.43 | 0.06 | 0.10 |
| 14 | 0.77 | 7.4 | |||||||
| 15 | 0.76 | 7.5 | |||||||
| 16 | 182 | 0.75 | 0.76 | 0.02 | 0.03 | 7.5 | 7.50 | 0.10 | 0.20 |
| 17 | 0.75 | 7.4 | |||||||
| 18 | 0.78 | 7.6 | |||||||
| 19 | 208 | 0.75 | 0.75 | 0.01 | 0.01 | 7.3 | 7.40 | 0.10 | 0.20 |
| 20 | 0.75 | 7.4 | |||||||
| 21 | 0.76 | 7.5 |
| Sample No. | Sa [μm] | [μm] | s(z) [μm] | R(z) [μm] | Sz [μm] | [μm] | s(z) [μm] | R(z) [μm] | |
|---|---|---|---|---|---|---|---|---|---|
| 22 | 52 | 0.77 | 0.77 | 0.02 | 0.03 | 7.5 | 7.37 | 0.15 | 0.30 |
| 23 | 0.76 | 7.2 | |||||||
| 24 | 0.79 | 7.4 | |||||||
| 25 | 78 | 0.79 | 0.78 | 0.02 | 0.03 | 7.4 | 7.30 | 0.17 | 0.30 |
| 26 | 0.78 | 7.1 | |||||||
| 27 | 0.76 | 7.4 | |||||||
| 28 | 104 | 0.8 | 0.78 | 0.02 | 0.04 | 7.3 | 7.37 | 0.06 | 0.10 |
| 29 | 0.76 | 7.4 | |||||||
| 30 | 0.78 | 7.4 | |||||||
| 31 | 130 | 0.79 | 0.77 | 0.02 | 0.03 | 7.3 | 7.33 | 0.15 | 0.30 |
| 32 | 0.76 | 7.2 | |||||||
| 33 | 0.77 | 7.5 | |||||||
| 34 | 156 | 0.78 | 0.78 | 0.02 | 0.03 | 7.6 | 7.37 | 0.25 | 0.50 |
| 35 | 0.76 | 7.1 | |||||||
| 36 | 0.79 | 7.4 | |||||||
| 37 | 182 | 0.79 | 0.79 | 0.02 | 0.03 | 7.2 | 7.33 | 0.15 | 0.30 |
| 38 | 0.77 | 7.5 | |||||||
| 39 | 0.8 | 7.3 | |||||||
| 40 | 208 | 0.78 | 0.78 | 0.01 | 0.02 | 7.3 | 7.33 | 0.06 | 0.10 |
| 41 | 0.79 | 7.3 | |||||||
| 42 | 0.77 | 7.4 | |||||||
| 43 | 234 | 0.79 | 0.78 | 0.02 | 0.03 | 7.5 | 7.33 | 0.15 | 0.30 |
| 44 | 0.78 | 7.2 | |||||||
| 45 | 0.76 | 7.3 | |||||||
| 46 | 260 | 0.77 | 0.77 | 0.01 | 0.02 | 7.3 | 7.37 | 0.12 | 0.20 |
| 47 | 0.76 | 7.5 | |||||||
| 48 | 0.78 | 7.3 |
| Sample No. | Sa [μm] | [μm] | s(z) [μm] | R(z) [μm] | Sz [μm] | [μm] | s(z) [μm] | R(z) [μm] |
|---|---|---|---|---|---|---|---|---|
| 1 | 1.04 | 1.04 | 0.01 | 0.01 | 10.6 | 10.67 | 0.21 | 0.40 |
| 2 | 1.05 | 10.5 | ||||||
| 3 | 1.04 | 10.9 | ||||||
| 4 | 1.07 | 1.06 | 0.01 | 0.02 | 10.7 | 10.80 | 0.10 | 0.20 |
| 5 | 1.05 | 10.8 | ||||||
| 6 | 1.06 | 10.9 | ||||||
| 7 | 1.05 | 1.05 | 0.02 | 0.03 | 10.6 | 10.60 | 0.10 | 0.20 |
| 8 | 1.03 | 10.5 | ||||||
| 9 | 1.06 | 10.7 | ||||||
| 10 | 1.06 | 1.04 | 0.02 | 0.03 | 10.5 | 10.53 | 0.15 | 0.30 |
| 11 | 1.04 | 10.7 | ||||||
| 12 | 1.03 | 10.4 | ||||||
| 13 | 1.05 | 1.04 | 0.01 | 0.02 | 10.8 | 10.60 | 0.17 | 0.30 |
| 14 | 1.04 | 10.5 | ||||||
| 15 | 1.03 | 10.5 | ||||||
| 16 | 1.02 | 1.03 | 0.02 | 0.03 | 10.6 | 10.60 | 0.20 | 0.40 |
| 17 | 1.05 | 10.8 | ||||||
| 18 | 1.03 | 10.4 | ||||||
| 19 | 1.04 | 1.04 | 0.02 | 0.03 | 10.3 | 10.53 | 0.25 | 0.50 |
| 20 | 1.06 | 10.8 | ||||||
| 21 | 1.03 | 10.5 | ||||||
| 22 | 1.02 | 1.04 | 0.02 | 0.03 | 10.5 | 10.60 | 0.26 | 0.50 |
| 23 | 1.05 | 10.4 | ||||||
| 24 | 1.04 | 10.9 | ||||||
| 25 | 1.03 | 1.04 | 0.01 | 0.02 | 10.8 | 10.63 | 0.21 | 0.40 |
| 26 | 1.05 | 10.4 | ||||||
| 27 | 1.05 | 10.7 | ||||||
| 28 | 1.06 | 1.05 | 0.02 | 0.03 | 10.4 | 10.47 | 0.21 | 0.40 |
| 29 | 1.03 | 10.7 | ||||||
| 30 | 1.05 | 10.3 | ||||||
| 31 | 1.07 | 1.04 | 0.03 | 0.05 | 10.7 | 10.50 | 0.17 | 0.30 |
| 32 | 1.02 | 10.4 | ||||||
| 33 | 1.04 | 10.4 | ||||||
| 34 | 1.04 | 1.04 | 0.01 | 0.02 | 10.6 | 10.53 | 0.12 | 0.20 |
| 35 | 1.05 | 10.4 | ||||||
| 36 | 1.03 | 10.6 | ||||||
| 37 | 1.04 | 1.05 | 0.01 | 0.02 | 10.5 | 10.67 | 0.15 | 0.30 |
| 38 | 1.04 | 10.7 | ||||||
| 39 | 1.06 | 10.8 | ||||||
| 40 | 1.04 | 1.04 | 0.02 | 0.03 | 10.6 | 10.57 | 0.15 | 0.30 |
| 41 | 1.03 | 10.4 | ||||||
| 42 | 1.06 | 10.7 | ||||||
| 43 | 1.05 | 1.05 | 0.01 | 0.02 | 10.2 | 10.33 | 0.23 | 0.40 |
| 44 | 1.04 | 10.6 | ||||||
| 45 | 1.06 | 10.2 | ||||||
| 46 | 1.05 | 1.04 | 0.01 | 0.01 | 10.2 | 10.43 | 0.21 | 0.40 |
| 47 | 1.04 | 10.5 | ||||||
| 48 | 1.04 | 10.6 |
| Sample No. | Sa [μm] | [μm] | s(z) [μm] | R(z) [μm] | Sz [μm] | [μm] | s(z) [μm] | R(z) [μm] | |
|---|---|---|---|---|---|---|---|---|---|
| 1 | 52 | 1.05 | 1.05 | 0.01 | 0.01 | 10.5 | 10.43 | 0.21 | 0.40 |
| 2 | 1.05 | 10.2 | |||||||
| 3 | 1.06 | 10.6 | |||||||
| 4 | 78 | 1.08 | 1.06 | 0.02 | 0.04 | 10.6 | 10.77 | 0.15 | 0.30 |
| 5 | 1.04 | 10.9 | |||||||
| 6 | 1.06 | 10.8 | |||||||
| 7 | 104 | 1.07 | 1.07 | 0.02 | 0.03 | 10.6 | 10.53 | 0.12 | 0.20 |
| 8 | 1.05 | 10.4 | |||||||
| 9 | 1.08 | 10.6 | |||||||
| 10 | 130 | 1.08 | 1.06 | 0.02 | 0.04 | 10.7 | 10.60 | 0.10 | 0.20 |
| 11 | 1.05 | 10.6 | |||||||
| 12 | 1.04 | 10.5 | |||||||
| 13 | 156 | 1.04 | 1.05 | 0.02 | 0.03 | 10.7 | 10.53 | 0.15 | 0.30 |
| 14 | 1.07 | 10.5 | |||||||
| 15 | 1.05 | 10.4 | |||||||
| 16 | 182 | 1.04 | 1.05 | 0.02 | 0.03 | 10.5 | 10.50 | 0.20 | 0.40 |
| 17 | 1.07 | 10.7 | |||||||
| 18 | 1.04 | 10.3 | |||||||
| 19 | 208 | 1.03 | 1.05 | 0.03 | 0.05 | 10.5 | 10.50 | 0.00 | 0.00 |
| 20 | 1.08 | 10.5 | |||||||
| 21 | 1.04 | 10.5 |
| Sample No. | Sa [μm] | [μm] | s(z) [μm] | R(z) [μm] | Sz [μm] | [μm] | s(z) [μm] | R(z) [μm] | |
|---|---|---|---|---|---|---|---|---|---|
| 22 | 52 | 1.02 | 1.05 | 0.02 | 0.04 | 10.4 | 10.43 | 0.25 | 0.50 |
| 23 | 1.06 | 10.2 | |||||||
| 24 | 1.06 | 10.7 | |||||||
| 25 | 78 | 1.05 | 1.06 | 0.02 | 0.03 | 10.7 | 10.63 | 0.12 | 0.20 |
| 26 | 1.08 | 10.5 | |||||||
| 27 | 1.06 | 10.7 | |||||||
| 28 | 104 | 1.06 | 1.06 | 0.02 | 0.03 | 10.4 | 10.60 | 0.17 | 0.30 |
| 29 | 1.04 | 10.7 | |||||||
| 30 | 1.07 | 10.7 | |||||||
| 31 | 130 | 1.06 | 1.05 | 0.01 | 0.02 | 10.5 | 10.43 | 0.21 | 0.40 |
| 32 | 1.04 | 10.6 | |||||||
| 33 | 1.05 | 10.2 | |||||||
| 34 | 156 | 1.06 | 1.06 | 0.02 | 0.04 | 10.6 | 10.53 | 0.31 | 0.60 |
| 35 | 1.08 | 10.2 | |||||||
| 36 | 1.04 | 10.8 | |||||||
| 37 | 182 | 1.05 | 1.05 | 0.01 | 0.01 | 10.8 | 10.73 | 0.21 | 0.40 |
| 38 | 1.04 | 10.5 | |||||||
| 39 | 1.05 | 10.9 | |||||||
| 40 | 208 | 1.06 | 1.06 | 0.02 | 0.04 | 10.6 | 10.63 | 0.15 | 0.30 |
| 41 | 1.04 | 10.5 | |||||||
| 42 | 1.08 | 10.8 | |||||||
| 43 | 234 | 1.06 | 1.05 | 0.02 | 0.04 | 10.3 | 10.53 | 0.32 | 0.60 |
| 44 | 1.03 | 10.9 | |||||||
| 45 | 1.07 | 10.4 | |||||||
| 46 | 260 | 1.07 | 1.06 | 0.01 | 0.02 | 10.5 | 10.67 | 0.21 | 0.40 |
| 47 | 1.05 | 10.6 | |||||||
| 48 | 1.06 | 10.9 |
| Sample No. | Sa [μm] | [μm] | s(z) [μm] | R(z) [μm] | Sz [μm] | [μm] | s(z) [μm] | R(z) [μm] |
|---|---|---|---|---|---|---|---|---|
| 1 | 0.48 | 0.48 | 0.01 | 0.02 | 5.48 | 5.48 | 0.07 | 0.13 |
| 2 | 0.47 | 5.42 | ||||||
| 3 | 0.49 | 5.55 | ||||||
| 4 | 0.5 | 0.48 | 0.02 | 0.03 | 5.49 | 5.49 | 0.08 | 0.15 |
| 5 | 0.48 | 5.42 | ||||||
| 6 | 0.47 | 5.57 | ||||||
| 7 | 0.48 | 0.49 | 0.01 | 0.02 | 5.43 | 5.49 | 0.07 | 0.13 |
| 8 | 0.5 | 5.56 | ||||||
| 9 | 0.48 | 5.49 | ||||||
| 10 | 0.5 | 0.49 | 0.02 | 0.03 | 5.48 | 5.47 | 0.06 | 0.12 |
| 11 | 0.47 | 5.41 | ||||||
| 12 | 0.49 | 5.53 | ||||||
| 13 | 0.49 | 0.50 | 0.01 | 0.02 | 5.47 | 5.48 | 0.02 | 0.04 |
| 14 | 0.5 | 5.5 | ||||||
| 15 | 0.51 | 5.46 | ||||||
| 16 | 0.49 | 0.49 | 0.01 | 0.02 | 5.49 | 5.46 | 0.03 | 0.06 |
| 17 | 0.5 | 5.43 | ||||||
| 18 | 0.48 | 5.46 | ||||||
| 19 | 0.49 | 0.48 | 0.01 | 0.02 | 5.47 | 5.47 | 0.04 | 0.07 |
| 20 | 0.47 | 5.43 | ||||||
| 21 | 0.49 | 5.5 | ||||||
| 22 | 0.51 | 0.50 | 0.02 | 0.03 | 5.49 | 5.46 | 0.03 | 0.06 |
| 23 | 0.5 | 5.47 | ||||||
| 24 | 0.48 | 5.43 | ||||||
| 25 | 0.49 | 0.48 | 0.01 | 0.02 | 5.46 | 5.46 | 0.03 | 0.05 |
| 26 | 0.47 | 5.44 | ||||||
| 27 | 0.48 | 5.49 | ||||||
| 28 | 0.5 | 0.49 | 0.02 | 0.03 | 5.51 | 5.48 | 0.03 | 0.05 |
| 29 | 0.49 | 5.48 | ||||||
| 30 | 0.47 | 5.46 | ||||||
| 31 | 0.49 | 0.49 | 0.01 | 0.02 | 5.57 | 5.49 | 0.07 | 0.14 |
| 32 | 0.48 | 5.43 | ||||||
| 33 | 0.5 | 5.46 | ||||||
| 34 | 0.49 | 0.49 | 0.02 | 0.03 | 5.5 | 5.47 | 0.03 | 0.06 |
| 35 | 0.5 | 5.47 | ||||||
| 36 | 0.47 | 5.44 | ||||||
| 37 | 0.47 | 0.49 | 0.02 | 0.03 | 5.47 | 5.48 | 0.03 | 0.05 |
| 38 | 0.5 | 5.46 | ||||||
| 39 | 0.5 | 5.51 | ||||||
| 40 | 0.49 | 0.49 | 0.01 | 0.01 | 5.47 | 5.47 | 0.04 | 0.07 |
| 41 | 0.5 | 5.5 | ||||||
| 42 | 0.49 | 5.43 | ||||||
| 43 | 0.49 | 0.49 | 0.02 | 0.04 | 5.44 | 5.47 | 0.04 | 0.07 |
| 44 | 0.47 | 5.51 | ||||||
| 45 | 0.51 | 5.45 | ||||||
| 46 | 0.49 | 0.50 | 0.01 | 0.02 | 5.41 | 5.43 | 0.02 | 0.04 |
| 47 | 0.51 | 5.43 | ||||||
| 48 | 0.5 | 5.45 |
| Sample No. | Sa [μm] | [μm] | s(z) [μm] | R(z) [μm] | Sz [μm] | [μm] | s(z) [μm] | R(z) [μm] | |
|---|---|---|---|---|---|---|---|---|---|
| 1 | 52 | 0.5 | 0.50 | 0.02 | 0.03 | 5.5 | 5.49 | 0.05 | 0.09 |
| 2 | 0.48 | 5.44 | |||||||
| 3 | 0.51 | 5.53 | |||||||
| 4 | 78 | 0.51 | 0.49 | 0.02 | 0.04 | 5.54 | 5.51 | 0.07 | 0.13 |
| 5 | 0.5 | 5.43 | |||||||
| 6 | 0.47 | 5.56 | |||||||
| 7 | 104 | 0.49 | 0.49 | 0.02 | 0.04 | 5.46 | 5.50 | 0.04 | 0.08 |
| 8 | 0.51 | 5.54 | |||||||
| 9 | 0.47 | 5.49 | |||||||
| 10 | 130 | 0.5 | 0.50 | 0.01 | 0.01 | 5.46 | 5.47 | 0.04 | 0.08 |
| 11 | 0.49 | 5.43 | |||||||
| 12 | 0.5 | 5.51 | |||||||
| 13 | 156 | 0.5 | 0.50 | 0.02 | 0.03 | 5.49 | 5.48 | 0.05 | 0.10 |
| 14 | 0.52 | 5.52 | |||||||
| 15 | 0.49 | 5.42 | |||||||
| 16 | 182 | 0.52 | 0.50 | 0.02 | 0.03 | 5.49 | 5.48 | 0.04 | 0.07 |
| 17 | 0.49 | 5.51 | |||||||
| 18 | 0.49 | 5.44 | |||||||
| 19 | 208 | 0.5 | 0.50 | 0.01 | 0.02 | 5.42 | 5.48 | 0.05 | 0.10 |
| 20 | 0.49 | 5.49 | |||||||
| 21 | 0.51 | 5.52 |
| Sample No. | Sa [μm] | [μm] | s(z) [μm] | R(z) [μm] | Sz [μm] | [μm] | s(z) [μm] | R(z) [μm] | |
|---|---|---|---|---|---|---|---|---|---|
| 22 | 52 | 1.45 | 1.44 | 0.02 | 0.04 | 38.7 | 38.40 | 0.26 | 0.50 |
| 23 | 1.42 | 38.2 | |||||||
| 24 | 1.46 | 38.3 | |||||||
| 25 | 78 | 1.48 | 1.45 | 0.04 | 0.07 | 38.3 | 38.43 | 0.32 | 0.60 |
| 26 | 1.47 | 38.8 | |||||||
| 27 | 1.41 | 38.2 | |||||||
| 28 | 104 | 1.5 | 1.47 | 0.04 | 0.07 | 38.8 | 38.43 | 0.32 | 0.60 |
| 29 | 1.48 | 38.2 | |||||||
| 30 | 1.43 | 38.3 | |||||||
| 31 | 130 | 1.51 | 1.47 | 0.05 | 0.09 | 38.6 | 38.37 | 0.21 | 0.40 |
| 32 | 1.42 | 38.3 | |||||||
| 33 | 1.49 | 38.2 | |||||||
| 34 | 156 | 1.49 | 1.49 | 0.02 | 0.03 | 38.1 | 38.40 | 0.26 | 0.50 |
| 35 | 1.5 | 38.6 | |||||||
| 36 | 1.47 | 38.5 | |||||||
| 37 | 182 | 1.49 | 1.50 | 0.01 | 0.02 | 38.6 | 38.50 | 0.26 | 0.50 |
| 38 | 1.51 | 38.7 | |||||||
| 39 | 1.5 | 38.2 | |||||||
| 40 | 208 | 1.48 | 1.48 | 0.04 | 0.07 | 38.4 | 38.40 | 0.20 | 0.40 |
| 41 | 1.44 | 38.6 | |||||||
| 42 | 1.51 | 38.2 | |||||||
| 43 | 234 | 1.5 | 1.48 | 0.03 | 0.06 | 38.2 | 38.43 | 0.32 | 0.60 |
| 44 | 1.44 | 38.8 | |||||||
| 45 | 1.49 | 38.3 | |||||||
| 46 | 260 | 1.52 | 1.50 | 0.02 | 0.03 | 38.3 | 38.40 | 0.26 | 0.50 |
| 47 | 1.5 | 38.7 | |||||||
| 48 | 1.49 | 38.2 |
| Water Pressure pw = 20 MPa pw = 35 MPa Average Surface Efficiency | ||
|---|---|---|
| 52 | 0.014 | 0.025 |
| 78 | 0.025 | 0.040 |
| 104 | 0.050 | 0.077 |
| 130 | 0.086 | 0.110 |
| 156 | 0.129 | 0.157 |
| 182 | 0.125 | 0.200 |
| 208 | 0.116 | 0.228 |
| 234 | - | 0.210 |
| 260 | - | 0.176 |
| Water Pressure pw = 20 MPa pw = 35 MPa Average Surface Efficiency | ||
|---|---|---|
| 52 | 0.018 | 0.033 |
| 78 | 0.040 | 0.060 |
| 104 | 0.070 | 0.110 |
| 130 | 0.120 | 0.153 |
| 156 | 0.175 | 0.22 |
| 182 | 0.171 | 0.262 |
| 208 | 0.160 | 0.307 |
| 234 | - | 0.296 |
| 260 | - | 0.273 |
| Water Pressure pw = 20 MPa pw = 35 MPa Average Surface Efficiency | ||
|---|---|---|
| 150 | 0.103 | 0.126 |
| 200 | 0.122 | 0.149 |
| 250 | 0.129 | 0.157 |
| 300 | 0.113 | 0.141 |
| 350 | 0.090 | 0.126 |
| 400 | 0.060 | 0.102 |
| Water Pressure pw = 20 MPa pw = 35 MPa Average Surface Efficiency | ||
|---|---|---|
| 150 | 0.140 | 0.176 |
| 200 | 0.166 | 0.209 |
| 250 | 0.175 | 0.220 |
| 300 | 0.153 | 0.198 |
| 350 | 0.119 | 0.176 |
| 400 | 0.082 | 0.143 |
| Spray Angle κ [°] | Water Pressure pw = 20 MPa pw = 35 MPa Average Surface Efficiency | |
|---|---|---|
| 30 | 0.016 | 0.021 |
| 45 | 0.075 | 0.096 |
| 60 | 0.160 | 0.200 |
| 75 | 0.172 | 0.218 |
| 90 | 0.175 | 0.220 |
| Water Pressure pw [MPa] | PMMA | PA2 | X5CrNi18-10 |
|---|---|---|---|
| Average Surface Efficiency | |||
| 20 | 0.210 | 0.175 | 0.129 |
| 25 | 0.228 | 0.189 | 0.138 |
| 30 | 0.250 | 0.201 | 0.150 |
| 35 | 0.264 | 0.220 | 0.157 |
| Matrix Forms | ||||
|---|---|---|---|---|
| N = 5 and L = 4 | 1 | 30 | 900 | 27,000 |
| 1 | 45 | 2025 | 91,125 | |
| 1 | 60 | 3600 | 216,000 | |
| 1 | 75 | 5625 | 421,875 | |
| 1 | 90 | 8100 | 729,000 | |
| N = 6 and L = 4 | 1 | 150 | 22,500 | 3,375,000 |
| 1 | 200 | 40,000 | 8,000,000 | |
| 1 | 250 | 62,500 | 1,562,500 | |
| 1 | 300 | 90,000 | 27,000,000 | |
| 1 | 350 | 122,500 | 4,2875,000 | |
| 1 | 400 | 160,000 | 64,000,000 | |
| N = 7 and L = 4 | 1 | 52 | 2704 | 140,608 |
| 1 | 78 | 6084 | 474,552 | |
| 1 | 104 | 10,816 | 1,124,864 | |
| 1 | 130 | 16,900 | 2,197,000 | |
| 1 | 156 | 24,336 | 3,796,416 | |
| 1 | 182 | 33,124 | 602,8568 | |
| 1 | 208 | 43,264 | 8,998,912 | |
| N = 9 and L = 4 | 1 | 52 | 2704 | 140,608 |
| 1 | 78 | 6084 | 47,4552 | |
| 1 | 104 | 10,816 | 1,124,864 | |
| 1 | 130 | 16,900 | 2,197,000 | |
| 1 | 156 | 24,336 | 3,796,416 | |
| 1 | 182 | 33,124 | 6,028,568 | |
| 1 | 208 | 43,264 | 8,998,912 | |
| 1 | 234 | 54,756 | 12,812,904 | |
| 1 | 260 | 67,600 | 17,576,000 | |
Publisher’s Note: MDPI stays neutral with regard to jurisdictional claims in published maps and institutional affiliations. |
© 2022 by the authors. Licensee MDPI, Basel, Switzerland. This article is an open access article distributed under the terms and conditions of the Creative Commons Attribution (CC BY) license (https://creativecommons.org/licenses/by/4.0/).
Share and Cite
Chomka, G.; Chodór, J.; Kukiełka, L.; Kasperowicz, M. The Use of a High-Pressure Water-Ice Jet for Removing Worn Paint Coating in Renovation Process. Materials 2022, 15, 1168. https://doi.org/10.3390/ma15031168
Chomka G, Chodór J, Kukiełka L, Kasperowicz M. The Use of a High-Pressure Water-Ice Jet for Removing Worn Paint Coating in Renovation Process. Materials. 2022; 15(3):1168. https://doi.org/10.3390/ma15031168
Chicago/Turabian StyleChomka, Grzegorz, Jarosław Chodór, Leon Kukiełka, and Maciej Kasperowicz. 2022. "The Use of a High-Pressure Water-Ice Jet for Removing Worn Paint Coating in Renovation Process" Materials 15, no. 3: 1168. https://doi.org/10.3390/ma15031168
APA StyleChomka, G., Chodór, J., Kukiełka, L., & Kasperowicz, M. (2022). The Use of a High-Pressure Water-Ice Jet for Removing Worn Paint Coating in Renovation Process. Materials, 15(3), 1168. https://doi.org/10.3390/ma15031168
