Discrimination of Copper Molten Marks through a Fire Reproduction Experiment Using Microstructure Features
Abstract
:1. Introduction
2. Materials and Methods
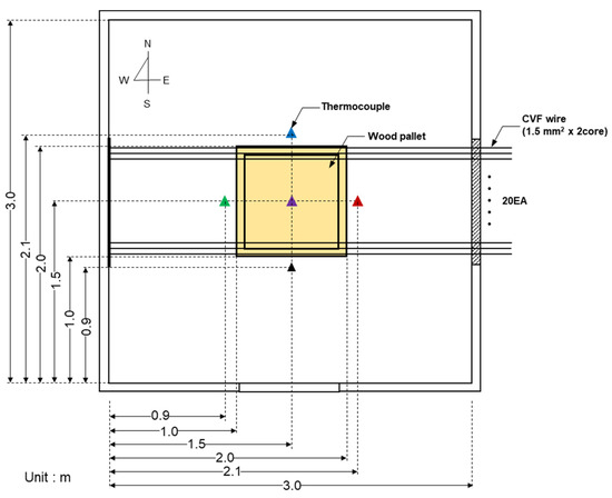
2.1. Experimental Site
2.2. Electrical Test Configuration
2.3. Instrument
2.4. Methodology
3. Results and Discussion
3.1. Temperature Distribution and Molten Mark Appearance
3.2. EBSD Microstructure Analysis
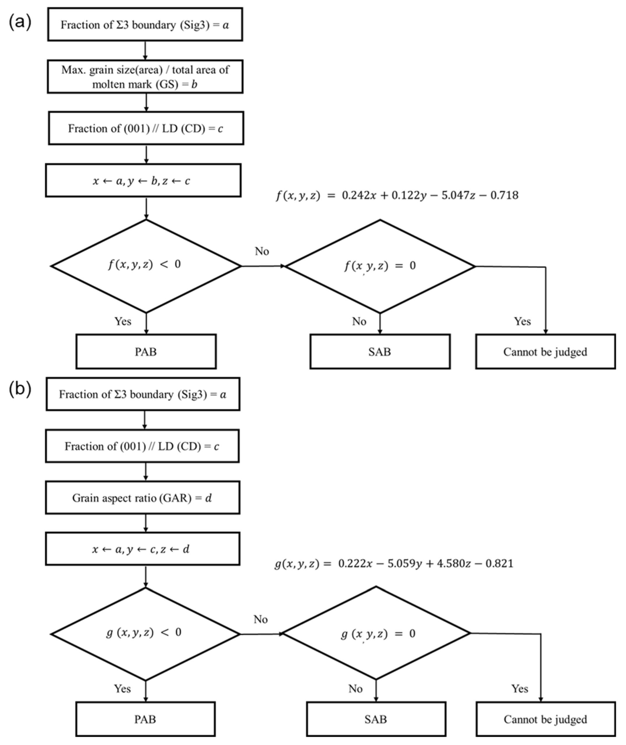
3.3. Classification in the Decision Tree
3.4. Linear Discriminant Analysis and Process
3.5. Application of the Discriminant Method for Molten Marks Identified at the Fire Site
4. Conclusions
Supplementary Materials
Author Contributions
Funding
Institutional Review Board Statement
Informed Consent Statement
Data Availability Statement
Conflicts of Interest
References
- Park, J.; Kang, J.-H.; Lee, E.P.; Ko, Y.H.; Bang, S.B. New approach to distinguish copper molten marks based on quantitative microstructure analysis using electron backscatter diffraction. Fire Technol. 2021, 57, 1667–1682. [Google Scholar] [CrossRef]
- Park, J.; Kang, J.-H.; Jang, H.-S.; Ko, Y.H.; Bang, S.B. Potential method to distinguish copper molten marks using boundary and grain characteristics. Materials 2022, 15, 4534. [Google Scholar] [CrossRef] [PubMed]
- National Fire Protection Association (NFPA). NFPA 921: Guide for Fire and Explosion Investigations 2017. Available online: https://www.nfpa.org/codes-and-standards/all-codes-and-standards/list-of-codes-and-standards/detail?code=921&year=2017 (accessed on 10 December 2020).
- Gray, D.A.; Drysdale, D.D.; Lewis, F.A.S. Identification of electrical sources of ignition in fires. Fire Saf. J. 1983, 6, 147–150. [Google Scholar] [CrossRef]
- Lee, E.-P.; Ohtani, H.; Seki, T.; Imada, S.; Yashiro, I. Discrimination between primary and secondary molten marks on electric wires by DAS. J. Appl. Fire Sci. 2000, 9, 361–379. [Google Scholar]
- Lee, E.-P.; Ohtani, H.; Matsubara, Y.; Seki, T.; Hasegawa, H.; Imada, S.; Yashiro, I. Study on discrimination between primary and secondary molten marks using carbonized residue. Fire Saf. J. 2002, 37, 353–368. [Google Scholar] [CrossRef]
- Babrauskas, V. Arc beads from fires: Can ‘cause’ beads be distinguished from ‘victim’ beads by physical or chemical testing? J. Fire Prot. Eng. 2004, 14, 125–147. [Google Scholar] [CrossRef]
- Wang, L.; Liang, D.; Mo, S. Judgment model for identifying the type of electric molten mark in fire. J. Comput. Methods Sci. Eng. 2016, 16, 125–133. [Google Scholar] [CrossRef]
- National Fire Agency. National Fire Data System. 2022. Available online: https://www.nfds.go.kr (accessed on 16 August 2022).
- National Fire Agency of South Korea. National Fire Classification System Manual; National Fire Agency: Gongju-si, Republic of Korea, 2019. [Google Scholar]
- Schwartz, A.J.; Kumar, M.; Adams, B.L.; Field, D.P. Electron Backscatter Diffraction in Materials Science, 2nd ed.; Springer: New York, NY, USA, 2010. [Google Scholar]
- Engler, O.; Randle, V. Introduction to Texture Analysis: Macrotexture, Microtexture, and Orientation Mapping, 2nd ed.; CRC Press: Boca Raton, FL, USA, 2000. [Google Scholar]
- Andrushia, A.D.; Anand, N.; Arulraj, G.P. A novel approach for thermal crack detection and quantification in structural concrete using ripplet transform. Struct. Control. Health Monit. 2020, 27, e2621. [Google Scholar] [CrossRef]
- Kurz, W.; Fisher, D.J. Fundamentals of Solidification; Trans Tech Publications: Bäch, Switzerland, 1984. [Google Scholar]
- Samuels, L.E. Metallographic Polishing by Mechanical Methods, 4th ed.; ASM International: Novelty, ÒH, USA, 2003. [Google Scholar]
- Kang, J.-H.; Kim, S.-H. Sample preparation for EBSD analysis: Tips for metals with delicate surfaces. Korean J. Met. Mater. 2010, 48, 730–740. [Google Scholar] [CrossRef]
- EDAX; OIM. Analysis v8.6 Manual; EDAX AMETEK: Pleasanton, CA, USA, 2021. [Google Scholar]
- Dantzig, J.A.; Rappaz, M. Solidification, 2nd ed.; EPFL Press: Lausanne, Switzerland, 2016. [Google Scholar]
- Park, J.; Kang, J.-H.; Oh, C.-S. Phase-field simulations and microstructural analysis of epitaxial growth during rapid solidification of additively manufactured AlSi10Mg alloy. Mater. Des. 2020, 195, 108985. [Google Scholar] [CrossRef]
- Oliveira, J.P.; Shamsolhodaei, A.; Shen, J.; Lopes, J.G.; Gonçalves, R.M.; Ferraz, M.B.; Piçarra, L.; Zeng, Z.; Schell, N.; Zhou, N.; et al. Improving the ductility in laser welded joints of CoCrFeMnNi high entropy alloy to 316 stainless steel. Mater. Des. 2022, 219, 110717. [Google Scholar] [CrossRef]
- Kou, S. Welding Metallurgy, 2nd ed.; John Wiley and Sons, Inc.: Hoboken, NJ, USA, 2003. [Google Scholar]
- Weman, K. Welding Processes Handbook, 2nd ed.; Woodhead Publishing: Sawston, UK, 2011. [Google Scholar]
- Abbaschian, R.; Reed-Hill, R.E. Physical Metallurgy Principles—SI Version; Cengage Learning: Boston, MA, USA, 2009. [Google Scholar]
- Porter, D.A.; Easterling, K.E.; Sherif, M.Y.A. Phase Transformations in Metals and Alloys; (Revised Reprint); CRC Press: Boca Raton, FL, USA, 2009. [Google Scholar] [CrossRef]
- Humphreys, F.J.; Hatherly, M. Recrystallization and Related Annealing Phenomena, 2nd ed.; Pergamon Press: Oxford, UK, 2004. [Google Scholar]
- Pedregosa, F.; Varoquaux, G.; Gramfort, A.; Michel, V.; Thirion, B.; Grisel, O.; Blondel, M.; Prettenhofer, P.; Weiss, R.; Dubourg, V.; et al. Scikit-learn: Machine learning in python. J. Mach. Learn. Res. 2011, 12, 2825–2830. [Google Scholar]
- Tharwat, A. Linear vs. quadratic discriminant analysis classifier: A tutorial. Int. J. Appl. Pattern Recognit. 2016, 3, 145–180. [Google Scholar] [CrossRef]













| Molten Mark | (001)//LD | GAR | Sig3 (%) | GS (%) |
|---|---|---|---|---|
| PAB | 0.426 | 0.205 | 2.435 | 4.430 |
| SAB | 0.154 | 0.279 | 5.677 | 7.390 |
| Sample | Sig3 | GS | CD | GAR | DT Class | Posterior Probability | |||||
|---|---|---|---|---|---|---|---|---|---|---|---|
| Sig3–GS–CD | Sig3–CD–GAR | Average | |||||||||
| PAB | SAB | PAB | SAB | PAB | SAB | ||||||
| A | 10.16 | 7.68 | 0.072 | 0.19 | SAB | 0.06 | 99.94 | 0.33 | 99.77 | 0.20 | 99.86 |
| B | 1.41 | 9.80 | 0.33 | 0.16 | PAB | 90.16 | 9.84 | 97.51 | 2.49 | 93.84 | 6.17 |
| C | 2.08 | 9.27 | 0.37 | 0.14 | PAB | 92.49 | 7.51 | 98.25 | 1.75 | 95.37 | 4.63 |
| D | 2.81 | 8.33 | 0.11 | 0.30 | PAB | 12.19 | 87.81 | 8.37 | 91.63 | 10.28 | 89.72 |
Publisher’s Note: MDPI stays neutral with regard to jurisdictional claims in published maps and institutional affiliations. |
© 2022 by the authors. Licensee MDPI, Basel, Switzerland. This article is an open access article distributed under the terms and conditions of the Creative Commons Attribution (CC BY) license (https://creativecommons.org/licenses/by/4.0/).
Share and Cite
Park, J.; Kang, J.-H.; Park, J.; Ko, Y.H.; Bang, S.B. Discrimination of Copper Molten Marks through a Fire Reproduction Experiment Using Microstructure Features. Materials 2022, 15, 8206. https://doi.org/10.3390/ma15228206
Park J, Kang J-H, Park J, Ko YH, Bang SB. Discrimination of Copper Molten Marks through a Fire Reproduction Experiment Using Microstructure Features. Materials. 2022; 15(22):8206. https://doi.org/10.3390/ma15228206
Chicago/Turabian StylePark, Jinyoung, Joo-Hee Kang, Jiwon Park, Young Ho Ko, and Sun Bae Bang. 2022. "Discrimination of Copper Molten Marks through a Fire Reproduction Experiment Using Microstructure Features" Materials 15, no. 22: 8206. https://doi.org/10.3390/ma15228206
APA StylePark, J., Kang, J.-H., Park, J., Ko, Y. H., & Bang, S. B. (2022). Discrimination of Copper Molten Marks through a Fire Reproduction Experiment Using Microstructure Features. Materials, 15(22), 8206. https://doi.org/10.3390/ma15228206

