Effect of Ranque-Hilsch Vortex Tube Cooling to Enhance the Surface-Topography and Tool-Wear in Sustainable Turning of Al-5.6Zn-2.5Mg-1.6Cu-0.23Cr-T6 Aerospace Alloy
Abstract
:1. Introduction
- Machining of Al7075T6:
1.1. Sustainable Manufacturing
1.2. Cooling by RHVT
1.3. Shortcomings of Previous Research Studies
1.4. Motivation for Present Work
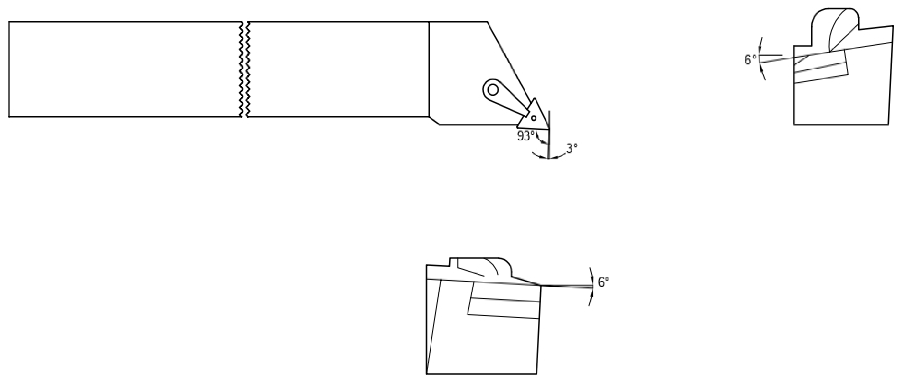
2. Experiment Setup
3. Results and Discussions
3.1. Tool Tip Temperature
3.2. Tool Wear
- The VBmax decreases with the employment of RHVT better than dry and compressed air conditions.
- The tool flank wear increases incrementally with cutting speed for the both cutting conditions.
- RHVT is effective with each incremental decrease in cutting speed.
3.3. Cutting Forces
3.4. Surface Roughness
3.5. Chip Morphology
3.6. Microhardness
3.7. Chip Management
- 1.
- Disposed chips: RDC is computed by Equation (1) where,
- mc is the total mass of chips
- mcd total mass of disposed chips
- 2.
- Recycled scrap part: RRSP is computed by Equation (2) where,
- ms total mass of scrap parts
- mrsc is the total mass of recycled scrap parts
- 3.
- Disposal scrap part: RDSP is computed by Equation (3) where,
- ms total mass of scrap parts
- mds total mass of recycled scrap parts
3.8. Energy Consumed
4. Conclusions
- The temperature changes obtained through the implementation of the RHVT method have a more positive effect on cutting forces than those obtained viathe dry cutting and compressed air methods. Use of RHVT reduces the cutting temperature between tool and workpiece up to 10% compared to dry turning.
- The RHVT MF strategy reduced Ra compared to the dry MF strategy by 17% and 29% for cutting speeds of 150 m/min and 200 m/min, respectively. For all MF strategies tested; the surface roughness values were highest in dry conditions.
- The VBmax decreases with the employment of RHVT more than with in dry and compressed air conditions. The tool flank wear increases with each increment in cutting speed in both cutting conditions. RHVT is effective with each incremental decrease in cutting speed.
- Fragmented and medium-length chips were generated under the RHVT environment, which indicates chip breakability under this technique. The chips generated at dry are continuous chips. MF dry-cutting chips are continuous chips with sharp edges and uneven burrs. Chips produced with the RHVT and MF compressed air strategies were nearly identical, with a mixture of fragmented and medium-length chips, indirectly indicating increased chip breakability.
- The Dry method obtained high RDC, RRSP, and RDSP, followed by compressed air and RHVT.
- Energy consumption under the RHVT MF strategy was 4.4% (at a cutting speed of 150 m/min) and 3.2% (at a cutting speed of 200 m/min) compared to dry cutting.
- Chip morphology analysis proved that the RHVT MF strategy not only facilitates the easy flow of chips on the rake face, but also enhances chip removal from the cutting zone by breaking the chips into segments.
Author Contributions
Funding
Institutional Review Board Statement
Informed Consent Statement
Data Availability Statement
Acknowledgments
Conflicts of Interest
Abbreviations
| Ranque-Hilsch vortex tube | RHVT |
| Energy dispersive X-ray spectroscopy | EDS |
| Scanning electron microscopy | SEM |
| Chip management model | CMM |
| Disposal ratio of chips | RDC |
| Recycled scrap part ratio | RRSP |
| Disposal scrap part ratio | RDSP |
| Cutting speed | Vc |
| Depth of cut | ap |
| Feed | f |
References
- Sreejith, P.S.; Ngoi, B.K.A. Dry machining: Machining of the future. J. Mater. Process. Technol. 2000, 101, 287–291. [Google Scholar] [CrossRef]
- Singh, G.; Pruncu, C.I.; Gupta, M.K.; Mia, M.; Khan, A.M.; Jamil, M.; Pimenov, D.Y.; Sen, B.; Sharma, V.S. Investigations of Machining Characteristics in the Upgraded MQL-Assisted Turning of Pure Titanium Alloys Using Evolutionary Algorithms. Materials 2019, 12, 999. [Google Scholar] [CrossRef] [PubMed]
- Gupta, M.K.; Mia, M.; Singh, G.; Pimenov, D.Y.; Sarikaya, M.; Sharma, V.S. Hybrid cooling-lubrication strategies to improve surface topography and tool wear in sustainable turning of Al 7075-T6 alloy. Int. J. Adv. Manuf. Technol. 2019, 101, 55–69. [Google Scholar] [CrossRef]
- Mulyana, T.; Abd Rahim, E.; Yahaya, S.N.M. The influence of cryogenic supercritical carbon dioxide cooling on tool wear during machining high thermal conductivity steel. J. Clean. Prod. 2017, 164, 950–962. [Google Scholar] [CrossRef]
- Gupta, M.K.; Sood, P.K. Machining comparison of aerospace materials considering minimum quantity cutting fluid: A clean and green approach. Proc. Inst. Mech. Eng. Part C J. Mech. Eng. Sci. 2017, 231, 1445–1464. [Google Scholar] [CrossRef]
- Rubio, E.M.; Agustina, B.; Marín, M.; Bericua, A. Cooling systems based on cold compressed air: A review of the applications in machining processes. Procedia Eng. 2015, 132, 413–418. [Google Scholar] [CrossRef]
- Rodzi, M.N.A.M.; Ghani, J.A.; Eghaail, A.M.; Othman, K.; Rahman, M.N.R.; Haron, C.H.C. Performance of coated carbide tool in green turning of FCD 700 ductile cast iron. In Proceedings of the International Multiconference of Engineers and Computer Scientists (IMECS 2010), Hong Kong, China, 17–19 March 2010. [Google Scholar]
- Singh, R.; Dureja, J.S.; Dogra, M.; Gupta, M.K.; Jamil, M.; Mia, M. Evaluating the sustainability pillars of energy and environment considering carbon emissions under machining ofTi-3Al-2.5 V. Sustain. Energy Technol. Assess. 2020, 42, 100806. [Google Scholar] [CrossRef]
- Singh, J.; Gill, S.S.; Dogra, M.; Singh, R. A Brief Study on Machinability of Aluminium Alloys. In Advances in Engineering Materials; Springer: Singapore, 2021; pp. 579–591. [Google Scholar]
- Singh, J.; Gill, S.S.; Dogra, M.; Singh, R. A review on cutting fluids used in machining processes. Eng. Res. Express 2021, 3, 012002. [Google Scholar] [CrossRef]
- Selek, M.; Tasdemir, S.; Dincer, K.; Baskaya, S. Experimental examination of the cooling performance of Ranque-Hilsch vortex tube on the cutting tool nose point of the turret lathe through infrared thermography method. Int. J. Refrig. 2011, 34, 807–815. [Google Scholar] [CrossRef]
- Ramnath, B.V.; Elanchezhian, C.; Annamalai, R.M.; Aravind, S.; Atreya, T.S.; Vignesh, V.; Subramanian, C. Aluminium metal matrix composites—A review. Rev. Adv. Mater. Sci. 2014, 38, 55–60. [Google Scholar]
- Cagan, S.C.; Venkatesh, B.; Buldum, B.B. A Study on the Development of Aluminum Alloys Using the Mechanical Surface Improvement Method Using the Taguchi Method. In Emerging Trends in Mechanical Engineering; Springer: Singapore, 2020; pp. 315–324. [Google Scholar]
- Jasjeevan, S.; Simranpreet, S.G.; Manu, D.; Rupinder, S. A brief study on machining of aerospace aluminium alloy 7075-t6 using environment friendly cooling/lubrication strategies. In Electrophysical Machining in Modern Industry; elibrary.ru: Moscow, Russia, 2021. [Google Scholar]
- Çakır, A.; Yağmur, S.E.L.Ç.U.K.; Kavak, N.; Küçüktürk, G.Ö.K.H.A.N.; Şeker, U. The effect of minimum quantity lubrication under different parameters in the turning of AA7075 and AA2024 aluminium alloys. Int. J. Adv. Manuf. Technol. 2016, 84, 2515–2521. [Google Scholar] [CrossRef]
- Kray, L.R.; Kane, P.T. Studies on coolant degradation and development of a laboratory test method for predicting soluble oil emulsion oxidation stability. Tribol. Lubr. Technol. 1998, 54, 15. [Google Scholar]
- Jayal, A.D.; Badurdeen, F.; Dillon, O.W., Jr.; Jawahir, I.S. Sustainable manufacturing: Modeling and optimization challenges at the product, process and system levels. CIRP J. Manuf. Sci. Technol. 2010, 2, 144–152. [Google Scholar] [CrossRef]
- Yüksel, S.; Onat, A.Y.H.A.N. Investigation of CNC turning parameters by using a vortex tube cooling system. Acta Phys. Pol. A 2015, 127, 881–885. [Google Scholar] [CrossRef]
- Singh, J.; Gill, S.S.; Dogra, M.; Singh, R.; Singh, M.; Sharma, S.; Singh, G.; Li, C.; Rajkumar, S. State of the art review on the sustainable dry machining of advanced materials for multifaceted engineering applications: Progressive advancements and directions for future prospects. Mater. Res. Express 2022, 9, 6. [Google Scholar] [CrossRef]
- Yeganefar, A.; Niknam, S.A.; Songmene, V. Machinability study of aircraft series aluminium alloys 7075-T6 and 7050-T7451. Trans. Can. Soc. Mech. Eng. 2019, 44, 427–439. [Google Scholar] [CrossRef]
- Nyaboro, J.; Ahmed, M.; El-Hofy, H.; El-Hofy, M. Experimental and numerical investigation of the abrasive waterjet machining of aluminum-7075-T6 for aerospace applications. Adv. Manuf. 2021, 9, 286–303. [Google Scholar] [CrossRef]
- Jamil, M.; Zhao, W.; He, N.; Gupta, M.K.; Sarikaya, M.; Khan, A.M.; Siengchin, S.; Pimenov, D.Y. Sustainable milling of Ti–6Al–4V: A trade-off between energy efficiency, carbon emissions and machining characteristics under MQL and cryogenic environment. J. Clean. Prod. 2021, 281, 125374. [Google Scholar] [CrossRef]
- Vasu, C.; Thaware, A.; Tiwari, G.; Dumpala, R. Experimental and numerical analysis of orthogonal cutting of high strength aluminium alloy Al7075-T6. In IOP Conference Series: Materials Science and Engineering; IOP Publishing: Bristol, UK, 2021; Volume 1185, p. 012010. [Google Scholar]
- Mia, M.; Singh, G.; Gupta, M.K.; Sharma, V.S. Influence of Ranque-Hilsch vortex tube and nitrogen gas assisted MQL in precision turning of Al 6061-T6. Precis. Eng. 2018, 53, 289–299. [Google Scholar] [CrossRef]
- Promvonge, P.; Eiamsa-Ard, S. Investigation on the vortex thermal separation in a vortex tube refrigerator. Sci. Asia 2005, 31, 215–223. [Google Scholar] [CrossRef]
- Mia, M.; Al Bashir, M.; Dhar, N.R. Modeling of principal flank wear: An empirical approach combining the effect of tool, environment and workpiece hardness. J. Inst. Eng. India Ser. C 2016, 97, 517–526. [Google Scholar] [CrossRef]
- Cockerill, T.T. Thermodynamics and Fluid Mechanics of a Ranque-Hilsch Vortex Tube; University of Cambridge: Cambridge, UK, 1998. [Google Scholar]
- Vanan, S.K.T.; Olugu, E.U.; Ang, C.K.; Lawal, S.A.; Aja, O.C. Evaluation of surface grinding of AISI 304 stainless steel using dry and compressed air cooling techniques. SN Appl. Sci. 2021, 3, 1–10. [Google Scholar]
- Reis, D.D.; Abrao, A.M. The machining of aluminium alloy 6351. Proc. Inst. Mech. Eng. Part B J. Eng. Manuf. 2005, 219, 27–33. [Google Scholar] [CrossRef]
- Sun, S.; Brandt, M.; Mo, J.P. Evolution of tool wear and its effect on cutting forces during dry machining of Ti-6Al-4V alloy. Proc. Inst. Mech. Eng. Part B J. Eng. Manuf. 2014, 228, 191–202. [Google Scholar] [CrossRef]
- Sarikaya, M.; Gupta, M.K.; Tomaz, I.; Danish, M.; Mia, M.; Rubaiee, S.; Jamil, M.; Pimenov, D.Y.; Khanna, N. Cooling techniques to improve the machinability and sustainability of light-weight alloys: A state-of-the-art review. J. Manuf. Processes 2021, 62, 179–201. [Google Scholar] [CrossRef]
- Liu, J.; Chou, Y.K. On temperatures and tool wear in machining hypereutectic Al–Si alloys with vortex-tube cooling. Int. J. Mach. Tools Manuf. 2007, 47, 635–645. [Google Scholar] [CrossRef]
- Camposeco-Negrete, C. Optimization of cutting parameters using Response Surface Method for minimizing energy consumption and maximizing cutting quality in turning of AISI 6061 T6 aluminum. J. Clean. Prod. 2015, 91, 109–117. [Google Scholar] [CrossRef]
- Jerold, B.D.; Kumar, M.P. The influence of cryogenic coolants in machining of Ti–6Al–4V. J. Manuf. Sci. Eng. 2013, 135, 031005. [Google Scholar] [CrossRef]
- Ezugwu, E.O. Key improvements in the machining of difficult-to-cut aerospace superalloys. Int. J. Mach. Tools Manuf. 2005, 45, 1353–1367. [Google Scholar] [CrossRef]
- Liu, J.; Chou, Y.K. Vortex-tube cooling for tool wear reduction in A390 dry machining. In Proceedings of the World Tribology Congress, Washington, DC, USA, 12–16 September 2005; Volume 1, pp. 837–838. [Google Scholar] [CrossRef]
- Sikdar, S.K.; Chen, M. Relationship between tool flank wear area and component forces in single point turning. J. Mater. Process 2002, 128, 210–215. [Google Scholar] [CrossRef]
- Sarma, D.K.; Dixit, U.S. A comparison of dry and air-cooled turning of grey cast iron with mixed oxide ceramic tool. J. Mater. Process. Technol. 2007, 190, 160–172. [Google Scholar] [CrossRef]
- Su, Y.; He, N.; Li, L.; Iqbal, A.; Xiao, M.H.; Xu, S.; Qiu, B.G. Refrigerated cooling air cutting of difficult-to-cut materials. Int. J. Mach. Tools Manuf. 2007, 47, 927–933. [Google Scholar] [CrossRef]
- Hua, J.; Shivpuri, R. Prediction of chip morphology and segmentation during the machining of titanium alloys. J. Mater. Proc. Technol. 2004, 150, 124–133. [Google Scholar] [CrossRef]
- Khan, A.M.; Gupta, M.K.; Hegab, H.; Jamil, M.; Mia, M.; He, N.; Song, Q.; Liu, Z.; Pruncu, C.I. Energy-based cost integrated modelling and sustainability assessment of Al-GnP hybrid nanofluid assisted turning of AISI52100 steel. J. Clean. Prod. 2020, 257, 120502. [Google Scholar] [CrossRef]
- Hou, Z.B.; Komanduri, R. Modeling of thermomechanical shear instability in machining. Int. J. Mech. Sci. 1997, 39, 1273–1314. [Google Scholar] [CrossRef]



















| Al Alloy | Vicker’s Hardness | Tensile Strength (MPa) | Yield Strength (MPa) | Elongation % |
|---|---|---|---|---|
| 7075-T6 | 85 | 567.08 | 502.14 | 9.1 |
| Al Alloy | Rake Angle (°) | Clearance Angle (°) | Lead Angle (°) |
|---|---|---|---|
| 7075-T6 | 3 | 27 | 0 |
Publisher’s Note: MDPI stays neutral with regard to jurisdictional claims in published maps and institutional affiliations. |
© 2022 by the authors. Licensee MDPI, Basel, Switzerland. This article is an open access article distributed under the terms and conditions of the Creative Commons Attribution (CC BY) license (https://creativecommons.org/licenses/by/4.0/).
Share and Cite
Singh, J.; Gill, S.S.; Dogra, M.; Sharma, S.; Singh, M.; Dwivedi, S.P.; Li, C.; Singh, S.; Muhammad, S.; Salah, B.; et al. Effect of Ranque-Hilsch Vortex Tube Cooling to Enhance the Surface-Topography and Tool-Wear in Sustainable Turning of Al-5.6Zn-2.5Mg-1.6Cu-0.23Cr-T6 Aerospace Alloy. Materials 2022, 15, 5681. https://doi.org/10.3390/ma15165681
Singh J, Gill SS, Dogra M, Sharma S, Singh M, Dwivedi SP, Li C, Singh S, Muhammad S, Salah B, et al. Effect of Ranque-Hilsch Vortex Tube Cooling to Enhance the Surface-Topography and Tool-Wear in Sustainable Turning of Al-5.6Zn-2.5Mg-1.6Cu-0.23Cr-T6 Aerospace Alloy. Materials. 2022; 15(16):5681. https://doi.org/10.3390/ma15165681
Chicago/Turabian StyleSingh, Jasjeevan, Simranpreet Singh Gill, Manu Dogra, Shubham Sharma, Mandeep Singh, Shashi Prakash Dwivedi, Changhe Li, Sunpreet Singh, Shoaib Muhammad, Bashir Salah, and et al. 2022. "Effect of Ranque-Hilsch Vortex Tube Cooling to Enhance the Surface-Topography and Tool-Wear in Sustainable Turning of Al-5.6Zn-2.5Mg-1.6Cu-0.23Cr-T6 Aerospace Alloy" Materials 15, no. 16: 5681. https://doi.org/10.3390/ma15165681
APA StyleSingh, J., Gill, S. S., Dogra, M., Sharma, S., Singh, M., Dwivedi, S. P., Li, C., Singh, S., Muhammad, S., Salah, B., & Shamseldin, M. A. (2022). Effect of Ranque-Hilsch Vortex Tube Cooling to Enhance the Surface-Topography and Tool-Wear in Sustainable Turning of Al-5.6Zn-2.5Mg-1.6Cu-0.23Cr-T6 Aerospace Alloy. Materials, 15(16), 5681. https://doi.org/10.3390/ma15165681

