Experimental Evaluations on Seismic Performances of Porcelain and GFRP Composite UHV GIS Bushings
Abstract
:1. Introduction
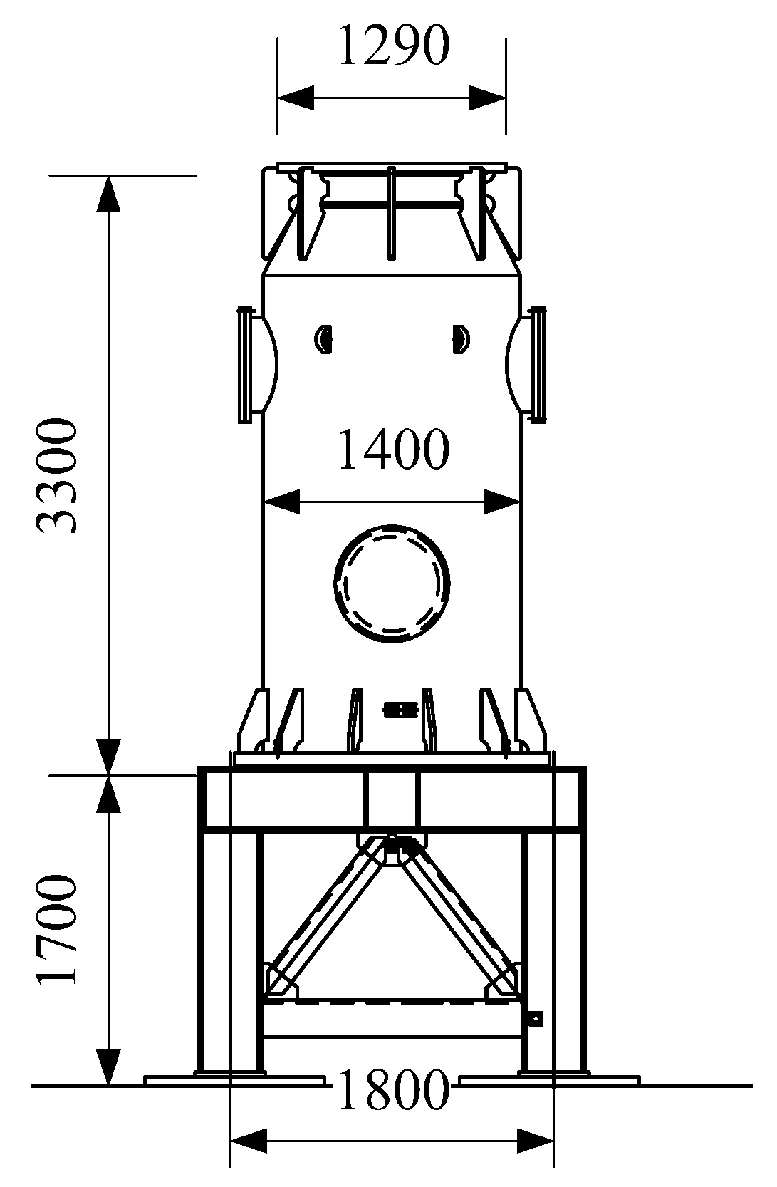
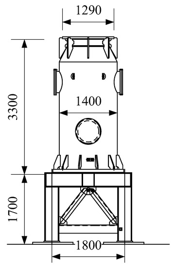
2. Description of Specimens
2.1. UHV GIS Bushings
2.2. Supporting Frame and Bus Canister
3. Test Procedures and Instrumentations
3.1. Seismic Requirements and Earthquake Ground Motion
3.2. Test Procedures
3.3. Test Instrumentations
4. Experimental Result Analyses
4.1. Dynamic Characteristics
4.2. Seismic Performance Evaluations
4.2.1. Strength Evaluation
4.2.2. Dynamic Characteristics Change
4.3. Acceleration and Displacement Responses
5. Conclusions
- The UHV GIS bushings are slender structures. The resonance frequencies of the GFRP composite bushing are lower than those of the porcelain counterpart.
- The damping ratios of the UHV GIS bushings are much less than the recommended value in the corresponding standards. To evaluate the seismic performances of the UHV GIS bushings and in the seismic design of the electrical substation, the lower damping ratios should be adopted.
- Considering the wind loads and inner air pressures, for the porcelain bushing under the earthquake with a PGA of 0.4 g and the GFRP composite bushing with a PGA of 0.5 g, the two UHV GIS bushings all meet the seismic requirements in the corresponding standards. The two UHV GIS bushings can be adopted in the UHV projects in the high-intensity seismic areas.
- The safety factor of the GFRP composite bushing is greater than that of the porcelain counterpart. However, since the elastic modulus of the GFRP composite material is lower, the seismic displacement of the GFRP composite bushing is much greater than that of the porcelain bushing. In the seismic design of the substation, the length of the interconnected conductor should satisfy the seismic displacement of the UHV GIS bushing.
Author Contributions
Funding
Institutional Review Board Statement
Informed Consent Statement
Data Availability Statement
Conflicts of Interest
References
- Fujisaki, E.; Takhirov, S.; Xie, Q.; Mosalam, K.M. Seismic vulnerability of power supply: Lessons learned from recent earthquakes and future horizons of research. In Proceedings of the 9th International Conference on Structural Dynamics (EURODYN 2014), European Association for Structural Dynamics, Porto, Portugal, 30 June–2 July 2014; pp. 345–350. [Google Scholar]
- Shinozuka, M.; Cheng, T.; Feng, M.Q. Seismic Performance Analysis of Electric Power Systems. Research Progress and Accomplishments 1997–1999; University at Buffalo, State University of New York: New York, NY, USA, 1999. [Google Scholar]
- ASCE-TCLEE. Northbridge Earthquake Lifeline Performance and Post-Earthquake Response; American Society of Civil Engineering—Technical Council on Lifeline Earthquake Engineering: New York, NY, USA, 1997. [Google Scholar]
- Mishima, T.; Yokomura, T.; Takahashi, A. Lessons learned from the transformer fire in the Niigata-ken Chuetsu-oki earthquake and actions for solving the problems. Fire Disaster 2008, 58, 5–10. [Google Scholar]
- Xie, Q.; Zhu, R. Damage to electric power grid infrastructure caused by natural disasters in China-earthquake, wind and ice. IEEE Power Energy Mag. 2011, 9, 28–36. [Google Scholar] [CrossRef]
- Johnson, F.; Iliev, K. Earthquake effects on SDG&E’s 500/230kV Imperial Valley Substation. In Proceedings of the IEEE Power and Energy Society General Meeting, San Diego, CA, USA, 22–26 July 2012; pp. 1–2. [Google Scholar]
- Goodno, B.J.; Gould, N.C.; Caldwell, P.; Gould, P.L. Effects of the January 2010 Haitian earthquake on selected electrical equipment. Earthq. Spectra 2011, 27, 251–276. [Google Scholar] [CrossRef]
- Eidinger, J.; Davis, C.; Tang, A.; Kempner, L. M 9.0 Tohoku Earthquake, 11 March 2011, Performance of Water and Power Systems; G&E Eigineering System Incorporated: Oakland, CA, USA, 2012. [Google Scholar]
- You, H.; Zhao, F. M7.0 earthquake in Lushan and damage cause analysis of power facilities. Electr. Power Constr. 2013, 34, 100–104. [Google Scholar]
- He, C.; Wei, M.; Xie, Q.; Jiang, L. Seismic responses of bundled conductor interconnected electrical equipment. Structures 2021, 33, 3107–3121. [Google Scholar] [CrossRef]
- Moustafa, M.A.; Mosalam, K.M. Structural performance of porcelain and polymer post insulators in high voltage electrical switches. J. Perform. Constr. Facil. 2016, 30, 04016002. [Google Scholar] [CrossRef]
- Gilani, A.S.; Whittaker, A.S.; Fenves, G.L.; Fujisaki, E. Seismic Evaluation and Retrofit of 230-kV Porcelain Transformer Bushings; Tech. Rep. PEER 1999/14; Pacific Earthquake Engineering Research Center, University of California: Berkeley, CA, USA, 1999. [Google Scholar]
- Gilani, A.S.; Whittaker, A.S.; Fenves, G.L. Seismic evaluation and retrofit of 230-kV porcelain transformer bushings. Earthq. Spectra 2001, 17, 597–616. [Google Scholar] [CrossRef]
- Gilani, A.S.; Chavez, J.W.; Fenves, G.L.; Whittaker, A.S. Seismic Evaluation of 196 kV Porcelain Transformer Bushings; Tech. Rep. PEER 1998/02; Pacific Earthquake Engineering Research Center, University of California: Berkeley, CA, USA, 1998. [Google Scholar]
- Gilani, A.S.; Whittaker, A.S.; Fenves, G.L.; Fujisaki, E. Seismic Evaluation of 550 kV Porcelain Transformer Bushings; Tech. Rep. PEER 1999/05; Pacific Earthquake Engineering Research Center, University of California: Berkeley, CA, USA, 1999. [Google Scholar]
- Whittaker, A.S.; Fenves, G.L.; Gilani, A.S. Earthquake performance of porcelain transformer bushings. Earthq. Spectra 2004, 20, 205–223. [Google Scholar] [CrossRef]
- Fahad, M. Seismic Evaluation and Qualification of Transformer Bushings. Ph.D. Thesis, State University of New York at Buffalo, Buffalo, NY, USA, 2013. [Google Scholar]
- Qiu, N.; Cheng, Y.; Zhong, M.; Lu, Z.; Zhu, Z.; Lu, X. Progress and Prospect in Seismic Research of 1000 kV UHV AC Electrical Equipment. High Volt. Eng. 2015, 41, 1732–1739. [Google Scholar]
- Günay, S.; Mosalam, K.M. Seismic performance evaluation of high-voltage disconnect switches using real-time hybrid simulation: II. Parametric study. Earthq. Eng. Struct. D 2014, 43, 1223–1237. [Google Scholar] [CrossRef]
- Sun, Y.; Cheng, Y.; Lu, Z.; Lin, S.; Wang, X.; Qiao, Z. Study on earthquake simulation shaking table test of 1100 kV composite external insulation bushing. High Volt. Eng. 2017, 43, 3224–3230. [Google Scholar]
- He, C.; Xie, Q.; Jiang, L.; Jiang, L. Numerical model of large spatial deflections of bundled conductors in electrical substations. Int. J. Mech. Mater. Des 2022, 18, 223–242. [Google Scholar] [CrossRef]
- Filiatrault, A.; Matt, H. Seismic response of high voltage electrical transformer bushing systems. J. Struct. Eng. 2006, 132, 287–295. [Google Scholar] [CrossRef]
- He, C.; Xie, Q.; Jiang, L.; Jiang, L. Seismic terminal displacement of UHV post electrical equipment considering flange rotational stiffness. J. Constr. Steel Res. 2021, 183, 106701. [Google Scholar] [CrossRef]
- State Grid Corporation of China (SGCC). Technical Specification for Seismic Design of Ultra-High Voltage Porcelain Insulating Equipment and Installation/Maintenance to Energy Dissipation Devices; Q/GDW 11132-2013; State Grid Corporation of China (SGCC): Beijing, China, 2014. [Google Scholar]
- Ministry of Housing and Urban-Rural Development of the People’s Republic of China (MOHURD). Evaluation of Seismic Safety for Engineering Sites; GB17741-2005; Ministry of Housing and Urban-Rural Development of the People’s Republic of China (MOHURD): Beijing, China, 2005. [Google Scholar]
- Institute of Electrical and Electronics Engineers (IEEE). IEEE Recommended Practice for Seismic Design of Substations; IEEE Std 693-2018; Institute of Electrical and Electronics Engineers (IEEE): New York, NY, USA, 2018. [Google Scholar]
- International Electrotechnical Commission (IEC). Technical Specification: Bushings–Seismic Qualification; CEI/IEC TS 61463 Std; International Electrotechnical Commission (IEC): Geneva, Switzerland, 2000. [Google Scholar]
- He, C.; Zhang, Y.; Xie, Q.; Yang, Z. Seismic performance of UHV composite post electrical equipment interconnected using a rigid bus with a sliding fitting. Earthq. Spectra 2022, (in press). [Google Scholar] [CrossRef]
- Ministry of Housing and Urban-Rural Development of the People’s Republic of China (MOHURD). Code for Seismic Design of Electrical Installations; GB 50260-2013; Ministry of Housing and Urban-Rural Development of the People’s Republic of China (MOHURD): Beijing, China, 2013. [Google Scholar]














| Test Serial Number | Earthquake Ground Motion | PGA/g | Purpose |
|---|---|---|---|
| WN1 | White noise. | 0.075 | Detecting the dynamic characteristics of the UHV GIS bushings. |
| SYN1~3 | Synthetic time history. | 0.15 | Iterating the control system of the shaking table to minimize the tolerances between the input and output acceleration. |
| WN2 | White noise. | 0.075 | Detecting whether there was any structural damage in the UHV GIS bushings. |
| SYN4 | Synthetic time history. | 0.4/0.5 1 | Seismic performances evaluations. |
| WN3 | White noise. | 0.075 | Detecting whether there was any structural damage in the UHV GIS bushings. |
| Test | Porcelain Bushing | GFRP Composite Bushing | ||
|---|---|---|---|---|
| 1st Frequency | 2nd Frequency | 1st Frequency | 2nd Frequency | |
| WN1 | 3.75 | 14.38 | 2.38 | 12.38 |
| WN2 | 3.75 | 14.38 | 2.38 | 12.38 |
| WN3 | 3.75 | 14.38 | 2.25 | 11.69 |
| Locations | Porcelain Bushing | GFRP Composite Bushing | ||||
|---|---|---|---|---|---|---|
| SYN3 | SYN4 | Decreasing Ratio (%) | SYN3 | SYN4 | Decreasing Ratio (%) | |
| Top of frame | 1.00 | 1.00 | 0 | 1.14 | 1.16 | 1.75 |
| Top of canister | 1.68 | 1.63 | −1.79 | 1.74 | 1.84 | 5.75 |
| Center of gravity | 3.42 | 2.92 | −14.62 | 4.01 | 3.47 | −13.47 |
| Top of bushing | 7.94 | 6.21 | −21.79 | 6.64 | 4.48 | −32.53 |
| Porcelain Bushing | GFRP Composite Bushing | ||
|---|---|---|---|
| SYN3 | SYN4 | SYN3 | SYN4 |
| 16.89 | 44.85 | 40.02 | 122.29 |
Publisher’s Note: MDPI stays neutral with regard to jurisdictional claims in published maps and institutional affiliations. |
© 2022 by the authors. Licensee MDPI, Basel, Switzerland. This article is an open access article distributed under the terms and conditions of the Creative Commons Attribution (CC BY) license (https://creativecommons.org/licenses/by/4.0/).
Share and Cite
He, C.; He, Z.; Xie, Q. Experimental Evaluations on Seismic Performances of Porcelain and GFRP Composite UHV GIS Bushings. Materials 2022, 15, 4035. https://doi.org/10.3390/ma15114035
He C, He Z, Xie Q. Experimental Evaluations on Seismic Performances of Porcelain and GFRP Composite UHV GIS Bushings. Materials. 2022; 15(11):4035. https://doi.org/10.3390/ma15114035
Chicago/Turabian StyleHe, Chang, Ziwei He, and Qiang Xie. 2022. "Experimental Evaluations on Seismic Performances of Porcelain and GFRP Composite UHV GIS Bushings" Materials 15, no. 11: 4035. https://doi.org/10.3390/ma15114035
APA StyleHe, C., He, Z., & Xie, Q. (2022). Experimental Evaluations on Seismic Performances of Porcelain and GFRP Composite UHV GIS Bushings. Materials, 15(11), 4035. https://doi.org/10.3390/ma15114035

