Reversal of Osseointegration as a Novel Perspective for the Removal of Failed Dental Implants: A Review of Five Patented Methods
Abstract
:1. Introduction
2. Five Novel Patented Approaches for Implant Removal
2.1. Principles
- Patent 1 (P1): Device for removing dental implant fixtures (machine translation from the original Korean publication).
- Patent 2 (P2): Device for detachment and explantation of bone implants.
- Patent 3 (P3): Device for destroying a connection between an implant and biological tissue.
- Patent 4 (P4): Device for loosening, insertion, and removal of dental implants.
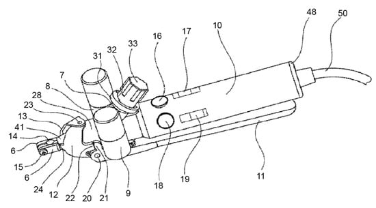
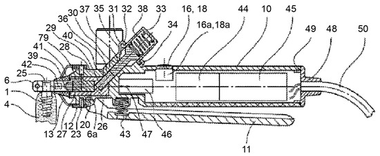
- Patent 5 (P5): Device for the controlled removal of osseointegrated implants and improved dental implants.
2.2. P1 (Lee, Korea)
2.3. P2 (Braegger et al., Switzerland)
2.4. P3 (Schwenk and Striegel, Germany)
2.5. P4 (Petersen and Cattaneo, Denmark)
2.6. P5 (Winnen, Germany)
3. Comparison of the Methods
3.1. Energy Application
3.2. Connection
3.3. Process Control
4. Specific Methodological Challenges
4.1. Challenges Related to Temperature-Focused Approaches
4.2. Challenges Related to the Mechanical Approach
- Snow white plaster No. 2, Kerr.
- A bone-like plastic material (polyurethane foam).
- Fresh bovine tibia bone.
- Hard epoxy-bone cementum (Refobacin®, polymethyl acrylate, and polymethyl methacrylate).
4.3. Challenges Related to Implant Materials (P3)
4.4. Challenges Related to Implant Design (P5)
5. Summary
6. Conclusions
- Loosening the implant–bone connection through the application of energy seems promising.
- Precise control over the processes is necessary to avoid deeper damage.
- Temperature measurement using sensors is insufficient for process control.
- The physical characteristics of the implant are decisive variables.
- Process parameters for different implants can be measured and stored in a database.
- Process control via a database can tailor energy output to a selected implant and minimize trauma to the patient.
- This could allow reversibility of osseointegration.
- Similar methods could be adapted for cementless medical implants.
- Further research in this field will further advance the field of osseodisintegrative methods.
7. Patents
Supplementary Materials
Author Contributions
Funding
Institutional Review Board Statement
Informed Consent Statement
Data Availability Statement
Acknowledgments
Conflicts of Interest
References
- Solderer, A.; Al-Jazrawi, A.; Sahrmann, P.; Jung, R.; Attin, T.; Schmidlin, P.R. Removal of failed dental implants revisited: Questions and answers. Clin. Exp. Dent. Res. 2019, 21, 270. [Google Scholar] [CrossRef] [PubMed] [Green Version]
- Misch, C.E.; Perel, M.L.; Wang, H.-L.; Sammartino, G.; Galindo-Moreno, P.; Trisi, P.; Steigmann, M.; Rebaudi, A.; Palti, A.; Pikos, M.A.; et al. Implant success, survival, and failure: The International Congress of Oral Implantologists (ICOI) Pisa Consensus Conference. Implant Dent. 2008, 17, 5–15. [Google Scholar] [CrossRef] [PubMed] [Green Version]
- Berglundh, T.; Armitage, G.; Araujo, M.G.; Avila-Ortiz, G.; Blanco, J.; Camargo, P.M.; Chen, S.; Cochran, D.; Derks, J.; Figuero, E.; et al. Peri-implant diseases and conditions: Consensus report of workgroup 4 of the 2017 World Workshop on the Classification of Periodontal and Peri-Implant Diseases and Conditions. J. Periodontol. 2018, 89, S313–S318. [Google Scholar] [CrossRef] [PubMed]
- Cosgarea, R.; Sculean, A.; Shibli, J.A.; Salvi, G.E. Prevalence of peri-implant diseases a critical review on the current evidence. Braz. Oral Res. 2019, 33, e063. [Google Scholar] [CrossRef] [PubMed] [Green Version]
- Derks, J.; Tomasi, C. Peri-implant health and disease. A systematic review of current epidemiology. J. Clin. Periodontol. 2015, 42 Suppl 16, S158–S171. [Google Scholar] [CrossRef]
- Katafuchi, M.; Weinstein, B.F.; Leroux, B.G.; Chen, Y.-W.; Daubert, D.M. Restoration contour is a risk indicator for peri-implantitis: A cross-sectional radiographic analysis. J. Clin. Periodontol. 2018, 45, 225–232. [Google Scholar] [CrossRef] [PubMed]
- Roy, M.; Loutan, L.; Garavaglia, G.; Hashim, D. Removal of osseointegrated dental implants: A systematic review of explantation techniques. Clin. Oral Investig. 2019, 24, 47–60. [Google Scholar] [CrossRef] [PubMed]
- Bianchini, M.A.; Galarraga-Vinueza, M.E.; Bedoya, K.A.; Correa, B.B.; de Souza Magini, R.; Schwarz, F. Implantoplasty enhancing peri-implant bone stability over a 3-year follow-up: A case series. Int. J. Periodontics Restorative Dent. 2020, 40, e1–e8. [Google Scholar] [CrossRef] [PubMed]
- Bianchini, M.A.; Galarraga-Vinueza, M.E.; Apaza-Bedoya, K.; de Souza, J.M.; Magini, R.; Schwarz, F. Two to six-year disease resolution and marginal bone stability rates of a modified resective-implantoplasty therapy in 32 peri-implantitis cases. Clin. Implant Dent. Relat. Res. 2019, 21, 758–765. [Google Scholar] [CrossRef]
- John, G.; Sahm, N.; Becker, J.; Schwarz, F. Nonsurgical treatment of peri-implantitis using an air-abrasive device or mechanical debridement and local application of chlorhexidine. Twelve-month follow-up of a prospective, randomized, controlled clinical study. Clin. Oral Investig. 2015, 19, 1807–1814. [Google Scholar] [CrossRef] [PubMed]
- Anitua, E.; Fernandez-de-Retana, S.; Alkhraisat, M.H. Performance of the counter-torque technique in the explantation of nonmobile dental implants. Int. J. Implant Dent. 2020, 6, 1. [Google Scholar] [CrossRef]
- Deeb, G.; Koerich, L.; Whitley, D.; Bencharit, S. Computer-guided implant removal: A clinical report. J. Prosthet. Dent. 2018, 120, 796–800. [Google Scholar] [CrossRef]
- ten Bruggenkate, C.M.; Sutter, F.; van den Berg, J.P.; Oosterbeek, H.S. Explanation procedure with special emphasis on the ITI implant system. Int. J. Oral Maxillofac. Implants 1994, 9, 223–229. [Google Scholar] [PubMed]
- Froum, S.; Yamanaka, T.; Cho, S.-C.; Kelly, R.; St James, S.; Elian, N. Techniques to remove a failed integrated implant. Compend. Contin. Educ. Dent. 2011, 32, 28–30. [Google Scholar]
- Stajčić, Z.; Stojčev Stajčić, L.J.; Kalanović, M.; Đinić, A.; Divekar, N.; Rodić, M. Removal of dental implants: Review of five different techniques. Int. J. Oral Maxillofac. Surg. 2016, 45, 641–648. [Google Scholar] [CrossRef]
- Wang, W.C.; Lagoudis, M.; Yeh, C.-W.; Paranhos, K.S. Management of peri-implantitis A contemporary synopsis. Singapore Dent. J. 2017, 38, 8–16. [Google Scholar] [CrossRef] [PubMed]
- Buser, D.; Belser, U. Esthetic implant failures: Potential causes and techniques for implant removal. Forum. Implantologicum. 2015, 11, 86–95. [Google Scholar]
- Cecoro, G.; Annunziata, M.; Iuorio, M.T.; Nastri, L.; Guida, L. Periodontitis, Low-Grade Inflammation and Systemic Health: A Scoping Review. Medicina 2020, 56, 272. [Google Scholar] [CrossRef] [PubMed]
- D’Aiuto, F.; Gable, D.; Syed, Z.; Allen, Y.; Wanyonyi, K.L.; White, S.; Gallagher, J.E. Evidence summary: The relationship between oral diseases and diabetes. Br. Dent. J. 2017, 222, 944–948. [Google Scholar] [CrossRef] [PubMed] [Green Version]
- Genco, R.J.; Sanz, M. Clinical and public health implications of periodontal and systemic diseases: An overview. Periodontology 2020, 83, 7–13. [Google Scholar] [CrossRef] [PubMed]
- Beck, J.D.; Papapanou, P.N.; Philips, K.H.; Offenbacher, S. Periodontal Medicine: 100 Years of Progress. J. Dent. Res. 2019, 98, 1053–1062. [Google Scholar] [CrossRef] [PubMed]
- Chaushu, L.; Tal, H.; Sculean, A.; Fernández-Tomé, B.; Chaushu, G. Peri-implant disease affects systemic complete blood count values-an experimental in vivo study. Clin. Oral Investig. 2020, 24, 4531–4539. [Google Scholar] [CrossRef] [PubMed]
- Ustaoğlu, G.; Erdal, E. Relationship between risk markers for cardiovascular disease and peri-implant diseases. Int. J. Implant Dent. 2020, 6, 73. [Google Scholar] [CrossRef]
- Chaushu, L.; Tal, H.; Sculean, A.; Fernández-Tomé, B.; Chaushu, G. Effects of peri-implant infection on serum biochemical analysis. J. Periodontol. 2021, 92, 436–445. [Google Scholar] [CrossRef] [PubMed]
- Radaelli, K.; Alberti, A.; Corbella, S.; Francetti, L. The Impact of Peri-Implantitis on Systemic Diseases and Conditions: A Review of the Literature. Int. J. Dent. 2021, 2021, 5536566. [Google Scholar] [CrossRef] [PubMed]
- Papi, P.; Di Murro, B.; Pranno, N.; Bisogni, V.; Saracino, V.; Letizia, C.; Polimeni, A.; Pompa, G. Prevalence of peri-implant diseases among an Italian population of patients with metabolic syndrome: A cross-sectional study. J. Periodontol. 2019, 90, 1374–1382. [Google Scholar] [CrossRef] [PubMed]
- Monje, A.; Catena, A.; Borgnakke, W.S. Association between diabetes mellitus/hyperglycaemia and peri-implant diseases: Systematic review and meta-analysis. J. Clin. Periodontol. 2017, 44, 636–648. [Google Scholar] [CrossRef]
- de Oliveira, P.G.F.P.; Bonfante, E.A.; Bergamo, E.T.P.; de Souza, S.L.S.; Riella, L.; Torroni, A.; Benalcazar Jalkh, E.B.; Witek, L.; Lopez, C.D.; Zambuzzi, W.F.; et al. Obesity/Metabolic Syndrome and Diabetes Mellitus on Peri-implantitis. Trends Endocrinol. Metab. 2020, 31, 596–610. [Google Scholar] [CrossRef]
- Anitua, E.; Orive, G. A new approach for atraumatic implant explantation and immediate implant installation. Oral Surg. Oral Med. Oral Pathol. Oral Radiol. 2012, 113, e19–e25. [Google Scholar] [CrossRef] [PubMed]
- Anitua, E.; Murias-Freijo, A.; Alkhraisat, M.H. Conservative implant removal for the analysis of the cause, removal torque, and surface treatment of Failed Nonmobile Dental Implants. J. Oral Implantol. 2016, 42, 69–77. [Google Scholar] [CrossRef] [PubMed]
- Anitua, E. A new approach for treating peri-implantitis: Reversibility of osseointegration. Dent. Today 2016, 35, 130–131. [Google Scholar] [PubMed]
- Braegger, U.; Gigandet, M.; Vizek, J.; Hegnauer, U. Device for Detachment and Explantation of Bone Implants. U.S. Patent US20130071813A1, 21 March 2013. [Google Scholar]
- Balaji, S.M. Textbook of Oral & Maxillofacial Surgery; Elsevier India: Chennai, India, 2018; ISBN 9788131248744. [Google Scholar]
- Tonetti, M.S. Risk factors for osseodisintegration. Periodontology 1998, 17, 55–62. [Google Scholar] [CrossRef]
- Eriksson, A.; Albrektsson, T.; Grane, B.; McQueen, D. Thermal injury to bone. A vital-microscopic description of heat effects. Int. J. Oral Surg. 1982, 11, 115–121. [Google Scholar] [CrossRef]
- Eriksson, R.A.; Albrektsson, T.; Magnusson, B. Assessment of bone viability after heat trauma. A histological, histochemical and vital microscopic study in the rabbit. Scand. J. Plast. Reconstr. Surg. 1984, 18, 261–268. [Google Scholar] [CrossRef] [PubMed]
- Li, S.; Chien, S.; Brånemark, P.I. Heat shock-induced necrosis and apoptosis in osteoblasts. J. Orthop. Res. 1999, 17, 891–899. [Google Scholar] [CrossRef] [PubMed]
- Kniha, K.; Heussen, N.; Weber, E.; Möhlhenrich, S.C.; Hölzle, F.; Modabber, A. Temperature Threshold Values of Bone Necrosis for Thermo-Explantation of Dental Implants-A Systematic Review on Preclinical In Vivo Research. Materials 2020, 13, 3461. [Google Scholar] [CrossRef]
- Goetz, J.E.; Robinson, D.A.; Pedersen, D.R.; Conzemius, M.G.; Brown, T.D. Cryoinsult parameter effects on the histologically apparent volume of experimentally induced osteonecrotic lesions. J. Orthop. Res. 2011, 29, 931–937. [Google Scholar] [CrossRef] [Green Version]
- Kniha, K.; Buhl, E.M.; Hermanns-Sachweh, B.; Al-Sibai, F.; Bock, A.; Peters, F.; Hölzle, F.; Modabber, A. Implant removal using thermal necrosis-an in vitro pilot study. Clin. Oral Investig. 2021, 25, 265–273. [Google Scholar] [CrossRef] [PubMed]
- Petersen, J.Ø.; Cattaneo, P.M. US Device for Loosening, Insertion and Removal of Dental Implants. U.S. Patent 11184292.8, 4 September 2014. [Google Scholar]
- Smith, L.P.; Rose, T. Laser explantation of a failing endosseous dental implant. Aust. Dent. J. 2010, 55, 219–222. [Google Scholar] [CrossRef] [PubMed]
- Hajji, M.; Franzen, R.; Grümer, S.; Modabber, A.; Nasher, R.; Prescher, A.; Gutknecht, N. Removal of dental implants using the Erbium,Chromium:Yttrium-Scandium-Gallium-Garnet laser and the conventional trephine bur: An in vitro comparative study. Photomed. Laser Surg. 2016, 34, 61–67. [Google Scholar] [CrossRef] [PubMed]
- Cunliffe, J.; Barclay, C. Removal of a dental implant: An unusual case report. J Dent Implant 2011, 1, 22. [Google Scholar] [CrossRef]
- Massei, G.; Szmukler-Moncler, S. Thermo-explantation. A novel approach to remove osseointegrated implants. Eur. Cells Mater. 2004, 7, 48. [Google Scholar]
- Worni, A.; Marchand, L.; Sailer, I.; Cornish, D.; Hicklin, S.P. Explantation of an osseointegrated titanium implant using laser-induced thermo-necrosis: A case report. Int. J. Oral Maxillofac. Implants 2018, 33, e151–e155. [Google Scholar] [CrossRef]
- European Patent Office. Guidelines for Examination in the European Patent Office; European Patent Office: Munich Germany, 2010. [Google Scholar]
- Lee, J.S. A Device for Removing Dental Implant Fixture, English Machine Translation Long. Patent KR101016177B1, 24 February 2011. [Google Scholar]
- Schwenk, T.; Striegel, M. WO Device for Destroying a Connection between an Implant and Biological Tissue. U.S. Patent 2012/093044, 12 July 2012. [Google Scholar]
- Winnen, R.G. WO Device for the Controlled Removal of Osseointegrated Implants and Improved Osseodisintegratable Implants. Patent WO 2015/025042, 26 February 2015. [Google Scholar]
- Lee, J.S. A Device for Removing Dental Implant Fixture, Korean Original. Patent KR20090001556A, 8 January 2009. [Google Scholar]
- Donath, K. Die Trenn-Dünnschliff-Technik zur Herstellung histologischer Präparate von nicht schneidbaren Geweben und Materialien. Der. Präparator. 1988, 34, 197–206. [Google Scholar]
- Winnen, R.G. US Device for the Controlled Removal of Osseointegrated Implants and Improved Osseodisintegratable Implants. U.S. Patent 10,136,935, 7 March 2019. [Google Scholar]
- Cunliffe, J. Continued Use of Heating Failed Dental Implants with Electrosurgical Probe for Implant Removal as An Experimental Method; Manchester Dental Hospital: Manchester, UK, 2017. [Google Scholar]
- Gungormus, M.; Erbasar, G.N.H. Transient heat transfer in dental implants for thermal necrosis-aided implant removal: A 3D finite element analysis. J. Oral Implantol. 2019, 45, 196–201. [Google Scholar] [CrossRef]
- Park, S.-J.; Kang, S.-H. Removal of Dental Implants using Electrocautery: A Preliminary Report. kaomi 2019, 23, 196–204. [Google Scholar] [CrossRef]
- Arias, S.R.; Rueggeberg, F.A.; Mettenburg, D.; Sharawy, M.; Looney, S.; Elsayed, R.; Elsalanty, M.E. Heat generation during removal of an abutment screw fragment from dental implants. J. Prosthet. Dent. 2018, 119, 620–625. [Google Scholar] [CrossRef]
- Al-Johany, S.S.; Al Amri, M.D.; Alsaeed, S.; Alalola, B. Dental Implant Length and Diameter: A Proposed Classification Scheme. J. Prosthodont. 2017, 26, 252–260. [Google Scholar] [CrossRef]
- Sasada, Y.; Cochran, D.L. Implant-Abutment Connections: A Review of Biologic Consequences and Peri-implantitis Implications. Int. J. Oral Maxillofac. Implants 2017, 32, 1296–1307. [Google Scholar] [CrossRef] [Green Version]
- Cortada, M.; Giner, L.; Costa, S.; Gil, F.J.; Rodríguez, D.; Planell, J.A. Metallic ion release in artificial saliva of titanium oral implants coupled with different metal superstructures. Biomed. Mater. Eng. 1997, 7, 213–220. [Google Scholar] [CrossRef]
- Duffo, G.; Barreiro, M.; Olmedo, D.; Crosa, M.; Guglielmotti, M.B.; Cabrini, R.L. An experimental model to study implant corrosion. Acta Odontol. Latinoam. 1999, 12, 3–10. [Google Scholar] [PubMed]
- Foti, B.; Tavitian, P.; Tosello, A.; Bonfil, J.J.; Franquin, J.C. Polymetallism and osseointegration in oral implantology: Pilot study on primate. J. Oral Rehabil. 1999, 26, 495–502. [Google Scholar] [CrossRef] [PubMed]
- Iimuro, F.T.; Yoneyama, T.; Okuno, O. Corrosion of coupled metals in a dental magnetic attachment system. Dent. Mater. J. 1993, 12, 136–144. [Google Scholar] [CrossRef] [PubMed]
- Reclaru, L.; Meyer, J.M. Study of corrosion between a titanium implant and dental alloys. J. Dent. 1994, 22, 159–168. [Google Scholar] [CrossRef]
- Chockattu, S.J.; Suryakant, D.B.; Thakur, S. Unwanted effects due to interactions between dental materials and magnetic resonance imaging: A review of the literature. Restor. Dent. Endod. 2018, 43, 4. [Google Scholar] [CrossRef]
- Winnen, R.G. EP Device for the Controlled Removal of Osseointegrated Implants and Improved Osseodisintegratable Implants. Patent EP 2839806, 25 February 2015. [Google Scholar]
- Kniha, K.; Hölzle, F.; Al-Sibai, F.; Jörg, J.; Kneer, R.; Modabber, A. Heat analysis of different devices for thermo-explantation of dental implants: A numeric analysis and preclinical in-vitro model. J. Oral Implantol. 2020. [Google Scholar] [CrossRef] [PubMed]







| No. | Device Characteristics | P1 (Lee) | P2 (Braegger et al.) | P3 (Schwenk and Striegel) | P4 (Peterson and Cattaneo) | P5 (Winnen) |
|---|---|---|---|---|---|---|
| Energy application | ||||||
| 1 | Heating | + | + optional | + | + (unintended) | + |
| 2 | Cooling | − | + | − | − | + (optional) |
| 3 | Vibration | − | + | + optional | + | − |
| Connection | ||||||
| 4 | Handpiece | + | + | + | + | + |
| 5 | Connecting device | + | + | + | + | + |
| 6 | Coronal access | + | + | + optional | + | + |
| Process control | ||||||
| 7 | Sensor(s) | + | + | + | + (mechanical) | +(optional) |
| 8 | Controller | + | + | + | + | + |
| 9 | Processor | + | + (mechanical) | + | + | + |
| 10 | Database | − | − | − | + (“control box“) | + |
| 11 | Input | + | − | − | − | + |
| 12 | Alarm | + | − | − | − | − |
Publisher’s Note: MDPI stays neutral with regard to jurisdictional claims in published maps and institutional affiliations. |
© 2021 by the authors. Licensee MDPI, Basel, Switzerland. This article is an open access article distributed under the terms and conditions of the Creative Commons Attribution (CC BY) license (https://creativecommons.org/licenses/by/4.0/).
Share and Cite
Winnen, R.G.; Kniha, K.; Modabber, A.; Al-Sibai, F.; Braun, A.; Kneer, R.; Hölzle, F. Reversal of Osseointegration as a Novel Perspective for the Removal of Failed Dental Implants: A Review of Five Patented Methods. Materials 2021, 14, 7829. https://doi.org/10.3390/ma14247829
Winnen RG, Kniha K, Modabber A, Al-Sibai F, Braun A, Kneer R, Hölzle F. Reversal of Osseointegration as a Novel Perspective for the Removal of Failed Dental Implants: A Review of Five Patented Methods. Materials. 2021; 14(24):7829. https://doi.org/10.3390/ma14247829
Chicago/Turabian StyleWinnen, Rolf G., Kristian Kniha, Ali Modabber, Faruk Al-Sibai, Andreas Braun, Reinhold Kneer, and Frank Hölzle. 2021. "Reversal of Osseointegration as a Novel Perspective for the Removal of Failed Dental Implants: A Review of Five Patented Methods" Materials 14, no. 24: 7829. https://doi.org/10.3390/ma14247829
APA StyleWinnen, R. G., Kniha, K., Modabber, A., Al-Sibai, F., Braun, A., Kneer, R., & Hölzle, F. (2021). Reversal of Osseointegration as a Novel Perspective for the Removal of Failed Dental Implants: A Review of Five Patented Methods. Materials, 14(24), 7829. https://doi.org/10.3390/ma14247829

