Characteristic Features of Ultrafine-Grained Ti-45 wt.% Nb Alloy under High Cycle Fatigue
Abstract
1. Introduction
2. Materials and Methods
3. Results and Discussion
3.1. Microstructure of CG and UFG Ti-45Nb Alloy Samples
3.2. Gigacycle Loading of the Ti-45Nb Alloy
Investigation of Fatigue Strength Using the Rizitano–Loung Method
3.3. Temperature Field Evolution in Ti-45Nb
3.4. Fractal Analysis of the Fracture Surface
4. Conclusions
- The dependence of the UFG Ti-45Nb alloy on fatigue limit was determined in different cyclic loading regimes. It was proved that the formation of the UFG Ti-45Nb alloy samples by multidirectional forging (abc–forging) and further rolling resulted in increasing the fatigue limit in the gigacycle regime up to 295 MPa, which is 1.5 times more compared to the CG sample (fatigue limit—195 MPa).
- The fatigue limit under multi-cyclic loading for the Ti-45Nb alloy samples was estimated by applying the Rizitano–Loung method. The fatigue limit for the CG alloy sample was 180 MPa, while it was 235 MPa for the UFG sample.
- During the cyclic loading, the longitudinal size of the heat source at a given temperature increases, and the rate of growth of the longitudinal size of the heat source for the alloy in the UFG state is higher than for the CG alloy samples.
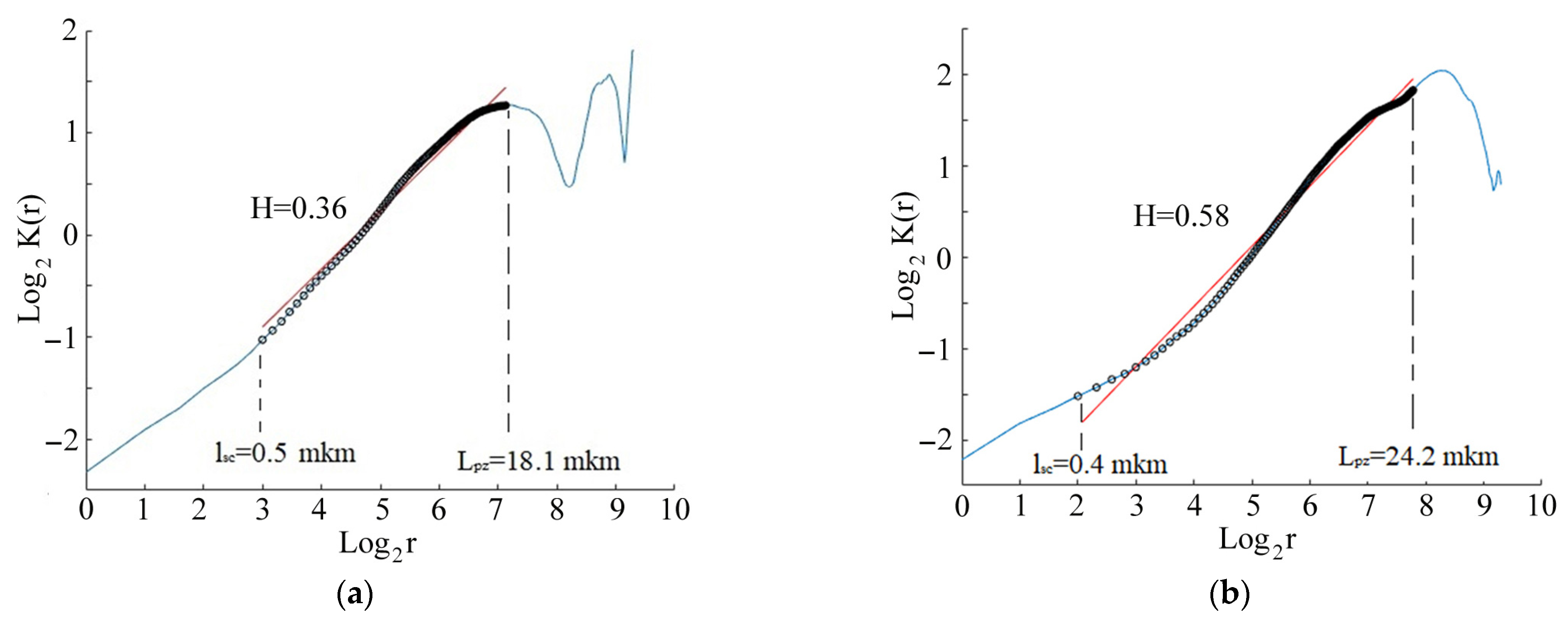
- Characteristic deformation zones were revealed in the UFG Ti-45Nb alloys that were subjected to cyclic loading. Scale invariance (the Hurst exponent) and their related scales, indicating fatigue damage development, were determined. This made it possible to reveal the initiation and propagation of cracks on the surface-damage area in the gigacycle fatigue regime. Both the critical scale lsc and area of defect structure Lpz in the crack initiation zone of the CG sample increased, while the Hurst exponent remained constant within the range of (1.1–32.9) µm of the scale parameters. A significant decrease of the spatial-scale interval was revealed in the crack propagation zone, where the Hurst exponent (H = 0.57) remained constant within the range of (0.9–17.1) µm. The UFG sample demonstrated a significant decrease in the spatial scale range, where the Hurst exponent remained constant in the two zones, i.e., in the interval of 0.4–24.2 µm.
Author Contributions
Funding
Institutional Review Board Statement
Informed Consent Statement
Acknowledgments
Conflicts of Interest
References
- Niinomi, M.; Nakai, M. Titanium-Based Biomaterials for Preventing Stress Shielding between Implant Devices and Bone. Int. J. Biomater. 2011, 2011, 836587. [Google Scholar] [CrossRef]
- Chen, Q.; Thouas, G.A. Metallic implant biomaterials. Mater. Sci. Eng. R Rep. 2015, 87, 1–57. [Google Scholar] [CrossRef]
- Zhang, L.C.; Chen, L.Y. A review on biomedical titanium alloys: Recent progress and prospect. Adv. Eng. Mater. 2019, 21, 1801215. [Google Scholar] [CrossRef]
- Geetha, M.; Singh, A.K.; Asokamani, R.; Gogia, A.K. Ti-based biomaterials, the ultimate choice for orthopedic implants—A review. Prog. Mater. Sci. 2009, 54, 397–425. [Google Scholar] [CrossRef]
- Niinomi, M.; Liu, Y.; Nakai, M.; Liu, H.; Li, H. Biomedical titanium alloys with Young’s moduli close to that cortical bone. Regen. Biomater. 2016, 3, 173–185. [Google Scholar] [CrossRef]
- Niinomi, M. Recent metallic materials for biomedical applications. Metall. Mater. Trans. A 2002, 33, 477–486. [Google Scholar] [CrossRef]
- Ozaki, T.; Matsumoto, H.; Watanabe, S.; Hanada, S. Beta Ti alloys with low Young’s modulus. Mater. Transac. Tomomichi. 2004, 45, 2776–2779. [Google Scholar] [CrossRef]
- Helth, A.; Gostin, P.F.; Oswald, S.; Wendrock, H.; Wolff, U.; Hempel, U.; Arnhold, S.; Calin, M.; Eckert, J.; Gebert, A. Chemical nanoroughening of Ti40Nb surfaces and its effect on human mesenchymal stromal cell response. J. Biomed. Mater. Res. Part B 2014, 102, 31–41. [Google Scholar] [CrossRef] [PubMed]
- Bonisch, M.; Calin, M.; Humbeeck, J.; Skrotzki, W.; Eckert, J. Factors influencing the elastic moduli, reversible strains and hysteresis loops in martensitic Ti–Nb alloys. Mater. Sci. Eng. C 2015, 48, 511–520. [Google Scholar] [CrossRef]
- Guo, S.; Zhang, J.; Cheng, X.; Zhao, X. A metastable β-type Ti-Nb binery alloy with low modulus and high strength. J. Alloys Compd. 2015, 644, 411–415. [Google Scholar] [CrossRef]
- Helth, S.; Pilz, T.; Kirsten, L.; Giebeler, J.; Freudenberger, M.; Calin, J.; Eckert, A. Gebert, Effect of thermomechanical processing on the mechanical biofunctionality of a low modulus Ti-40Nb alloy. J. Mech. Behav. Biomed. Mater. 2017, 65, 137–150. [Google Scholar] [CrossRef] [PubMed]
- Patel, D.; Kim, S.-H.; Qiu, W.; Maeda, M.; Matsumoto, A.; Nishijima, G.; Kumakura, H.; Choi, S.; Kim, J.H. Niobium-titanium (Nb-Ti) superconducting joints for persistent-mode operation. Sci. Rep. 2019, 9, 14287. [Google Scholar] [CrossRef]
- Valiev, R.Z.; Zhilyaev, A.P.; Langdon, T.G. Bulk Nanostructured Materials: Fundamentals and Applications; John Wiley & Sons: Hoboken, NJ, USA, 2014. [Google Scholar]
- Höppel, H.W.; Prell, M.; May, L.; Göken, M. Influence of grain size and precipitates on the fatigue lives and deformation mechanisms in the VHCF-regime. Procedia Eng. 2010, 2, 1025–1034. [Google Scholar] [CrossRef]
- Khatibi, G.; Horky, J.; Weiss, B.; Zehetbauer, M.J. High cycle fatigue behavior of cooper deformed by high pressure torsion. Int. J. Fatigue 2010, 32, 269–278. [Google Scholar] [CrossRef]
- Mughrabi, H.; Hoppel, H.W. Cyclic deformation and fatigue properties of very fine-grained metals and alloys. Int. J. Fatigue 2010, 32, 1413–1427. [Google Scholar] [CrossRef]
- Sakai, T.; Nakawaga, A.; Oguma, N.; Nakamura, Y.; Ueno, A.; Kikuchi, S.; Sakaida, A. A review on fatigue fracture modes of structural metallic materials in very high cycle regime. Int. J. Fatigue 2016, 93, 339–351. [Google Scholar] [CrossRef]
- Bathias, C.; Paris, P.C. Gigacycle Fatigue in Mechanical Practice; CRC Press: New York, NY, USA, 2004. [Google Scholar]
- Shanyavskiy, A.A. Mechanisms and modeling of subsurface fatigue cracking in metals. Eng. Fract. Mech. 2013, 110, 350–363. [Google Scholar] [CrossRef]
- Klevtsov, G.V.; Valiev, Z.R.; Semenova, I.P.; Klevtsova, N.A.; Danilov, V.A.; Linderov, M.L.; Zasypkin, S.V. Influence of Ultrafine-Grained Structure on the Kinetics and Fatigue Failure Mechanism of VT6 Titanium Alloy. Russ. J. Non-Ferr. Met. 2019, 60, 253–258. [Google Scholar] [CrossRef]
- Okazaki, Y. Comparison of fatigue properties and fatigue crack growth rates of various implantable metals. Materials 2012, 5, 2981–3005. [Google Scholar] [CrossRef]
- Akahori, T.; Niinomi, M.; Otani, M.; Toda, H.; Fukui, H.; Ogawa, M. Notch fatigue properties of a Ti-29Nb-13Ta-4.6Zr alloy for biomedical applications. J. Jpn. Inst. Light. Metals 2005, 55, 575–581. [Google Scholar] [CrossRef][Green Version]
- Delshadmanesh, T.M.; Khatibi, G.; Ghomsheh, M.Z.; Lederer, M.; Zehetbauer, M.; Danninger, H. Influence of microstructure on fatigue of biocompatible β-phase Ti-45Nb. Mater. Sci. Eng. A 2017, 706, 83–94. [Google Scholar] [CrossRef]
- Reck, A.; Pilz, S.; Calin, M.; Gebert, A.; Zimmermann, M.M. Fatigue properties of a new generation β-type Ti-Nb alloy for osteosynthesis with an industrial standard surface condition. Int. J. Fatigue 2017, 103, 147–156. [Google Scholar] [CrossRef]
- Reck, A.; Pilz, S.; Kuczyk, M.; Gebert, A.; Zimmermann, M.M. Cyclic deformation characteristics of the metastable β-type Ti–40Nb alloy. Mater. Sci. Eng. A 2019, 761, 137966. [Google Scholar] [CrossRef]
- Luong, M.P. Infrared thermographics scanning of fatigue in metals. Nucl. Eng. Des. 1995, 158, 363–376. [Google Scholar] [CrossRef]
- La Rosa, G.; Risitano, A. Thermographic methodology for rapid determination of the fatigue limit of materials and mechanical components. Int. J. Fatigue 2000, 22, 65–73. [Google Scholar] [CrossRef]
- Meneghetti, G.; Ricotta, M. Evaluating the heat energy dissipated in a small volume surrounding the tip of a fatigue crack. Int. J. Fatigue 2016, 92, 605–615. [Google Scholar] [CrossRef]
- Moyseychik, E.A.; Vavilov, V.P.; Kuimova, M.V. Infrared Thermographic Testing of Steel Structures by Using the Phenomenon of Heat Release Caused by Deformation. J. Nondestr. Eval. 2018, 37, 28. [Google Scholar] [CrossRef]
- Plekhov, O.; Naimark, O.; Valiev, R.; Semenova, I.; Saintier, N.; Palin-Luc, T. Experimental investigations of anomalous energy absorption in nanocrystalline titanium under cyclic loading conditions. Tech. Phys. Lett. 2008, 34, 557–560. [Google Scholar] [CrossRef]
- Vedernikova, A.; Vshikov, A.; Iziumova, A.; Plekov, O. Strength assessment of a titanium alloys under tensile tests based on the analysis of heat sources. Procedia Struct. Integr. 2019, 18, 639–644. [Google Scholar] [CrossRef]
- Sharkeev, Y.P.; Vavilov, V.P.; Skripnyak, V.A.; Legostaeva, E.V.; Belyavskaya, O.A.; Kuznetsov, V.P.; Chulkov, A.O.; Kozulin, A.A.; Skripnyak, V.V.; Eroshenko, A.Y.; et al. Infrared Thermography and Generation of Heat under Deformation of Bioinert Titanium- and Zirconium-Based Alloys. Russ. J. Nondestruct. Test. 2019, 55, 533–541. [Google Scholar] [CrossRef]
- Naimark, O.B.; Sharkeev, Y.P.; Mairambekova, A.M.; Bannikov, M.V.; Eroshenko, A.Y.; Vedernikova, A.I. Failure mechanisms of titanium VT1-0 and zirconium alloy E110 in ultrafine-grained, fine-grained and coarse-grained states under cyclic loading in gigacycle regime. Lett. Mater. 2018, 8, 317–322. [Google Scholar] [CrossRef]
- Cantrell, J.H.; Yost, W.T. Nonlinear ultrasonic characterization of fatigue microstructures. Int. J. Fatigue 2001, 23, 487–490. [Google Scholar] [CrossRef]
- Kumar, A.; Torbet, C.J.; Pollock, T.M.; Wayne Jones, J. In situ characterization of fatigue damage evolution in a cast Al alloy via nonlinear ultrasonic measurements. Acta Mater. 2010, 58, 2143–2154. [Google Scholar] [CrossRef]
- Kumar, A.; Adharapurapu, R.R.; Jones, J.W.; Pollock, T.M. In situ damage assessment in a cast magnesium alloy during very high cycle fatigue. Scr. Mater. 2011, 64, 65–68. [Google Scholar] [CrossRef]
- Yang, Y.; Ng, C.T.; Kotousov, A.; Sohn, H.; Lim, H.J. Second harmonic generation at fatigue cracks by low-frequency Lamb waves: Experimental and numerical studies. Mech. Syst. Signal. Process. 2018, 99, 760–773. [Google Scholar] [CrossRef]
- Su, Z.; Zhou, C.; Hong, M.; Cheng, L.; Wang, Q.; Qing, X. Acousto-ultrasonics-based fatigue damage characterization: Linear versus nonlinear signal features. Mech. Syst. Signal. Process. 2014, 45, 225–239. [Google Scholar] [CrossRef]
- Mughrabi, H. Microstructural mechanisms of cyclic deformation, fatigue crack initiation and early crack growth. Philos. Trans. R. Soc. A 2015, 373, 20140132. [Google Scholar] [CrossRef]
- Sakai, T. Review and Prospects for Current Studies on High Cycle Fatigue of Metallic Materials for Machine Structural Use. J. Solid Mech. Mater. Eng. 2009, 3, 425–439. [Google Scholar] [CrossRef]
- Hurst, H.E. Long-term storage capacity ofreservoirs. Trans. Am. Soc. Civ. Eng. 1951, 116, 770–808. [Google Scholar] [CrossRef]
- Eroshenko, A.Y.; Sharkeev, Y.P.; Glukhov, I.A.; Uvarkin, P.V.; Mairambekova, A.M.; Tolmachev, A.I. The influence of dimensions and phase state of structural elements on mechanical properties of binary alloys of the Ti-Nb and Zr-Nb systems. Russ. Phys. J. 2019, 61, 1899–1907. [Google Scholar] [CrossRef]
- Sarkeev, Y.; Vavilov, V.; Skripnyak, V.A.; Belyavskaya, O.; Legostaeva, E.; Kozulin, A.; Sorokoletov, A.; Skripnyak, V.V.; Eroshenko, A.; Kuimova, M. Analyzing the deformation and fracture of bioinert titanium, zirconium and niobium alloys in different structural states by the use of infrared thermography. Metals 2018, 8, 703. [Google Scholar] [CrossRef]
- Eroshenko, A.Y.; Sharkeev, Y.P.; Khimich, M.A.; Glukhov, I.A.; Uvarkin, P.V.; Tolmachev, A.I.; Mairambekova, A.M. Microstructure of ultrafine-grained Ti-40wt.%Nb alloy after annealing. Lett. Mater. 2020, 10, 54–59. [Google Scholar] [CrossRef]
- ASTM E1382−97. Standard Test Methods for Determining Average Grain Size Using Semiautomatic and Automatic Image Analysis. 2015. Available online: https://standards.globalspec.com/std/3860456/astm-e1382-97-2015 (accessed on 1 October 2015).
- Naimark, O.; Palin-Luc, T. Gigacycle fatigue: Non-local and scaling aspects of damage localization, crack initiation and propagation. Procedia Struct. Integr. 2016, 2, 1143–1148. [Google Scholar] [CrossRef][Green Version]
- Bouchaud, E. Scaling properties of cracks. J. Phys. Condens. Matter. 1997, 9, 4319–4344. [Google Scholar] [CrossRef]
- Bannikov, M.V.; Naimark, O.B.; Oborin, V.A. Experimental investigation of crack initiation and propagation in high- and gigacycle fatigue in titanium alloys by study of morphology of fracture. Frat. Integrita Struttrale 2016, 35, 50–56. [Google Scholar] [CrossRef]
- Oborin, V.A.; Bannikov, M.V.; Naimark, O.B.; Palin-Luc, T. Scaling invariance of fatigue crack growth in gigacycle loading regime cracks. Tech. Phys. Lett. 2010, 36, 1061–1063. [Google Scholar] [CrossRef]
- Bannikov, M.V.; Oborin, V.A.; Bilalov, D.A.; Naimark, O.B. A kinetic equation for fatigue crack initiation and growth in the very high cycle range based on fractography and nonlinear dynamics. In Mechanics, Resource and Diagnostics of Materials and Structures (MRDMS-2020), Proceedings of the XIV International Conference on Mechanics, Resource and Diagnostics of Materials and Structures, Yekaterinburg, Russia, 9–13 November 2020; AIP Publishing: College Park, MD, USA, 2020; Volume 2315, p. 40005. [Google Scholar] [CrossRef]
- Brodova, I.G.; Shirinkina, I.G.; Petrova, A.N.; Antonova, O.V.; Pilyugin, V.P. Evolution of the Structure of V95 Aluminum Alloy upon High Pressure Torsion. Phys. Met. Metalloved. 2011, 111, 630–638. [Google Scholar] [CrossRef]
- Nazarov, A.A. Nonequilibrium grain boundaries in bulk nanostructured metals and their recovery under the influences of heating and cyclic deformation. Rev. Lett. Mater. 2018, 8, 372–381. [Google Scholar] [CrossRef]
- Naimark, O.; Bannikov, M. Non-linear kinetics of damage accumulation and anomalies in the elastic properties of metals at very high cycle loading. Lett. Mater. 2015, 5, 497–503. [Google Scholar] [CrossRef][Green Version]
- Naimark, O.B. Some regularities of scaling in plasticity, fracture, and turbulence. Phys. Mesomech. 2016, 19, 307–318. [Google Scholar] [CrossRef]





















| Element Content, wt.% | |||||
|---|---|---|---|---|---|
| Ti | Nb | Cr | Fe | C | W |
| 55.3 | 44.3 | ≤0.1 | ≤0.06 | ≤0.05 | ≤0.1 |
| Alloy Structure State | σ0.2, MPa | σB, MPa | ε, % | E, GPa | dcp, µm |
|---|---|---|---|---|---|
| CG | 360 ± 10 | 630 ± 10 | 16.0 | 50 | 45.0 ± 15.0 |
| UFG | 620 ± 10 | 1150 ± 10 | 5.5 | 59 | 0.2 ± 0.1 |
| Stress Amplitude σ, MPa | Number of Cycles, N | Zone | Hurst Exponent, H | Critical Scales lsc, μm | Critical Scales Lpz, μm |
|---|---|---|---|---|---|
| CG state | |||||
| 205 | 5.6 × 108 | 1 | 0.69 ± 0.01 | 1.1 ± 0.4 | 32.9 ± 3.4 |
| 2 | 0.57 ± 0.02 | 0.9 ± 0.5 | 17.1 ± 2.4 | ||
| UFG state | |||||
| 295 | 2.4 × 108 | 1 | 0.36 ± 0.02 | 0.5 ± 0.2 | 18.1 ± 2.4 |
| 2 | 0.58 ± 0.04 | 0.4 ± 0.1 | 24.2 ± 2.7 | ||
Publisher’s Note: MDPI stays neutral with regard to jurisdictional claims in published maps and institutional affiliations. |
© 2021 by the authors. Licensee MDPI, Basel, Switzerland. This article is an open access article distributed under the terms and conditions of the Creative Commons Attribution (CC BY) license (https://creativecommons.org/licenses/by/4.0/).
Share and Cite
Mairambekova, A.M.; Eroshenko, A.Y.; Oborin, V.A.; Bannikov, M.V.; Chebodaeva, V.V.; Terekhina, A.I.; Naimark, O.B.; Dmitriev, A.I.; Sharkeev, Y.P. Characteristic Features of Ultrafine-Grained Ti-45 wt.% Nb Alloy under High Cycle Fatigue. Materials 2021, 14, 5365. https://doi.org/10.3390/ma14185365
Mairambekova AM, Eroshenko AY, Oborin VA, Bannikov MV, Chebodaeva VV, Terekhina AI, Naimark OB, Dmitriev AI, Sharkeev YP. Characteristic Features of Ultrafine-Grained Ti-45 wt.% Nb Alloy under High Cycle Fatigue. Materials. 2021; 14(18):5365. https://doi.org/10.3390/ma14185365
Chicago/Turabian StyleMairambekova, Aikol M., Anna Y. Eroshenko, Vladimir A. Oborin, Mikhail V. Bannikov, Valentina V. Chebodaeva, Alena I. Terekhina, Oleg B. Naimark, Andrey I. Dmitriev, and Yurii P. Sharkeev. 2021. "Characteristic Features of Ultrafine-Grained Ti-45 wt.% Nb Alloy under High Cycle Fatigue" Materials 14, no. 18: 5365. https://doi.org/10.3390/ma14185365
APA StyleMairambekova, A. M., Eroshenko, A. Y., Oborin, V. A., Bannikov, M. V., Chebodaeva, V. V., Terekhina, A. I., Naimark, O. B., Dmitriev, A. I., & Sharkeev, Y. P. (2021). Characteristic Features of Ultrafine-Grained Ti-45 wt.% Nb Alloy under High Cycle Fatigue. Materials, 14(18), 5365. https://doi.org/10.3390/ma14185365

