Next Article in Journal
Assessment of the Technological Quality of X5CRNI18-10 Steel Parts after Laser and Abrasive Water Jet Cutting Using Synthetic Index of Technological Quality
Next Article in Special Issue
Manganese and Aluminium Recovery from Ferromanganese Slag and Al White Dross by a High Temperature Smelting-Reduction Process
Previous Article in Journal
Irradiance-Controlled Photoassisted Synthesis of Sub-Nanometre Sized Ruthenium Nanoparticles as Co-Catalyst for TiO2 in Photocatalytic Reactions
Previous Article in Special Issue
Interdiffusion and Intermetallic Compounds at Al/Cu Interfaces in Al-50vol.%Cu Composite Prepared by Solid-State Sintering
 
 
Font Type:
Arial Georgia Verdana
Font Size:
Aa Aa Aa
Line Spacing:
Column Width:
Background:
Article

Metallothermic Reduction of MoO3 on Combustion Synthesis of Molybdenum Silicides/MgAl2O4 Composites

Department of Aerospace and Systems Engineering, Feng Chia University, Taichung 40724, Taiwan
*
Author to whom correspondence should be addressed.
Materials 2021, 14(17), 4800; https://doi.org/10.3390/ma14174800
Submission received: 2 August 2021 / Revised: 21 August 2021 / Accepted: 23 August 2021 / Published: 24 August 2021
(This article belongs to the Special Issue Advances in Materials Processing (Second Volume))

Abstract

:
Combustion synthesis involving metallothermic reduction of MoO3 by dual reductants, Mg and Al, to enhance the reaction exothermicity was applied for the in situ production of Mo3Si–, Mo5Si3− and MoSi2–MgAl2O4 composites with a broad compositional range. Reduction of MoO3 by Mg and Al is highly exothermic and produces MgO and Al2O3 as precursors of MgAl2O4. Molybdenum silicides are synthesized from the reactions of Si with both reduced and elemental Mo. Experimental evidence indicated that the reaction proceeded as self-propagating high-temperature synthesis (SHS) and the increase in silicide content weakened the exothermicity of the overall reaction, and therefore, lowered combustion front temperature and velocity. The XRD analysis indicated that Mo3Si–, Mo5Si3– and MoSi2–MgAl2O4 composites were well produced with only trivial amounts of secondary silicides. Based on SEM and EDS examinations, the morphology of synthesized composites exhibited dense and connecting MgAl2O4 crystals and micro-sized silicide particles, which were distributed over or embedded in the large MgAl2O4 crystals.

1. Introduction

Molybdenum silicides, Mo3Si, Mo5Si3 and MoSi2, are promising intermetallic materials for ultrahigh-temperature structural applications. Besides a high melting point over 2020 °C, they possess high strength, excellent oxidation resistance, corrosion resistance, creep resistance and good compatibility with ceramic reinforcements [1,2,3,4,5,6,7,8]. To improve the refractory property of transition metal silicides, magnesium aluminate spinel (MgAl2O4) has been one of the potential additives, because of its unique combination of properties, including a high melting point (2135 °C), relatively low density, chemical inertness, high hardness, high mechanical strength and good thermal shock resistance [9,10,11,12]. However, preparation of MgAl2O4 via either wet chemical methods or solid-state reactions required several complicated steps under the long processing time [9,10,11,12].
As an alternative, metallothermic reduction reactions (MRRs) of metal oxides with Mg and Al as reducing agents produce MgO and Al2O3 as precursors for the formation of MgAl2O4 and such oxidation reactions are highly exothermic [13,14]. When combining Mg/Al-based MRRs with combustion synthesis, such a fabrication route is effective in producing MgAl2O4-containing composites. Moreover, the highly-exothermic MRRs render reduction-based combustion synthesis fit for self-propagating high-temperature synthesis (SHS). Many merits such as high energy efficiency, short reaction time, simplicity of operation and high-purity products have been recognized for the SHS process [15,16,17]. According to Horvitz and Gotman [18], reduction-based combustion synthesis using 2TiO2–Mg–4Al samples was performed to produce TiAl–Ti3Al–MgAl2O4 composites. Omran et al. [19] conducted co-reduction of WO3 and B2O3 by Mg in the presence of Al2O3 to fabricate the composites of MgAl2O4–W–W2B. By means of adopting pre-added MgO, Zaki et al. [20] obtained MgAl2O4 composites with MoSi2 and Mo5Si3 from co-reduction of SiO2 and MoO3 by Al in argon at a pressure of 5 MPa. The high Ar pressure was to suppress the volatilization of MoO3. Recently, Radishevskaya et al. [21] synthesized MgAl2O4 by the SHS method using the reactant mixtures consisting of MgO and Al2O3, along with Al as the fuel, Mg(NO3)2⋅H2O as the oxidizer, and NaCl as the mineralizer. Results indicated that NaCl of 1 wt.% contributed to the completion of the formation of MgAl2O4 and mechanical activation of the green mixture for 60 s facilitated the production of MgAl2O4 without oxide impurities.
By using Mg and Al simultaneously as dual reductants, this work aims at investigating the in situ production of MgAl2O4-containing molybdenum silicide (Mo3Si, Mo5Si3, and MoSi2) composites by the SHS process with reducing stages. That is, a solid-state combustion reaction involves the synthesis of MgAl2O4 from the metallothermic reduction of MoO3 and the formation of molybdenum silicides from elemental interactions between Mo and Si. Three different silicide phases were produced and their influence on reaction exothermicity and combustion wave kinetics was explored. Compositional and microstructural analyses were performed on the final composites. Moreover, some products were selected for Vickers hardness and fracture toughness measurements.

2. Materials and Methods

The raw materials utilized by this study include MoO3 (Acros Organics, 99.5%), Mg (Alfa Aesar, <45 μm, 99.8%), Al (Showa Chemical Co., <45 μm, 99.9%), Mo (Strem Chemicals, <45 μm, 99.9%), Si (Strem Chemicals, <45 μm, 99.5%), and Al2O3 (Alfa Aesar, 99%). According to different molybdenum silicides, three reaction systems, R(1), R(2), and R(3), are formulated for the synthesis of Mo3Si–, Mo5Si3–, and MoSi2–MgAl2O4 composites, respectively.
4 3 M o O 3 + M g + 2 A l + ( 3 x 4 3 ) M o + x S i x M o 3 S i + M g A l 2 O 4
4 3 M o O 3 + M g + 2 A l + ( 5 y 4 3 ) M o + 3 y S i y M o 5 S i 3 + M g A l 2 O 4
13 12 M o O 3 + M g + 3 2 A l + 1 4 A l 2 O 3 + ( z 13 12 ) M o + 2 z S i z M o S i 2 + M g A l 2 O 4
where stoichiometric coefficients x, y, and z are associated with the quantities of Mo and Si powders in the green mixtures, and also represent the molar proportion of silicide phase to MgAl2O4. The same composition of metallothermic reagents of 4/3MoO3 + Mg + 2Al is adopted in R(1) and R(2), but R(3) has a different metallothermic mixture of 13/12MoO3 + Mg + 3/2Al because R(3) comprises pre-added Al2O3. Because of metallothermic reduction of MoO3, the source of Mo for the formation of molybdenum silicides (Mo3Si, Mo5Si3, and MoSi2) from R(1), R(2), and R(3) included both reduced and elemental Mo.
It has been realized that magnesiothermic and aluminothermic reductions of MoO3 are highly exothermic and have an adiabatic temperature (Tad) exceeding 4200 K [22], which plays an important role in facilitating self-sustaining combustion for R(1), R(2) and R(3). When compared with the reduction of MoO3 by Mg and Al, the formation reactions of Mo3Si, Mo5Si3 and MoSi2 are much less energetic. Among three molybdenum silicides, MoSi2 is the most exothermic phase to form [23], and therefore, Al2O3 at one-quarter of the required amount was added in the starting mixture to regulate the degree of violence of combustion.
Experimental ranges of x, y, and z conducted in this study were determined based on the reaction exothermicity of R(1), R(2) and R(3), which was assessed by computing Tad as a function of stoichiometric coefficients according to the following energy balance equation [24,25] with thermochemical data taken from [23].
Δ H r + 298 T a d   n j C p ( P j ) d T + 298 T a d n j L ( P j ) = 0
where ΔHr is the enthalpy of reaction at 298 K, nj is the stoichiometric coefficient, Cp and L are the specific heat and latent heat, respectively, and Pj refers to the product.
The value of ΔHr was calculated from the difference in enthalpy of formation (ΔHf) between the reactants (ΔHf of MoO3: −745 kJ/mol, Al2O3: –1675.7 kJ/mol, and Mg, Al, Mo, and Si: 0 kJ/mol) and products (ΔHf of Mo3Si: −118.4 kJ/mol, Mo5Si3: −310.6 kJ/mol, MoSi2: −131.4 kJ/mol, and MgAl2O4: −2299.1 kJ/mol) [23]. The values of Cp of the products as a function of temperature are expressed as follows [23].
C p ( M o 3 S i ) = 85.23 + 22.68 × 10 3 × T + 0.03 × 10 6 × T 2   ( J · mol 1 · K 1 )
C p ( M o 5 S i 3 ) = 183.36 + 35.01 × 10 3 × T 1.2 × 10 6 × T 2   ( J · mol 1 · K 1 )
C p ( M o S i 2 ) = 67.84 + 11.95 × 10 3 × T 0.66 × 10 6 × T 2   ( J · mol 1 · K 1 )
C p ( M g A l 2 O 4 ) = 146.78 + 35.56 × 10 3 × T 3.68 × 10 6 × T 2   ( J · mol 1 · K 1 )
The SHS experiment was performed in a windowed combustion chamber filled with high-purity argon (99.99%) at 0.2 MPa. Reactant powders were dry mixed and then were uniaxially pressed to form cylindrical test specimens with 12 mm in height, 7 mm in diameter, and 55% in the relative density. In this work, a cylindrical bottle partially filled with the raw materials and alumina (Al2O3) grinding balls rotated about the longitudinal axis of a tumbler ball mill machine for 8 h to fully blend the reactant powders. The size of the alumina ball is 5 mm in diameter. The ball mill operated at 90 rpm. Because Al2O3 is one of the precursors to form MgAl2O4, no contamination from grinding balls was detected.
The combustion wave propagation velocity (Vf) was determined from the time series of recorded combustion videos. The combustion temperature was measured by a 125 μm bead-sized thermocouple with an alloy composition of Pt/Pt–13%Rh. Details of the experimental setup were previously reported [25,26]. Phase components of the synthesized products were identified by an X-ray diffractometer with CuKα radiation (Bruker D2 Phaser, Billerica, MA, USA). Analyses of scanning electron microscopy (SEM) (Hitachi S3000H, Tokyo, Japan) and energy dispersive spectroscopy (EDS) were performed to examine the fracture surface microstructure and composition ratio of elements of the final products.
Measurement of Vickers hardness and fracture toughness of the products was performed [27]. For such measurements, only selected experiments under stoichiometric coefficients of x = y = z = 2 were carried out by placing the sample compact in a stainless-steel mold. Densification of the product was conducted by a hydraulic compressor. Upon the completion of the SHS reaction, the burned sample was rapidly pressed when the product was still hot and plastic, which was held for about 15 s. The product density after compression reached about 93–95% of theoretical density and then the product surface was polished for the measurement. Microhardness was measured with a Buehler Micromet microhardness tester at a load of 1000 g and a dwelling time of 10 s. Five indentations were made to obtain the average values of the indentation imprint and crack length measurements.
In this study, Vickers hardness (Hv) was calculated from the applied load (P) and the average diagonal impression length (d) in the equation below [28,29]. The fracture toughness (KIC) was determined by the indentation method using the following equation proposed by Evans and Charles [29].
H v = 1.8544 P d 2
K I C = 0.16 H v a 1 / 2 ( c a ) 3 / 2
where a is the half of the average length of two diagonals of the indentation and c the radial crack length measured from the center of the indentation.

3. Results and Discussion

3.1. Combustion Exothermicity of Reactions

Calculated values of Tad of R(1), R(2) and R(3) as a function of their respective stoichiometric coefficients are presented in Figure 1 in order to evaluate combustion exothermicity. A significant decrease in Tad with increasing silicide content is observed for all three synthesis reactions, mainly because the formation of molybdenum silicides is much less exothermic than the metallothermic reduction of MoO3. As revealed in Figure 1, the value of Tad associated with the formation of Mo3Si–MgAl2O4 composites from R(1) decreases considerably from 3964 °C to 2415 °C as the coefficient x increases from 1 to 5. On account of a large heat capacity for Mo5Si3, R(2) is the weakest exothermic reaction and shows a decrease in Tad from 3475 °C at y = 1 to 2162 °C at y = 5. In spite of the dilution effect of pre-added Al2O3 on combustion, R(3) intended for the synthesis of MoSi2–MgAl2O4 composites is still very energetic with Tad ranging from 3840 °C to 2745 °C. Figure 1 indicates that R(3) has the highest Tad except for the case of z = 1. According to the analysis of combustion exothermicity, R(1) and R(3) were conducted in this study with the experimental variables of x = 2–5 and z = 2–5, respectively, and R(2) with y = 1–4 was carried out. Reactions with x = 1 and z = 1 were avoided, since the resulting combustion was often violent enough to melt down the powder compact and led to incomplete phase conversion.

3.2. Combustion Wave Velocity and Temperature

A typical sequence of recorded combustion images from R(1) with x = 3 is illustrated in Figure 2, showing a stable and self-sustaining combustion process. A distinct combustion front allowed the propagation velocity to be determined. Variations of combustion wave velocities of R(1), R(2) and R(3) with the molar ratio of silicide to MgAl2O4 are presented in Figure 3. A declining trend consistent with the adiabatic combustion temperature was observed. This can be explained by the fact that the combustion wave propagation rate is essentially governed by layer-by-layer heat transfer from the thin combustion zone to the unreacted region, and therefore, is subject to the reaction front temperature. Specifically, Figure 3 points out a decrease in Vf from 5.9 to 2.9 mm/s for R(1) with x from 2 to 5. For the similar range of stoichiometry of z = 2–5, R(3) has a faster combustion wave with Vf ranging from 6.7 to 4.3 mm/s. On the other hand, the combustion front of R(2) has a slower speed and its Vf decreases from 5.9 mm/s at y = 1 to 2.7 mm/s at y = 4.
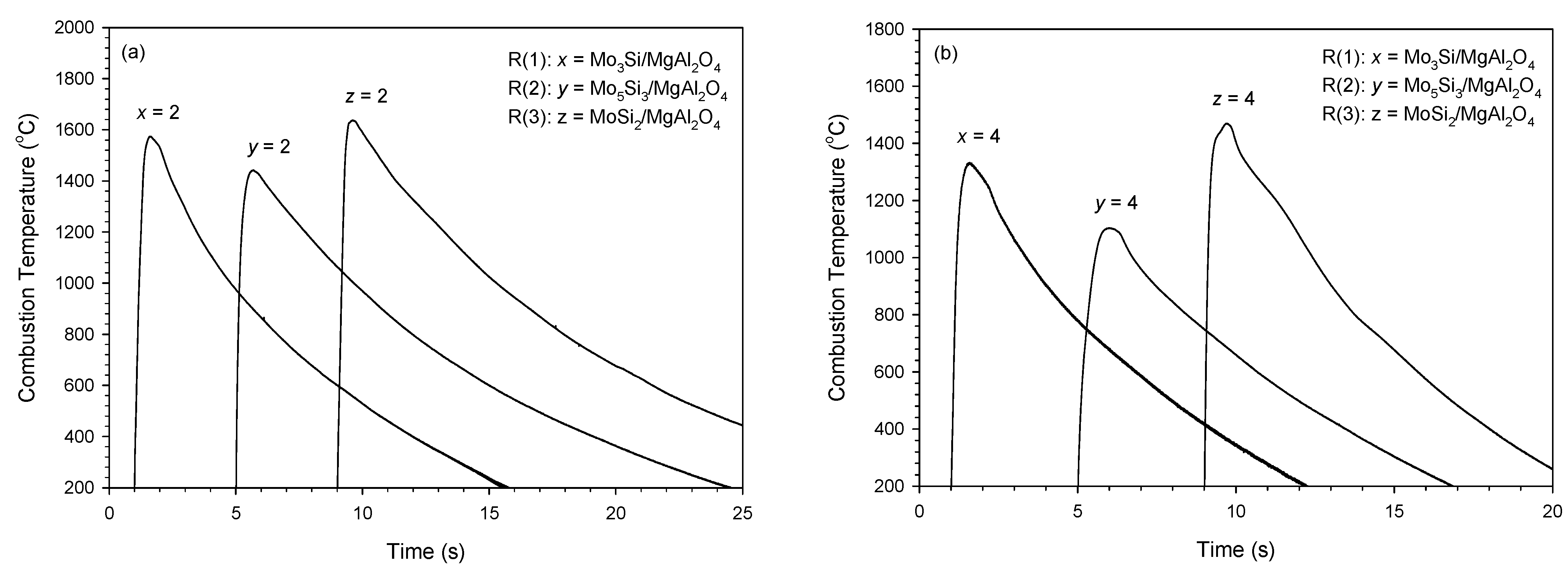
Figure 4a,b depict combustion temperature profiles measured from R(1), R(2) and R(3) under equal stoichiometric coefficients of 2 and 4, respectively. A steep rising gradient followed by a rapid cooling rate is characteristic of the temperature profile of the SHS reaction. The highest value is considered as the combustion front temperature (Tc). A comparison of Tc among three synthesis reactions in Figure 4a indicates that R(3) has the highest Tc of 1637 °C (z = 2), R(2) has the lowest 1442 °C (y = 2), and R(1) is in-between at 1574 °C (x = 2). A similar ranking of Tc can be seen in Figure 4b, which is associated with the synthesis of composites with a molar ratio silicide/MgAl2O4 equal to 4. When compared with Tc shown in Figure 4a, lower values of Tc = 1330 °C, 1103 °C and 1470 °C are observed in Figure 4b for R(1), R(2) and R(3), respectively. This confirms the decrease in reaction exothermicity with an increasing fraction of silicide formed in the composite.

3.3. Composition and Microstructure Analyses of SHS-Derived Products

The XRD spectrum graphs of final products synthesized from R(1) with x = 2 and 4 are plotted in Figure 5a,b, respectively. Besides MgAl2O4, two silicide compounds were detected with Mo3Si the dominant and Mo5Si3 the minor. Because of the presence of Mo5Si3, there was a small amount of elemental Mo left in the end product. It should be noted that the production of MgAl2O4 justifies a combination reaction between in situ formed Al2O3 and MgO from the metallothermic reduction of MoO3 by dual reductants. Phase constituents associated with the products of R(2) are identified in Figure 6a,b, indicative of the Mo5Si3–MgAl2O4 composites with a trivial amount of Mo3Si. Because Mo5Si3 has a homogeneity range from 37.5 to 40 at% Si [20], no remnant Si was found in the Mo5Si3–MgAl2O4 products even containing some Mo3Si.
Figure 7a,b shows the XRD spectra of the MoSi2–MgAl2O4 composites produced from R(3) with z = 2 and 4, respectively. It should be pointed out that MoSi2 formed from R(3) is α-MoSi2 (the low-temperature phase). This was due to the fact that the reaction temperature of R(3) was below 1900 °C [22], the phase transition temperature from α-MoSi2 to the high-temperature phase of β-MoSi2. As revealed in Figure 7a,b, there are small amounts of Mo5Si3 and Si in the as-synthesized MoSi2–MgAl2O4 composites.
When compared with the work of Zaki et al. [20], MgAl2O4 composites with MoSi2 and Mo5Si3 were produced from MoO3, SiO2, Al and MgO powder mixtures by self-sustaining combustion. They indicated the presence of small amounts of Mo5Si3, Al2SiO5 and free Si in the synthesized MgAl2O4–MoSi2 composites. The impurity Al2SiO5 was formed via a combination reaction of Al2O3 with SiO2. Moreover, the increase in MgO led to the formation of the other impurity Mg2SiO4 which was produced from the reaction between MgO and SiO2. Therefore, it is believed that the formation of Al2SiO5 and Mg2SiO4 could be due to incomplete reduction of SiO2, since these two phases were not found in the products of the present study. On the other hand, Zaki et al. [20] obtained MgAl2O4–Mo5Si3 composites without impurities and secondary silicides, on account of a larger heat release from combustion and a lesser amount of SiO2 contained in the sample.
In the work of Radishevskaya et al. [21], MgO and Al2O3 were added into a combustible mixture composed of Al, Mg(NO3)2⋅H2O and NaCl to produce MgAl2O4 through the SHS scheme. Results showed that the pre-added MgO and Al2O3 failed to be fully combined into MgAl2O4 unless mechanical activation of initial components in a planetary mill was conducted. In contrast, MgO and Al2O3 were not detected in the final composites of R(1), R(2) and R(3). This could be because these two precursors of MgAl2O4 were in situ produced from metallothermic reduction reactions in the present study.
For the Mo3Si–MgAl2O4 composite of R(1) with x = 3 illustrated in Figure 8, the SEM image shows the fracture surface microstructure and EDS spectra provide the atomic ratios of constitution elements. The micrograph exhibits that MgAl2O4 crystals are dense and continuous and small Mo3Si grains tend to agglomerate into clusters. Moreover, the atomic ratios of Mo:Si = 76.16:23.84 and Mg:Al:O = 14.83:26.49:58.68 are close to those of Mo3Si and MgAl2O4.
The microstructure of the Mo5Si3–MgAl2O4 composite of R(2) with y = 3 in Figure 9 also reveals agglomeration of small Mo5Si3 grains with a particle size of about 2–4 μm. Most of the large MgAl2O4 crystals are covered with Mo5Si3 grains. The atomic ratios of Mo:Si = 61.64:38.36 and Mg:Al:O = 13.61:28.36:58.03 confirm the formation of Mo5Si3 and MgAl2O4. A similar morphology can be seen in Figure 10, unveiling the MoSi2–MgAl2O4 composite of R(3) with z = 3. It is evident that MgAl2O4 crystals are dense and relatively large. Small MoSi2 grains are distributed over or embedded in MgAl2O4 crystals. Atomic ratios of Mo:Si = 32.98:67.02 and Mg:Al:O = 13.85:28.86:57.29 were obtained from the EDS analysis.
Selected test conditions (x = y = z = 2) were conducted to prepare product samples for the measurement of hardness and fracture toughness. For the composite of 2Mo3Si–MgAl2O4 produced from R(1), Vickers hardness of Hv = 1.41 × 104 MPa and fracture toughness of KIC = 3.3 MPa m1/2 were determined. Values of Hv = 1.42 × 104 MPa and KIC = 3.1 MPa m1/2 were obtained for 2Mo5Si3–MgAl2O4 synthesized from R(2). For the product of 2MoSi2–MgAl2O4 from R(3), Hv = 1.48 × 104 MPa and KIC = 2.8 MPa m1/2 were determined. The error of hardness values was estimated as about ±10% and the error of fracture toughness values was within ±20%. The uncertainty of KIC determination using the indentation fracture method could result from the residual stresses induced by specimen densification, the existence of pores or cracks, surface finish, and possible inhomogeneous microstructure. Compared with monolithic Mo3Si, Mo5Si3, and MoSi2 (Hv ≈ 1.3 × 104 MPa and KIC = 2~3 MPa m1/2) [7,30,31], MgAl2O4 as an additive improved the hardness and toughness of molybdenum silicides.

4. Conclusions

The in situ fabrication of Mo3Si–, Mo5Si3– and MoSi2–MgAl2O4 composites was investigated by the SHS process integrating metallothermic reduction of MoO3 with combustion synthesis. Mg and Al were simultaneously used as dual reductants to produce MgO and Al2O3 as precursors of MgAl2O4. Molybdenum silicides were synthesized from the elemental reactions between Mo and Si. Experimental results showed that the formation of MoSi2–MgAl2O4 composites was the most exothermic and characterized by the highest combustion front temperature and fastest combustion velocity, while that of Mo5Si3–MgAl2O4 composites was the least. Composites with molar ratios of Mo3Si/MgAl2O4 from 2 to 5, Mo5Si3/MgAl2O4 from 1 to 4, and MoSi2/MgAl2O4 from 2 to 5 were synthesized. An increase in silicide content brought about a decrease in reaction exothermicity because the formation of molybdenum silicides was much less exothermic than the metallothermic reduction of MoO3. Based on the XRD patterns, phase conversion from the reactants to products was essentially completed except for trivial amounts of secondary silicide and Mo or Si present in the end products. SEM and EDS analyses revealed that MgAl2O4 formed large connecting grains with a dense morphology. Granular Mo3Si, Mo5Si3 and MoSi2 were relatively small and were distributed over or embedded in MgAl2O4 crystals. Hardness and fracture toughness of molybdenum silicides were improved by adding MgAl2O4. This study demonstrated an effective fabrication route adopting dual reductants to increase combustion exothermicity for the in situ production of Mo3Si–, Mo5Si3– and MoSi2–MgAl2O4 composites with a broad compositional range.

Author Contributions

Conceptualization, C.-L.Y.; methodology, C.-L.Y. and M.-C.C.; validation, C.-L.Y. and M.-C.C.; formal analysis, C.-L.Y. and M.-C.C.; investigation, C.-L.Y. and M.-C.C.; resources, C.-L.Y.; data curation, C.-L.Y. and M.-C.C.; writing–original draft preparation, C.-L.Y. and M.-C.C.; writing–review and editing, C.-L.Y.; supervision, C.-L.Y.; project administration, C.-L.Y.; funding acquisition, C.-L.Y. Both authors have read and agreed to the published version of the manuscript.

Funding

This research work was funded by the Ministry of Science and Technology of Taiwan under the grant of MOST 110-2221-E-035-042-MY2.

Institutional Review Board Statement

Not applicable.

Informed Consent Statement

Not applicable.

Data Availability Statement

Data presented in this study are available in the article.

Conflicts of Interest

The authors declare no conflict of interest.

References

  1. Zhang, L.; Tong, Z.; He, R.; Xie, C.; Bai, X.; Yang, Y.; Fang, D. Key issues of MoSi2-UHTC ceramics for ultra high temperature heating element applications: Mechanical, electrical, oxidation and thermal shock behaviors. J. Alloys Compd. 2019, 780, 156–163. [Google Scholar] [CrossRef]
  2. Tong, Z.; He, R.; Cheng, T.; Zhang, K.; Dai, D.; Yang, Y.; Fang, D. High temperature oxidation behavior of ZrB2–SiC added MoSi2 ceramics. Ceram. Int. 2018, 44, 21076–21082. [Google Scholar] [CrossRef]
  3. Wang, L.; Fu, Q.; Zhao, F. Improving oxidation resistance of MoSi2 coating by reinforced with Al2O3 whiskers. Intermetallics 2018, 94, 106–113. [Google Scholar] [CrossRef]
  4. Liu, C.; Li, M.; Shen, Q.; Chen, H. Preparation and tribological properties of modified MoS2/SiC/Epoxy composites. Materials 2021, 14, 1731. [Google Scholar] [CrossRef]
  5. Zhuo, G.; Su, L.; Jiang, K.; Yang, J. Effect of spraying power on oxidation resistance of MoSi2-ZrB2 coating for Nb-Si based alloy prepared by atmospheric plasma. Materials 2020, 13, 5060. [Google Scholar] [CrossRef]
  6. Pan, Y.; Wang, P.; Zhang, C.M. Structure, mechanical, electronic and thermodynamic properties of Mo5Si3 from first-principles calculations. Ceram. Int. 2018, 44, 12357–12362. [Google Scholar] [CrossRef]
  7. Chen, H.; Ma, Q.; Shao, X.; Ma, J.; Wang, C.; Huang, B. Microstructure, mechanical properties and oxidation resistance of Mo5Si3–Al2O3 composites. Mater. Sci. Eng. A 2014, 592, 12–18. [Google Scholar] [CrossRef]
  8. Abbasi, A.R.; Shamanian, M. Synthesis of α-Mo–Mo5SiB2–Mo3Si nanocomposite powders by two-step mechanical alloying and subsequent heat treatment. J. Alloys Compd. 2011, 509, 8097–8104. [Google Scholar] [CrossRef]
  9. Ganesh, I. A review on magnesium aluminate (MgAl2O4) spinel: Synthesis, processing and applications. Int. Mater. Rev. 2013, 58, 63–112. [Google Scholar] [CrossRef]
  10. Mouyane, M.; Jaber, B.; Bendjemil, B.; Bernard, J.; Houivet, D.; Noudem, J.G. Sintering behavior of magnesium aluminate spinel MgAl2O4 synthesized by different methods. Int. J. Appl. Ceram. Technol. 2019, 16, 1138–1149. [Google Scholar] [CrossRef]
  11. Padmaraj, O.; Venkateswarlu, M.; Satyanarayana, N. Structural, electrical and dielectric properties of spinel type MgAl2O4 nanocrystalline ceramic particles synthesized by the gel-combustion method. Ceram. Int. 2015, 41, 3178–3185. [Google Scholar] [CrossRef]
  12. Jiao, Y.; Zhu, J.; Li, X.; Shi, C.; Lu, B.; Wang, F.; Abdul, W. Mechanical Properties of Al Matrix Composite Enhanced by In Situ Formed SiC, MgAl2O4, and MgO via Casting Process. Materials 2021, 14, 1767. [Google Scholar] [CrossRef] [PubMed]
  13. Skrzypczyńska, K.; Świątkowski, A.; Diduszko, R.; Dąbek, L. Studies on carbon materials produced from salts with anions containing carbon atoms for carbon paste electrode. Materials 2021, 14, 2480. [Google Scholar] [CrossRef]
  14. Kudyba, A.; Akhtar, S.; Johansen, I.; Safarian, J. Aluminothermic reduction of manganese oxide from selected MnO-containing slags. Materials 2021, 14, 356. [Google Scholar] [CrossRef]
  15. Merzhanov, A.G. Combustion processes that synthesize materials. J. Mater. Process. Technol. 1996, 56, 222–241. [Google Scholar] [CrossRef]
  16. Levashov, E.A.; Mukasyan, A.S.; Rogachev, A.S.; Shtansky, D.V. Self-propagating high-temperature synthesis of advanced materials and coatings. Int. Mater. Rev. 2017, 62, 203–239. [Google Scholar] [CrossRef]
  17. Borovinskaya, I.; Gromov, A.; Levashov, E.; Maksimov, Y.; Mukasyan, A.; Rogachev, A. Concise Encyclopedia of Self-Propagating High-Temperature Synthesis History, Theory, Technology, and Products, 1st ed.; Elsevier: Amsterdam, The Netherlands, 2017. [Google Scholar]
  18. Horvitz, D.; Gotman, I. Pressure-assisted SHS synthesis of MgAl2O4–TiAl in situ composites with interpenetrating networks. Acta. Mater. 2002, 50, 1961–1971. [Google Scholar] [CrossRef]
  19. Omran, J.G.; Afarani, M.S.; Sharifitabar, M. Fast synthesis of MgAl2O4–W and MgAl2O4–W–W2B composite powders by self-propagating high-temperature synthesis reactions. Ceram. Int. 2018, 44, 6508–6513. [Google Scholar] [CrossRef]
  20. Zaki, Z.I.; Mostafa, N.Y.; Rashad, M.M. High pressure synthesis of magnesium aluminate composites with MoSi2 and Mo5Si3 in a self-sustaining manner. Ceram. Int. 2012, 38, 5231–5237. [Google Scholar] [CrossRef]
  21. Radishevskaya, N.I.; Nazarova, A.Y.; Lvov, O.V.; Kasatsky, N.G.; Kitler, V.D. Synthesis of magnesium aluminate spinel in the MgO-Al2O3-Al system using the SHS method. J. Phys. Conf. Ser. 2019, 1214, 012019. [Google Scholar] [CrossRef]
  22. Wang, L.L.; Munir, Z.A.; Maximov, Y.M. Thermite reactions: Their utilization in the synthesis and processing of materials. J. Mater. Sci. 1993, 28, 3693–3708. [Google Scholar] [CrossRef]
  23. Binnewies, M.; Milke, E. Thermochemical Data of Elements and Compounds; Wiley-VCH Verlag GmbH: Weinheim, Germany, 2002. [Google Scholar]
  24. Liang, Y.H.; Wang, H.Y.; Yang, Y.F.; Zhao, R.Y.; Jiang, Q.C. Effect of Cu content on the reaction behaviors of self-propagating high-temperature synthesis in Cu-Ti-B4C system. J. Alloys Compd. 2008, 462, 113–118. [Google Scholar] [CrossRef]
  25. Yeh, C.-L.; Chen, K.-T. Synthesis of FeSi-Al2O3 Composites by Autowave Combustion with Metallothermic Reduction. Metals 2021, 11, 258. [Google Scholar] [CrossRef]
  26. Yeh, C.L.; Lin, J.Z. Combustion synthesis of Cr-Al and Cr-Si intermetallics with Al2O3 additions from Cr2O3-Al and Cr2O3-Al-Si reaction systems. Intermetallics 2013, 33, 126–133. [Google Scholar] [CrossRef]
  27. Yeh, C.L.; Ke, C.Y. Intermetallic/ceramic composites synthesized from Al–Ni–Ti combustion with B4C addition. Metals 2020, 10, 873. [Google Scholar] [CrossRef]
  28. Anstis, G.R.; Chantikul, P.; Lawn, B.R.; Marshall, D.B. A critical evaluation of indentation techniques for measuring fracture toughness: I, direct crack measurements. J. Am. Ceram. Soc. 1981, 64, 533–538. [Google Scholar] [CrossRef]
  29. Evans, A.G.; Charles, E.A. Fracture toughness determinations by indentation. J. Am. Ceram. Soc. 1976, 59, 371–372. [Google Scholar] [CrossRef]
  30. Rosales, I.; Schneibel, J.H. Stoichiometry and mechanical properties of Mo3Si. Intermetallics 2000, 8, 885–889. [Google Scholar] [CrossRef]
  31. Morris, D.G.; Leboeuf, M.; Morris, M.A. Hardness and toughness of MoSi2 and MoSi2–SiC composite prepared by reactive sintering of powders. Mater. Sci Eng. A 1998, 251, 262–268. [Google Scholar] [CrossRef]
Figure 1. Variations of adiabatic combustion temperatures (Tad) with molar ratios of Mo-silicide/ MgAl2O4 of products synthesized from R(1), R(2), and R(3).
Figure 1. Variations of adiabatic combustion temperatures (Tad) with molar ratios of Mo-silicide/ MgAl2O4 of products synthesized from R(1), R(2), and R(3).
Materials 14 04800 g001
Figure 2. A typical sequence of self-sustaining combustion images recorded from R(1) with x = 3.
Figure 2. A typical sequence of self-sustaining combustion images recorded from R(1) with x = 3.
Materials 14 04800 g002
Figure 3. Variations of flame-front propagation velocities with stoichiometric coefficients (x, y, and z) of R(1), R(2), and R(3).
Figure 3. Variations of flame-front propagation velocities with stoichiometric coefficients (x, y, and z) of R(1), R(2), and R(3).
Materials 14 04800 g003
Figure 4. Combustion temperature profiles of R(1), R(2), and R(3) with stoichiometric coefficients of (a) x = y = z = 2 and (b) x = y = z = 4.
Figure 4. Combustion temperature profiles of R(1), R(2), and R(3) with stoichiometric coefficients of (a) x = y = z = 2 and (b) x = y = z = 4.
Materials 14 04800 g004
Figure 5. XRD patterns of as-synthesized Mo3Si–MgAl2O4 composites from R(1) with (a) x = 2 and (b) x = 4.
Figure 5. XRD patterns of as-synthesized Mo3Si–MgAl2O4 composites from R(1) with (a) x = 2 and (b) x = 4.
Materials 14 04800 g005
Figure 6. XRD patterns of as-synthesized Mo5Si3–MgAl2O4 composites from R(2) with (a) y = 2 and (b) y = 4.
Figure 6. XRD patterns of as-synthesized Mo5Si3–MgAl2O4 composites from R(2) with (a) y = 2 and (b) y = 4.
Materials 14 04800 g006
Figure 7. XRD patterns of as-synthesized MoSi2–MgAl2O4 composites from R(3) with (a) z = 2 and (b) z = 4.
Figure 7. XRD patterns of as-synthesized MoSi2–MgAl2O4 composites from R(3) with (a) z = 2 and (b) z = 4.
Materials 14 04800 g007
Figure 8. SEM image and EDS element spectra of Mo3Si–MgAl2O4 composite synthesized from R(1) with x = 3.
Figure 8. SEM image and EDS element spectra of Mo3Si–MgAl2O4 composite synthesized from R(1) with x = 3.
Materials 14 04800 g008
Figure 9. SEM image with EDS element spectra of Mo5Si3–MgAl2O4 composite synthesized from R(2) with y = 3.
Figure 9. SEM image with EDS element spectra of Mo5Si3–MgAl2O4 composite synthesized from R(2) with y = 3.
Materials 14 04800 g009
Figure 10. SEM image with EDS element spectra of MoSi2–MgAl2O4 composite synthesized from R(3) with z = 3.
Figure 10. SEM image with EDS element spectra of MoSi2–MgAl2O4 composite synthesized from R(3) with z = 3.
Materials 14 04800 g010
Publisher’s Note: MDPI stays neutral with regard to jurisdictional claims in published maps and institutional affiliations.

Share and Cite

MDPI and ACS Style

Yeh, C.-L.; Chen, M.-C. Metallothermic Reduction of MoO3 on Combustion Synthesis of Molybdenum Silicides/MgAl2O4 Composites. Materials 2021, 14, 4800. https://doi.org/10.3390/ma14174800

AMA Style

Yeh C-L, Chen M-C. Metallothermic Reduction of MoO3 on Combustion Synthesis of Molybdenum Silicides/MgAl2O4 Composites. Materials. 2021; 14(17):4800. https://doi.org/10.3390/ma14174800

Chicago/Turabian Style

Yeh, Chun-Liang, and Min-Chia Chen. 2021. "Metallothermic Reduction of MoO3 on Combustion Synthesis of Molybdenum Silicides/MgAl2O4 Composites" Materials 14, no. 17: 4800. https://doi.org/10.3390/ma14174800

APA Style

Yeh, C.-L., & Chen, M.-C. (2021). Metallothermic Reduction of MoO3 on Combustion Synthesis of Molybdenum Silicides/MgAl2O4 Composites. Materials, 14(17), 4800. https://doi.org/10.3390/ma14174800

Note that from the first issue of 2016, this journal uses article numbers instead of page numbers. See further details here.

Article Metrics

Back to TopTop