Personal Thermal Management by Single-Walled Carbon Nanotubes Functionalized Polyester Fabrics
Abstract
:1. Introduction
2. Experimental Section
2.1. Materials and Pretreatment
2.2. Fabrication of PTM Device
2.3. Characterization
3. Results and Discussions
3.1. Morphology and Dispersion of SWCNTs
3.2. Raman Spectra Analysis
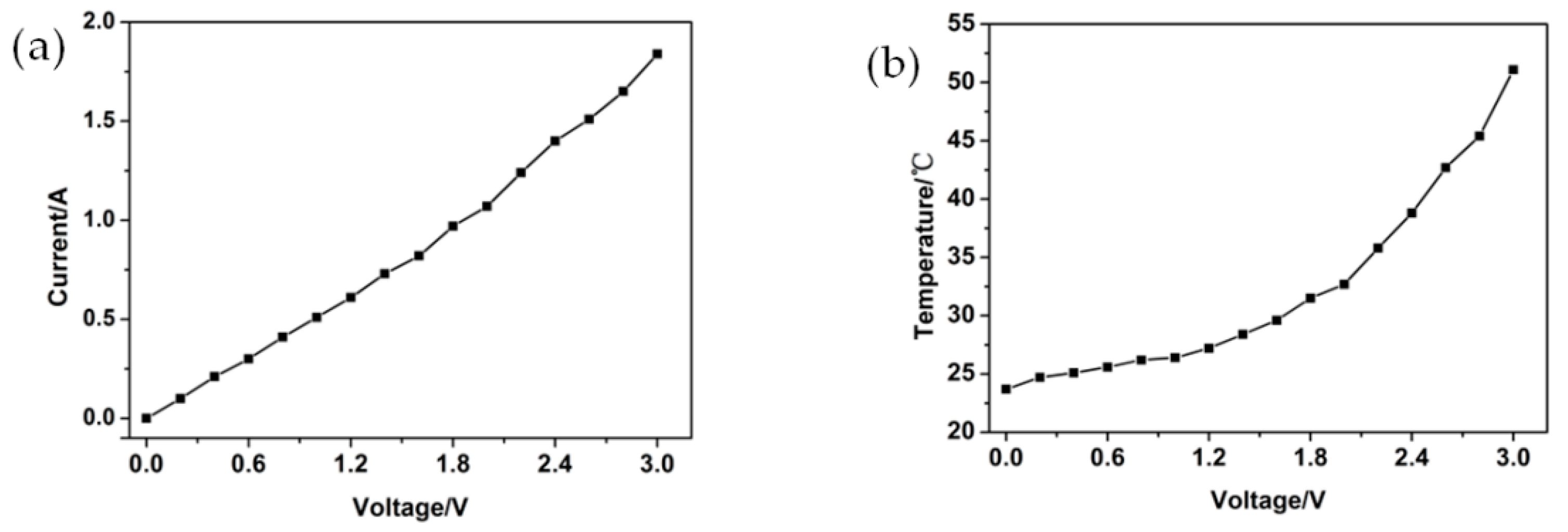
3.3. Electro-Thermal Performance
3.4. Washing Stability
4. Conclusions
Author Contributions
Funding
Institutional Review Board Statement
Informed Consent Statement
Data Availability Statement
Conflicts of Interest
References
- Stoppa, M.; Chiolerio, A. Wearable Electronics and Smart Textiles: A Critical Review. Sensors 2014, 14, 11957–11992. [Google Scholar] [CrossRef] [PubMed] [Green Version]
- Zhong, J.; Zhang, Y.; Zhong, Q.; Hu, Q.; Hu, B.; Wang, Z.L.; Zhou, J. Fiber-Based Generator for Wearable Electronics and Mobile Medication. ACS Nano 2014, 8, 6273–6280. [Google Scholar] [CrossRef] [PubMed]
- Guo, Y.; Dun, C.; Xu, J.; Mu, J.; Li, P.; Gu, L.; Hou, C.; Hewitt, C.A.; Zhang, Q.; Li, Y.; et al. Ultrathin, Washable, and Large-Area Graphene Papers for Personal Thermal Management. Small 2017, 13, 172645. [Google Scholar] [CrossRef]
- El Sachat, A.; Alzina, F.; Torres, C.M.S.; Chavez-Angel, E. Heat Transport Control and Thermal Characterization of Low-Dimensional Materials: A Review. Nanomaterials 2021, 11, 175. [Google Scholar] [CrossRef]
- Yang, A.; Cai, L.; Zhang, R.; Wang, J.; Hsu, P.-C.; Wang, H.; Zhou, G.; Xu, J.; Cui, Y. Thermal Management in Nanofiber-Based Face Mask. Nano Lett. 2017, 17, 3506–3510. [Google Scholar] [CrossRef]
- Zhai, Y.; Ma, Y.; David, S.N.; Zhao, D.; Lou, R.; Tan, G.; Yang, R.; Yin, X. Scalable-manufactured randomized glass-polymer hybrid metamaterial for daytime radiative cooling. Science 2017, 355, 1062–1066. [Google Scholar] [CrossRef] [PubMed] [Green Version]
- Guo, Y.; Dun, C.; Xu, J.; Li, P.; Huang, W.; Mu, J.; Hou, C.; Hewitt, C.A.; Zhang, Q.; Li, Y.; et al. Wearable Thermoelectric Devices Based on Au-Decorated Two-Dimensional MoS2. ACS Appl. Mater. Interfaces 2018, 10, 33316–33321. [Google Scholar] [CrossRef] [PubMed]
- Sui, D.; Huang, Y.; Huang, L.; Liang, J.; Ma, Y.; Chen, Y. Flexible and Transparent Electrothermal Film Heaters Based on Graphene Materials. Small 2011, 7, 3186–3192. [Google Scholar] [CrossRef]
- Wang, F.; Liang, W.Y.; Wang, Z.Q.; Yang, B.; He, L.; Zhang, K. Preparation and property investigation of multi-walled carbon nanotube (MWCNT)/epoxy composite films as high-performance electric heating (resistive heating) element. Express Polym. Lett. 2018, 12, 285–295. [Google Scholar] [CrossRef]
- Luo, J.; Lu, H.; Zhang, Q.; Yao, Y.; Chen, M.; Li, Q. Flexible carbon nanotube/polyurethane electrothermal films. Carbon 2016, 110, 343–349. [Google Scholar] [CrossRef] [Green Version]
- Moniruzzaman, M.; Sahin, A.; Winey, K.I. Improved mechanical strength and electrical conductivity of organogels containing carbon nanotubes. Carbon 2009, 47, 645–650. [Google Scholar] [CrossRef]
- Ramanathan, T.; Abdala, A.; Stankovich, S.; Dikin, D.A.; Herrera-Alonso, M.; Piner, R.D.; Adamson, D.H.; Schniepp, H.; Chen, X.; Ruoff, R.S.; et al. Functionalized graphene sheets for polymer nanocomposites. Nat. Nanotechnol. 2008, 3, 327–331. [Google Scholar] [CrossRef]
- Haggenmueller, R.; Guthy, C.; Lukes, J.R.; Fischer, J.E.; Winey, K.I. Single Wall Carbon Nanotube/Polyethylene Nanocomposites: Thermal and Electrical Conductivity. Macromolecules 2007, 40, 2417–2421. [Google Scholar] [CrossRef]
- Hsu, P.-C.; Liu, X.; Liu, C.; Xie, X.; Lee, H.R.; Welch, A.J.; Zhao, T.; Cui, Y. Personal Thermal Management by Metallic Nanowire-Coated Textile. Nano Lett. 2015, 15, 365–371. [Google Scholar] [CrossRef] [PubMed]
- Li, C.; Xu, Y.-T.; Zhao, B.; Jiang, L.; Chen, S.; Xu, J.; Fu, X.-Z.; Sun, R.; Wong, C.-P. Flexible graphene electrothermal films made from electrochemically exfoliated graphite. J. Mater. Sci. 2015, 51, 1043–1051. [Google Scholar] [CrossRef]
- Isaji, S.; Bin, Y.; Matsuo, M. Electrical conductivity and self-temperature-control heating properties of carbon nanotubes filled polyethylene films. Polymer 2009, 50, 1046–1053. [Google Scholar] [CrossRef]
- Karim, N.; Afroj, S.; Tan, S.; He, P.; Fernando, A.; Carr, C.; Novoselov, K.S. Scalable Production of Graphene-Based Wearable E-Textiles. ACS Nano 2017, 11, 12266–12275. [Google Scholar] [CrossRef]
- Hamdani, S.T.A.; Fernando, A.; Hussain, M.D.; Potluri, P. Study of electro-thermal properties of pyrrole polymerised knitted fabrics. J. Ind. Text. 2016, 46, 771–786. [Google Scholar] [CrossRef]
- Wang, Y.; Liu, G.; Sheng, M.; Yu, C.; Deng, Y. Flexible thermopower generation over broad temperature range by PANI/nanorod hybrid-based p–n couples. J. Mater. Chem. A 2018, 7, 1718–1724. [Google Scholar] [CrossRef]
- Pan, J.; Yang, M.; Luo, L.; Xu, A.; Tang, B.; Cheng, D.; Cai, G.; Wang, X. Stretchable and Highly Sensitive Braided Composite Yarn@Polydopamine@Polypyrrole for Wearable Applications. ACS Appl. Mater. Interfaces 2019, 11, 7338–7348. [Google Scholar] [CrossRef] [PubMed]
- Wang, R.; Chen, D.; Wang, Q.; Ying, Y.; Gao, W.; Xie, L. Recent Advances in Applications of Carbon Nanotubes for Desalination: A Review. Nanomaterials 2020, 10, 1203. [Google Scholar] [CrossRef]
- Hu, D.; Gong, W.; Di, J.; Li, D.; Li, R.; Lu, W.; Gu, B.; Sun, B.; Li, Q. Strong graphene-interlayered carbon nanotube films with high thermal conductivity. Carbon 2017, 118, 659–665. [Google Scholar] [CrossRef]
- Iijima, S. Helical microtubules of graphitic carbon. Nature 1991, 354, 56–58. [Google Scholar] [CrossRef]
- Ilanchezhiyan, P.; Zakirov, A.S.; Kumar, G.M.; Yuldashev, S.U.; Cho, H.D.; Kang, T.W.; Mamadalimov, A.T. Highly efficient CNT functionalized cotton fabrics for flexible/wearable heating applications. RSC Adv. 2015, 5, 10697–10702. [Google Scholar] [CrossRef]
- Luo, J.; Cheng, Z.; Li, C.; Wang, L.; Yu, C.; Zhao, Y.; Chen, M.; Li, Q.; Yao, Y. Electrically conductive adhesives based on thermoplastic polyurethane filled with silver flakes and carbon nanotubes. Compos. Sci. Technol. 2016, 129, 191–197. [Google Scholar] [CrossRef]
- Koziol, K.; Vilatela, J.; Moisala, A.; Motta, M.; Cunniff, P.; Sennett, M.; Windle, A. High-Performance Carbon Nanotube Fiber. Science 2007, 318, 1892–1895. [Google Scholar] [CrossRef]
- Jo, J.W.; Jung, J.W.; Lee, J.U.; Jo, W.H. Fabrication of Highly Conductive and Transparent Thin Films from Single-Walled Carbon Nanotubes Using a New Non-ionic Surfactant via Spin Coating. ACS Nano 2010, 4, 5382–5388. [Google Scholar] [CrossRef] [PubMed]
- Gu, J.; Han, J.; Liu, D.; Yu, X.; Kang, L.; Qiu, S.; Jin, H.; Li, H.; Li, Q.; Zhang, J. Solution-Processable High-Purity Semiconducting SWCNTs for Large-Area Fabrication of High-Performance Thin-Film Transistors. Small 2016, 12, 4993–4999. [Google Scholar] [CrossRef] [PubMed]
- Lv, Z.; Jia, C.-L.; Ji, X.; Yan, D.-X.; Lei, J.; Li, Z.-M. Repeatable, room-temperature-processed baroplastic-carbon nanotube composites for electromagnetic interference shielding. J. Mater. Chem. C 2018, 6, 12955–12964. [Google Scholar] [CrossRef]
- Zhangac, C.; Penga, Z.; Huanga, C.; Zhanga, B.; Xinga, C.; Chena, H.; Chengb, H.; Wanga, J.; Tangc, S. High-energy all-in-one stretchable micro-supercapacitor arrays based on 3D laser-induced graphene foams decorated with mesoporous ZnP nanosheets for self-powered stretchable systems. Nano Energy 2021, 81, 105609. [Google Scholar] [CrossRef]
- Yang, Z.; Sun, X.; Chen, X.; Yong, Z.; Xu, G.; He, R.; An, Z.; Li, Q.; Peng, H. Dependence of structures and properties of carbon nanotube fibers on heating treatment. J. Mater. Chem. 2011, 21, 13772–13775. [Google Scholar] [CrossRef]
- Jiang, J.-W.; Wang, J.-S. Joule heating and thermoelectric properties in short single-walled carbon nanotubes: Electron-phonon interaction effect. J. Appl. Phys. 2011, 110, 124319. [Google Scholar] [CrossRef] [Green Version]
- Janas, D.; Koziol, K.K. A review of production methods of carbon nanotube and graphene thin films for electrothermal applications. Nanoscale 2014, 6, 3037–3045. [Google Scholar] [CrossRef] [PubMed]









Publisher’s Note: MDPI stays neutral with regard to jurisdictional claims in published maps and institutional affiliations. |
© 2021 by the authors. Licensee MDPI, Basel, Switzerland. This article is an open access article distributed under the terms and conditions of the Creative Commons Attribution (CC BY) license (https://creativecommons.org/licenses/by/4.0/).
Share and Cite
Guan, L.; Wang, Z.; Wang, M.; Yu, Y.; He, W.; Qi, N.; Wang, G. Personal Thermal Management by Single-Walled Carbon Nanotubes Functionalized Polyester Fabrics. Materials 2021, 14, 4616. https://doi.org/10.3390/ma14164616
Guan L, Wang Z, Wang M, Yu Y, He W, Qi N, Wang G. Personal Thermal Management by Single-Walled Carbon Nanotubes Functionalized Polyester Fabrics. Materials. 2021; 14(16):4616. https://doi.org/10.3390/ma14164616
Chicago/Turabian StyleGuan, Liyuan, Zhong Wang, Mingxing Wang, Yangjinghua Yu, Wenjian He, Ning Qi, and Guohe Wang. 2021. "Personal Thermal Management by Single-Walled Carbon Nanotubes Functionalized Polyester Fabrics" Materials 14, no. 16: 4616. https://doi.org/10.3390/ma14164616
APA StyleGuan, L., Wang, Z., Wang, M., Yu, Y., He, W., Qi, N., & Wang, G. (2021). Personal Thermal Management by Single-Walled Carbon Nanotubes Functionalized Polyester Fabrics. Materials, 14(16), 4616. https://doi.org/10.3390/ma14164616

