Study of Cement-Based Superhydrophobic Composite Coating: New Option for Water Drainage Pipeline Rehabilitation
Abstract
:1. Introduction
2. Materials and Methods
2.1. Cementitious Materials
2.2. Coating Materials
2.2.1. The Synthesis Method of SiO2 Aerogel Superhydrophobic Powder
2.2.2. Fabrication of SiO2 @ DGEBA Superhydrophobic Coatings
2.3. Cement Samples
2.4. Characterization Methods
3. Results
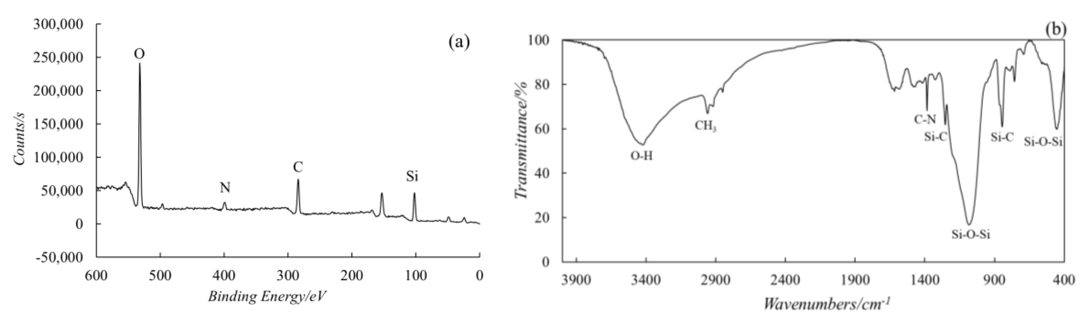
3.1. Structure and Composition of the Adhesive
3.2. Superhydrophobicity of the Modified SiO2 Aerogel Powder
3.3. Mechanical Performance and Quality Loss
3.4. Durability and Other Characteristics of SiO2 Aerosol @ DGEBA Coating
4. Discussion
Author Contributions
Funding
Acknowledgments
Conflicts of Interest
References
- Muzenski, S.; Flores-Vivian, I.; Sobolev, K. Durability of superhydrophobic engineered cementitious composites. Constr. Build. Mater. 2015, 81, 291–297. [Google Scholar] [CrossRef]
- Ma, B.S. Trenchless Pipeline Rehabilitation and Renewal Technology; China Communications Press: Beijing, China, 2014. [Google Scholar]
- Ma, B.S. The Science of Trenchless Engineering; China Communications Press: Beijing, China, 2008; pp. 162–166. [Google Scholar]
- Garcia, C.; Abraham, D.M.; Gokhale, S.; Iseley, T. Rehabilitation alternatives for concrete and brick sewers. Pract. Period. Struct. Des. Constr. 2002, 7, 164–173. [Google Scholar] [CrossRef]
- Original Source: Zion Market Research, Found on Globenewswire, 4 September 2018. Available online: http://www.globenewswire.com (accessed on 4 September 2004).
- Bour, D.L.; Brothers, L.E.; Caveny, W.J. Methods for Coating Pipe Comprising Using Cement Compositions Comprising High Tensile Strength Fibers and/or a Multi-Purpose Cement Additive. U.S. Patent No. 7,217,441, 15 May 2007. [Google Scholar]
- Haile, T.; Nakhla, G.; Allouche, E.; Vaidya, S. Evaluation of the bactericidal characteristics of nano-copper oxide or functionalized zeolite coating for bio-corrosion control in concrete sewer pipes. Corros. Sci. 2010, 52, 45–53. [Google Scholar] [CrossRef]
- Mulder, C.A.M.; Van Lierop, J.G. Preparation, densification and characterization of autoclave dried SiO2 gels. In Aerogels; Springer: Berlin/Heidelberg, Germnay, 1986; pp. 68–75. [Google Scholar]
- Kim, S.; Seo, J.; Cha, J.; Kim, S. Chemical retreating for gel-typed aerogel and insulation performance of cement containing aerogel. Constr. Build. Mater. 2013, 40, 501–505. [Google Scholar] [CrossRef]
- Gao, T.; Jelle, B.P.; Gustavsen, A.; Jacobsen, S. Aerogel-incorporated concrete: An experimental study. Constr. Build. Mater. 2014, 52, 130–136. [Google Scholar] [CrossRef]
- Zorba, V.; Stratakis, E.; Barberoglou, M.; Barberoglou, E.; Tzanetakis, P. Biomimetic artificial surfaces quantitatively reproduce the water repellency of a lotus leaf. Adv. Mater. 2008, 20, 4049–4054. [Google Scholar] [CrossRef]
- Nine, M.J.; Tung, T.T.; Alotaibi, F.; Tran, D.N.; Losic, D. Facile adhesion-tuning of superhydrophobic surfaces between ‘‘Lotus” and ‘‘Petal” effect and their influence on icing and deicing properties. Acs Appl. Mater. Interf. 2017, 9, 8393–8402. [Google Scholar] [CrossRef]
- Gao, X.; Guo, Z. Mechanical stability, corrosion resistance of superhydrophobic steel and repairable durability of its slippery surface. J. Colloid Interface Sci. 2018, 512, 239–248. [Google Scholar] [CrossRef]
- Fürstner, R.; Barthlott, W.; Neinhuis, C.; Walzel, P. Wetting and self-cleaning properties of artificial superhydrophobic surfaces. Langmuir 2005, 21, 956–961. [Google Scholar] [CrossRef]
- Zhang, F.; Zhao, L.; Chen, H.; Xu, S.; Evans, D.G.; Duan, X. Corrosion resistance of superhydrophobic layered double hydroxide films on aluminum. Angew. Chem. Int. Ed. 2008, 47, 2466–2469. [Google Scholar] [CrossRef]
- Hong, X.; Gao, X.; Jiang, L. Application of superhydrophobic surface with high adhesive force in no lost transport of superparamagnetic microdroplet. J. Am. Chem. Soc. 2007, 129, 1478–1479. [Google Scholar] [CrossRef] [PubMed]
- Horgnies, M.; Chen, J.J. Superhydrophobic concrete surfaces with integrated microtexture. Cem. Concr. Compos. 2014, 52, 81–90. [Google Scholar] [CrossRef]
- Husni, H.; Nazari, M.R.; Yee, H.M.; Rohim, R.; Yusuff, A.; Ariff, M.A.M.; Junaidi, M.U.M. Superhydrophobic rice husk ash coating on concrete. Constr. Build. Mater. 2017, 144, 385–391. [Google Scholar] [CrossRef]
- Liu, M.; Qing, Y.; Wu, Y.Q.; Liang, J.; Luo, S. Facile fabrication of superhydrophobic surfaces on wood substrates via a one-step hydrothermal process. Appl. Surf. Sci. 2015, 330, 332–338. [Google Scholar] [CrossRef]
- Rezayi, T.; Entezari, M.H. Toward a durable superhydrophobic aluminum surface by etching and ZnO nanoparticle deposition. J. Colloid Interface Sci. 2016, 463, 37–45. [Google Scholar] [CrossRef]
- Duan, Z.F.; Zhao, Z.; Luo, D.; Zhao, M.Q.; Zhao, G.Y. A facial approach combining photosensitive sol–gel with self-assembly method to fabricate superhydrophobic TiO2 films with patterned surface structure. Appl. Surf. Sci. 2016, 360, 1030–1035. [Google Scholar] [CrossRef]
- Yang, N.; Li, J.C.; Bai, N.N.; Xu, L.; Li, Q. One step phase separation process to fabricate superhydrophobic PVC films and its corrosion prevention for AZ91D magnesium alloy. Mater. Sci. Eng. B 2016, 209, 1–9. [Google Scholar] [CrossRef]
- Rezaei, S.; Manoucheri, I.; Moradian, R.; Pourabbas, B. One-step chemical vapor deposition and modification of silica nanoparticles at the lowest possible temperature and superhydrophobic surface fabrication. Chem. Eng. J. 2014, 252, 11–16. [Google Scholar] [CrossRef]
- Darmanin, T.; de Givenchy, E.T.; Amigoni, S. Guittard, Superhydrophobic surfaces by electrochemical processes. Adv. Mater. 2013, 25, 1378–1394. [Google Scholar] [CrossRef]
- Wu, Y.; Zhao, M.; Guo, Z. Robust, heat-resistant and multifunctional superhydrophobic coating of carbon micro flowers with molybdenum trioxide nanoparticles. J. Colloid Interface Sci. 2017, 506, 649–658. [Google Scholar] [CrossRef]
- Wong, H.S.; Barakat, R.; Alhilali, A.; Saleh, M.; Cheeseman, C.R. Hydrophobic concrete using wastepaper sludge ash. Cem. Concr. Res. 2015, 70, 9–20. [Google Scholar] [CrossRef]
- She, W.; Wang, X.; Miao, C.; Zhang, Q.; Zhang, Y.; Yang, J.; Hong, J. Biomimetic superhydrophobic surface of concrete: Topographic and chemical modification assembly by direct spray. Constr. Build. Mater. 2018, 181, 347–357. [Google Scholar] [CrossRef]
- Arabzadeh, A.; Ceylan, H.; Kim, S.; Gopalakrishnan, K.; Sassani, A.; Sundararajan, S.; Taylor, P.C. Superhydrophobic coatings on Portland cement concrete surfaces. Constr. Build. Mater. 2017, 141, 393–401. [Google Scholar] [CrossRef]
- Young, T.J.; Jackson, J.; Roy, S.; Ceylan, H.; Sundararajan, S. Tribological behavior and wettability of spray-coated superhydrophobic coatings on aluminum. Wear 2017, 376, 1713–1719. [Google Scholar] [CrossRef]
- ASTM C150. Standard Specification for Portland Cements; American Society for Testing and Materials; ASTM International: West Conshohocken, PA, USA, 2003.
- Zhou, W.; Kong, Y. Centrifugally cast manhole technology applied to the world’s largest manhole trenchless rehabilitation project. China Trenchless Technol. 2015, 3, 51–54. [Google Scholar]
- ASTM C642-13. Standard Test Method for Density, Absorption, and Voids in Hardened Concrete; West ASTM International: West Conshohocken, PA, USA, 2013.
- Jiang, H.; Sun, L.; Zhang, Y.; Meng, F.; Zhang, W.; Zhao, C. Estrogenic activity research of a novel fluorinated bisphenol and preparation of an epoxy resin as alternative to bisphenol A epoxy resin. Eur. Polym. J. 2018, 108, 507–516. [Google Scholar] [CrossRef]
- Liu, M.; Li, J.; Hou, Y.; Guo, Z. Inorganic adhesives for robust superwetting surfaces. ACS Nano 2017, 11, 1113–1119. [Google Scholar] [CrossRef]
- Wang, Z.; Gao, X.; Wen, G.; Tian, P.; Zhong, L.; Gou, X.; Guo, Z. Robust silicon dioxide@ epoxy resin micronanosheet superhydrophobic omnipotent protective coating for applications. Colloids Surf. A Physicochem. Eng. Asp. 2018, 550, 9–19. [Google Scholar] [CrossRef]
- Lu, Y.; Sathasivam, S.; Song, J.; Crick, C.R.; Carmalt, C.J.; Parkin, I.P. Robust self-cleaning surfaces that function when exposed to either air or oil. Science 2015, 347, 1132–1135. [Google Scholar] [CrossRef]
- Cabral-Fonseca, S.; Correia, J.R.; Custódio, J.; Silva, H.M.; Machado, A.M.; Sousa, J. Durability of FRP-concrete bonded joints in structural rehabilitation: A review. Int. J. Adhes. Adhes. 2018, 83, 153–167. [Google Scholar] [CrossRef]
- Song, J.; Zhao, D.; Han, Z.; Xu, W.; Lu, Y.; Liu, X.; Liu, B.; Carmalt, C.J.; Deng, X.; Parkin, I.P. Super-robust superhydrophobic concrete. J. Mater. Chem. A 2017, 5, 14542–14550. [Google Scholar] [CrossRef]
- Song, J.; Li, Y.; Xu, W.; Liu, H.; Lu, Y. Inexpensive and non-fluorinated superhydrophobic concrete coating for anti-icing and anti-corrosion. J. Colloid Interface Sci. 2019, 541, 86–92. [Google Scholar] [CrossRef] [PubMed]
- Arabzadeh, A.; Ceylan, H.; Kim, S.; Gopalakrishnan, K.; Sassani, A. Superhydrophobic coatings on asphalt concrete surfaces: Toward smart solutions for winter pavement maintenance. Transp. Res. Rec. 2016, 2551, 10–17. [Google Scholar] [CrossRef]














| Specimen ID | AEAPTS/g | SiO2 Aerogel/g | Ethyl Alcohol/mL |
|---|---|---|---|
| 1 | 0.1 | 0.5 | 5 |
| 2 | 0.2 | 0.5 | 5 |
| 3 | 0.3 | 0.5 | 5 |
| 4 | 0.4 | 0.5 | 5 |
| 5 | 0.5 | 0.5 | 5 |
| Specimens ID | Top Surface | The Rest Ones | Curing Environment/pH |
|---|---|---|---|
| I | modified | Sealed | deionized water/approximately 7 |
| II | untreated | Sealed | deionized water/approximately 7 |
| III | modified | Sealed | sanitary sewage/3–5 |
| IV | untreated | Sealed | sanitary sewage/3–5 |
Publisher’s Note: MDPI stays neutral with regard to jurisdictional claims in published maps and institutional affiliations. |
© 2020 by the authors. Licensee MDPI, Basel, Switzerland. This article is an open access article distributed under the terms and conditions of the Creative Commons Attribution (CC BY) license (http://creativecommons.org/licenses/by/4.0/).
Share and Cite
Wang, T.; Zeng, C. Study of Cement-Based Superhydrophobic Composite Coating: New Option for Water Drainage Pipeline Rehabilitation. Materials 2020, 13, 5004. https://doi.org/10.3390/ma13215004
Wang T, Zeng C. Study of Cement-Based Superhydrophobic Composite Coating: New Option for Water Drainage Pipeline Rehabilitation. Materials. 2020; 13(21):5004. https://doi.org/10.3390/ma13215004
Chicago/Turabian StyleWang, Tianyu, and Cong Zeng. 2020. "Study of Cement-Based Superhydrophobic Composite Coating: New Option for Water Drainage Pipeline Rehabilitation" Materials 13, no. 21: 5004. https://doi.org/10.3390/ma13215004
APA StyleWang, T., & Zeng, C. (2020). Study of Cement-Based Superhydrophobic Composite Coating: New Option for Water Drainage Pipeline Rehabilitation. Materials, 13(21), 5004. https://doi.org/10.3390/ma13215004
