Applications of Micro-Indentation Technology to Estimate Fracture Toughness of Shale
Abstract
1. Introduction
2. Samples Preparation
3. Micro-Indentation Tests
3.1. Equipment
3.2. Typical Procedures
3.3. Parameter Setting
3.4. Environmental Control
4. Determination of Fracture Toughness by Indentation Test
4.1. Experimental Analysis
4.2. Energy Analysis
5. Results and Analysis
5.1. Mineral Composition and Pore Structure
5.2. Micro-Indentation Test
5.3. Fracture Toughness
6. Conclusions
- (1)
- XDR results show that shale of Longmaxi Formation is prone to brittle failure due to the high content of medium brittle minerals. The content of clay minerals and quartz is 47.8–86.4%. NMR analysis displayed that shale of Longmaxi Formation pores microstructure is extremely developed. The surface structure of sample is compact, and flake clay minerals and insoluble residues can be seen.
- (2)
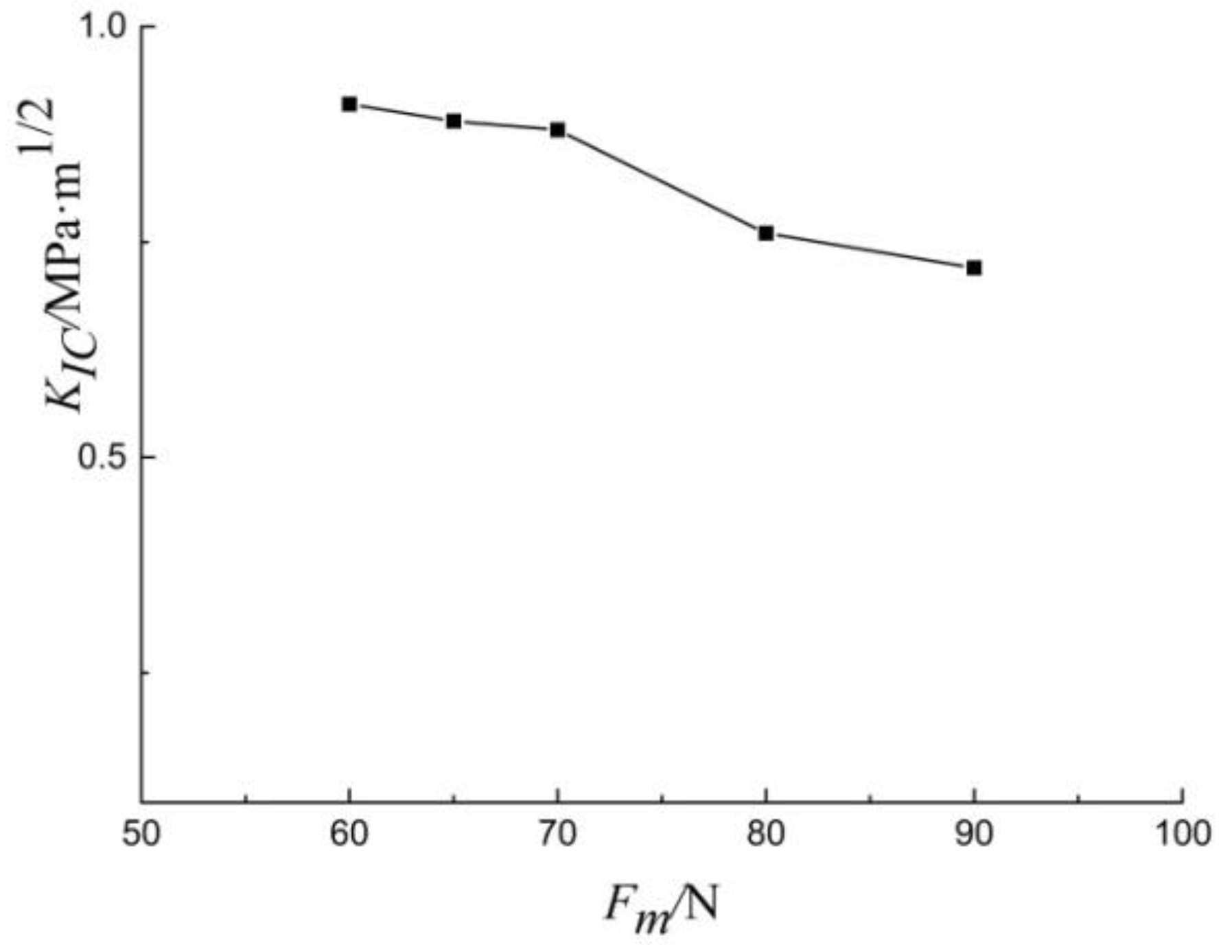
- Based on the shale micro-indentation test, Vickers and Berkovich indenters are evaluated. The self-similarity between Vickers indenter and shale micro-indentation is not satisfactory. For the Berkovich indenter, the crack development is obvious when the load reaches 80 N. The results show that the Berkovich indenter can be used for micro-indentation testing of shale fracture toughness. The relationship between Length of radial crack and radius of micro-indentation is approximately linear. The fracture toughness of shale decreases slightly with the increase of indentation load. The problem with this method is that multiple indentation experiments are needed because the intermediate parameters cannot be measured in the same test.
- (3)
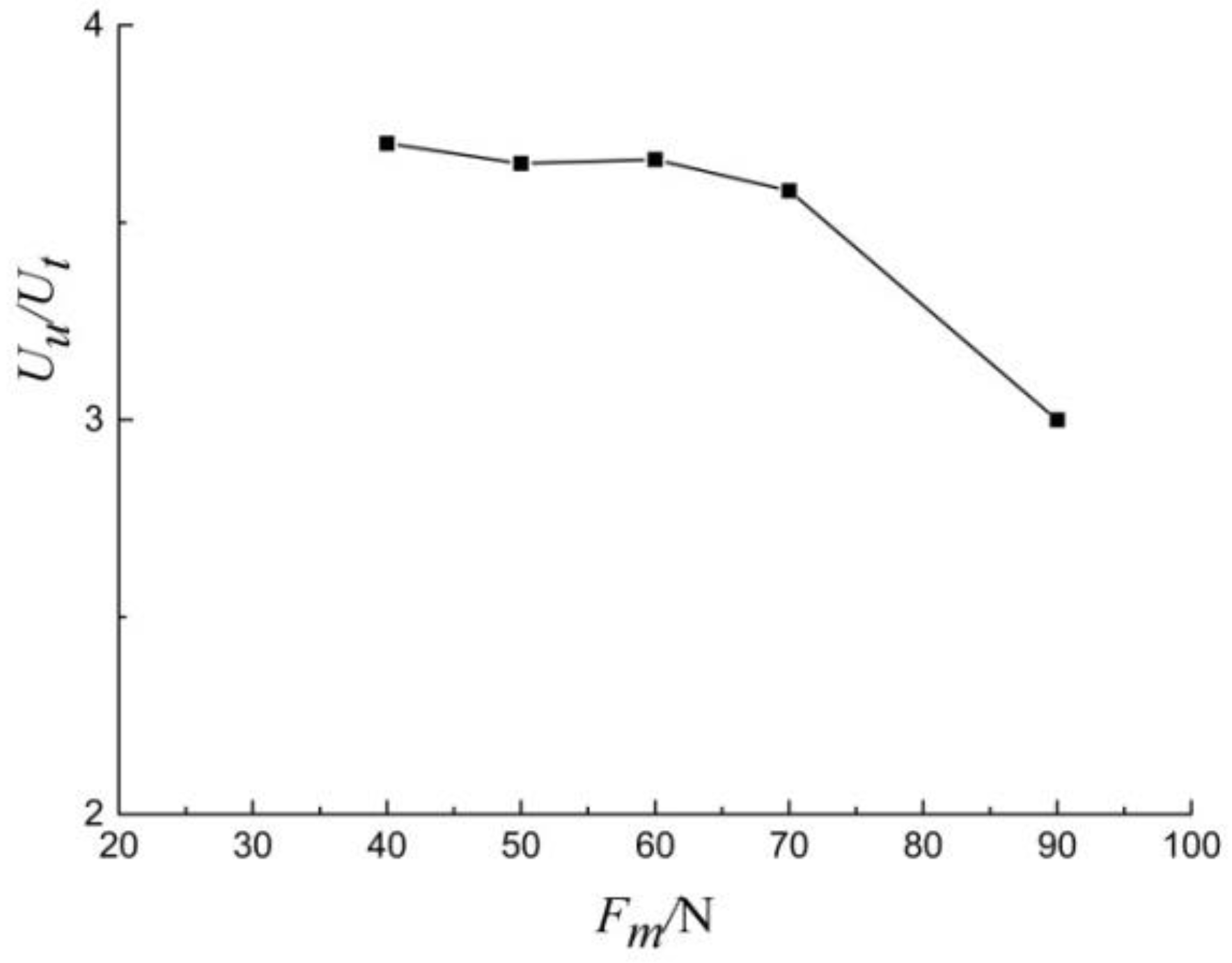
- Energy analysis methods are introduced to determine all parameters from a single micro-indentation test. The results show that the effect of cracking on the ratio of Uu/Ut is minimal when there is no significant stripping on the shale surface. Uu/Ut energy method can be used to evaluate the fracture toughness by replacing the ratio of E/H. It is clear that the ratio of Uu/Ut decreases gradually with the increase of the indentation load. The fracture energy method provides a way to evaluate the relationship between fracture energy and fracture toughness. Furthermore, the analysis and comparison of the results demonstrate that the average KIC of experiment method accord well with the SNBD results. When experimental parameters are not easy to obtain, the energy method can be used as a simplified approximate solution. The present work provides a novel idea regarding the macroscopic prediction of fracture behavior of shale.
Author Contributions
Funding
Conflicts of Interest
References
- Weijermars, R.; Harmelen, A.V. Shale Reservoir Drainage Visualized for a Wolf camp Well (Midland Basin, West Texas, USA). Energies 2018, 11, 1665. [Google Scholar] [CrossRef]
- Cui, S.; Ban, F.; Yuan, G. Status quo and challenges of global shale gas drilling and completion. Nat. Gas Ind. 2011, 31, 72–75. [Google Scholar]
- Zhuang, Z.; Liu, Z.; Wang, T.; Gao, Y.; Wang, Y.; Fu, H. The key mechanical problems on hydraulic fracture in shale. Chin. J. Solid Mech. 2016, 61, 72. [Google Scholar] [CrossRef]
- Walley, S.M. Historical origins of indentation hardness testing. Mater. Sci. Technol. 2012, 28, 1028–1044. [Google Scholar] [CrossRef]
- Walley, S.M. Addendum and correction to: Historical origins of indentation hardness testing, by Walley, S.M. Mater. Ence Technol. 2013, 29, 1148. [Google Scholar] [CrossRef]
- Warren, P.D. Determining the fracture toughness of brittle materials by Hertzian indentation. J. Eur. Ceram. Soc. 1995, 15, 201–207. [Google Scholar] [CrossRef]
- Oliver, W.C.; Pharr, G.M. Measurement of hardness and elastic modulus by instrumented indentation. Adv. Mater. Process. 2007, 19, 3–20. [Google Scholar]
- Evans, A.G.; Charles, E.A. Fracture Toughness Determinations by Indentation. J. Am. Ceram. Soc. 1976, 59, 371–372. [Google Scholar] [CrossRef]
- Harding, D.S.; Oliver, W.C.; Pharr, G.M. Cracking during nanoindentation and its Use in the Measurement of Fracture Toughness//Baker S P. Thin films stresses and mechanical properties V. MRS Symp. Proceed. 1994, 356, 633–688. [Google Scholar]
- Zeng, K.; Breder, K.; Rowcliffe, D.J. The Hertzian stress field and formation of cone cracks—II. Determination of fracture toughness. Acta Metall. Mater. 1992, 40, 2601–2605. [Google Scholar] [CrossRef]
- Lawn, B.R.; Evans, A.G.; Marshall, D.B. Elastic/Plastic Indentation Damage in Ceramics: The Median/Radial Crack System. J. Eur. Ceram. Soc. 1980, 63, 574–581. [Google Scholar] [CrossRef]
- Niihara, K.N.; Morena, R.; Hasselman, D.P.H. Evaluation of K Ic of brittle solids by the indentation method with low crack-to-indent ratios. J. Mater. Sci. Lett. 1982, 1, 13–16. [Google Scholar] [CrossRef]
- Dukino, R.D.; Swain, M.V. Comparative Measurement of Indentation Fracture Toughness with Berkovich and Vickers Indenters. J. Eur. Ceram. Soc. 2010, 75, 3299–3304. [Google Scholar] [CrossRef]
- Cheng, Y.T.; Cheng, C.M. Relationships between hardness, elastic modulus, and the work of indentation. Appl. Phys. Lett. 1998, 73, 614–616. [Google Scholar] [CrossRef]
- Liu, K.; Ostadhassan, M.; Bubach, B. Applications of nano-indentation methods to estimate nanoscale mechanical properties of shale reservoir rocks. J. Nat. Gas Sci. Eng. 2016, 35, 1310–1319. [Google Scholar] [CrossRef]
- Kruzic, J.J.; Kim, D.K.; Koester, K.J.; Ritchie, R.O. Indentation techniques for evaluating the fracture toughness of biomaterials and hard tissues. J. Mech. Behav. Biomed. Mater. 2009, 2, 384–395. [Google Scholar] [CrossRef]
- Sebastiani, M.; Johanns, K.E.; Herbert, E.G.; Pharr, G.M. Measurement of fracture toughness by nanoindentation methods: Recent advances and future challenges. Curr. Opin. Solid State Mater. Sci. 2015, 19, 324–333. [Google Scholar] [CrossRef]
- Zhu, W.; Hughes, J.J.; Bicanic, N.; Pearce, C.J. Nanoindentation mapping of mechanical properties of cement paste and natural rocks. Mater. Charact. 2007, 58, 1189–1198. [Google Scholar] [CrossRef]
- Bobko, C.; Ulm, F.J. The nano-mechanical morphology of shale. Mech. Mater. 2008, 40, 318–337. [Google Scholar] [CrossRef]
- Ulm, F.J.; Vandamme, M.; Bobko, C.; Ortega, J.A. Statistical indentation techniques for hydrated nanocomposites: Concrete, bone, and shale. J. Am. Ceram. Soc. 2007, 90, 2677–2692. [Google Scholar] [CrossRef]
- Han, Q.; Chen, P.; Ma, T.S. Influencing factor analysis of shale micro-indentation measurement. J. Nat. Gas Sci. Eng. 2015, 27, 641–650. [Google Scholar] [CrossRef]
- Han, Q.; Qu, Z.; Ye, Z.Y. Research status of shale multi-scale mechanical properties. Chin. J. Appl. Mech. 2018, 35, 564–570. [Google Scholar]
- Chen, P.; Han, Q.; Ma, T.S.; Lin, D. The mechanical properties of shale based on micro-indentation test. Pet. Explor. Dev. Online 2015, 42, 662–670. [Google Scholar] [CrossRef]
- Anderson, B.D. Simple Technique to Determine the Size Distribution of Crater Fallback and Ejecta; Final Report; NGG Tech. Report No 18; Lawrence Radiation Laboratory: Livermore, CA, USA, 1970. [Google Scholar]
- Anstis, G.R.; Chantikul, P.; Lawn, B.R.; Marshall, D.B. A Critical Evaluation of Indentation Techniques for Measuring Fracture Toughness: I, Direct Crack Measurements. J. Am. Ceram. Soc. 2010, 64, 533–538. [Google Scholar] [CrossRef]
- Anderson, T.L. Fracture Mechanics—Fundamentals and Applications; CRC Press: Boca Raton, FL, USA, 2015. [Google Scholar]
- Zhang, T. Micro/Nano Mechanical Testing Technology; Science Press: Beijing, China, 2013. [Google Scholar]
- Liang, K.M.; Orange, G.; Fantozzi, G. Evaluation by indentation of fracture toughness of ceramic materials. J. Mater. Sci. 1990, 25, 207–214. [Google Scholar] [CrossRef]
- Ouchterlony, F. Stress intensity factors for the expansion loaded star crack. Eng. Fract. Mech. 1976, 8, 447–448. [Google Scholar] [CrossRef]
- Cheng, Y.T.; Li, Z.; Cheng, C.M. Scaling relationships for indentation measurements. Philos. Mag. A 2002, 82, 1821–1829. [Google Scholar] [CrossRef]
- Yang, R.; Zhang, T.; Jiang, P.; Bai, Y. Experimental verification and theoretical analysis of the relationships between hardness, elastic modulus, and the work of indentation. Appl. Phys. Lett. 2008, 92, 1564. [Google Scholar] [CrossRef]
- Yang, R.; Zhang, T.; Feng, Y. Theoretical analysis of the relationships between hardness, elastic modulus, and the work of indentation for work-hardening materials. J. Mater. Res. 2010, 25, 2072–2077. [Google Scholar] [CrossRef]
- Liu, K.; Ostadhassan, M. Microstructural and geomechanical analysis of Bakken shale at nanoscale. J. Petrol. Sci. Eng. 2017, 153, 133–144. [Google Scholar] [CrossRef]
- Zeng, Q.; Feng, Y.; Xu, S. A discussion of “Application of nano-indentation methods to estimate nanoscale mechanical properties of shale reservoir rocks” by K Liu, M Ostadhassan and B Bubach. J. Nat. Gas Sci. Eng. 2017, 42, 187–189. [Google Scholar] [CrossRef]
- Chen, J.G.; Deng, J.G.; Yuan, J.L.; Yan, W.; Yu, B.H.; Tan, Q. Determination of fracture toughness of modes I and ii of shale formation. Yanshilixue Yu Gongcheng Xuebao/Chin. J. Rock Mech. Eng. 2015, 34, 1101–1105. [Google Scholar]















| Sample No. | Mass Percentages of Shale/% | ||||||
|---|---|---|---|---|---|---|---|
| Clay | Quartz | Orthoclase | Plagioclase | Calcite | Dolomite | Pyrite | |
| 1 | 33.6 | 17.8 | 2.1 | 3.7 | 32.9 | 9.3 | 0.6 |
| 2 | 32.1 | 14.2 | 1.6 | 2.1 | 25.4 | 2.3 | 22.3 |
| 3 | 48.3 | 38.1 | 0.8 | 6.4 | 2.8 | 2.4 | 1.2 |
| 4 | 52.3 | 30.2 | 2.5 | 3.7 | 4.2 | 6.0 | 1.1 |
© 2020 by the authors. Licensee MDPI, Basel, Switzerland. This article is an open access article distributed under the terms and conditions of the Creative Commons Attribution (CC BY) license (http://creativecommons.org/licenses/by/4.0/).
Share and Cite
Han, Q.; Qu, Z.; Wang, P.; Bi, G.; Qu, G. Applications of Micro-Indentation Technology to Estimate Fracture Toughness of Shale. Materials 2020, 13, 4208. https://doi.org/10.3390/ma13184208
Han Q, Qu Z, Wang P, Bi G, Qu G. Applications of Micro-Indentation Technology to Estimate Fracture Toughness of Shale. Materials. 2020; 13(18):4208. https://doi.org/10.3390/ma13184208
Chicago/Turabian StyleHan, Qiang, Zhan Qu, Ping Wang, Gang Bi, and Guanzheng Qu. 2020. "Applications of Micro-Indentation Technology to Estimate Fracture Toughness of Shale" Materials 13, no. 18: 4208. https://doi.org/10.3390/ma13184208
APA StyleHan, Q., Qu, Z., Wang, P., Bi, G., & Qu, G. (2020). Applications of Micro-Indentation Technology to Estimate Fracture Toughness of Shale. Materials, 13(18), 4208. https://doi.org/10.3390/ma13184208
