Next Article in Journal
Characteristics of CO2 Hydrate Formation and Dissociation in Glass Beads and Silica Gel
Previous Article in Journal
Direct Observation of THF Hydrate Formation in Porous Microstructure Using Magnetic Resonance Imaging
 
 
Font Type:
Arial Georgia Verdana
Font Size:
Aa Aa Aa
Line Spacing:
Column Width:
Background:
Article

Comparative Experimental Analysis of the Thermal Performance of Evacuated Tube Solar Water Heater Systems With and Without a Mini-Compound Parabolic Concentrating (CPC) Reflector(C < 1)

1
Department of Thermal Science and Energy Engineering, University of Science and Technology of China, 96 Jinzhai Road, Hefei 230026, China
2
Institute of Sustainable Energy Technology, University of Nottingham, University Park, Nottingham NG7 2RD, UK
*
Authors to whom correspondence should be addressed.
Energies 2012, 5(4), 911-924; https://doi.org/10.3390/en5040911
Submission received: 17 January 2012 / Revised: 24 February 2012 / Accepted: 22 March 2012 / Published: 10 April 2012

Abstract

:
Evacuated tube solar water heater systems are widely used in China due to their high thermal efficiency, simple construction requirements, and low manufacturing costs. CPC evacuated tube solar water heaters with a geometrical concentration ratio C of less than one are rare. A comparison of the experimental rig of evacuated tube solar water heater systems with and without a mini-CPC reflector was set up, with a series of experiments done in Hefei (31°53'N, 117°15'E), China. The first and second laws of thermodynamics were used to analyze and contrast their thermal performance. The water in the tank was heated from 26.9 to 55, 65, 75, 85, and 95 °C. Two types of solar water heater systems were used, and the data gathered for two days were compared. The results show that when attaining low temperature water, the evacuated tube solar water heater system without a mini-CPC reflector has higher thermal and exergy efficiencies than the system with a mini-CPC reflector, including the average and immediate values. On the other hand, when attaining high temperature water, the system with a mini-CPC reflector has higher thermal and exergy efficiencies than the other one. The comparison presents the advantages of evacuated tube solar water heater systems with and without a mini-CPC reflector, which can be offered as a reference when choosing which solar water system to use for actual applications.

1. Introduction

Evacuated tube solar water heater systems are widely used in China. Their advantages include their high thermal efficiency, simple construction requirements, and low manufacturing costs. In recent years, a number of studies have been conducted on evacuated tube solar water heater systems. Budihardjo et al. [1,2,3] investigated their components such as collector optical efficiency, collector heat loss, storage tank heat loss, and natural circulation flow rate through collector tubes. Kim et al. [4] studied glass evacuated tubes with a coaxial fluid conduit inserted in each tube using a one-dimensional model. Han et al. [5] performed a three-dimensional performance analysis using computational fluid dynamics. Kim et al. [6] examined four different shapes of absorber tube such as finned tubes, a U tube welded inside a circular fin, a U tube welded on a copper plate, and a U tube welded inside a rectangular duct using a numerical method, and they found the best absorber tube shape for a solar collector. Ma [7], Liang [8], and Duffie [9] analyzed the thermal performance of a glass evacuated tube solar collector based on the energy balance for a U tube glass evacuated tube solar collector. With the rapid advancements in society, a higher temperature is needed in a number of applications such as air conditioning, refrigeration, building heating, sea water desalination, and industrial heating, among others. Evacuated solar collectors do not only supply domestic hot water or heating (below 60 °C), but they can also operate as solar pre-heaters with a boost tank, an instantaneous gas heater, or a single-tank system with a boost element incorporated in the solar tank for higher-temperature application fields (above 60 °C).
The performance of the evacuated tube solar water heater system is affected by its design and operation, and by environmental factors. Currently, concentrated solar collectors are used widely because of their stable performance. In terms of solar water heater systems, CPC is undoubtedly the best choice because it does not need a tracking system, and it can decrease the cost of moving parts if the concentration ratio is low. Rabl [10] and Tchinda et al. [11] examined a detailed thermal performance of a CPC with a flat, one-sided absorber [12] and a CPC with a straight-through evacuated tube [13].
Evacuated tube solar water heater systems with and without CPC reflectors have their respective advantages and application scopes. The former generally provides hot water or floor heating energy, whereas the latter provides higher temperature for other applications, such as industrial washing. The two types of heating systems have different performance advantages after attaining different heating temperatures. According to the definition of Mills [14], the geometrical concentration ratio C can be expressed as:
C = W 2 π r
where W is the slot top width and r is the radius of the evacuated tube.
O’Gallagher [15] and Sharma [16] et al. studied the advantages of the different types of CPC-evacuated tube solar receivers. However, the geometrical concentration ratio C is almost always greater than one or equal to one. CPCs with a geometrical concentration ratio C of less than one are rare. In practical applications, a CPC will always be truncated for economic reasons [10]. Thus, a mini-CPC offers more economic advantages. The mini-CPC can also be easily transported, easily installed and maintained for domestic application, and the reflectors cannot be easily deformed or broken, making it more suitable for business promotion. Therefore, a study of the mini-CPC (C < 1) evacuated tube solar water heater system is significant.
Exergy analysis is a powerful tool that has been used widely in the performance analysis of solar water heater systems. It can detect and evaluate quantitatively the maximum useful work that can be done by a solar water heater. Xiaowu and Ben [17] performed exergy analysis for a domestic-scale solar heater. Gunerhan and Hepbasli [18] performed an exergetic modeling and performance evaluation of a solar water heating system for building applications.
In this paper, a comparison of the experimental rig of evacuated tube solar water heater systems with and without a mini-CPC(C < 1) reflector was conducted for introducing the performance of SWH with the mini-CPC better, with a series of comparative experiments done in Hefei, China. The first and second laws of thermodynamics were used to analyze and contrast the thermal performance of the two systems with and without a mini-CPC reflector.
The water in the tank was heated from 26.9 to 55, 65, 75, 85, and 95 °C using the two types of solar water systems. The average thermal and exergy efficiencies of the two systems were analyzed. Moreover, the data gathered for two days were compared. The initial and final water temperatures of them were similar respectively. The immediate thermal and exergy efficiencies of the two systems were also analyzed.
The changes or differences in the performance led by the mini-CPC are clearly seen through a comparative experimental study and exergetic analysis of their thermal performance. When the temperature requirement in applications is low, the evacuated tube solar water heater system without a mini-CPC reflector offers some advantages. On the other hand, when the temperature requirement in applications is high, the evacuated tube solar water heater system with a mini-CPC reflector is more suitable.

2. Experimental Rig and Test Device

2.1. Experimental Rig Design

The comparative experimental rig of the evacuated tube solar water heater systems with and without a mini-CPC reflector is shown in Figure 1.
Figure 1. Comparison experimental rig of solar water heater systems.
Figure 1. Comparison experimental rig of solar water heater systems.
Energies 05 00911 g001
The experimental rig consists mainly of an evacuated tube solar water heater collector with and without a mini-CPC reflector, one circulating pump, one storage tank, and other components. Every component is linked by bellows. In order to keep the other structure parameters of the comparison system consistent, including the length of bellows, the comparison systems shared all other parts of the experimental rig except the collectors. The evacuated tube collectors with and without a mini-CPC reflector were parallel, and water was circulated between the collectors and the storage tank. When the control valves F3 and F4 were open and F5 and F6 were closed, the evacuated tube solar water heater system with a mini-CPC reflector was operated; when the control valves F5 and F6 were open and F3 and F4 were closed, the evacuated tube solar water heater system without a mini-CPC reflector was operated.
The area of the evacuated tube collectors without a mini-CPC reflector is 2.52 m2 (the standard distance of two evacuated tube cores is 70 mm), and that of the evacuated tube collectors with a mini-CPC reflector is 4.00 m2, including the umbriferous area of the reflectors. The two collectors have the same amount of evacuated tube. The water storage tank was provided with polyurethane foam and fixed vertically to the ground.
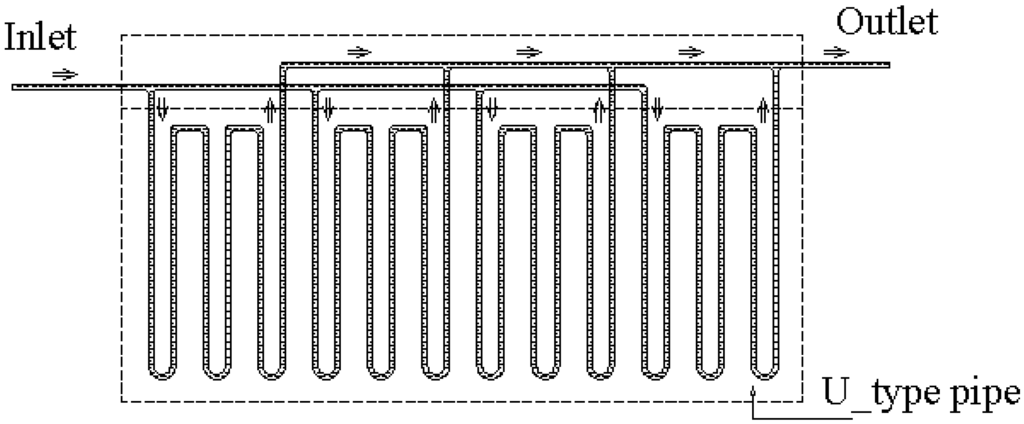
One opening at the top of the tank served as the site for thermocouple insertion. The two systems both utilized the evacuated tube with U-type pipe. The only difference was whether the collectors had a mini-CPC reflector (as shown in Figure 2). The specific structure parameters and materials of the evacuated tube solar water heater systems with and without a mini-CPC reflector are shown in Table 1.
Figure 2. Construction of solar collector modules.
Figure 2. Construction of solar collector modules.
Energies 05 00911 g002
Table 1. Structure parameters and materials.
Table 1. Structure parameters and materials.
TypeParameter Size/ mm
Evacuated tube (Linuo Ritter Co. Ltd., China):Material High borosilicate 3.3 glass
Length1500
Diameter of the envelope47
Diameter of the inner tube37
U-type pipe:Material Copper
Diameter0.8
Thickness0.07
Bellows:Material Stainless steel
Length7500
Diameter15
Reflector (Paradigma Co. Germany):MaterialNano-ceramic composites
Slot top width114.0
Height26.6
Conductor strip:Material Aluminum
The absorber is a high borosilicate 3.3 glass evacuated tube which has the advantages of high light transmittance, low expansion rate, and low emission rate, with each collector having 12 evacuated tubes. The U-type pipe in the inner tube of the evacuated tube is shown in Figure 2. The space between the envelope and the inner tube was under vacuum, and the inner tube was plated with a receiver jacket. The heat absorbed by the inner tube was conducted to the U-type pipe through a conduct strip, and through hierarchy heating technology, the water in the U-type pipe can be heated to a higher temperature.
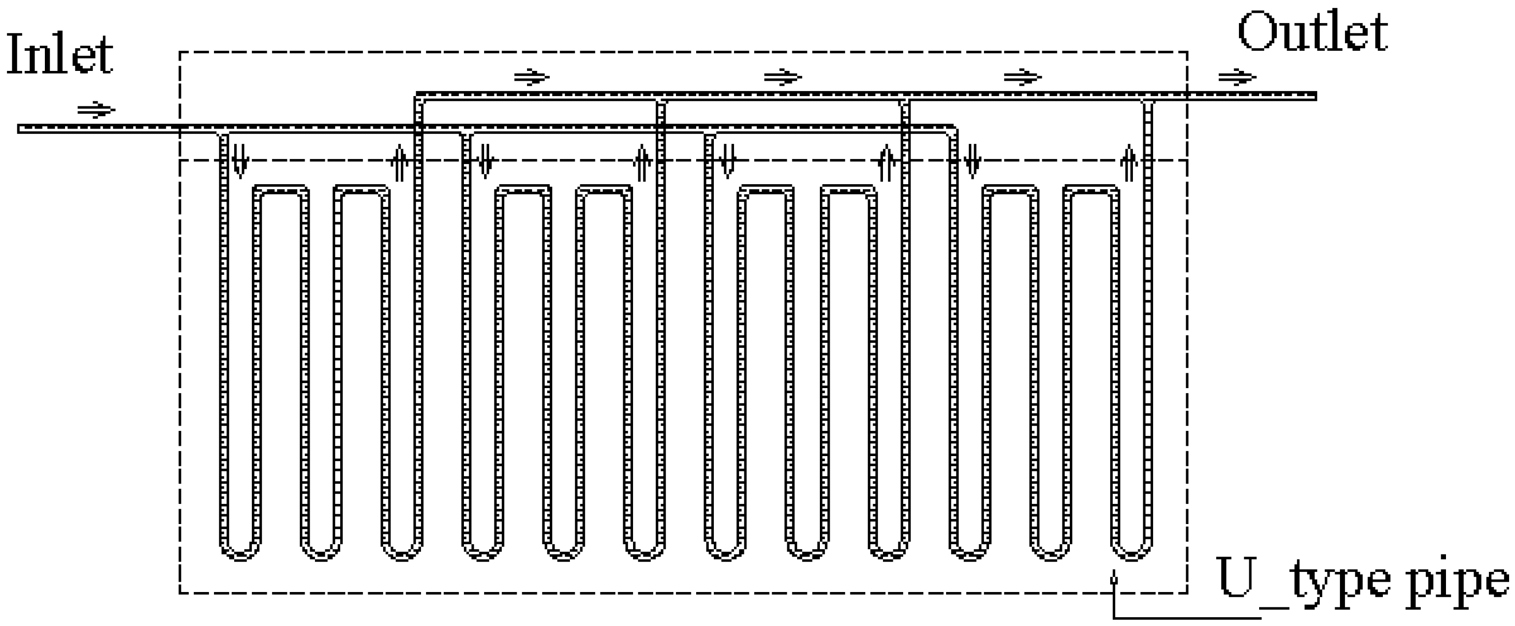
In each collector, there are four groups of U-type pipe which are parallel to one another, with each group having three series U-type pipes, as shown in Figure 3. Figure 3 also shows the water flow route in the whole collector.
Figure 3. Flow chart of the U-type pipe.
Figure 3. Flow chart of the U-type pipe.
Energies 05 00911 g003

2.2. Test Device of the Experiment

The test equipment and its components are shown in Table 2.
Table 2. Specification of the test components.
Table 2. Specification of the test components.
Test equipmentSpecificationProduction siteQuantityPositionUncertainty
Pressure Gauge0–1.0 MPaHangzhou, China (Fuyang Huada Co.)1Loop Pump outlet 0.02 MPa
Thermocouple0.2 mm copper-constantanHomemade9collector inlet; outlet; storage water tanks, etc.0.2–0.5 K
PyranometerTBQ-2Jinzhou, China (Sun Co.)1Near experimental rig____
Flowmeter 1,21:7K-2.8/2.3 typeChangzhou, China1Tap water inlet;0.1 L
2:RS15/6 (WILO)Germany1Collector inlet<0.1 L
Environmental temperature monitorJZH-1Jinzhou, China (Sun Co.)1Near experimental rig____
Others: Data Acquisition Instrument: Agilent 34970A (USA), test computer, electrical wires, etc.

2.3. Error Analysis

The accuracy of the instrument determined the experimental error of the corresponding independent variable, such as temperature and total irradiance, while the experimental error of the dependent variables, such as the overall system heat gain Qsys and the overall system thermal efficiency ηsys can be calculated from the experimental error of the independent variables.
According to the literature report by Ji et al. [19], the relative error (RE) of the dependent variable y can be calculated as follows:
R E = d y y = f x 1 d x 1 y + f x 2 d x 2 y + ... + f x n d x n y
y = f ( x 1 , x 2 , ... , x n )
where xi (i = 1,…,n) is the variable of the dependent variable y. ∂f/∂x is the error transferring coefficient of the variables.
The experimental relative mean error (RME) during the test period can be expressed as:
R M E = 1 N | R E | N
According to the Equations 2–4, the RME of all variables is calculated and the results are given in Table 3.
Table 3. The experimental RME of the variables.
Table 3. The experimental RME of the variables.
VariableTwGQsysηsys
RME0.0597%1.0%0.458%1.458%

3. Testing and Evaluation

3.1. Profiles of the Experiment Test

The comparison of the solar water heater systems with and without a CPC reflector was conducted from December 2010 to April 2011 at the University of Science and Technology of China, Heifei, Anhui Province, PRC (31°53'N, 117°15'E), which has a moderate climate. Throughout the testing period, the collectors faced south at a 36° tilt angle.

3.2. Evaluation of Overall Performance

3.2.1. First Efficiency Law of the System

For the entire system, the heating capacity obtained by the water in the tank is as follows:
Q ˙ s y s = m w _ t a n k c d T ¯ d t
where T ¯ is the average water temperature in the tank.
The overall system thermal efficiency ηsys is calculated by:
η s y s = t 1 t 2 Q ˙ s y s d t A c t 1 t 2 G d t
where G is the density irradiance, W/m2; and Ac is the total area of the collector.

3.2.2. Second Law Efficiency of the System

Earlier assessments of domestic-scale solar water heater systems were based on the first law of thermodynamics. However, this kind of assessment cannot describe efficiently the performance of solar water heater systems because the essence of energy utilization is the extraction of available energy as much as possible. Therefore, an evaluation of solar water heater systems based on the second thermodynamic law is necessary. The exergy analysis method was based on the second law of thermodynamics, which revealed a system with a reasonable degree of energy. The method can also evaluate better the performance of solar water heater systems.
For the entire system, the exergy efficiency of solar water heater systems may be calculated as follows:
ε s y s = t 1 t 2 E ˙ x   o u t p u t d t t 1 t 2 E ˙ x   s u n d t
where the exergy obtained in the storage tank may be written as follows [20], and E ˙ x   o u t p u t may be calculated by:
E ˙ x   o u t p u t = Q ˙ s y s ( 1 T a T ¯ )
and is E ˙ x   s u n the exergy from the sun and may be obtained as follows:
E ˙ x   s u n = A c G φ s r a d , max
where φ s r a d , max is the maximum efficiency ratio for determining the exergy of thermal emission at temperature T [21] and is calculated as follows:
φ s r a d , max = 1 + 1 3 ( T a T ) 4 4 3 T a T
where T is equal to the solar radiation temperature at 6000 K in the exergetic evaluation of solar water heater systems.

4. Experimental Results and Discussion

The thermal efficiencies of SWH system with mini-CPC in case 1–11 were fitted to a linear function to correspond to mutual relationships among the variables, as shown in Figure 4.
Figure 4. Thermal efficiency fit curve of the experimental results solar water heater system with mini-CPC.
Figure 4. Thermal efficiency fit curve of the experimental results solar water heater system with mini-CPC.
Energies 05 00911 g004
The thermal efficiency equation is as follows:
η s y s = 0.5551 0.96787 T i T ¯ a G ¯
Using this equation, the thermal efficiency intercept was 0.5551, and the coefficient of total heat loss was small at only 0.96787 W/(m2·°C).
To order to introduce the changes or differences led by the mini-CPC and express the performance more clearly, the two series of comparison experiment was made. The first series is that the evacuated tube solar water heater systems with and without mini-CPC reflectors were used to heat water from 26.9 °C to 55, 65, 75, 85, and 95 °C under similar environmental conditions and the average thermal efficiency as well as the average exergy efficiency of the five groups experiments were contrasted. The second series is that we chose the experimental data on April 18 and 20 due to the fact the environmental parameters during the tests of the two days were similar and their immediate thermal and exergy efficiency were contrasted. The two series of the comparison experiments were independent.
In the first series of comparison experiments, the pressure drop from water inlet to outlet is about 0.1 MPa. In the present experiment, the average irradiation density and average environment temperature of the evacuated tube solar water heater system without a mini-CPC were 695 W/m2 and 18.1 °C, respectively, and the average irradiation density and average environment temperature of the evacuated tube solar water heater system with a mini-CPC were 671 W/m2 and 16.0 °C, respectively. Based on the data, the average irradiation density and average environment temperature of the evacuated tube solar water heater system without a mini-CPC reflector was slightly higher than those of the system with a mini-CPC reflector. However, the environmental parameters in the series of experiments show that the difference in test environmental conditions is not significant and that the environmental conditions are stable.
From Figure 5, it can be seen that when the temperature of the obtained hot water is 55, 65, and 75 °C, the average thermal efficiency of the evacuated tube solar water heater system without a mini-CPC reflector is higher than that of the system with a mini-CPC reflector. However, when the temperature of the obtained hot water is 85 and 95 °C, the average thermal efficiency of the former is lower than that of the latter. Further, the average thermal efficiency of the evacuated tube solar water heater system with a mini-CPC reflector decreases slower and is more stable than that of the solar water heater system without a mini-CPC reflector.
Figure 5. Average thermal efficiency of the five groups of comparison experiments.
Figure 5. Average thermal efficiency of the five groups of comparison experiments.
Energies 05 00911 g005
It is shown in Figure 6 that the average exergy efficiency of the five groups of comparison experiments with water temperatures of 55, 65, 75, 85, and 95 °C, respectively. When the temperature of the hot water is high, the average exergy efficiency is also high; this trend is opposite that of the average thermal efficiency. The average exergy efficiency growth trend of the evacuated tube solar water heater system with a mini-CPC reflector is obvious, with its average exergy efficiency increasing initially, and then maintaining stability. Further, when the temperature of the water is low, such as at 55 °C, the average exergy efficiency of the evacuated tube solar water heater system with a mini-CPC reflector is lower than that of the system without a mini-CPC reflector. However, when the temperature of the water is high, such as at 85 and 95 °C, the average exergy efficiency of the former is larger than that of the latter.
Figure 6. Average exergy efficiency of the five groups of comparison experiments.
Figure 6. Average exergy efficiency of the five groups of comparison experiments.
Energies 05 00911 g006
From Figure 5 and Figure 6, the advantages of both systems are evident. When the final required water temperature is low, such as below 75 °C which is suitable for residential hot water and floor heating, among others, the evacuated tube solar water heater system without a mini-CPC reflector presents obvious advantages. However, when the final water temperature required is high, such as above 75 °C which is suitable for heat sink heating and industrial washing, among others, the evacuated tube solar water heater system with a mini-CPC reflector presents significant advantages.
To explain further these advantages, the second series comparison experiments test results of the evacuated tube solar water heater system without a mini-CPC reflector on 18th April (producing 65 L of hot water) and those of the evacuated tube solar water heater system with a mini-CPC reflector on April 20 (producing 85 L of hot water) were analyzed and compared.
The evacuated tube solar water heater systems with and without a mini-CPC reflector were parallel, and they were tested individually to reduce the influence of non-collector parts. The environment parameters during the tests were similar so that the comparison of results can be significant.
From Figure 7, the irradiation density on 18th April is slightly higher than that on 20th April, but the environment temperature is slightly lower. During the test, the temperature of the water in the tank was heated from 35.5 ± 1 °C to 80.8 ± 1 °C. The test using the evacuated tube solar water heater system without a mini-CPC reflector on 18th April began at 7:30 AM and was completed at 13:05. Therefore, the irradiation fluctuation in the afternoon did not affect the test. Meanwhile, the test using the evacuated tube solar water heater system with a CPC reflector on 20th April began at 7:30 AM and was completed at 11:30 AM. So the date after 11:30 AM is also not important.
Figure 8 shows the immediate thermal and exergy efficiencies on 18th April and 20th April. During the test, the immediate efficiencies of the evacuated tube solar water heater systems with and without a mini-CPC reflector show a clear downtrend. In the initial stage, the immediate efficiency of the evacuated tube solar water heater system without a mini-CPC reflector is higher than that of the system with a mini-CPC reflector.
Figure 7. 18th April and 20th April environment parameters.
Figure 7. 18th April and 20th April environment parameters.
Energies 05 00911 g007
Figure 8. Immediate efficiency on 18th April and 20th April.
Figure 8. Immediate efficiency on 18th April and 20th April.
Energies 05 00911 g008
However, the former immediate thermal efficiency curve declines rapidly. Therefore, when the water temperature in the tank is high, the immediate thermal efficiency of the evacuated tube solar water heater system without a mini-CPC reflector is lower than that of the system with a mini-CPC reflector. As shown in Figure 7, when the water temperature in the tank is 70 °C, the immediate thermal efficiency of the evacuated tube solar water heater system without a mini-CPC reflector is 29.6%, whereas that of the system with a mini-CPC reflector is 35.4%. Therefore, the increase in temperature in high-temperature applications using the evacuated tube solar water heater system with a mini-CPC reflector is faster if the quality of the water heated is the same.
On the other hand, the immediate exergy efficiencies of the two systems maintain their stability and increase slightly. When the water temperature in the tank is high, such as 70 °C, the immediate exergy efficiency of the evacuated tube solar water heater system without a mini-CPC reflector is lower than that of the system with a mini-CPC reflector. Therefore, a higher quality of heat energy using the evacuated tube solar water heater system with a mini-CPC reflector can be obtained when a higher water temperature is required.

5. Conclusions

A comparison of the experimental rig of evacuated tube solar water heater systems with and without a mini-CPC reflector was conducted. The results of the comparative tests were presented. The other parts of the two solar water heater systems were all the same, except the solar collectors.
When attaining low water temperatures, the evacuated tube solar water heater system without a mini-CPC reflector has higher thermal and exergy efficiencies regardless of the average or immediate values. When attaining high water temperatures, the evacuated tube solar water heater system without a mini-CPC reflector has lower thermal and exergy efficiencies regardless of the average or immediate values.
Therefore, the evacuated tube solar water heater system without a mini-CPC reflector is more suitable for applications requiring low temperature, such as residential hot water and floor heating, among others. Meanwhile, the evacuated tube solar water heater system with a mini-CPC reflector is more suitable for applications requiring a high temperature, such as air conditioning, refrigeration, building heating, sea water desalination, and industrial heating, solar low-temperature heat power generation among others. In addition, the mini-compound parabolic concentrator, due to the mini-structure, has some advantages on the structure stability, the transportation convenience and installation of the immobility and so on. The evacuated tube solar water heater system with a mini-CPC reflector is still based on the existing evacuated tube solar water heater, so no matter the cost or use methods, it is also easier to popularize for distributed or integrated engineering application.

Nomenclature

A
area, m2
c
specific heat capacity, J/kg K
G
total irradiance density, W/m2
G
average irradiance density, W/m2
m
quality, kg
Q
quantity of heat, J
T
temperature, °C
T
average temperature, °C
t
time, s
Us
coefficient of overall system loss rate, W/(m2·°C)
Ex
exergy, J

Greek letters

α
absorptivity
ε
emissivity
η
efficiency
ρ
Reflector reflectivity
φsrad,max
exergy to energy ratio for radiation
τsrad,max
transmitivity

Subscripts

a
environment reference
c
collector
g
glass pipe
i
initial
output
the output
R
reflector
sun
the sun
sys
system
w_tank
water in the tank
1
the start
2
the end

Acknowledgments

The study was sponsored by (1) National Basic Research Program of China (2011CB211703), (2) the National Science Foundation of China (NSFC 50974150, 51178442), (3) the Project of EU Marie Curie International Incoming Fellowships (PIIF-GA-2009-253945).

References

  1. Budihardjo, I. Evacuated Tubular Solar Water Heaters. Ph.D. Dissertation, The University of New South Wales, Australia, 2005. [Google Scholar]
  2. Budihardjo, I.; Morrison, G.L.; Behnia, M. Development of TRNSYS Models for Predicting the Performance of Water-in-glass Evacuated Tube Solar Water Heater Systems in Australia. In Proceedings of the ANZSES Annual Conference, Melbourne, Australia, 27–29 November 2003.
  3. Budihardjo, I.; Morrison, G.L.; Behnia, M. A Study of Natural Circulation Flow Rate through Single-ended Evacuated Tube Solar Collectors. In Proceedings of the ISES Solar World Congress, Orlando, FL, USA, 8–12 August 2005.
  4. Kim, J.T.; Ahn, H.T.; Han, H.; Kim, H.T.; Chun, W. The performance simulation of all glass evacuated tubes with coaxial fluid conduit. Int. Commun. Heat Mass Transf. 2007, 34, 587–597. [Google Scholar] [CrossRef]
  5. Han, H.; Kim, J.T.; Ahn, H.T.; Lee, S.J. A three-dimensional performance analysis of all-glass evacuated tubes with coaxial fluid conduit. Int. Commun. Heat Mass Transf. 2008, 35, 589–596. [Google Scholar] [CrossRef]
  6. Kim, Y.; Seo, T. Thermal performances comparisons of the glass evacuated tube solar collectors with shapes of absorber tube. Renew. Energy 2007, 32, 772–795. [Google Scholar] [CrossRef]
  7. Ma, L.; Lu, Z.; Zhang, J.; Liang, R. Thermal performance analysis of the glass evacuated tube solar collector with U-tube. Build. Environ. 2010, 45, 1959–1967. [Google Scholar] [CrossRef]
  8. Liang, R.; Ma, L.; Zhang, J.; Zhao, D. Theoretical and experimental investigation of the filled-type evacuated tube solar collector with U tube. Sol. Energy 2011, 85, 1735–1744. [Google Scholar] [CrossRef]
  9. Duffie, J.A.; Bechman, W.A. Solar Engineering of Thermal Processes; John Wiley & Sons: New York, NY, USA, 1980. [Google Scholar]
  10. Rabl, A. Optical and thermal properties of compound parabolic concentrators. Sol. Energy 1976, 18, 497–511. [Google Scholar] [CrossRef]
  11. Tchinda, R.; Kaptouom, E.; Njomo, D. Study of the CPC collector thermal behavior. Energy Convers. Manag. 1998, 39, 1395–1406. [Google Scholar] [CrossRef]
  12. Tchinda, R.; Ngos, N. A theoretical evaluation of the thermal performance of CPC with flat one-sided absorber. Int. J. Heat Mass Tranf. 2006, 33, 709–718. [Google Scholar] [CrossRef]
  13. Hsieh, C.K. Thermal analysis of CPC collectors. Sol. Energy 1981, 27, 19–29. [Google Scholar] [CrossRef]
  14. Mills, D.R.; Monger, A.; Morrison, G.L. comparison of fixed asymmetrical and symmetrical reflectors for evacuated tube solar receivers. Sol. Energy 1994, 53, 91–104. [Google Scholar] [CrossRef]
  15. O’Gallagher, J.J.; Snail, K.; Winston, R.; Peek, C.; Garrison, J.D. A new evacuated CPC collector tube. Sol. Energy 1982, 29, 575–577. [Google Scholar] [CrossRef]
  16. Sharma, N.; Diaz, G. Performance model of a novel evacuated-tube solar collector based on minichannels. Sol. Energy 2011, 85, 881–890. [Google Scholar] [CrossRef]
  17. Wang, X.; Hua, B. Exergy analysis of domestic-scale solar water heaters. Renew. Sustain. Energy Rev. 2005, 9, 638–645. [Google Scholar] [CrossRef]
  18. Gunerhan, H.; Hepbasli, A. Exergetic modeling and performance evaluation of solar water heating system for building applications. Energy Build. 2007, 39, 509–516. [Google Scholar] [CrossRef]
  19. Ji, J.; He, H.F.; Chow, T.T.; Pei, G.; He, W.; Liu, K.L. Distributed dynamic modeling and experimental study of PV evaporator in a PV/T solar-assisted heat pump. Int. J. Heat Mass Tranf. 2009, 52, 1365–1373. [Google Scholar] [CrossRef]
  20. Chow, T.T.; Pei, G.; Fong, K.F.; Lin, Z.; Chan, A.L.S.; Ji, J. Energy and exergy analysis of photovoltaic-thermal collector with and without glass cover. Appl. Energy 2009, 86, 310–316. [Google Scholar] [CrossRef]
  21. Petela, R. Exergy analysis of the solar cylindrical-parabolic cooker. Sol. Energy 2005, 79, 221–233. [Google Scholar] [CrossRef]

Share and Cite

MDPI and ACS Style

Pei, G.; Li, G.; Zhou, X.; Ji, J.; Su, Y. Comparative Experimental Analysis of the Thermal Performance of Evacuated Tube Solar Water Heater Systems With and Without a Mini-Compound Parabolic Concentrating (CPC) Reflector(C < 1). Energies 2012, 5, 911-924. https://doi.org/10.3390/en5040911

AMA Style

Pei G, Li G, Zhou X, Ji J, Su Y. Comparative Experimental Analysis of the Thermal Performance of Evacuated Tube Solar Water Heater Systems With and Without a Mini-Compound Parabolic Concentrating (CPC) Reflector(C < 1). Energies. 2012; 5(4):911-924. https://doi.org/10.3390/en5040911

Chicago/Turabian Style

Pei, Gang, Guiqiang Li, Xi Zhou, Jie Ji, and Yuehong Su. 2012. "Comparative Experimental Analysis of the Thermal Performance of Evacuated Tube Solar Water Heater Systems With and Without a Mini-Compound Parabolic Concentrating (CPC) Reflector(C < 1)" Energies 5, no. 4: 911-924. https://doi.org/10.3390/en5040911

APA Style

Pei, G., Li, G., Zhou, X., Ji, J., & Su, Y. (2012). Comparative Experimental Analysis of the Thermal Performance of Evacuated Tube Solar Water Heater Systems With and Without a Mini-Compound Parabolic Concentrating (CPC) Reflector(C < 1). Energies, 5(4), 911-924. https://doi.org/10.3390/en5040911

Article Metrics

Back to TopTop