You are currently viewing a new version of our website. To view the old version click .
Energies
  • Review
  • Open Access

2 July 2025

Decommissioning of the BN-350 Fast Neutron Reactor: History Review and Current Status

,
,
,
and
Institute of Atomic Energy NNC RK, 10 Beibyt Atom st., Kurchatov 180010, Kazakhstan
*
Author to whom correspondence should be addressed.
This article belongs to the Section B4: Nuclear Energy

Abstract

This article is devoted to an overview of the conducted work and the current status of decommissioning of the world’s first BN-350 industrial fast neutron reactor. The reactor was put into operation on 16 July 1973 in Aktau. In 1999, the government of Kazakhstan decided to shut down the reactor, and from that moment to the present, it has been in the decommissioning stage. All work on decommissioning the reactor facility was grouped into five stages. The first stage was completed in 2010 when the spent fuel of the BN-350 reactor was placed for long-term storage. The second stage is nearing completion. Research is currently underway to develop technologies for processing radioactive sodium. The goal of the third and fourth stages of the BN-350 reactor decommissioning is the comprehensive processing of liquid and solid radioactive waste. Now such waste is stored in special storage directly on the territory of the nuclear power plant.

1. Introduction

The BN-350 reactor is the world’s first industrial fast neutron reactor. The reactor was put into operation on 16 July 1973 in Aktau (modern Kazakhstan) with a design service life of 20 years [1].
The history of the BN-350 reactor’s creation and operation is an important step in the industrial development of fast neutron reactors with sodium coolant. The choice of technical solutions in the BN-350 reactor served as the basis for the design and commissioning of the improved BN-600 [2] and BN-800 [3] projects, as well as the design of the modern BN-1200M serial fast neutron reactor [4].
The reactor’s design life ended in 1993. A program was accepted to extend the service life of the BN-350 reactor by 10 years (until 2003) due to the average reactor power being ~60% of the design during operation since 1973. This program included repairs and upgrades to provide the service life of the equipment and bring the reactor into accordance with modern safety requirements [5].
However, the BN-350 reactor modernization program was conducted with large delays due to the financial crisis in the late 1990s. The investment required to complete the work at the end of 1998 to extend the service life of the reactor was still so large that the costs were not recouped during the remaining operating time. In this regard, the BN-350 reactor was decommissioned on 22 April 1999 according to the resolution of the government of Kazakhstan, and from that moment to the present, it has been in the decommissioning stage [6]. Figure 1 shows a photo of the reactor hall during the operation of the BN-350 reactor.
Figure 1. The BN-350 fast neutron reactor.
A special feature of the BN-350 reactor decommissioning is that there are eight industrial fast reactors in the world that are either in conservation or at the stage of decommissioning [7,8,9]. Consequently, there is currently little experience in decommissioning industrial fast neutron reactors in the world.
The further development of modern nuclear energy involves the creation of a two-component system with a joint closed fuel cycle based on fast and thermal reactors [10]. In this regard, the construction of industrial fast reactors is expected to increase in the future. Thus, it is obvious that the experience of the BN-350 reactor decommissioning will serve as the basis for the development of similar projects for future nuclear power plants with fast neutron reactors.

2. The Main Stages of BN-350 Reactor Decommissioning and Their Current Status

A plan of priority activities for the reactor decommissioning was developed after the reactor shutdown. All work on decommissioning the reactor facility was grouped into five stages, taking into account the design features of the BN-350 reactor [11].
The first stage concerns spent fuel management; the second, radioactive sodium management of the first and second cooling circuits; the third, solid radioactive waste management; and the fourth, liquid radioactive waste management. The last stage is related to the preparation of buildings and engineering systems of the BN-350 reactor for safe long-term storage. The completion of the fifth stage means the final decommissioning of the BN-350 reactor. Thus, the fifth stage cannot be implemented before the completion of the other stages.

2.1. The First Stage—The Placement of Spent Fuel from the BN-350 Reactor for Long-Term Storage

The first stage of the BN-350 reactor decommissioning project included activities related to the management of spent nuclear fuel (SNF), namely placing SNF in long-term storage. A total of almost 2800 spent fuel assemblies were accumulated after the shutdown of the BN-350 reactor. The fuel assemblies of the SNF were packed in sealed sextuple and quadruple stainless-steel cases and placed in the spent fuel pool. Each case is a stainless-steel tube with a bottom and a lid made of steel. The lid is provided with a head for handling the case and two small connecting pipes for filling the case with argon. As a result, all spent fuel was packed in 479 cases [12,13].
A feature of the BN-350 reactor’s nuclear fuel is that it consisted of almost three tons of weapons-grade plutonium and ten tons of highly enriched uranium. The security concerns were of particular importance due to the large amount of Pu-239 in spent fuel assemblies. The initial assessment showed that the accumulated material is sufficient to produce 775 units of nuclear weapons [14,15].
Thus, the main task of these works was to ensure nuclear and radiation safety during the packaging, transportation, and long-term storage of spent BN-350 nuclear fuel and to prevent unauthorized access to it.
All activities related to the management of SNF included the following directions:
(1)
Selection of a site and technology for long-term storage of SNF;
(2)
Assessment of the state of spent fuel assemblies for their safe packaging and transportation, as well as providing safe long-term storage at the placement site;
(3)
Selection of a construction of containers for transportation and designing a long-term storage facility of SNF;
(4)
Transportation of containers with SNF for long-term storage.
Data was collected to assess potential sites for long-term storage of the SNF of the BN-350 reactor (11 sites in total were assessed) and the technology of SNF storage. The Baikal-1 research reactor complex of the National Nuclear Center of the Republic of Kazakhstan, located on the territory of the former Semipalatinsk test site, was selected as a site for long-term storage of SNF. The dry storage method was selected for long-term storage of SNF [16].
An assessment of the state of spent fuel assemblies was conducted as part of the preparation of SNF for transportation and long-term storage. This was necessary to identify spent fuel assemblies that could not be subjected to regular transport operations during mass packaging without concern related to their destruction or the occurrence of a dangerous situation. Criteria for assessing the fuel assembly state were determined. If the fuel assembly did not meet one of these criteria, then it had to be individually packaged in order to avoid emergencies [17].
It was proposed to use an eight-seat dual-use transport packaging container (TUK) for the transportation and storage of spent nuclear fuel. The design of the TUK (the TUK-123 project for the BN-350 reactor SNF) was carried out by the “Design Bureau of Special Engineering” company in accordance with the rules and regulations in the field of atomic energy use and the recommendations of the IAEA [18].
The TUK-123 includes two main structural elements: a storage packaging complex (UKKh-123) for temporary and long-term storage of eight cases with SNF and a protective damping casing (ZDK) to reduce the mechanical loads on the UKKh-123 in emergency conditions during transportation to a level that ensures tightness and radiation protection properties. The ZDK was used only in transportation. Figure 2 shows the general view of the UKKh-123 without the ZDK and the scheme of the TUK-123 [19,20].
Figure 2. Appearance and scheme of the BN-350 reactor SNF storage and transportation container. 1—ZDK; 2—metal concrete container; 3—spacer grid; 4—SNF; 5—cases with SNF.
All main activities related to the assessment of the use of the TUK-123 and the location of the long-term SNF storage facility, the design and manufacture of special railway and truck transporters, and the construction of a long-term storage facility and transshipment point in Kurchatov were completed by the end of 2009 [21,22,23].
In 2010, the 60 TUK-123s were transported from Aktau to Kurchatov by railway transport (Figure 3a,b) and then transported by truck transport (Figure 3c) for long-term storage at the “Baikal-1” complex site for a period of 50 years [24].
Figure 3. The main stages of BN-350 reactor SNF transportation for long-term storage. (a) Railway transporter; (b) transshipment site in Kurchatov; (c) truck transporter.
Thus, the first stage of the BN-350 reactor decommissioning was completed in 2010 after the SNF was placed in long-term storage at the “Baikal-1” complex site (Figure 4). Currently, various studies are being conducted aimed at meeting the criteria of nuclear safety and radiation protection throughout the entire design life of the storage facility. They include studies of the functionality of the structural materials of the fuel assemblies of the BN-350 reactor after their operation in conditions of long-term dry storage and assessments of the state of spent nuclear fuel, the integrity of protective barriers, etc. [25,26,27,28,29,30,31].
Figure 4. The site of the long-term storage of BN-350 reactor SNF at the “Baikal-1” site.

2.2. The Second Stage—The Radioactive Sodium Management of the BN-350 Reactor

The second stage of the BN-350 reactor decommissioning includes activities with a liquid metal coolant. As is known, the BN-350 reactor was the first to use sodium as a coolant for a fast neutron power reactor [32]. The operation of the BN-350 reactor made it possible to demonstrate the reliability of full-scale sodium equipment for the nuclear power plant’s power unit [33].
The management of spent sodium during the decommissioning of the BN-350 reactor is a complex technological task. This is because sodium is an active alkaline metal and its processing and storage are associated with the risk of fire and explosion [34].
According to the criteria for bringing the BN-350 reactor into a safe storage state, radioactive sodium should be drained from the heat exchange circuits and equipment, processed, and placed in long-term storage as solid radioactive waste [35]. Figure 5 shows the general scheme of spent sodium processing [36].
Figure 5. Scheme of sodium management of the BN-350 reactor.
According to the management scheme, it was first necessary to purify sodium from radioactive cesium in order to dispose of sodium from the primary circuit. This is due to the fact that the specific activity of primary-circuit sodium on 1 January 2003 was ~7.25 × 108 Bq/kg, while the main contribution (97%) to the activity was made by highly radioactive Cs-137. That is why it was decided to remove the maximum possible amount of cesium from the coolant before its draining from the primary circuit in order to reduce the dose rate when handling primary-circuit sodium and simplify its subsequent processing [37].
The sodium purification system from cesium was developed based on a design that was successfully used in the experimental reactor EBR-2. It works on the principle of adsorption of cesium from a sodium–cesium solution with reticulated vitreous carbon (RVC) placed in traps [38].
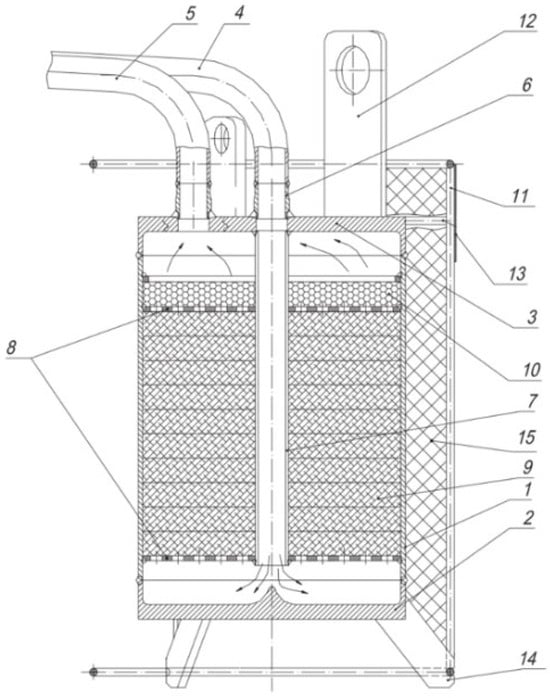
Seven traps containing a sorbent were connected to the primary circuit in order to purify sodium. Each trap worked until the sorbent was completely saturated with cesium. After that, it was cut out and replaced with a new one. The purified sodium was returned to the system and continued to circulate in the loops of the primary circuit. The purification device was located in the central hall of the reactor facility instead of the standard sodium sampler in order to use existing pipelines and instrumentation. Figure 6 shows the general scheme of the cesium trap of the BN-350 reactor.
Figure 6. Scheme of the cesium trap of the BN-350 reactor [39]. 1—shell; 2—bottom plate; 3—top plate; 4—inlet pipe; 5—outlet pipe; 6—inlet nozzle; 7—central inlet pipe; 8—perforated plate; 9—graphite; 10—mesh filter; 11—electrical support frame; 12—electrical conduit support; 13—label; 14—support leg; 15—thermal insulation.
Seven sodium purification cycles were performed as part of the project. It was possible to reduce the specific activity of radioactive cesium in sodium by almost 2000 times (from 7.25 × 108 Bq/kg to 3.7 × 105 Bq/kg). This made it possible to reduce the volume of radioactive waste, the economic costs of ensuring its safe storage, and the exposure of personnel during the further dismantling of equipment [40].
The next stage of the BN-350 reactor’s sodium management was the drainage of sodium from the primary and secondary circuits. The drainage of residual sodium from the reactor vessel was associated with some technical features. One of these features was the inability to completely drain sodium from the reactor vessel with standard systems. A sufficiently large volume of sodium remained inside the reactor vessel below the level of the pressure pipelines.
In this regard, a set of measures and additional design solutions was developed for complete drainage. For example, the specialists of the National Nuclear Center of the Republic of Kazakhstan developed an additional sodium drainage device, which was installed at the bottom of the reactor [41].
The drainage device consisted of a drainage pipe installed in the central channel of the reactor, a drainage tank, and pipelines connecting the drainage device to prepared pipelines for supplying sodium coolant to storage tanks. A special feature of sodium drainage was the need to drill inside a reactor filled with liquid sodium at a temperature of ~300 °C at a depth of more than 13 m. It was an extremely difficult engineering task, and there are no analogues of such an operation in world practice. Figure 7 shows the general scheme of the drainage device.
Figure 7. The general scheme of the drainage device [42]. 1—drainage collector; 2, 3—pipeline; 4—pressure sensor; 5—reactor vessel water seal; 6—valve; 7—drainage tank; 8—flow meter; 9—drainage channel; 10—throttle sleeve; 11—reflector; 12—boundary of the designed drainage system; 13—induction pumps.
The drainage of about 610 m3 of sodium from the primary circuit in storage tanks was successfully completed in 2003. The sodium from the primary circuit is also stored in storage tanks in a solid state today. The sodium residues from the reactor vessel and the loops of the first and second circuits were removed by supplying moistened carbon dioxide and mixtures of water vapor and nitrogen, with final washing with demineralized water [43].
Also, 14 cold filter traps that were used to purify sodium from impurities during the BN-350 reactor operation were accumulated. All traps are currently frozen and filled with sodium. The volume of one trap is 3.2 m3. Due to the fact that the traps are filled with sodium, it is necessary to drain the sodium before disposing of the traps. However, there is currently no approved technology for draining sodium from traps or neutralizing its residues [44].
The drained sodium will have to be processed for long-term storage. The method of processing in which sodium is conditioned by dissolving the melt in a concentrated alkaline solution is chosen. The resulting hydrogen and other impurities, including radioactive ones, are discharged into the environment, so nitrogen is used to dilute them to a safe concentration. This method was developed and successfully approved by the Argonne National Laboratory in the sodium processing of the EBR-1 and EBR-2 reactors [45]. Figure 8 shows the general scheme of processing sodium into an alkaline solution [46].
Figure 8. The general scheme of processing sodium into an alkaline solution (the arrows indicate the flow direction of the coolant and exhaust gases). 1—nozzle; 2—reaction tank; 3—heat exchanger; 4—water–alkaline solution.
The resulting 35% NaOH solution will be loaded into barrels for temporary storage and further processed into geocement stone based on metallurgical slag, kaolin clay, and structural forming additives. Subsequently, the obtained geocement stones will be placed in long-term storage and possibly disposed of. This technology provides for the production of geocement stone by dosing alkali with sequential mixing of components in one container [47].
The project for the processing of the sodium of the BN-350 reactor facility was developed, and its manufacture and subsequent installation of equipment began in 2004. However, it was decided to modernize the facility and produce a 70% NaOH solution due to the lack of sufficient funding for processing the obtained alkaline solution into geocement stone [48].
In this state, the alkali will have a solid form that will be placed in special steel containers and sent for long-term storage in a specially built storage facility. The design of the sodium processing facility was changed in accordance with the requirements of the Environmental Code of the Republic of Kazakhstan in 2015 [49,50]. The pilot test of the facility was conducted in 2017 [51].
However, full-scale activities related to sodium processing after the facility is put into operation have not started at the moment due to various reasons. One of these reasons is the lack of a storage facility for steel barrels in which the obtained NaOH solution will be placed [52].
To date, alternative approaches for the processing and disposal of sodium that were beyond the original scheme of management have been proposed [53,54]. Also, a project was implemented to pour second-circuit sodium into 100 L barrels and send it to the Ulba Metallurgical Plant for use in tantalum production [55].
Thus, the second stage of decommissioning of the BN-350 reactor’s liquid metal coolant has not been completed at the moment. At the moment, it is necessary to process the sodium drained from the reactor vessel and other systems with subsequent long-term storage.

2.3. The Third Stage—The BN-350 Reactor Solid Radioactive Waste Management

The third stage of the BN-350 reactor decommissioning includes activities with solid radioactive waste (SRW). The composition of the BN-350 reactor SRW includes various materials accumulated both during operation and decommissioning.
The BN-350 reactor waste management technology has been developed (Figure 9), and it includes the following stages [56,57]:
Figure 9. Scheme of solid radioactive waste management of the BN-350 reactor.
-
Collection and classification of SRW by type and activity level;
-
Transportation of solid waste for sorting;
-
Sorting and processing of SRW with subsequent placement in non-returnable protective containers;
-
Transportation of processed SRW for long-term storage.
Depending on the type and activity, the SRW will be cut or pressed. Processed and non-processed waste will be placed in special reinforced concrete containers and sent for long-term storage [58]. Figure 10 shows the appearance of the container [59].
Figure 10. Reinforced concrete containers for radioactive waste storage.
Currently, the first stage of the BN-350 reactor’s SRW management has been completed. Waste has been collected and is currently stored in a storage facility on the territory of the BN-350 reactor [60]. The general scheme of the BN-350 reactor’s SRW storage is shown in Figure 11.
Figure 11. The general scheme of the BN-350 reactor’s SRW storage. 1—building 156 (trenches); 2—building 159 (trenches); 3—building 158 (bunkers); 4—building 216 (trenches, 1 opened); 5—building “CH” (trenches); 6—arched warehouse; 7—protective containers for radioactive materials; 8—filtration plant; 9—dosimetric point; 10—car road; 11—railway.
At the same time, for the long-term disposal of waste materials, waste materials’ classification (weighing, activity control) was conducted at temporary storage sites in order to choose the appropriate processing technology.
The conducted assessment of the quantity and composition of SRW shows that the total mass of waste in the storage facility currently amounts to more than ~7000 tons. Table 1 shows the classification of SRW by activity level based on IAEA documents and the regulations of the Republic of Kazakhstan [61,62]. All waste was divided into three categories (low-level, intermediate-level, and high-level).
Table 1. SRW classification by activity.
The SRW of the BN-350 reactor is mainly represented by materials with low activity, which account for ~89% of the total mass, while about 93% of the main activity is contributed by highly active SRW. The main amount of low- and intermediate-level SRW was placed in ground trenches. Most of this waste is relatively small in size and is placed in trenches without primary packaging. In addition, there is SRW located in the buildings of the reactor plant.
Projects have been developed both for facilities for cutting metal waste and compressing waste in barrels for their placement in containers and for storage facilities for long-term storage [63]. In parallel, studies were also conducted on the possibility of disposing of the cesium traps used to purify the sodium coolant. They are currently represented as highly radioactive solid waste [64,65].

2.4. The Fourth Stage—The BN-350 Reactor Liquid Radioactive Waste Management

The fourth stage of the BN-350 reactor decommissioning includes activities with liquid radioactive waste (LRW). After the start of decommissioning, cubic residues, diatomite and ionite pulps, etc., were stored in the LRW storage tanks. The total volume of LRW was ~2730 m3 with a total activity of 3.4⋅1014 Bq. LRW is classified as medium-level waste, in which Cs-137 determines the main share of activity [66].
The technology of the BN-350 reactor’s LRW management was developed [67]. It provides for the pre-treatment of cubic residues before selective sorption, which consists in ozonation and subsequent filtration of the resulting solution. Cubic residues after filtration are purified from radioactive cesium by ion-selective sorption [68].
The purified solution is evaporated to a dry residue and sent to storage along with the spent sorbent. The sludge from the tanks and sediments from the filtration of the cubic residues are cemented. After that, they are placed in protective containers and sent to storage. Figure 12 shows the LRW management scheme of the BN-350 reactor.
Figure 12. Scheme of liquid radioactive waste management of the BN-350 reactor.
Despite the development of LRW management technology, there is practically no work in this area at the moment. LRW is stored in special metal containers. These containers are subjected to intense corrosion due to the presence of water in the composition of LRW. This feature does not allow for their long-term storage.
In this regard, a special technological water purification line with two evaporators was put into operation to reduce the volume of LRW. The processing was conducted by evaporation and concentration of LRW to a cubic residue. The facility made it possible to reduce the volume of accumulated LRW to ~1820 m3 by the end of 2022 [69].

3. Conclusions

The main purpose of decommissioning the BN-350 reactor is to bring it into a state of safe storage. The feature of this process is that the BN-350 reactor is one of the few industrial fast sodium reactors currently in the decommissioning stage.
In this regard, there were no technologies in the world for the decommissioning of reactor facilities of this kind, including equipment necessary for the management of radioactive waste and sodium coolant. Also, the peculiar spent nuclear fuel required special attention in handling and storage.
All work on decommissioning the reactor facility was grouped into five stages, which began to be conducted in parallel. The first stage was completed in 2010 after the spent fuel of the BN-350 reactor was placed for long-term storage. As for the second stage, research is currently underway to develop technologies for processing radioactive sodium. The primary circuit sodium has been purified from radioactive cesium and drained from the reactor vessel and is currently being stored in a frozen state. The sodium of the second circuit was poured into special barrels and was reused in industry.
The task of the third and fourth stages of the BN-350 reactor decommissioning is the comprehensive processing of liquid and solid radioactive waste. Currently, a technology for radioactive waste management has been developed. Waste was placed in special storage, and its classification by type and activity was conducted.
Recently, the work on decommissioning the BN-350 reactor has significantly decreased. The main reason is associated with insufficient financing of this project. Consequently, activities related to the completion of the second, third, and fourth stages were almost suspended. At the same time, the reactor facility is maintained in a safe state to prevent dangerous situations for people and the environment.
In 2021, a feasibility study for the decommissioning of the BN-350 reactor was developed and adopted. The BN-350 reactor was planned to be decommissioned in three stages over a period of 10 years. The project cost was estimated at KZT 115 billion (USD ~250 million), excluding the cost associated with the construction of a complex for processing liquid and solid radioactive waste, as well as a storage facility for them [70].
Thus, the BN-350 reactor is currently being decommissioned. The experience gained during the implementation of this project is unique and makes a valuable contribution to the development of nuclear energy.

Author Contributions

Project administration, N.M.; writing—review and editing, K.T.; writing—original draft preparation, K.T. and G.V.; investigation, M.B. and S.D. All authors have read and agreed to the published version of the manuscript.

Funding

This research has been funded by the Science Committee of the Ministry of Science and Higher Education of the Republic of Kazakhstan (Grant No. BR24993118).

Conflicts of Interest

The authors declare no conflicts of interest.

References

  1. Troyanov, V.; Kamaev, A. Evolution of fast reactors. The role of a BN-350 reactor. At. Energy 2025, 136, 222–232. [Google Scholar] [CrossRef]
  2. Oshkanov, N.N.; Saraev, O.M.; Bakanov, M.V.; Govorov, P.P.; Potapov, O.A.; Ashurko, Y.M.; Poplavskii, V.M.; Vasil’ev, B.A.; Kamanin, Y.L.; Ershov, V.N. 30 Years of experience in operating the BN-600 sodium-cooled fast reactor. At. Energy 2010, 108, 234–239. [Google Scholar] [CrossRef]
  3. Saraev, O.M.; Noskov, Y.V.; Zverev, D.L.; Vasil’ev, B.A.; Sedakov, V.Y.; Poplavskii, V.M.; Tsubulya, A.M.; Ershov, V.N.; Znamenskii, S.G. BN-800 design validation and construction status. At. Energy 2010, 108, 248–253. [Google Scholar] [CrossRef]
  4. Vasilyev, B.A.; Vasyaev, A.V.; Gusev, D.V.; Marova, E.V.; Staroverov, A.I.; Shepelev, S.F. Current status of BN-1200M reactor plant design. Nucl. Eng. Des. 2021, 382, 111384. [Google Scholar] [CrossRef]
  5. Nazarenko, P.I. BN-350 reactor is the atomic power engineering firstling in the republic of Kazakhstan. NNC RK Bull. 2001, 1, 24–32. [Google Scholar]
  6. On Decommissioning of the Reactor BN-350 in the Aktau City of the Mangystau Region. In Resolution of the Government of the Republic of Kazakhstan; The Government of the Republic of Kazakhstan: Astana, Kazakhstan, 1999; p. 456.
  7. Isobe, Y.; Matsui, K.; Tanigaki, T.; Tone, K.; Joboji, Y.; Obata, I. Study on sodium extraction and transport at Monju. In Proceedings of the International Conference on Nuclear Engineering, Prague, Czech Republic, 30 November 2024; p. 8, V008T09A022. [Google Scholar] [CrossRef]
  8. Rodriguez, G.; Gastaldi, O.; Baque, F. Recent Sodium Technology Development for the Decommissioning of the Rapsodie and Superphénix Reactors and the Management of Sodium Wastes. Nucl. Technol. 2017, 150, 100–110. [Google Scholar] [CrossRef]
  9. Beckitt, S. Decommissioning of legacy nuclear waste sites: Dounreay, UK. In Nuclear Decommissioning; Woodhead Publishing Limited: Cambridge, UK, 2012; pp. 701–744. [Google Scholar] [CrossRef]
  10. Zrodnikov, A.V. Fast reactors in the energy security for the stable development of Russia. At. Energy 2010, 108, 230–233. [Google Scholar] [CrossRef]
  11. Organ, N.; Wells, D.; Michelbacher, J.; Wells, P.B. International collaboration with the shutdown of the BN-350 Reactor. In Proceedings of the Decommissioning, Decontamination, and Reutilization Topical Meeting, Idaho Falls, ID, USA, 29 August–2 September 2010; pp. 268–271. [Google Scholar]
  12. Dairbekov, T.S. Packaging of the BN-350 spent fuel for further transportation to the depositary place. In Proceedings of the International Conference on the Safety of Transport of Radioactive Material, Vienna, Austria, 7–11 July 2003; pp. 178–180. [Google Scholar]
  13. Karaulov, V.N.; Blynskiy, A.P.; Yakovlev, I.L. The new technology of interim storage of failed spent fuel from the BN-350 fast reactor. In Proceedings of the International Symposium on Storage of Spent Fuel from Power Reactors, Vienna, Austria, 9–13 November 1998; pp. 91–95. [Google Scholar]
  14. Cole, N.; Galkin, A. BN-350 highly enriched spent fuel disposition. In Report of the Institute of Nuclear Materials Management; Institute of Nuclear Materials Management: Deerfield, IL, USA, 2008. [Google Scholar]
  15. Schaeffer, R.; Klann, R.T.; Koltyshev, S.M.; Krechetov, S.V. Criticality safety issues in the disposition of BN-350 spent fuel. In Proceedings of the International Seminar on Nuclear Power Technologies, Astana, Kazakhstan, 14–17 May 2000; pp. 91–92. [Google Scholar]
  16. Tazhibayeva, I.L.; Baldov, A.N.; Nikolskiy, Y.V.; Petukhov, Y.V. BN-350 decommissioning. State of affairs. NNC RK Bull. 2002, 1, 109–113. (In Russian) [Google Scholar]
  17. Karaulov, V.N.; Blynski, A.P.; Yakovlev, I.L.; Golovin, S.V.; Chumakov, E.V.; Kadyrzhanov, K.K.; Kadyrov, H.G.; Turkebaev, T.E.; Lambert, D.D. BN-350 reactor fuel condition after irradiation and storage in cooling pool. NNC RK Bull. 2001, 1, 59–65. (In Russian) [Google Scholar]
  18. Nazarbayev, N.A.; Shkolnik, V.S.; Batyrbekov, E.G.; Berezin, S.A.; Lukashenko, S.N.; Hollingsworth, S.; Skakov, M.K. Scientific, Technical and Engineering Work to Ensure the Safety of the Former Semipalatinsk Test Site; Worldwide Promedia: Cardiff, UK, 2016; Volume 3, 596p. [Google Scholar]
  19. New Steel for Spent Nuclear Fuel Containers. Available online: https://www.atomic-energy.ru/technology/22214 (accessed on 12 May 2025). (In Russian).
  20. Davydenko, D.I. The Concept of Creating a Bench Complex for Testing Transport Packaging Containers in the Republic of Kazakhstan. Available online: https://irse.nnc.kz/wp-content/uploads/2020/09/Davydenko-Diana-Ilinichna_rabota_IAJe.pdf (accessed on 12 May 2025). (In Russian).
  21. Wells, D.; Michelbacher, J.; Hayward, T. The benefits international cooperation on decommissioning: U.S. and U.K. contribution to the decommissioning of Kazakhstan’s BN-350 reactor. Radwaste Solut. 2011, 18, 15–19. [Google Scholar]
  22. Tur, E.S.; Aisabekov, A. Transportation of eight-pack transportation-packaging cask containing BN-350 spent nuclear fuel from the nuclear safety viewpoint. NNC RK Bull. 2003, 4, 94–97. (In Russian) [Google Scholar]
  23. Tur, E.S.; Mukeneva, S.A. Area estimate for buffer area of loading/unloading site for metal-concrete casks with BN-350 spent nuclear fuel. NNC RK Bull. 2003, 4, 98–101. (In Russian) [Google Scholar]
  24. Yakovlev, V.V. Experience in transportation and storage of spent nuclear fuel of the BN-350 reactor. Human. Energy. At. 2018, 2, 76–85. (In Russian) [Google Scholar]
  25. Dikov, A.S.; Chernov, I.I.; Kislitsin, S.B. Influence of the Test Temperature on the Creep Rate of 0.12C18Cr10NiTi Structural Steel Irradiated in the BN-350 Reactor. Inorg. Mater. Appl. Res. 2018, 9, 357–360. [Google Scholar] [CrossRef]
  26. Dikov, A.S.; Kislitsin, S.B.; Chernov, I.I. Effect of test temperature on mechanical properties of austenitic 0.12C18Cr10NiTi and 0.08C16Cr11Ni3Mo steels irradiated by fast neutrons in the BN-350 reactor. Defect Diffus. Forum Defects Diffus. Phenom. Mater. Nucl. Technol. 2017, 375, 134–138. [Google Scholar] [CrossRef]
  27. Rofman, O.V.; Maksimkin, O.P.; Tsay, K.V.; Koyanbayev, Y.T.; Short, M.P. The natural aging of austenitic stainless steels irradiated with fast neutrons. J. Nucl. Mater. 2018, 499, 284–293. [Google Scholar] [CrossRef]
  28. Koyanbayev, Y.T.; Skakov, M.K.; Batyrbekov, E.G.; Deryavko, I.I.; Sapatayev, Y.Y.; Kozhahmetov, Y.A. The Forecasting of Corrosion Damage of Structural Materials during Dry Long-Term Storage of RD BN-350 SNF with CC-19 SFA. Sci. Technol. Nucl. Install. 2019, 1, 9. [Google Scholar] [CrossRef]
  29. Timonova, L.N.; Lyakhova, O.N.; Aidarkhanov, A.O.; Abdigamitov, B.A. Assessment of integrity of protective barriers of long-term storage facility of BN -350 reactor facility. NNC RK Bull. 2020, 2, 49–54. (In Russian) [Google Scholar] [CrossRef]
  30. Krivitsky PYe Mustafina, Y.e.V.; Prozorova, I.V.; Prozorov, A.A.; Chernov, A.A. Assessment of BN-350 spent nuclear fuel status in conditions of a long-term storage. NNC RK Bull. 2020, 2, 167–170. (In Russian) [Google Scholar] [CrossRef]
  31. Wells, D.; Herrick, A.; Klepikov, A.; Yakovlev, I.; Tur, Y.; Collin, K. Remote Radiation and Visual Surveys of the Hot Cell Waste Vault and Spent Fuel Transfer Route at Kazakhstan’s BN-350 Reactor. In Proceedings of the 14th International Conference on Environmental Remediation and Radioactive Waste Management, Reims, France, 25–29 September 2011; pp. 1–9. [Google Scholar] [CrossRef]
  32. Bagdasarov, Y.E.; Kamaev, A.A. Successive development phases for sodium-cooled fast reactors. At. Energy 2012, 111, 389–397. [Google Scholar] [CrossRef]
  33. Kamaev, A.A. Key technical solutions for the BN-350 power unit that have influenced the BN reactor design evolution. Izv. vuzov. Yad. Energ. 2023, 3, 140–145. (In Russian) [Google Scholar] [CrossRef]
  34. Poplavskii, V.M.; Bagdasarov, Y.E.; Kamaev, A.A.; Tsikunov, A.G.; Zybin, V.A.; Ivanenko, V.N. Danger of Burning of Sodium Coolant. At. Energy 2004, 96, 327–331. [Google Scholar] [CrossRef]
  35. Skvortsov, A.I.; Safutin, V.D.; Ampelogova, N.I. Analysis and selection of technologies for handling liquid metal coolant at the stage of bringing RU BN-350 into a safe storage condition. Ecol. Nucl. Energy 2004, 1, 30–35. [Google Scholar]
  36. Skvortsov, A.I.; Safutin, V.D.; Yamov, V.Y.; Zavadskii, M.I. Conditioning a BN-350 power-generating unit for safe storage. At. Energy 2005, 98, 65–68. [Google Scholar] [CrossRef]
  37. Tazhibaeva, I.; Pustobaev, S.; Zhantikin, T. The Handling with Sodium Coolant at Fast Reactor BN-350; Glory K. Ltd. Publisher: Himeji, Japan, 2010; p. 320. (In Russian) [Google Scholar]
  38. Bessonov, I.A.; Chalpanov, S.V.; Tashlykov, O.L. Purification of fast reactors primary sodium coolant from cesium radionuclides. In Proceedings of the International Scientific and Practical Conference «Energy and Resource Conservation. Energy Supply. Non-traditional and Renewable Energy Sources. Nuclear Power Industry», Yekaterinburg, Russian Federation, 14–18 December 2020; pp. 437–440. (In Russian). [Google Scholar]
  39. Romanenko, O.G.; Allen, K.J.; Wachs, D.M.; Planchon, H.P.; Wells, P.B.; Michelbacher, J.A.; Nazarenko, P.; Tikhomirov, L.; Yakovlev, V.; Synkov, A. Cleaning Cesium Radionuclides from BN-350 Primary Sodium. Nucl. Technol. 2005, 150, 79–99. [Google Scholar] [CrossRef]
  40. Polyakov, V.I.; Shtynda, Y.E. Investigations to validate technology for fine cleaning of bn reactor sodium coolant from cesium isotopes. NNC RK Bull. 2001, 1, 48–54. (In Russian) [Google Scholar]
  41. Rovneiko, A.V.; Tashlykov, O.L.; Shcheklein, S.E. The features of the fast neutron reactors decommissioning. In Proceedings of the International Scientific and Practical Conference «Promising Energy Technologies. Ecology, Economics, Safety and Personnel Training», Yekaterinburg, Russian Federation, 11 October 2016; pp. 61–66. (In Russian). [Google Scholar]
  42. Merisov, G.S.; Klimenko, A.S.; Gorbanenko, O.A. Temperature and flow parameters control system for BN-350 reactor sodium draining device. NNC RK Bull. 2003, 1, 18–22. (In Russian) [Google Scholar]
  43. Romanenko, O.G.; Pugachev, G.; Rovneyko, A. Processing of residual sodium in the BN-350 reactor coolant circuits. In Proceedings of the Topical Meeting on Decommissioning, Decontamination and Reutilization, Idaho Falls, ID, USA, 29 August–2 September 2010; pp. 268–271. [Google Scholar]
  44. Smykov, V.B.; Zhurin, A.V.; Legkikh, K.G.; Alekseev, V.V.; Zhdanov, V.P. Reprocessing of primary and secondary coolants during the BN-350 reactor decommissioning. Izv. Vuzov. Yad. Energ. 2023, 3, 164–169. (In Russian) [Google Scholar] [CrossRef]
  45. McDermott, M.D.; Griffin, C.D.; Baird, D.K.; Baily, C.; Michelbacher, J.A.; Rosenberg, K.E.; Henslee, S.P. Completion of Experimental Breeder Reactor-II Sodium Processing at Argonne National Laboratory. In Proceedings of the 10th International Conference on Nuclear Engineering, Arlington, VA, USA, 14–18 April 2002; Volume 4, pp. 369–376. [Google Scholar] [CrossRef]
  46. Kaskov, D.O.; Volozheninov, T.P.; Tashlykov, O.L. Problems of Decommissioning Fast Neutron Reactors with Sodium Coolant. In Proceedings of the International Scientific and Practical Conference «Energy and Resource Conservation. Energy Supply. Non-Traditional and Renewable Energy Sources. Nuclear Power Industry», Yekaterinburg, Russian Federation, 13–17 December 2017; pp. 504–513. (In Russian). [Google Scholar]
  47. Krivtsov, P.; Pavlov, V. Development of a control system for the technological process of processing sodium coolant. Bull. Tomsk. Polytech. Univ. Geo Assets Eng. 2013, 322, 82–87. (In Russian) [Google Scholar]
  48. Blynskiy, P.A. Utilization of Sodium of the I Circuit of the BN-350 Reactor Unit. Ph.D. Thesis, Al-Farabi Kazakh National University, Almaty, Kazakhstan, 2017; 96p. (In Russian). [Google Scholar]
  49. Complex of Works to Support BN-350 Fast Reactor Decommissioning. Available online: https://www.nnc.kz/en/news/show/349 (accessed on 12 May 2025).
  50. Tazhibayeva, I.; Klepikov, A.; Blynskiy, A. Modernization of the sodium processing facility of the first circuit of the BN-350 reactor to 70% NaOH. In Proceedings of the 7th International Scientific and Practical Conference «Current Problems of the Uranium Industry», Almaty, Kazakhstan, 25–27 September 2014; pp. 384–390. (In Russian). [Google Scholar]
  51. Vasiliev, I.I.; Pleshchenkova, L.K.; Pugachev, G.P.; Rovneyko, A. The sodium coolant processing facility of the BN-350 reactor unit. In Proceedings of the 1st International Exhibition and Conference «Nuclear Energy and Industry» KazAtomExpo, Astana, Kazakhstan, 19–21 May 2010; 30p. (In Russian). [Google Scholar]
  52. The BN-350 Industrial Reactor in Aktau is at the Stage of Decommissioning. Available online: https://kz.kursiv.media/2022-09-22/promyshlennyj-reaktor-bn-350-v-aktau-nahoditsya-na-etape-vyvoda-iz-ekspluatacii/ (accessed on 12 May 2025). (In Russian).
  53. Kanukhina, S.V.; Kononyuk, M.K.; Butov, K.A.; Smykov, V.B. Computational and Experimental Studies of Solid-Phase Oxidation of Alkali Metal Slag from Copper Smelting Operations. At. Energy 2016, 120, 403–411. [Google Scholar] [CrossRef]
  54. Legkikh, K.G.; Smykov, V.B. Innovative technologies for immobilizing the sodium primary coolant of fast neutron reactors and processing liquid radioactive waste generated during reactor operation. At. Energy 2024, 137, 129–135. [Google Scholar] [CrossRef]
  55. Nosov, Y.V.; Rovneiko, A.V.; Tashlykov, O.L.; Shcheklein, S.E. Decommissioning Features of BN-350, -600 Fast Reactors. At. Energy 2019, 125, 219–223. [Google Scholar] [CrossRef]
  56. Tazhibayeva, I.; Pugachev, G.; Herrick, A. Decommissioning of Kazakhstan’s BN-350 fast reactor. Nucl. Future 2008, 4, 281–286. [Google Scholar]
  57. Skvortsov, A.I.; Safutin, V.D.; Yamov, V.Y.; Zavadsky, M.I. Decommissioning of BN-350 RU. Design experience. In Proceedings of the Conference «Nuclear Power Technologies with Fast Neutron Reactors», Obninsk, Russia, 9–10 December 2003; p. 121. (In Russian). [Google Scholar]
  58. Sorokin, V.T.; Gataullin, R.M.; Sviridov, N.V.; Pavlov, D.I. Durability of reinforced concrete containers NZK-150-1.5 P during the disposal of radioactive waste class 2. Radioact. Waste 2022, 3, 37–49. (In Russian) [Google Scholar] [CrossRef]
  59. Reinforced Concrete Containers. Available online: https://345mz.ru/kontejneryi-dlya-rao/zhelezobetonnyie-kontejneryi (accessed on 12 May 2025). (In Russian).
  60. Skvortsov, A.I.; Safutin, V.D.; Yamov, V.Y. Economic and environmental aspects of solid waste management during the decommissioning of the BN-350. In Proceedings of the 8th International Conference «Radiation Safety», Saint-Petersburg, Russia, September 2005; pp. 329–335. (In Russian). [Google Scholar]
  61. Classification of Radioactive Waste; IAEA Safety Standards Series No. GSG-1; International Atomic Energy Agency: Vienna, Austria, 2009; p. 68. Available online: https://www.iaea.org/publications/8154/classification-of-radioactive-waste (accessed on 12 May 2025).
  62. On approval of the Rules of the organization of collection, storage and burial of radioactive wastes and spent nuclear fuel. In Order of the Minister of Energy of the Republic of Kazakhstan dated February 8, 2016 No. 39; Energy of the Republic of Kazakhstan: Astana, Kazakhstan, 2016.
  63. Iksanov, A.G.; Pustobaev, S.N.; Shirobokov, Y.u.P.; Pugachyev, G.P.; Baldov, A.N.; Tikhomirov, L.N.; Tkachenko, V.V.; Tazhibayeva, I.; Klepikov, A.K.; Romanenko, O.G.; et al. Development of devices for handling with BN-350 Radioactive Waste. In Proceedings of the IV NATO Advanced Research Workshop «Nuclear Power and Energy Security», Yerevan, Armenia, 26–29 May 2009; pp. 247–254. [Google Scholar] [CrossRef]
  64. Romanenko, O.G.; Tazhibaeva, I.L.; Wells, D.; Herrick, A.; Michelbacher, J.A.; Knight, C.; Polyakov, V.I.; Privalov, U.; Sobolev, M.; Shtynda, U.; et al. Strategy for handling spent BN-350 cesium traps in the Republic of Kazakhstan. In NATO Science for Peace and Security Series C: Environmental Security; Springer Nature: Berlin/Heidelberg, Germany, 2007; pp. 107–142. [Google Scholar] [CrossRef]
  65. Romanenko, O.G.; Tazhibaeva, I.L.; Yakovlev, I.L.; Rovneyko, A.V.; Maev, V.I.; Wells, D.; Herrick, A.; Michelbacher, J.A.; Knight, C. Immobilization of cesium traps from the BN-350 fast reactor (Aktau, Kazakhstan). In Proceedings of the Radioactive Waste Management Symposium, Phoenix, AZ, USA, 27 February–3 March 2011; p. 15. [Google Scholar]
  66. Skvortsov, A.I. Radioactive Waste Management During Decommissioning of the Reactor on Fast Neutrons. Ph.D. Thesis, Peter the Great St. Petersburg Polytechnic University, Saint Petersburg, Russia, 2007; 182p. (In Russian). [Google Scholar]
  67. Savkin, A.E.; Slastennikov, Y.T.; Sinyakin, O.G.; Arustamov, A.E.; Baldov, A.N. Feasibility of processing of accumulated liquid radioactive waste from BN-350 reactor. Radiochemistry 2001, 43, 311–314. [Google Scholar] [CrossRef]
  68. Sharygin, L.M.; Muromskii, A.Y.; Moiseev, V.E.; Tsekh, A.R.; Vaver, A.V. Sorption purification of liquid radioactive wastes from nuclear power plants. At. Energy 1997, 83, 493–499. [Google Scholar] [CrossRef]
  69. Talgat Esentugelov, CEO of MAEK-Kazatomprom LLP: Comparison with Fukushima is Unacceptable. Available online: https://time.kz/news/2022/07/29/talgat-esentugelov-gendirektor-too-maek-kazatomprom-sravnenie-s-fukusimoj-nedopustimo-vvidu-otsutstviya-u-nas-otrabotannogo-yadernogo-topliva (accessed on 12 May 2025). (In Russian).
  70. Lada Yakubovich, METR: The Feasibility Study We Have Developed for Decommissioning Kazakhstan’s BN-350 Fast Reactor Has No Global Analogues. Available online: https://www.atomic-energy.ru/interviews/2023/02/14/132762 (accessed on 12 May 2025). (In Russian).
Disclaimer/Publisher’s Note: The statements, opinions and data contained in all publications are solely those of the individual author(s) and contributor(s) and not of MDPI and/or the editor(s). MDPI and/or the editor(s) disclaim responsibility for any injury to people or property resulting from any ideas, methods, instructions or products referred to in the content.

Article Metrics

Citations

Article Access Statistics

Multiple requests from the same IP address are counted as one view.