Experimental and Numerical Investigation of Motion-Induced Fluid Force for a High-Speed Valve
Abstract
1. Introduction
2. The Numerical Technique and Theoretical Frameworks
- Identify and establish the CFD model of the HSV fluid field.
- Mesh the CFD model based on dynamic mesh technology and set the boundary conditions;
- Solve the CFD model according to different simulation conditions described in Equations (20)–(22), and extract the fluid force to obtain various force coefficients;
- Integrate all the force coefficients, and get the transient induced fluid force model framework according to Equation (16).
- Introduce the fluid force model framework into the validated HSV dynamic coupling simulation model [11], and verify two environmental conditions (oil-free environment and oil-immersed environment) and three voltages (20 V, 24 V, and 28 V) by means of non-contact laser measurement and other experimental research methods.
2.1. System Description and Analytical Modeling
2.2. Coefficients by Computational Fluid Dynamics
2.2.1. Description of Numerical Simulation
2.2.2. Determination of Coefficients
- Added mass coefficient . With fluids adhering to the item and moving at the same speed, the added mass coefficient predicts how many fluids will accelerate at the same rate as the object. Since only the added mass term is present in the MIFF in Equation (16) at the initial moment when the motion begins at rest, the added mass coefficient is as follows:where is assessed with CFD whenever motion is started for a specific position y with an acceleration . The acceleration of the double-sided sphere can be adjusted freely provided the right time step is selected. The added mass coefficients of three accelerations of 300 m/s2, 600 m/s2, and 900 m/s2 are analyzed, respectively, based on the results of earlier tests of the dynamic characteristics and electromagnetic properties of HSVs. The results are displayed in Figure 6. The oil input port closes at y = 0 mm and opens at y = 0.3 mm. For the motion of the double-sided sphere in the valve chamber, it is found that the added mass coefficient is relatively constant, and the coefficient increases slightly when it is near the upper and lower extrusion boundaries, especially in the upper part. This is most likely due to the fact that when the double-sided sphere approaches the upper and lower borders, many scattered flows require more kinetic energy; also, because the lower barrier is slightly narrower than the upper boundary, the increase is slightly less than the upper boundary. This conclusion is consistent with the conclusion in Reference [28]. under different acceleration conditions is only a function of the displacement of the core and has nothing to do with the acceleration. This feature provides conditions for judging the accuracy of the force model according to the dynamic characteristics.
- Viscous coefficient . Setting the double-sided sphere’s acceleration to zero and simulating its motion at a comparatively slow speed will yield the viscosity coefficient. The can be approximately evaluated bySimilar to , the obtained viscous coefficient varies with position. At two locations close to the wall, the viscosity coefficient exhibits a modest increasing trend, as shown in Figure 7.
- History coefficient . At the initial stage of the acceleration of the double-sided sphere, the viscous term and the added value term are known, and the historical term can be obtained. is found by fitting the analytical force model with the corresponding CFD simulation results.
- Squeeze film effect term . The squeezing oil film effect of the curved surface formed by the double-sided sphere is approximately regarded as the effect of an annual parallel gap with the corresponding chord length as the diameter and can be solved by combining Equation (14) and Equation (15) as follows:
2.3. Description of Mechanical Energy and Kinetic Energy
3. Experimental Tests Setup
3.1. Principle of the Test Rig
3.2. Test Procedure for HSV
4. Results and Analysis
4.1. Comparison of Dynamic Features and Experimental Verification
4.2. Analysis of Fluid Field
4.3. Analysis of MIFF
4.4. Dynamic Features Analysis of Buffer Groove Considering Pressure Difference
4.5. Energy Transmission Analysis of Buffer Groove Considering Pressure Difference
5. Conclusions
- A novel lumped parameter model of MIFF is proposed, which is suitable for the bounded fluid domain in HSVs and includes the viscous effect, added mass, historical term, and squeeze film effect. The coefficient in the model is a function of the displacement of the sphere, which is obtained by a series of high-fidelity CFD models with different conditions. Due to the difficulty of directly monitoring the MIFF, the dynamic response experiments of HSVs were carried out under oil-free and oil-immersed conditions. Efforts are made to capture the obstruction of MIFF on dynamic response.
- The added mass and squeeze film effect play a leading role in different stages, and the switching time of stages is related to the contact length between the sphere and the corresponding wall. Moreover, the essence of these MIFFs is that the sphere causes pressure difference to the bounded flow field around it during movement.
- In order to restrain the obstruction of the MIFF to the response of the HSV, a buffer groove structure is designed. This structure can effectively weaken the pressure difference in the internal flow field caused by the high-speed movement of the sphere, thus reducing the added mass force in the MIFF. When the sphere is in the middle position, the added mass of the HSV with the buffer groove structure is reduced from 2.44 g to 1.37 g, a decrease of 43.9%. Additionally, the opening and closing times of the structure are shortened from 1.02 ms to 0.90 ms and from 1.50 ms to 1.34 ms, respectively, or shortened by 11.8% and 10.7%.
- The buffer groove structure can improve the kinetic energy efficiency, which is achieved by reducing the mechanical work of the MIFF. The kinetic energy efficiency at the opening stage and the kinetic energy efficiency at the closing stage , respectively, increased from 41.91% to 46.70% and from 41.98% to 56.75%.
Author Contributions
Funding
Data Availability Statement
Conflicts of Interest
Appendix A

Appendix B
| Physical Quantity | Notation | Value | Unit |
|---|---|---|---|
| Radius oil inlet | 2.80 | mm | |
| Radius oil unloading channel | 4.50 | mm | |
| Radius of oil inlet hole | 2.00 | mm | |
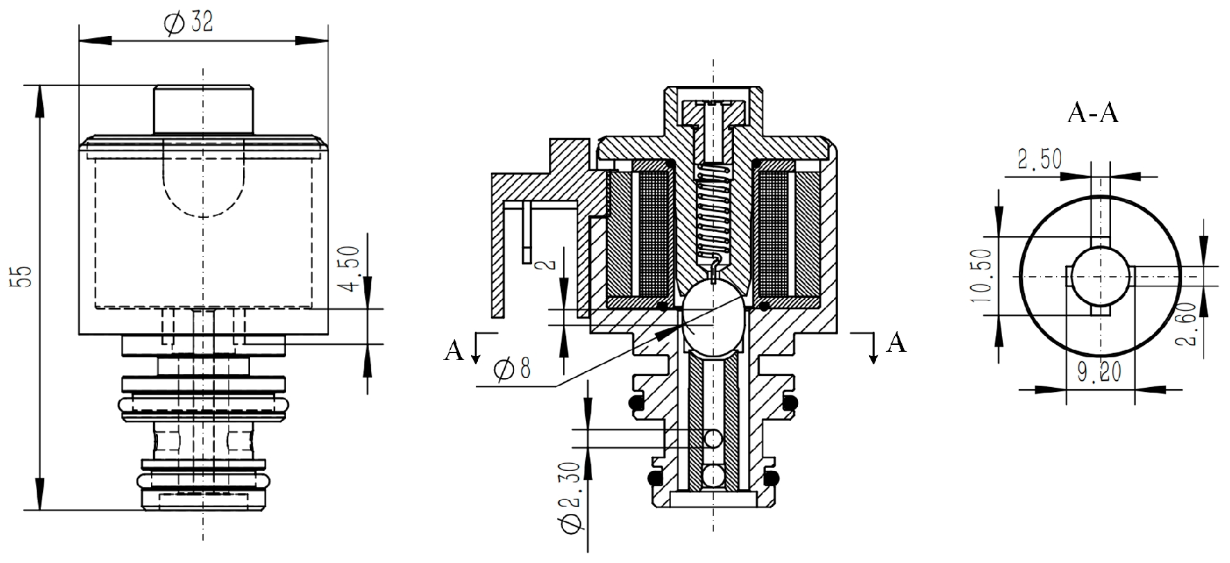
| Length of buffer groove | 10.50 | mm | |
| Width of buffer groove | 2.50 | mm | |
| Length of controlled oil channel | 9.20 | mm | |
| Width of controlled oil channel | 2.60 | mm | |
| Initial length of valve port | 0.30 | mm | |
| Contact radius of end cover | 3.00 | mm | |
| Contact radius of valve seat | 2.34 | mm |
References
- Shan, L.; Wei, L.J.; Qiang, Y.; Cui, Y.T.; Zhan, P. Dynamic performance prediction and experimental analysis of wet clutch actuator considering thermal flow characteristics. Flow Meas. Instrum. 2024, 97, 102592. [Google Scholar] [CrossRef]
- Kim, S.; Lee, H.; Kim, J.; Park, G. Online adaptive identification of clutch torque transmissibility for the drivability consistency of high-performance production vehicles. Control Eng. Pract. 2024, 147, 105926. [Google Scholar] [CrossRef]
- Ren, Y.F.; Xi, J.Q.; Chen, H.Y.; Yu, H.L.; Meng, F.; Zhou, W. Study on dynamic characteristics variation mechanism of wet-clutches during the filling phase considering temperature and rotational speed of the oil. Control Eng. Pract. 2023, 135, 105514. [Google Scholar] [CrossRef]
- Zhao, L.M.; Wu, H.C.; Zhao, L.; Long, Y.X.; Li, G.Q.; Tang, S.H. Optimization of the High-speed On-off Valve of an Automatic Transmission. In Proceedings of the 2017 2nd International Conference on Mechatronics and Electrical Systems, Wuhan, China, 15–17 December 2017; Iop Publishing Ltd.: Bristol, UK, 2018; Volume 339. [Google Scholar]
- Guo, H.; Wang, D.Y.; Xu, J.Q. Research on a High-Frequency Response Direct Drive Valve System Based on Voice Coil Motor. IEEE Trans. Power Electron. 2013, 28, 2483–2492. [Google Scholar] [CrossRef]
- Liu, Y.; Yang, Q.; Li, C.; Wang, Y.; Du, Z.; Jiang, H. Analysis and Research on High Speed On-off Valve Electromagnets with Different Electromagnetic Drive Forms. In Proceedings of the 6th IFAC Conference on Engine Powertrain Control, Simulation and Modeling (E-COSM), Tokyo, Japan, 23–25August 2021. [Google Scholar]
- Yang, Q.J.; Liu, Y.D.; Zhu, R.; Mao, Q.; Dong, R.Z.; Jiang, H.X. Simulation and Experiment of Electromagnet for High-Speed On-off Valve for Vehicle Shifting System. Int. J. Fluid Power 2023, 24, 29–58. [Google Scholar] [CrossRef]
- Zhao, J.; Wang, M.; Wang, Z.; Grekhov, L.; Qiu, T.; Ma, X. Different boost voltage effects on the dynamic response and energy losses of high-speed solenoid valves. Appl. Therm. Eng. 2017, 123, 1494–1503. [Google Scholar] [CrossRef]
- Zhao, J.H.; Shi, Y.; Grekhov, L.; Ma, X.Z. Effects of structure parameters on the static electromagnetic characteristics of high speed solenoid valves. Int. J. Appl. Electromagn. Mech. 2017, 55, 45–60. [Google Scholar] [CrossRef]
- Yang, S.; Yao, J.; Wang, P.; Zhang, P.; Wei, T.; Li, D. A novel Dual-Magnetic circuit actuated Fast-Switching valve with Multi-Stage excitation control algorithm. Measurement 2024, 230, 114483. [Google Scholar] [CrossRef]
- Liu, Y.D.; Yang, Q.J.; Yang, S.R.; Zhang, Z.Y. Improvement of dynamic response and energy conversion ratio of a global type solenoid for high-speed valve by using an innovative magnet ring. J. Magn. Magn. Mater. 2024, 598, 172061. [Google Scholar] [CrossRef]
- Zhong, Q.; Xu, E.G.; Xie, G.; Wang, X.L.; Li, Y.B. Dynamic performance and temperature rising characteristic of a high-speed on/off valve based on pre-excitation control algorithm. Chin. J. Aeronaut. 2023, 36, 445–458. [Google Scholar] [CrossRef]
- Zhong, Q.; Mao, Y.X.; Xu, E.G.; Wang, X.L.; Li, Y.B.; Yang, H.Y. Fast dynamics and low power losses of high-speed solenoid valve based on optimized pre-excitation control algorithm. Therm. Sci. Eng. Prog. 2024, 47, 102363. [Google Scholar] [CrossRef]
- Gao, Q.; Zhu, Y.C.A.; Wu, C.W.; Jiang, Y.L. Identification of critical moving characteristics in high speed on/off valve based on time derivative of the coil current. Proc. Inst. Mech. Eng. Part I J. Syst. Control Eng. 2021, 235, 1084–1099. [Google Scholar] [CrossRef]
- Bruno, N.; Zhu, Y.C.; Liu, C.; Gao, Q.; Li, Y.Y. Development of a piezoelectric high speed on/off valve and its application to pneumatic closed-loop position control system. J. Mech. Sci. Technol. 2019, 33, 2747–2759. [Google Scholar] [CrossRef]
- Ling, M.X.; He, X.; Wu, M.X.; Cao, L. Dynamic Design of a Novel High-Speed Piezoelectric Flow Control Valve Based on Compliant Mechanism. IEEE/ASME Trans. Mechatron. 2022, 27, 4942–4950. [Google Scholar] [CrossRef]
- Li, Y.Z.; Du, J.T.; Lan, Y.J.; Du, H.; Huang, H. Numerical Analysis of the Factors Influencing the Erosion of the Valve Port of a High-Speed On/Off Valve. Appl. Sci. 2022, 12, 6212. [Google Scholar] [CrossRef]
- Nie, S.L.; Hong, R.D.; Ji, H.; Liu, Q.T.; Nie, S. A hybrid of surrogate model and MIGA method for optimization and compensation of steady-state flow force on water hydraulic HSV. Flow Meas. Instrum. 2022, 86, 102176. [Google Scholar] [CrossRef]
- Wang, X.J.; Li, W.J.; Li, C.H.; Peng, Y.W. Structure optimization and flow field simulation of plate type high speed on-off valve. J. Cent. South Univ. 2020, 27, 1557–1571. [Google Scholar] [CrossRef]
- Zhao, J.H.; Zhao, S.N.; Grekhov, L. Study on Transient Fuel Hydrodynamic Force Characteristics of High-Speed Solenoid Valve for Common Rail Injector. Int. J. Automot. Technol. 2020, 21, 1257–1269. [Google Scholar] [CrossRef]
- Lai, R. Translatory accelerating motion of a circular disk in a viscous fluid. Appl. Sci. Res. 1973, 27, 440–450. [Google Scholar] [CrossRef]
- Lai, R.Y. Stokes Flow Solution for an Accelerating Spheroid; Northwestern University: Evanston, IL, USA, 1969. [Google Scholar]
- Brennen, C.E. A Review of Added Mass and Fluid Inertial Forces; Naval Civil Engineering Laboratory: Port Hueneme, CA, USA, 1982. [Google Scholar]
- Shu, Z.Y.; Liang, W.Q.; Qin, B.K.; Lei, G.; Wang, T.X.; Che, B.X.; Zheng, X.H.; Qian, H. Transient flow dynamics behaviors during quick shut-off of ball valves in liquid hydrogen pipelines and storage systems. J. Energy Storage 2023, 73, 109049. [Google Scholar] [CrossRef]
- Yang, Z.D.; Zhou, L.Y.; Dou, H.M.; Lu, C.; Luan, X.C. Water hammer analysis when switching of parallel pumps based on contra-motion check valve. Ann. Nucl. Energy 2020, 139, 107275. [Google Scholar] [CrossRef]
- Roemer, D.B.; Johansen, P.; Schmidt, L.; Andersen, T.O. Modeling of Movement-Induced and Flow-Induced Fluid Forces in Fast Switching Valves. In Proceedings of the International Conference on Fluid Power and Mechatronics FPM, Harbin, China, 5–7 August 2015; pp. 978–983. [Google Scholar]
- Noergaard, C.; Madsen, E.L.; Joergensen, J.M.; Christensen, J.H.; Bech, M.M. Test of a novel moving magnet actuated seat valve for digital displacement fluid power machines. IEEE/ASME Trans. Mechatron. 2018, 23, 2229–2239. [Google Scholar] [CrossRef]
- Noergaard, C.; Bech, M.M.; Christensen, J.H.; Andersen, T.O. Modeling and validation of moving coil actuated valve for digital displacement machines. IEEE Trans. Ind. Electron. 2018, 65, 8749–8757. [Google Scholar] [CrossRef]
- Scheidl, R.; Gradl, C.; Plöckinger, A. The Cushioning Groove for Solenoid Switching Valves–Concept and Theoretical Analyses. JFPS Int. J. Fluid Power Syst. 2014, 8, 76–81. [Google Scholar] [CrossRef]
- Scheidl, R.; Gradl, C. An oil stiction model for flat armature solenoid switching valves. In Proceedings of the ASME/BATH 2013 Symposium on Fluid Power and Motion Control, Sarasota, FL, USA, 6–9 October 2013; American Society of Mechanical Engineers: New York, NY, USA, 2013; p. V001T01A041. [Google Scholar]
- Hamilton, W.S. Fluid force on accelerating bodies. In Coastal Engineering 1972; American Society of Civil Engineers: New York, NY, USA, 1972; pp. 1767–1782. [Google Scholar]
- Wu, J.; Xu, P.; Li, L.; Li, Z.; Qi, H.; Wang, C.; Zhang, Y.; Xie, Y.; Tan, D. Multiphase dynamic interfaces and abrasive transport dynamics for abrasive flow machining in shear thickening transition states. Powder Technol. 2024, 446, 120150. [Google Scholar] [CrossRef]
- Li, L.; Lu, B.; Xu, W.; Wang, C.; Wu, J.; Tan, D. Dynamic behaviors of multiphase vortex-induced vibration for hydropower energy conversion. Energy 2024, 308, 132897. [Google Scholar] [CrossRef]
- GB/T 35175-2017; High-Speed On-Off Solenoid Valve for Automobile Automatic Transmission. Standardization Administration of China: Beijing, China, 2017.
- Lisowski, E.; Czyżycki, W.; Rajda, J. Three dimensional CFD analysis and experimental test of flow force acting on the spool of solenoid operated directional control valve. Energy Convers. Manag. 2013, 70, 220–229. [Google Scholar] [CrossRef]
- Chen, S.; Li, Q.; Huang, H.; Chen, S.; Du, H.; Li, Y.; Yu, J.; Qian, C. Dynamic Characteristics and Energy Consumption of Electromechanical Converter of High-Speed On/Off Valve Under Multiple Motion Cycles Considering Eddy Current and Hysteresis. IEEE Trans. Magn. 2024, 60, 4900112. [Google Scholar] [CrossRef]
- Zhong, Q.; Zhang, B.; Yang, H.Y.; Ma, J.E.; Fung, R.F. Performance analysis of a high-speed on/off valve based on an intelligent pulse-width modulation control. Adv. Mech. Eng. 2017, 9, 1687814017733247. [Google Scholar] [CrossRef]
- Zhong, Q.; Wang, X.L.; Zhou, H.Z.; Xie, G.; Hong, H.C.; Li, Y.B.; Chen, B.; Yang, H.Y. Investigation Into the Adjustable Dynamic Characteristic of the High-Speed ON/OFF Valve with an Advanced Pulsewidth Modulation Control Algorithm. IEEE/ASME Trans. Mechatron. 2022, 27, 3784–3797. [Google Scholar] [CrossRef]
- Gao, Q.; Zhu, Y.C.; Luo, Z.; Bruno, N. Investigation on adaptive pulse width modulation control for high speed on/off valve. J. Mech. Sci. Technol. 2020, 34, 1711–1722. [Google Scholar] [CrossRef]






















| Items | Attributes |
|---|---|
| model | the standard turbulence model |
| Inlet wall | Pressure-inlet (0 MPa) |
| Outlet wall | Pressure-outlet (0 MPa) |
| Flow field fixed wall | No slip wall |
| Surface1 | Rigid body type; Motion UDF |
| Surface2 | Deforming type |
| Moving direction | Y-axis |
| Motion UDF for Surface1 | DEFINE CG MOTION |
| Simulated acceleration | ±900 m/s2, ±600 m/s2, ±300 m/s2 |
| Residual of continuity/k/epsilon | 0.0001 |
| Residual of x/y/z velocity | 0.0001 |
| The Maximum Size of Surface Mesh/mm | Nodes | Elements | Fluid Force/N | Error |
|---|---|---|---|---|
| 1 | 13,307 | 127,978 | 2.836 | 3.05% |
| 0.5 | 14,823 | 136,001 | 2.804 | 1.89% |
| 0.4 | 17,406 | 154,229 | 2.796 | 1.60% |
| 0.3 | 23,697 | 204,246 | 2.765 | 0.47% |
| 0.2 | 43,445 | 411,159 | 2.752 | 0 |
| 0.1 | 153,283 | 2,137,825 | 2.752 | - |
| Projects | Simulation | Experiment | Errors |
|---|---|---|---|
| Opening time [oil-free] [24 V] | 1.24 ms | 1.30 ms | 4.62% |
| Closing time [oil-free] [24 V] | 0.88 ms | 0.92 ms | 4.35% |
| Opening time [oil-free] [28 V] | 1.14 ms | 1.20 ms | 5.00% |
| Closing time [oil-free] [28 V] | 0.86 ms | 0.92 ms | 6.52% |
| Opening time [oil-free] [20 V] | 1.38 ms | 1.44 ms | 4.17% |
| Closing time [oil-free] [20 V] | 0.90 ms | 0.94 ms | 4.26% |
| Opening time [oil-immersed] [24 V] | 1.40 ms | 1.46 ms | 4.10% |
| Closing time [oil-immersed] [24 V] | 1.04 ms | 1.10 ms | 5.45% |
| Opening time [oil-immersed] [28 V] | 1.30 ms | 1.36 ms | 4.41% |
| Closing time [oil-immersed] [28 V] | 1.02 ms | 1.08 ms | 5.56% |
| Opening time [oil-immersed] [20 V] | 1.54 ms | 1.60 ms | 3.75% |
| Closing time [oil-immersed] [20 V] | 1.06 ms | 1.12 ms | 5.36% |
| Acceleration | Stage Switching Time | Structure | MIFF | Rate of Change | Added Mass Force | Rate of Change |
|---|---|---|---|---|---|---|
| 900 m/s2 | 0.6 ms | W.O.BG | 3.03 | ↓32.67% | 2.21 | ↓48.40% |
| W.BG | 2.04 | 1.14 | ||||
| 600 m/s2 | 0.73 ms | W.O.BG | 1.88 | ↓35.11% | 1.47 | ↓44.22% |
| W.BG | 1.22 | 0.82 | ||||
| 300 m/s2 | 1.30 ms | W.O.BG | 0.93 | ↓35.48% | 0.73 | ↓43.84% |
| W.BG | 0.60 | 0.41 | ||||
| −900 m/s2 | 0.69 ms | W.O.BG | −2.84 | ↓34.15% | −2.17 | ↓48.39% |
| W.BG | −1.87 | −1.21 | ||||
| −600 m/s2 | 0.84 ms | W.O.BG | −1.82 | ↓35.71% | −1.45 | ↓44.14% |
| W.BG | −1.17 | −0.81 | ||||
| −300 m/s2 | 1.30 ms | W.O.BG | −0.91 | ↓35.16% | −0.72 | ↓44.44% |
| W.BG | −0.59 | −0.40 |
| Projects | Simulation Results | Experimental Results | Errors |
|---|---|---|---|
| Opening time [W.B.G.] | 0.86 ms | 0.90 ms | 4.44% |
| Closing time [W.B.G.] | 1.30 ms | 1.34 ms | 2.99% |
| Opening time [W.O.B.G.] | 0.96 ms | 1.02 ms | 5.88% |
| Closing time [W.O.B.G.] | 1.44 ms | 1.50 ms | 4.00% |
Disclaimer/Publisher’s Note: The statements, opinions and data contained in all publications are solely those of the individual author(s) and contributor(s) and not of MDPI and/or the editor(s). MDPI and/or the editor(s) disclaim responsibility for any injury to people or property resulting from any ideas, methods, instructions or products referred to in the content. |
© 2024 by the authors. Licensee MDPI, Basel, Switzerland. This article is an open access article distributed under the terms and conditions of the Creative Commons Attribution (CC BY) license (https://creativecommons.org/licenses/by/4.0/).
Share and Cite
Yang, Q.; Liu, Y.; Tong, Y.; Wang, X. Experimental and Numerical Investigation of Motion-Induced Fluid Force for a High-Speed Valve. Energies 2024, 17, 6389. https://doi.org/10.3390/en17246389
Yang Q, Liu Y, Tong Y, Wang X. Experimental and Numerical Investigation of Motion-Induced Fluid Force for a High-Speed Valve. Energies. 2024; 17(24):6389. https://doi.org/10.3390/en17246389
Chicago/Turabian StyleYang, Qingjun, Yudong Liu, Yuanyuan Tong, and Xuan Wang. 2024. "Experimental and Numerical Investigation of Motion-Induced Fluid Force for a High-Speed Valve" Energies 17, no. 24: 6389. https://doi.org/10.3390/en17246389
APA StyleYang, Q., Liu, Y., Tong, Y., & Wang, X. (2024). Experimental and Numerical Investigation of Motion-Induced Fluid Force for a High-Speed Valve. Energies, 17(24), 6389. https://doi.org/10.3390/en17246389
