Framework for Implementation of Building Automation Control Programs for Industrial Heating and Cooling Systems
Abstract
1. Introduction
2. State of Technology and Research
2.1. State of Technology
2.2. Literature Search Approach
2.3. State of Research
2.4. Literature Search Conclusion
2.5. Own Preliminary Work
3. Methodology
- 1.
- Pattern name and classification;
- 2.
- Intent;
- 3.
- Also known as;
- 4.
- Motivation;
- 5.
- Applicability;
- 6.
- Structure;
- 7.
- Participants;
- 8.
- Collaboration;
- 9.
- Consequences;
- 10.
- Implementation;
- 11.
- Sample code;
- 12.
- Known uses;
- 13.
- Related patterns.
4. Results: Framework for Rapid Implementation of Building Automation Control Programs
4.1. Framework Overview
4.2. Design Pattern ’Actuators’
| Listing 1. Sample code from the structured text implementation of the function block of a Grundfos MAGNA3 pump. |
![]() |
4.3. Design Pattern ’Sensors’
| Listing 2. Sample code from the structured text implementation of the function block of a temperature sensor. |
![]() |
4.4. Design Pattern ’Systems’
| Listing 3. Sample code from the structured text implementation of the function block of a heat pump. |
![]() |
4.5. Design Pattern ’Thermal Networks’
| Listing 4. Sample code from the structured text implementation of the function block of thermal networks. |
![]() |
4.6. Design Pattern Strategy
| Listing 5. Sample code from the structured text implementation of the function block of a strategy controller. |
![]() |
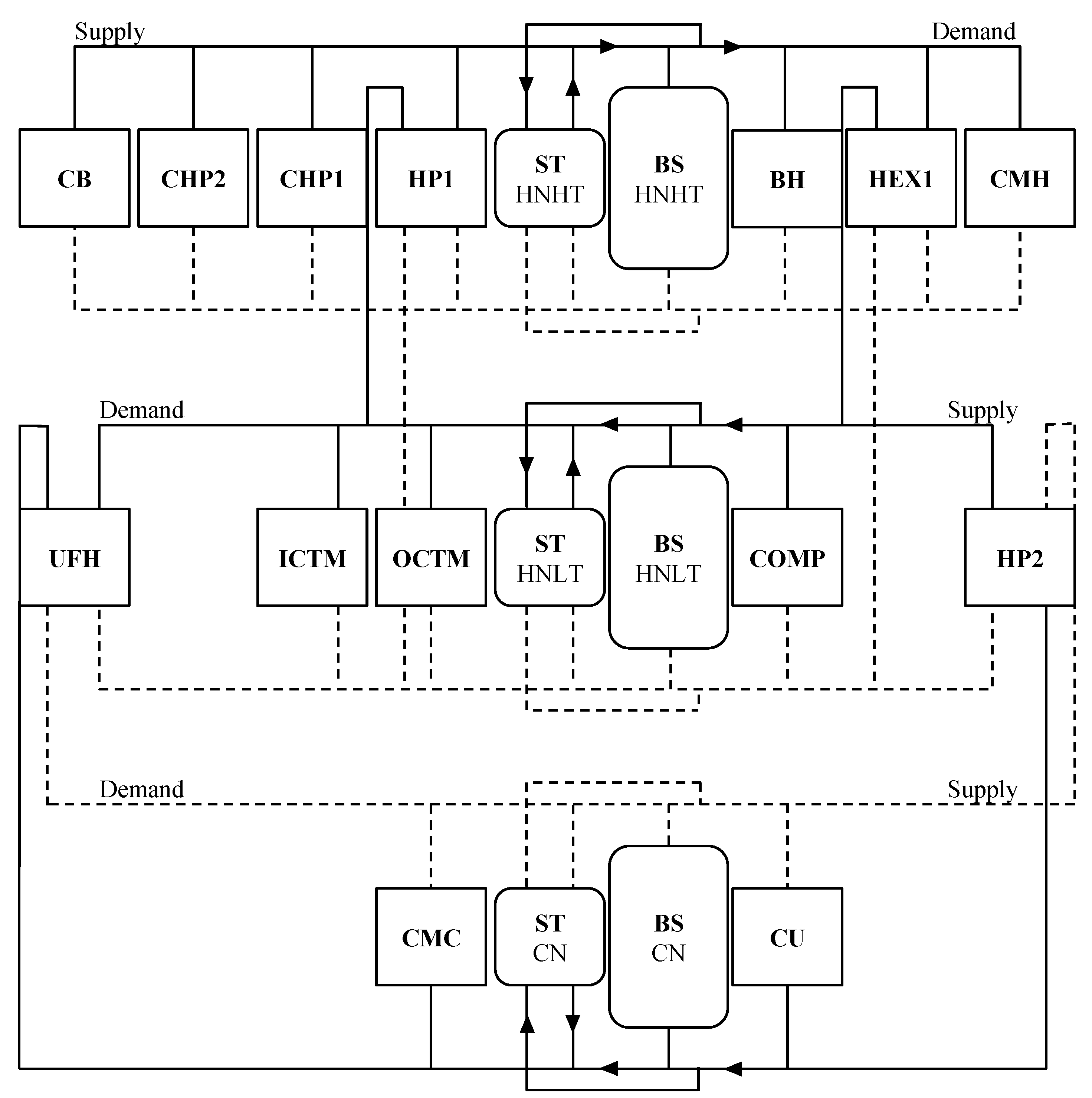
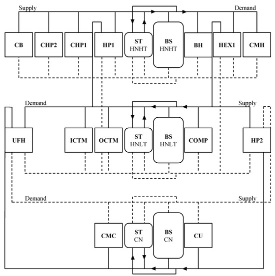
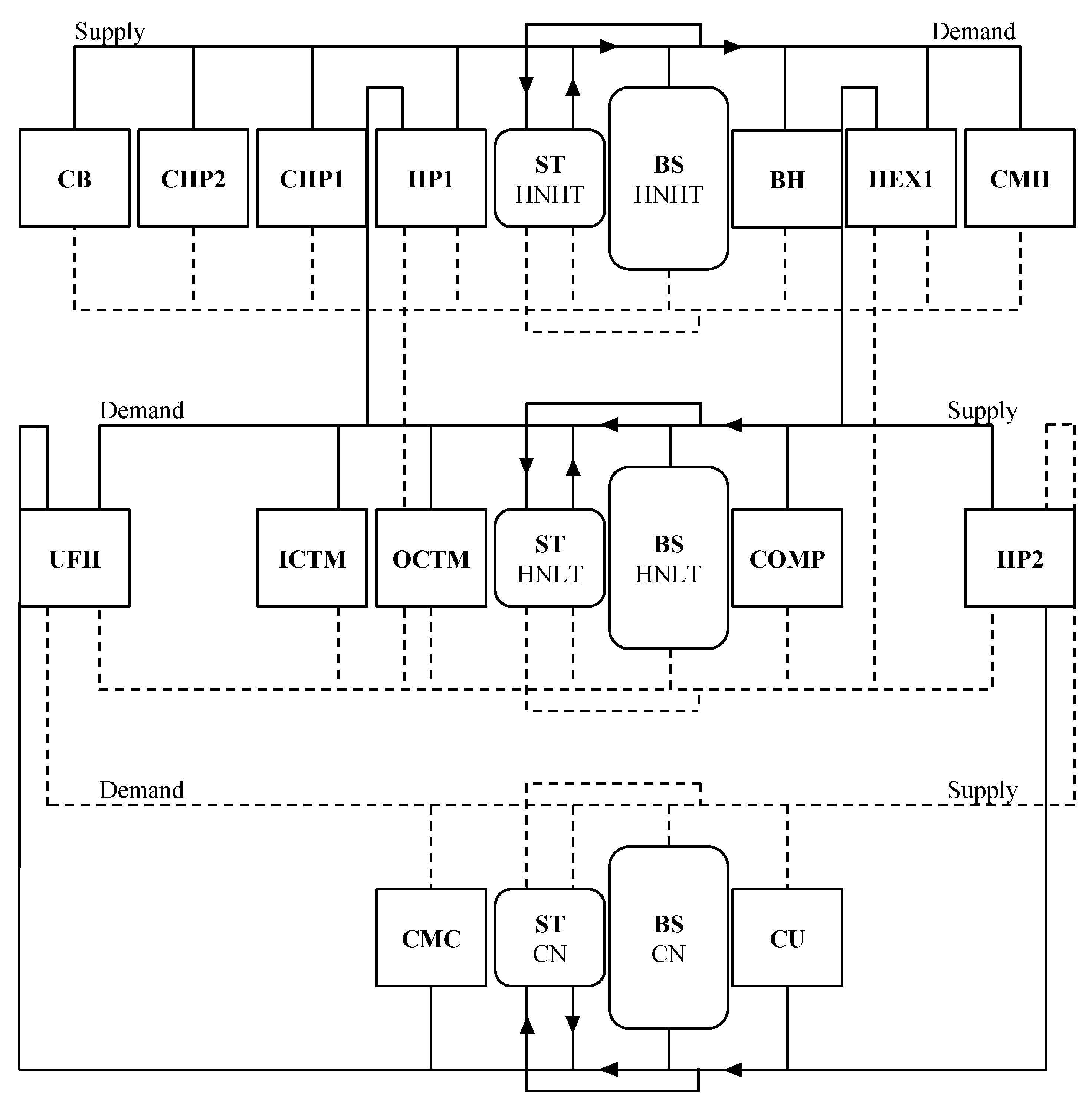
5. Application
5.1. System Description
5.2. Experimental Investigations
5.3. Validation Remarks
6. Conclusions
Author Contributions
Funding
Data Availability Statement
Conflicts of Interest
Abbreviations
| ATS | Automatic test system |
| Temperature | |
| amb | Ambient |
| BH | Basement heating |
| BS | Buffer storage |
| CAN | Controller area network |
| CB | Condensing boiler |
| CHP | Combined heat and power unit |
| CMC | Central machine cooling |
| CMH | Central machine heating |
| CN | Cooling network |
| COMP | Compressor |
| CU | Cooling unit |
| DCS | Distributed control systems |
| DR | Demand response |
| HEX | Heat exchanger |
| HNHT | Heating network high temperature |
| HNLT | Heating network low temperature |
| HP | Heat pump |
| ICTM | Inner capillary tube mats |
| iCPS | Industrial cyber-physical system |
| MVC | Model-view-controller |
| OCTM | Outer capillary tube mats |
| SDL | Specification and description language |
| SOA | Service-oriented architecture |
| ST | (Additional) storage |
| UFH | Underfloor heating |
| UML | Unified modeling language |
| VSI | Vacuum super insulated |
Appendix A


References
- Fraunhofer ISI. Erstellung von Anwendungsbilanzen für Die Jahre 2018 Bis 2020 für Die Sektoren Industrie und GHD; Studie für die Arbeitsgemeinschaft Energiebilanzen e. V. (AGEB): Berlin, Germany, 2021. [Google Scholar]
- Madeddu, S.; Ueckerdt, F.; Pehl, M.; Peterseim, J.; Lord, M.; Kumar, K.A.; Krüger, C.; Luderer, G. The CO2 reduction potential for the European industry via direct electrification of heat supply (power-to-heat). Environ. Res. Lett. 2020, 15, 124004. [Google Scholar] [CrossRef]
- Byfield, S. (Ed.) Das Energiesystem Resilient Gestalten: Maßnahmen für Eine Gesicherte Versorgung: Stellungnahme; Stellungnahme; Deutsche Akademie der Naturforscher Leopoldina: München, Germany; acatech-Deutsche Akademie der Technikwissenschaften and Deutsche Akademie der Naturforscher Leopoldina e.V.: Halle (Saale), Germany; Nationale Akademie der Wissenschaften and Union der Deutschen Akademien der Wissenschaften e.V.: Mainz, Germany, 2017. [Google Scholar]
- Weidlich, I. Wärmenetze. In Erneuerbare Energien: Systemtechnik·Wirtschaftlichkeit·Umweltaspekte; Kaltschmitt, M., Streicher, W., Wiese, A., Eds.; Springer Vieweg: Berlin/Heidelberg, Germany, 2020; pp. 1203–1226. [Google Scholar] [CrossRef]
- Lichtenegger, K.; Wöss, D.; Halmdienst, C.; Höftberger, E.; Schmidl, C.; Pröll, T. Intelligent heat networks: First results of an energy-information-cost-model. Sustain. Energy Grids Netw. 2017, 11, 1–12. [Google Scholar] [CrossRef]
- Prasanna, A.; Dorer, V.; Vetterli, N. Optimisation of a district energy system with a low temperature network. Energy 2017, 137, 632–648. [Google Scholar] [CrossRef]
- Quaggiotto, D.; Vivian, J.; Zarrella, A. Management of a district heating network using model predictive control with and without thermal storage. Optim. Eng. 2021, 22, 1897–1919. [Google Scholar] [CrossRef]
- Dai, W.; Vyatkin, V. A component-based design pattern for improving reusability of automation programs. In Proceedings of the IECON 2013-39th Annual Conference of the IEEE Industrial Electronics Society, Vienna, Austria, 10–13 November 2013; pp. 4328–4333. [Google Scholar] [CrossRef]
- Kanai, S.; Kishinami, T.; Tomura, T.; Uehiro, K.; Ibuka, K.; Yamamoto, S. Object-Oriented Design Pattern Approach to Seamless Modeling, Simulation and Implementation of Distributed Control Systems. In Knowledge and Skill Chains in Engineering and Manufacturing; Arai, E., Kimura, F., Goossenaerts, J., Shirase, K., Eds.; Springer: Boston, MA, USA, 2005; pp. 67–74. [Google Scholar]
- Trkaj, K. Users introduce component based automation solutions. Comput. Control Eng. 2004, 15, 32–37. [Google Scholar] [CrossRef]
- Xia, F.; Wang, Z.; Sun, Y. A framework-based approach to control system engineering following IEC61499. In Proceedings of the 30th Annual Conference of IEEE Industrial Electronics Society. IECON 2004, Busan, Republic of Korea, 2–6 November 2004; Volume 2, pp. 1918–1923. [Google Scholar] [CrossRef]
- Lüder, A.; Peschke, J. Incremental design of distributed control systems using GAIA-UML. In Proceedings of the 2007 IEEE Conference on Emerging Technologies and Factory Automation (EFTA 2007), Patras, Greece, 25–28 September 2007; pp. 1076–1083. [Google Scholar] [CrossRef]
- Vyatkin, V. IEC 61499 as Enabler of Distributed and Intelligent Automation: State-of-the-Art Review. IEEE Trans. Ind. Inform. 2011, 7, 768–781. [Google Scholar] [CrossRef]
- IEC 61131-3; Programmable Controllers—Part 3: Programming Languages. IEC: Geneva, Switzerland, 2013.
- IEC 61499-1; Function Blocks—Part 1: Architecture. IEC: Geneva, Switzerland, 2012.
- Fuhrländer-Völker, D.; Borst, F.; Theisinger, L.; Ranzau, H.; Weigold, M. Modular data model for energy-flexible cyber-physical production systems. Procedia CIRP 2022, 107, 215–220. [Google Scholar] [CrossRef]
- Li, Y.; He, Y.; Wang, Y.; Yan, P.; Liu, X. A framework for characterising energy consumption of machining manufacturing systems. Int. J. Prod. Res. 2014, 52, 314–325. [Google Scholar] [CrossRef]
- Frank, U.; Papenfort, J.; Schütz, D. Real-time capable software agents on IEC 61131 systems—Developing a tool supported method. IFAC Proc. Vol. 2011, 44, 9164–9169. [Google Scholar] [CrossRef]
- Wang, S.; Ma, Z. Supervisory and Optimal Control of Building HVAC Systems: A Review. HVAC R Res. 2008, 14, 3–32. [Google Scholar] [CrossRef]
- Borst, F.; Frank, M.G.; Theisinger, L.; Weigold, M. ThermalSystemsControlLibrary: A modelica library for developing control strategies of industrial energy systems. In Proceedings of the 15th International Modelica Conference 2023, Aachen, Germany, 9–11 October 2023; Modelica Association and Linköping University Electronic Press: Linköping, Sweden, 2023; Volume 204. [Google Scholar] [CrossRef]
- Fuhrländer-Völker, D. Automation Architecture for Demand Response on Aqueous Parts Cleaning Machines, 1st ed.; Schriftenreihe des PTW: “Innovation Fertigungstechnik”; Shaker: Düren, Germany, 2024. [Google Scholar]
- Gamma, E.; Johnson, R.; Vlissides, J.M.; Helm, R. Design Patterns: Elements of Reusable Object-Oriented Software, 40th ed.; Addison-Wesley Professional Computing Series; Addison-Wesley: Boston, MA, USA, 2012. [Google Scholar]
- Tiegelkamp, M.; John, K.H. SPS-Programmierung mit IEC 61131-3: Konzepte und Programmiersprachen, Anforderungen an Programmiersysteme, Entscheidungshilfen, 4th ed.; VDI-Buch; Springer: Berlin/Heidelberg, Germany, 2009. [Google Scholar]
- Bezák, T.; Husar, P.; Resetova, K. Usage of IEC 61131 and IEC 61499 Standards for Creating Distributed Control Systems; Universitätsverlag Ilmenau: München, Germany, 2011; Volume 3, pp. 2193–6439. [Google Scholar]
- Hirsch, M.; Vyatkin, V.; Hanisch, H.m. IEC 61499 Function Blocks for Distributed Networked Embedded Applications. In Proceedings of the 2006 4th IEEE International Conference on Industrial Informatics, Singapore, 16–18 August 2006; pp. 670–675. [Google Scholar] [CrossRef]
- Weule, H.; Spath, D.; Schelberg, H.J. Object-oriented programming of PLC based on IEC1131. Prod. Eng. 1994, 2, 197–200. [Google Scholar]
- Vom Brocke, J.; Simons, A.; Niehaves, B.; Riemer, K.; Plattfaut, R.; Cleven, A. Reconstructing the Giant: On the Importance of Rigour in Documenting the Literature Search Process. In Proceedings of the 17th European Conference on Information Systems, Verona, Italy, 8–10 June 2009. [Google Scholar]
- Glock, C.H.; Hochrein, S. Purchasing Organization and Design: A Literature Review. Bus. Res. 2011, 4, 149–191. [Google Scholar] [CrossRef]
- Reynolds, N.; Simintiras, A.; Vlachou, E. International business negotiations. Int. Mark. Rev. 2003, 20, 236–261. [Google Scholar] [CrossRef]
- Gotzhein, R.; Schaible, P. Pattern-based development of communication systems. Ann. Des Télécommun. 1999, 54, 508–525. [Google Scholar] [CrossRef]
- Xia, F.; Wang, Z.; Sun, Y. A design pattern for holonic manufacturing system in the IEC61499-based model-view-controller framework. In Proceedings of the IEEE International Conference on Industrial Informatics, 2003. INDIN 2003. Proceedings, Banff, AB, Canada, 21–24 August 2003; pp. 233–246. [Google Scholar] [CrossRef]
- He, H.; Aendenroomer, A. Diner-Waiter pattern in distributed control. In Proceedings of the 2nd IEEE International Conference on Industrial Informatics, 2004. INDIN ’04. 2004, Berlin, Germany, 24–26 June 2004; pp. 74–79. [Google Scholar] [CrossRef]
- Machado, R.J.; Fernandes, J.M. A Multi-Level Design Pattern for Embedded Software. In Design Methods and Applications for Distributed Embedded Systems; Kleinjohann, B., Gao, G.R., Kopetz, H., Kleinjohann, L., Rettberg, A., Eds.; Springer: Boston, MA, USA, 2004; pp. 247–256. [Google Scholar]
- Soundararajan, K.; Brennan, R.W. Design Patterns for Distributed Control System Benchmaking. In Information Technology for Balanced Manufacturing Systems; Springer: Boston, MA, USA, 2006; pp. 99–108. [Google Scholar]
- Lüder, A.; Peschke, J.; Sanz, R. Design Patterns for Distributed Control Applications. In Distributed Manufacturing: Paradigm, Concepts, Solutions and Examples; Kühnle, H., Ed.; Springer: London, UK, 2010; pp. 155–175. [Google Scholar] [CrossRef]
- Mei, Y.; Lingjie, F. ATS Software Framework Design Pattern and Application. In Proceedings of the 2015 Fifth International Conference on Instrumentation and Measurement, Computer, Communication and Control (IMCCC), Qinhuangdao, China, 18–20 September 2015; IEEE: Piscataway, NJ, USA, 2015; pp. 141–146. [Google Scholar] [CrossRef]
- Lyu, G.; Brennan, R.W. Evaluating a self-manageable architecture for industrial automation systems. Robot. Comput.-Integr. Manuf. 2024, 85, 102627. [Google Scholar] [CrossRef]
- Fuhrländer-Völker, D.; Lindner, M.; Weigold, M. Design Method for Building Automation Control Programs to Enable the Energetic Optimization of Industrial Supply Systems. Procedia CIRP 2021, 104, 229–234. [Google Scholar] [CrossRef]
- Fuhrländer-Völker, D.; Magin, J.; Weigold, M. Automation architecture for harnessing the demand response potential of aqueous parts cleaning machines. Prod. Eng. 2023, 17, 785–803. [Google Scholar] [CrossRef]
- Borky, J.M.; Bradley, T.H. (Eds.) Effective Model-Based Systems Engineering; Springer: Cham, Switzerland, 2019. [Google Scholar]
- Broy, M. (Ed.) Logische und Methodische Grundlagen der Programm- und Systementwicklung: Datenstrukturen, Funktionale, Sequenzielle und Objektorientierte Programmierung; Springer Vieweg: Wiesbaden, Germany, 2019. [Google Scholar] [CrossRef]
- Silberbauer, C. Einstieg in Java und OOP: Grundelemente, Objektorientierung, Design-Patterns und Aspektorientierung, 2nd ed.; Springer Vieweg: Berlin/Heidelberg, Germany, 2020. [Google Scholar] [CrossRef]
- Lauder, A.; Kent, S. Precise visual specification of design patterns. In ECOOP’98—Object-Oriented Programming; Lecture Notes in Computer Science; Jul, E., Ed.; Springer: Berlin/Heidelberg, Germany, 1998; pp. 114–134. [Google Scholar]
- Cook, S.; Bock, C.; Rivett, P.; Rutt, T.; Seidewitz, E.; Selic, B.; Doug Tolbert, D. Unified Modeling Language (UML) Version 2.5.1: Standard. Available online: https://www.omg.org/spec/UML/2.5.1/About-UML (accessed on 10 September 2024).
- Isermann, R. Mechatronische Systeme: Grundlagen, 2nd ed.; Springer: Berlin/Heidelberg, Germany, 2008. [Google Scholar]
- Frank, M.; Magin, J.; TU Darmstadt. Cleaning Machine MAFAC KEA. Available online: https://tudatalib.ulb.tu-darmstadt.de/handle/tudatalib/4145 (accessed on 10 September 2024).
- Fuhrländer-Völker, D.; Borst, F.; Theisinger, L.; Ranzau, H.; Weigold, M. Implementation of Building Automation Base Classes. Available online: https://github.com/PTW-TUDa/eta-factory-building-automation-base-classes (accessed on 10 September 2024).
- VDMA-Verband Deutscher Maschinen- und Anlagenbau e.V. Messvorschrift zur Bestimmung des Energie- und Medienbedarfs von Werkzeugmaschinen in der Serienfertigung; VDMA-Verband Deutscher Maschinen- und Anlagenbau e.V.: Hamburg, Germany, 2019.
- Frank, M.; Borst, F.; Theisinger, L.; Lademann, T.; TU Darmstadt. Buffer Storage Vitocell 100-E. Available online: https://tudatalib.ulb.tu-darmstadt.de/handle/tudatalib/4159 (accessed on 10 September 2024).
- Frank, M.; Borst, F.; Theisinger, L.; Lademann, T.; TU Darmstadt. Heat Storage Vacuum Superisolated 7. Available online: https://tudatalib.ulb.tu-darmstadt.de/handle/tudatalib/4165 (accessed on 10 September 2024).
- Frank, M.; Borst, F.; Theisinger, L.; Lademann, T.; TU Darmstadt. Combined Heat and Power Unit Vitobloc 200 EM-6/15. Available online: https://tudatalib.ulb.tu-darmstadt.de/handle/tudatalib/4157 (accessed on 10 September 2024).
- Frank, M.; Borst, F.; Theisinger, L.; Lademann, T.; TU Darmstadt. Combined Heat and Power Unit Vitobloc 200 EM-9/20. Available online: https://tudatalib.ulb.tu-darmstadt.de/handle/tudatalib/4156 (accessed on 10 September 2024).
- Frank, M.; Borst, F.; Theisinger, L.; Lademann, T.; TU Darmstadt. Condensing Boiler Vitodens 200-W B2HA. Available online: https://tudatalib.ulb.tu-darmstadt.de/handle/tudatalib/4209 (accessed on 10 September 2024).
- Frank, M.; Borst, F.; Theisinger, L.; Lademann, T. Hydraulic scheme ETA Factory Thermal Supply Systems, 17 May 2024. Available online: https://tudatalib.ulb.tu-darmstadt.de/handle/tudatalib/4231 (accessed on 10 September 2024).
- Frank, M.; Borst, F.; Theisinger, L.; Lademann, T.; TU Darmstadt. Heat Pump Vitocal 200-G. Available online: https://tudatalib.ulb.tu-darmstadt.de/handle/tudatalib/4162 (accessed on 10 September 2024).
- Frank, M.; Borst, F.; Theisinger, L.; Lademann, T.; TU Darmstadt. Heat Exchanger SWEP B35Hx142/P-SC-S. Available online: https://tudatalib.ulb.tu-darmstadt.de/handle/tudatalib/4229 (accessed on 10 September 2024).
- Frank, M.; Borst, F.; Theisinger, L.; Lademann, T.; TU Darmstadt. Heat Storage High Volume Fly Ash 25. Available online: https://tudatalib.ulb.tu-darmstadt.de/handle/tudatalib/4164 (accessed on 10 September 2024).
- Frank, M.; Borst, F.; Theisinger, L.; Lademann, T.; TU Darmstadt. Compressor Atlas Copco GA22_VSD. Available online: https://tudatalib.ulb.tu-darmstadt.de/handle/tudatalib/4226 (accessed on 10 September 2024).
- Frank, M.; Borst, F.; Theisinger, L.; Lademann, T.; TU Darmstadt. Heat Pump Vitocal 350-G. Available online: https://tudatalib.ulb.tu-darmstadt.de/handle/tudatalib/4161 (accessed on 10 September 2024).
- Frank, M.; Borst, F.; Theisinger, L.; Lademann, T.; TU Darmstadt. Heat Storage High Volume Fly Ash 13. Available online: https://tudatalib.ulb.tu-darmstadt.de/handle/tudatalib/4163 (accessed on 10 September 2024).
- Frank, M.; Borst, F.; Theisinger, L.; Lademann, T.; TU Darmstadt. Cooling Unit Efficient Energy eChiller 45-II. Available online: https://tudatalib.ulb.tu-darmstadt.de/handle/tudatalib/4158 (accessed on 10 September 2024).
- Frank, M.; Borst, F.; Theisinger, L.; Lademann, T.; Fuhrländer-Völker, D.; Weigold, M. Building Automation Program of the ETA Research Factory. Available online: https://github.com/PTW-TUDa/eta-factory-building-automation (accessed on 10 September 2024).
















| System | Capacity | Temperature | Purpose | Reference |
|---|---|---|---|---|
| HNHT | ||||
| BS | 1000 L | 80–60 °C | hydraulic and time decoupling | [49] |
| HNLT-ST | 7000 L | 80–60 °C | heat storage | [50] |
| CHP1 | 12 kW | 85 °C | heating unit | [51] |
| CHP2 | 15 kW | 85 °C | heating unit | [52] |
| CB | 24 kW | 80 °C | heating unit | [53] |
| BH | 6 kW | 75 °C | basement heating | [54] |
| CMH | 25 kW | 75 °C | central machine heating | [54] |
| HNHT–HNLT Linkage | ||||
| HP1 | 13 kW | 65 °C | waste heat usage (summer) | [55] |
| HEX1 | 46 kW | 45 °C | low-temperature heat supply (winter) | [56] |
| HNLT | ||||
| BS | 1000 L | 45–35 °C | hydraulic and time decoupling | [49] |
| HNLT-ST | 25,000 L | 45–35 °C | waste heat storage | [57] |
| OCTM | 29 kW | 38 °C | recooling unit | [54] |
| COMP | 22 kW | 60 °C | waste heat source | [58] |
| HNLT–CN Linkage | ||||
| HP2 | 7 kW | 45 °C | waste heat usage (summer) | [59] |
| UFH | 20 kW | 40 °C/15 °C | office heating and cooling | [54] |
| ICTM | 40 kW | 40 °C/15 °C | shop-floor heating and cooling | [54] |
| CN | ||||
| BS | 1000 L | 5–20 °C | hydraulic and time decoupling | [49] |
| CN-ST | 25,000 L | 5–20 °C | cold storage | [60] |
| CU | 40 kW | 15–20 °C | cooling unit | [61] |
| CMC | 10 kW | 15 °C | central machine cooling | [54] |
Disclaimer/Publisher’s Note: The statements, opinions and data contained in all publications are solely those of the individual author(s) and contributor(s) and not of MDPI and/or the editor(s). MDPI and/or the editor(s) disclaim responsibility for any injury to people or property resulting from any ideas, methods, instructions or products referred to in the content. |
© 2024 by the authors. Licensee MDPI, Basel, Switzerland. This article is an open access article distributed under the terms and conditions of the Creative Commons Attribution (CC BY) license (https://creativecommons.org/licenses/by/4.0/).
Share and Cite
Frank , M.; Borst , F.; Theisinger , L.; Lademann , T.; Fuhrländer-Völker , D.; Weigold , M. Framework for Implementation of Building Automation Control Programs for Industrial Heating and Cooling Systems. Energies 2024, 17, 5361. https://doi.org/10.3390/en17215361
Frank M, Borst F, Theisinger L, Lademann T, Fuhrländer-Völker D, Weigold M. Framework for Implementation of Building Automation Control Programs for Industrial Heating and Cooling Systems. Energies. 2024; 17(21):5361. https://doi.org/10.3390/en17215361
Chicago/Turabian StyleFrank , Michael, Fabian Borst , Lukas Theisinger , Tobias Lademann , Daniel Fuhrländer-Völker , and Matthias Weigold . 2024. "Framework for Implementation of Building Automation Control Programs for Industrial Heating and Cooling Systems" Energies 17, no. 21: 5361. https://doi.org/10.3390/en17215361
APA StyleFrank , M., Borst , F., Theisinger , L., Lademann , T., Fuhrländer-Völker , D., & Weigold , M. (2024). Framework for Implementation of Building Automation Control Programs for Industrial Heating and Cooling Systems. Energies, 17(21), 5361. https://doi.org/10.3390/en17215361






