Transient Emissions Forecasting of Off-Road Construction Machinery Based on Long Short-Term Memory Network
Abstract
1. Introduction
2. Materials and Methods
2.1. Recurrent Neural Network
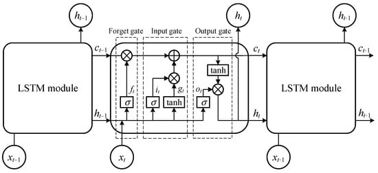
2.2. Long Short-Term Memory Network
2.3. Dropout for Neural Networks
2.4. Loss Function and Optimization
3. Data Preprocessing
3.1. Data Compensation
- (1)
- Perform data inspection on the original data sequence L to identify the positions of missing data points (xi, yi).
- (2)
- Select the key data points of (x1, y1) and (x2, y2) nearest to the missing value (xi, yi) from the data sequence L, and perform linear interpolation using these two points. Subsequently, add this interpolated data point (x’i, y’i) to the data sequence L to replace (xi, yi), resulting in an updated dataset L’. The coordinates of the updated data points are as follows:
- (3)
- Repeat steps (1) and (2) until there are no incomplete data points in data sequence L.
3.2. Outlier Detection
3.3. Normalization
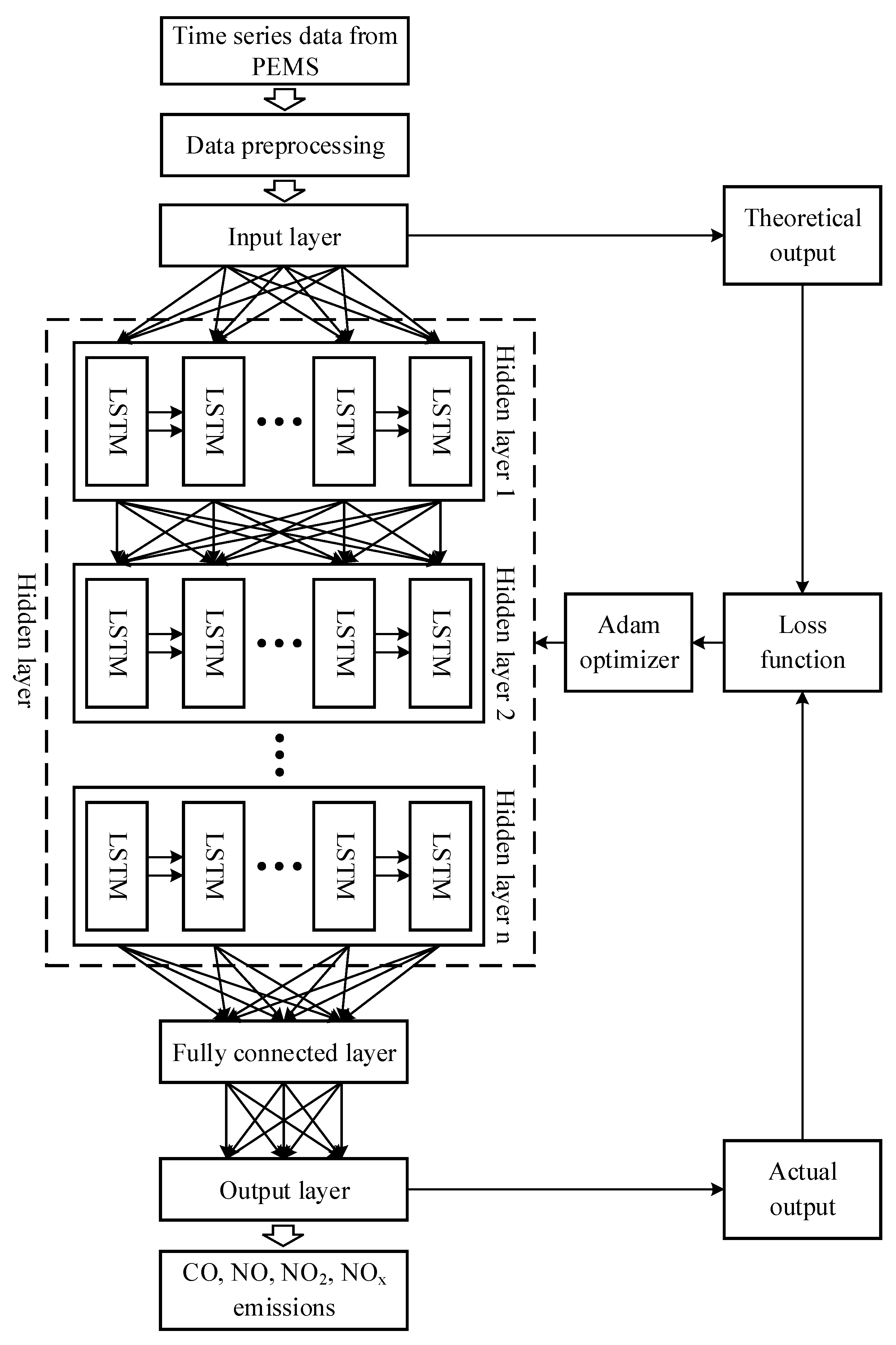
4. LSTM-Based Emissions Forecasting Model
5. Experimental Results and Discussion
5.1. Data Collection and Setup
5.2. Correlation Analysis
5.3. Parameter Settings and Evaluation Metrics
5.4. Emissions Prediction for Four Types of Construction Machinery
5.5. Discussion
6. Conclusions
Author Contributions
Funding
Data Availability Statement
Conflicts of Interest
References
- Chan, C.K.; Yao, X. Air pollution in mega cities in China. Atmos. Environ. 2008, 42, 1–42. [Google Scholar] [CrossRef]
- Weschler, C.J. Ozone’s impact on public health: Contributions from indoor exposures to ozone and products of ozone-initiated chemistry. Environ. Health Perspect. 2006, 114, 1489–1496. [Google Scholar] [CrossRef]
- Bakay, M.S.; Agbulut, Ü. Electricity production based forecasting of greenhouse gas emissions in Turkey with deep learning, support vector machine and artificial neural network algorithms. J. Clean Prod. 2021, 285, 125324. [Google Scholar] [CrossRef]
- Ministry of Ecology and Environment of the People’s Republic of China. China Mobile Source Environmental Management Annual Report; Ministry of Ecology and Environment (MEE): Beijing, China, 2019. (In Chinese) [Google Scholar]
- Wang, Y.Q.; Yin, W.; Yan, Q.Z.; Cheng, Y. Emission characteristics of particulate matter emitted by typical off-road construction machinery, Environ. Sci. Pollut. Res. 2022, 29, 44220–44232. [Google Scholar] [CrossRef] [PubMed]
- Ministry of Ecology and Environment of the People’s Republic of China. China Mobile Source Environmental Management Annual Report; Ministry of Ecology and Environment (MEE): Beijing, China, 2021. (In Chinese) [Google Scholar]
- Goldberg, D.L.; Harkey, M.; de Foy, B.; Judd, L.; Johnson, J.; Yarwood, G.; Holloway, T. Evaluating NOx emissions and their effect on O3 production in Texas using TROPOMI NO2 and HCHO. Atmos. Chem. Phys. 2022, 22, 10875–10900. [Google Scholar] [CrossRef]
- Liu, Z.Q.; Li, D.F.; Zhang, J.E.; Saleem, M.; Zhang, Y.; Ma, R.; He, Y.N.; Yang, J.Y.; Xiang, H.M.; Wei, H. Effect of simulated acid rain on soil CO2, CH4 and N2O emissions and microbial communities in an agricultural soil. Geoderma 2020, 366, 114222. [Google Scholar] [CrossRef]
- Hou, X.N.; Tian, J.L.; Song, C.B.; Wang, J.; Zhao, J.Y.; Zhang, X.M. Emission inventory research of typical agricultural machinery in Beijing, China. Atmos. Environ. 2019, 216, 116903. [Google Scholar] [CrossRef]
- Tu, R.; Li, T.Z.; Meng, C.S.; Chen, J.Y.; Sheng, Z.; Xie, Y.S.; Xie, F.J.; Yang, F.; Chen, H.B.; Li, Y.; et al. Real-world emissions of construction mobile machines and comparison to a non-road emission model. Sci. Total Environ. 2021, 771, 145365. [Google Scholar] [CrossRef]
- Jaworski, A.; Kuszewski, H.; Ustrzycki, A.; Balawender, K.; Lejda, K.; Wos, P. Analysis of the repeatability of the exhaust pollutants emission research results for cold and hot starts under controlled driving cycle conditions, Environ. Sci. Pollut. Res. 2018, 25, 17862–17877. [Google Scholar] [CrossRef]
- Geller, V.D.; Sardar, S.B.; Phuleria, H.; Fine, P.N.; Sioutas, C. Measurements of particle number and mass concentrations and size distributions in a tunnel environment, Environ. Sci. Technol. 2005, 39, 8653–8663. [Google Scholar] [CrossRef]
- Xie, H.; Zhang, Y.; He, Y.; You, K.; Fan, B.Q.; Yu, D.Q.; Li, M.Q. Automatic and fast recognition of on-road high-emitting vehicles using an optical remote sensing system. Sensors 2019, 19, 3540. [Google Scholar] [CrossRef] [PubMed]
- Bishop, G.A.; Peddle, A.M.; Stedman, D.H.; Zhan, T. On-road emission measurements of reactive nitrogen compounds from three California cities, Environ. Sci. Technol. 2010, 44, 3616–3620. [Google Scholar] [CrossRef] [PubMed]
- O’Driscoll, R.; ApSimon, H.M.; Oxley, T.; Molden, N.; Stettler, M.E.J.; Thiyagarajah, A. A portable emissions measurement system (PEMS) study of NOx and primary NO2 emissions from euro 6 diesel passenger cars and comparison with COPERT emission factors. Atmos. Environ. 2016, 145, 81–91. [Google Scholar] [CrossRef]
- Frey, H.C.; Rasdorf, W.; Lewis, P. Comprehensive field study of fuel use and emissions of nonroad diesel construction equipment. Transp. Res. Record 2010, 2158, 69–76. [Google Scholar] [CrossRef]
- Ropkins, K.; DeFries, T.H.; Pope, F.; Green, D.C.; Kemper, J.; Kishan, S.; Fuller, G.W.; Li, H.; Sidebottom, J.; Crilley, L.R.; et al. Evaluation of EDAR vehicle emissions remote sensing technology. Sci. Total Environ. 2017, 609, 1464–1474. [Google Scholar] [CrossRef] [PubMed]
- Heidari, B.; Marr, L.C. Real-time emissions from construction equipment compared with model predictions. J. Air Waste Manag. Assoc. 2015, 65, 115–125. [Google Scholar] [CrossRef] [PubMed]
- Singh, M.; Dubey, R.K. Deep learning model based CO2 emissions prediction using vehicle telematics sensors data. IEEE Trans. Intell. Veh. 2023, 8, 768–777. [Google Scholar] [CrossRef]
- Yu, Y.; Wang, Y.Y.; Li, J.Q.; Fu, M.L.; Shah, A.N.; He, C. A novel deep learning approach to predict the instantaneous NOx emissions from diesel engine. IEEE Access 2021, 9, 11002–11013. [Google Scholar] [CrossRef]
- Shin, S.; Lee, Y.; Park, J.; Kim, M.; Lee, S.; Min, K. Predicting transient diesel engine NOx emissions using time-series data preprocessing with deep-learning models. Proc. Inst. Mech. Eng. Part D J. Automob. Eng. 2021, 235, 3170–3184. [Google Scholar] [CrossRef]
- Zhang, Q.; Li, F.; Long, F.; Ling, Q. Vehicle emission forecasting based on wavelet transform and long short-term memory network. IEEE Access 2018, 6, 56984–56994. [Google Scholar] [CrossRef]
- Zhang, R.S.; Wang, Y.G.; Pang, Y.J.; Zhang, B.W.; Wei, Y.B.; Wang, M.L.; Zhu, R.C. A deep learning micro-scale model to estimate the CO2 emissions from light-duty diesel trucks based on real-world driving. Atmosphere 2022, 13, 1466. [Google Scholar] [CrossRef]
- Xie, H.; Zhang, Y.; He, Y.; You, K.; Fan, B.Q.; Yu, D.Q.; Lei, B.; Zhang, W.C. Parallel attention-based LSTM for building a prediction model of vehicle emissions using PEMS and OBD. Measurement 2021, 185, 110074. [Google Scholar] [CrossRef]
- Shi, Z.; Shi, M.; Li, C. The prediction of character based on recurrent neural network language model. In Proceedings of the 2017 IEEE/ACIS 16th International Conference on Computer and Information Science (ICIS), Wuhan, China, 24–26 May 2017. [Google Scholar]
- Zhang, X.Y.; Yin, F.; Zhang, Y.M.; Liu, C.L.; Bengio, Y. Drawing and recognizing Chinese characters with recurrent neural network. IEEE Trans. Pattern Anal. Mach. Intell. 2018, 40, 849–862. [Google Scholar] [CrossRef] [PubMed]
- Guo, L.; Li, N.P.; Jia, F.; Lei, Y.G.; Lin, J. A recurrent neural network based health indicator for remaining useful life prediction of bearings. Neurocomputing 2017, 240, 98–109. [Google Scholar] [CrossRef]
- Zhao, H.; Sun, S.; Jin, B. Sequential fault diagnosis based on LSTM neural network. IEEE Access 2018, 6, 12929–12939. [Google Scholar] [CrossRef]
- Song, H.; Dai, J.J.; Luo, L.G.; Sheng, G.H.; Jiang, X.C. Power transformer operating state prediction method based on an LSTM network. Energies 2018, 11, 914. [Google Scholar] [CrossRef]
- Yang, G.T.; Wang, Y.N.; Li, X.L. Prediction of the NOx emissions from thermal power plant using long short term memory neural network. Energy 2020, 192, 116597. [Google Scholar] [CrossRef]












| Datasets | Size | |||
|---|---|---|---|---|
| Training | Validation | Test | Total | |
| Forklift | 5794 | 1931 | 1931 | 9656 |
| Loader | 5629 | 1877 | 1877 | 9383 |
| Tractor | 4594 | 1531 | 1531 | 7656 |
| Excavator | 4415 | 1472 | 1472 | 7359 |
| Symbol (Units) | Description | |
|---|---|---|
| Input data | F1 (km/h) | Vehicle speed |
| F2 (°C) | Ambient temperature | |
| F3 (%) | Ambient relative humidity | |
| F4 (kPa) | Atmospheric pressure | |
| F5 (m3/min) | Emission flow rate | |
| F6 (°C) | Emission temperature | |
| F7 (Pa) | Emission pressure differential | |
| F8 (°C) | Analyzer temperature | |
| F9 (°C) | Exhaust pipe ambient temperature | |
| F10 (%) | Exhaust pipe ambient absolute humidity | |
| Output data | F11 (%) | CO |
| F12 (ppm) | NO | |
| F13 (ppm) | NO2 | |
| F14 (ppm) | NOx |
| Parameters | Value |
|---|---|
| CPU | Inter(R) Core (TM) i7-10875H CPU @ 2.30 GHz |
| GPU | NVIDIA GeForce RTX 2060 |
| Number of GPU cards | 1 |
| Memory (RAM, VRAM) | 16.0, 6.0 GB |
| LSTM Parameters | Value |
|---|---|
| Initial learning rate | 0.001 |
| Learning rate drop period | 125 |
| Learning rate drop factor | 0.2 |
| Validation frequency | 5 |
| Minimum batch size | 10 |
| Maximum epochs | 500 |
| Gradient threshold | 1 |
| Number of hidden layers | 2 |
| Number of hidden units | 256 |
| Dropout rate | 0.2 |
| Emissions | RMSE | MAE | MAPE | |
|---|---|---|---|---|
| Forklift | CO | 0.0017 | 0.0014 | 0.1541 |
| NO | 143.6624 | 111.4938 | 0.6676 | |
| NO2 | 35.8758 | 25.1891 | 3.4717 | |
| NOx | 164.1304 | 131.6780 | 0.5866 | |
| Loader | CO | 376.9817 | 318.8271 | 54.8420 |
| NO | 56.3650 | 41.8254 | 0.2550 | |
| NO2 | 50.2226 | 37.9645 | 0.2319 | |
| NOx | 87.2692 | 65.7238 | 0.1958 | |
| Tractor | CO | 0.0023 | 0.0018 | 0.3149 |
| NO | 245.4075 | 199.6804 | 7.3622 | |
| NO2 | 152.0607 | 124.3559 | 48.3758 | |
| NOx | 371.7461 | 291.2663 | 5.9550 | |
| Excavator | CO | 0.0030 | 0.0020 | 0.07600 |
| NO | 46.7109 | 36.2914 | 0.3589 | |
| NO2 | 28.6745 | 21.1496 | 0.2393 | |
| NOx | 66.9997 | 50.6744 | 0.2456 | |
| References | Vehicle Type | Deep Learning Models | Data Acquisition | Forecasting Time (min) | Forecasted Emissions |
|---|---|---|---|---|---|
| Singh et al. [19] | On-road | LSTM | OBD | 400 | CO2 |
| Yu et al. [20] | On-road | LSTM | OBD | 33 | NOX |
| Shin et al. [21] | N/A | DNN & LSTM | Fast analyzer | 30 | NOX |
| Zhang et al. [22] | On-road | Wavelet + LSTM | Monitoring System | 180 | CO, HC, NO |
| Zhang et al. [23] | On-road | LSTM | PEMS | 20 | CO2 |
| Xie et al. [24] | N/A | LSTM | PEMS + OBD | 175 | CO, NO, NO2, THC |
| This study | Off-road | LSTM | PEMS | 30 | CO, NO, NO2, NOX |
Disclaimer/Publisher’s Note: The statements, opinions and data contained in all publications are solely those of the individual author(s) and contributor(s) and not of MDPI and/or the editor(s). MDPI and/or the editor(s) disclaim responsibility for any injury to people or property resulting from any ideas, methods, instructions or products referred to in the content. |
© 2024 by the authors. Licensee MDPI, Basel, Switzerland. This article is an open access article distributed under the terms and conditions of the Creative Commons Attribution (CC BY) license (https://creativecommons.org/licenses/by/4.0/).
Share and Cite
Li, T.; Jing, X.; Wang, F.; Wang, X.; Gao, D.; Cai, X.; Tang, B. Transient Emissions Forecasting of Off-Road Construction Machinery Based on Long Short-Term Memory Network. Energies 2024, 17, 3373. https://doi.org/10.3390/en17143373
Li T, Jing X, Wang F, Wang X, Gao D, Cai X, Tang B. Transient Emissions Forecasting of Off-Road Construction Machinery Based on Long Short-Term Memory Network. Energies. 2024; 17(14):3373. https://doi.org/10.3390/en17143373
Chicago/Turabian StyleLi, Tengteng, Xiaojun Jing, Fengbin Wang, Xiaowei Wang, Dongzhi Gao, Xianyang Cai, and Bin Tang. 2024. "Transient Emissions Forecasting of Off-Road Construction Machinery Based on Long Short-Term Memory Network" Energies 17, no. 14: 3373. https://doi.org/10.3390/en17143373
APA StyleLi, T., Jing, X., Wang, F., Wang, X., Gao, D., Cai, X., & Tang, B. (2024). Transient Emissions Forecasting of Off-Road Construction Machinery Based on Long Short-Term Memory Network. Energies, 17(14), 3373. https://doi.org/10.3390/en17143373

