Abstract
The high-temperature heat pump, as a low-carbonization technology, has broad application prospects in replacing boiler heating, reducing carbon dioxide emissions, and improving the energy utilization efficiency. In this paper, the working fluid, cycle process, key equipment (compressor), and application scenarios of high-temperature heat pumps are introduced in detail. Firstly, the research direction of the working fluid is introduced and the existing working fluid substitution is analyzed and summarized. Then, the characteristics of different heat pump cycles such as compression, absorption, and hybrid heat pumps are introduced. In the aspect of key equipment, the application range and research status of different types of compressors are emphatically introduced. Finally, the application scenario of high-temperature heat pumps is prospected. In addition to the application of industrial heating, it is often used for heat storage to improve the regulatory characteristics of the system. The new heat pump electricity storage system has great application potential in the field of renewable energy consumption. Based on the above analysis of high-temperature heat pumps, four development prospects are put forward: low-Global-Warming-Potential (GWP) working fluid; cycles of temperature lift greater than 80 °C; a compressor with better high-temperature performance; and circulation characteristics of heat pump electricity storage.
1. Introduction
At present, the large-scale use of fossil fuels in the industrial development of the world leads to the excessive emission of greenhouse gases, which continuously enhances the greenhouse effect, thus triggering the increasingly serious problem of global climate change. It has become a global consensus to control carbon dioxide emissions to slow down global warming. In 2021, China’s total energy consumption was 5.24 billion tons of standard coal, of which coal consumption accounted for 56%, oil consumption accounted for 18.5%, and natural gas consumption accounted for 8.9% [1]. In order to deal with the problem of global warming, China has put forward the goals of “achieving carbon peak before 2030 and carbon neutrality before 2060” [2].
The heat pump is an efficient energy conversion device driven by electricity or heat energy, which has great application potential in the context of low-carbon electricity in the future [3]. With the vigorous development of renewable electricity, carbon dioxide emissions in the power industry are decreasing year by year, and heat pumps for heating are more environmentally friendly and efficient than traditional coal or gas heating. In addition, heat pump technology, especially high-temperature heat pumps (>100 °C), has been widely used in central heating, industrial waste heat recovery, energy storage, and other related fields. In order to meet the requirements of carbon-neutral heating, it is particularly important to study the performance of high-temperature heat pumps in the high-temperature field above 100 °C.
In recent years, a lot of theoretical and experimental research on high-temperature heat pumps has been conducted, and this review of high-temperature heat pumps mainly focuses on the screening of working fluid and cycle optimization. This paper takes high-temperature heat pumps with heating temperatures higher than 100 °C as the research object. In addition to the research on working fluid and cycles, it also adds research on the compressor, a key component in the heat pump cycle. The application status and research direction of compressors in high-temperature heat pumps are analyzed. The research content of this paper is carried out according to the following four parts. Firstly, the working fluid is screened and its development status in recent years is analyzed. Then, the compression, absorption, and hybrid heat pumps are compared. Then, the optimization of key parts of the cycle is elaborated. Finally, the application of high-temperature heat pumps is summarized, and the future application direction is prospected.
2. Working Fluid of High-Temperature Heat Pump
Working fluid is the medium between component cycles, and its physical properties directly determine the efficiency of the thermodynamic cycle. It is particularly important to screen suitable working fluids for high-temperature heat pumps. As people pay more and more attention to environmental protection, the use of CFCs and HCFCs with high ozone depleting potential (ODP) have been restricted, and HFCs and natural working fluid as the main green environmental protection working fluids have become the main uses of working fluid.
2.1. HFCs
Many scholars have conducted relevant studies on the working fluid. Due to the limited use of CFCs and HCFCs, HFCs have gradually become the main choice of heat pump working fluid because of their better thermodynamic performance, and R245fa especially has a good application potential in the field of high-temperature heat pumps.
Lu [4] studied the application of four types of refrigerants, R123, R141b, R245fa, and R1234ze(Z), in the medium- and low-temperature-heat-source heat pump steam engine. When the evaporation temperature was 55 °C and the condensation temperature was 125 °C, R141b refrigerant was used as the best working fluid with a Coefficient of Performance (COP) of 3.8. Liu [5] compared the cycling performance of old and new high-temperature working fluids such as R245fa, R114, and R123 with a twin-screw compressor in the condensing interval of 120~140 °C, and concluded that R245fa was superior to R114 in terms of heat production from the COP to unit volume. Ma [6] conducted an experimental study on the heat pump system using R245fa under high-temperature conditions. The maximum heating temperature of the unit reached 120 °C, and the outlet temperature range was 90~120 °C.
2.2. HFOs and HCFOs
After the signing of the Kigali amendment, HFCs with high Global Warming Potential (GWP) including R245fa, R236fa, and R365mfc were added to the list of controlled substances, while natural working fluid, such as H2O and CO2, and low-GWP working fluid (HFOs and HCFOs) will be the key development direction in the future. Many scholars have studied the new low-GWP high-temperature working fluid.
It is apparent that the main alternative working fluid is R1336mzz(Z), R1224yd(Z), R1233zd(E), and R1234ze(Z) [7,8,9,10,11,12,13,14,15]. The performance of these low-GWP working media is similar to that of R245fa at high temperature. The COP of R1233zd(E) is lower than that of R245fa, while that of R1224yd(Z) is higher than that of R245fa. The heat production per unit volume (VHC) of R1336mzz(E) is greater than that of R245fa, and the two have similar COP values [7]. A comparative study was conducted between R1234ze(Z) and R245fa, and it is believed that the COP and heat per unit volume (VHC) of the two are close; they have similar maximum COPs in the same condensing temperature range, and the pressure ratio of R1234ze(Z) is lower [11].
2.3. Natural Refrigerants
In addition, because nature exists and has no impact on the environment, natural working fluid has gradually become one of the main research directions. However, due to the limitations of physical and chemical properties and thermodynamic characteristics, the application of natural working fluid in high-temperature heat pumps still needs further research and test verification.
Bamigbetan [16] used R600 as the high-temperature-stage working fluid of the cascade heat pump and the heating temperature could reach 125 °C. At the same time, a cascade high-temperature heat pump system with a heat production of 20 kW was built. Experiments showed that when the temperature rose to 98~101 °C, the average COP of the system was 2.1 [17,18]. Generally, the heating temperature of the CO2 heat pump is 80–100 °C, and its performance will decrease significantly when the heating temperature is higher. Yang [19] conducted a thermodynamic analysis on a R744/R152a cascade heat pump system, and the system could achieve a temperature rise of 100 °C. Dai [20] proposed three new trans-critical CO2 heat pump systems to recover industrial waste heat to replace oil-fired boilers. By introducing an injector to realize stepped heat absorption, the new system could produce hot water at 120 °C, which had better performance than conventional CO2 heat pumps. Using water as the working fluid has good application potential in the high-temperature field, but special compressors need to be made to overcome the problems of high pressure ratio and low density. Wu [21] evaluated the performance of H2O as a refrigerant. The results showed that under the condition of fixed temperature rise, the pressure ratio of R718 decreased, the volume heat capacity increased, and the COP of the system increased with the increase in condensing temperature. R718 had more advantages in heating above 140 °C. Later, in-depth research was conducted on water vapor working fluid [22,23,24,25,26]. Chamoun [27,28,29] established a simulation system of a new twin-screw compressor based on R718 and built an experimental device. The experiment showed that the system had high performance and significant environmental benefits in the range of 130–140 °C.
2.4. Mixed Working Fluid
Due to its thermodynamic characteristics and physical and chemical properties, it is difficult for a pure working fluid to meet the requirements of environmental friendliness and excellent cycling performance at the same time, so mixed working fluid is a better choice. The non-azeotropic working fluid can reduce the heat transfer loss in the heat transfer process and improve the heat transfer efficiency to achieve a higher COP because of its temperature slip characteristic. In order to further improve the cycling performance of the working fluid, many scholars have studied the mixed working fluid based on the principle of complementary advantages.
Li [30,31] built an experimental platform of a cascade high-temperature heat pump system and conducted experiments when the high-temperature working fluid was BY6-BY3B. The experimental results showed that the heating temperature could reach 168.4 °C at the highest. Limited by the bearing capacity and economic performance of the system, the heating temperature was generally controlled below 155 °C. Yu [32] tested the performance of a high-temperature heat pump with 65–120 kW heat production using a double-scroll compressor and BY-4 working fluid (approximate azeotrope working fluid). The COP of the high-temperature heat pump was 2.8–3.6 in the heating temperature range of 90–110 °C with the temperature difference of 40 °C. Zhang [33] studied a new approximate azeotrope working fluid BY-5, which provided 16–19 kW heat production and a heating temperature up to 130 °C. The COP was about 2.2 when heat source temperature was 80 °C and the heating temperature was 130 °C. Yu [34] carried out thermodynamic calculation and analysis on the characteristics of two new high-temperature near-azeotropic refrigerant mixtures with different mass ratios in a new analytical method, and concluded that the maximum heating temperature of the working fluid M1 under the setting working condition could reach 130 °C. Ma [35] proposed a new applicable working fluid within the condensing temperature range of 80–110 °C, studied its theoretical and experimental cycle performance, and screened five new working fluids (pure medium R245fa and mixed medium M1–M4). Wang [36] et al. conducted an experimental study on the mixing medium MB85, whose COP was 3.83 and the hot-water output temperature was 97.2 °C when the temperature lift was 45 °C. Pan [37] conducted experimental studies on HC600, HC600a, HFC245fa, and HC600/HFC245fa under the working conditions of 30–55 °C evaporation temperature and 60–100 °C condensation temperature, in which the mixed working fluid had the highest COP of 3.83.
2.5. Absorption Circulating Working Fluid Pair
The absorption heat pump uses low-grade heat as a potential tool to solve the energy crisis, and the performance of the heat pump depends on the operating efficiency of the working fluid under the temperature of the heat source. However, there are problems in the commonly used working fluid pairs, such as ammonia and lithium bromide solution, among which the lithium bromide solution is prone to crystallization and is corrosive to some extent, the use of ammonia solution requires the setting of a rectification device, and ammonia itself is toxic [38]. Therefore, it is very important to develop the binary combination of alcohol, hydrocarbon, and ionic liquid and search for potential working fluid pairs. Kim [39] numerically simulated the circulation characteristics of different ionic liquids/refrigerants in the absorption refrigeration cycle to solve the problems of crystallization and corrosion of lithium bromide aqueous solution. Sun [40] proposed LiBr + LiNO3 + H2O as an alternative working fluid of lithium bromide solution. The new working fluid alleviated the crystallization problem and had a 5% higher COP. Wang [41] studied nine kinds of NH3 ionic liquids and conducted an economic analysis on the basis of the heat transfer calculation. The results showed that NH3/IL had better economy.
2.6. Summary of Working Fluid
To sum up, the selection of compression circulating working fluids has gradually developed toward the direction of low GWP and high circulating performance, as shown in Table 1.
Table 1.
Replacement of traditional high-temperature working fluid.
With the increasing environmental protection requirements of the international community, the use of R245fa and other traditional working fluids is gradually restricted. HFOs with low ODP and low GWP, such as R1234ze(Z), have become potential ideal high-temperature heat pump working fluids. Meanwhile, CO2 and H2O in natural working fluid also have good application prospects in the high-temperature field. The mixed working fluid based on the principle of complementary advantages of pure working fluid also provides more options for high-temperature heat pump working fluid. However, the heat transfer efficiency reduction and leakage problems existing in the application process of the mixed working fluid are still important factors affecting its development. The study of the heat and mass transfer characteristics of the mixed working fluid has great guiding significance for the screening of working fluids.
3. Cycle Process of High-Temperature Heat Pump
The cycles of high-temperature heat pumps are mainly divided into three kinds: compression, absorption, and hybrid cycles. This paper introduces these three kinds of cycles.
3.1. Compression Heat Pump
The compression heat pump has become a widely used heat pump because of its simple structure and stable performance. Compression heat pumps consume electric energy to produce high-temperature heat, which is mainly divided into single-stage compression, double-stage compression, and cascade compression. COP is a key parameter to evaluate cycle performance. In the compression cycle, COP is defined as the ratio of heat production to compressor power consumption.
3.1.1. Single-Stage Compression Heat Pump
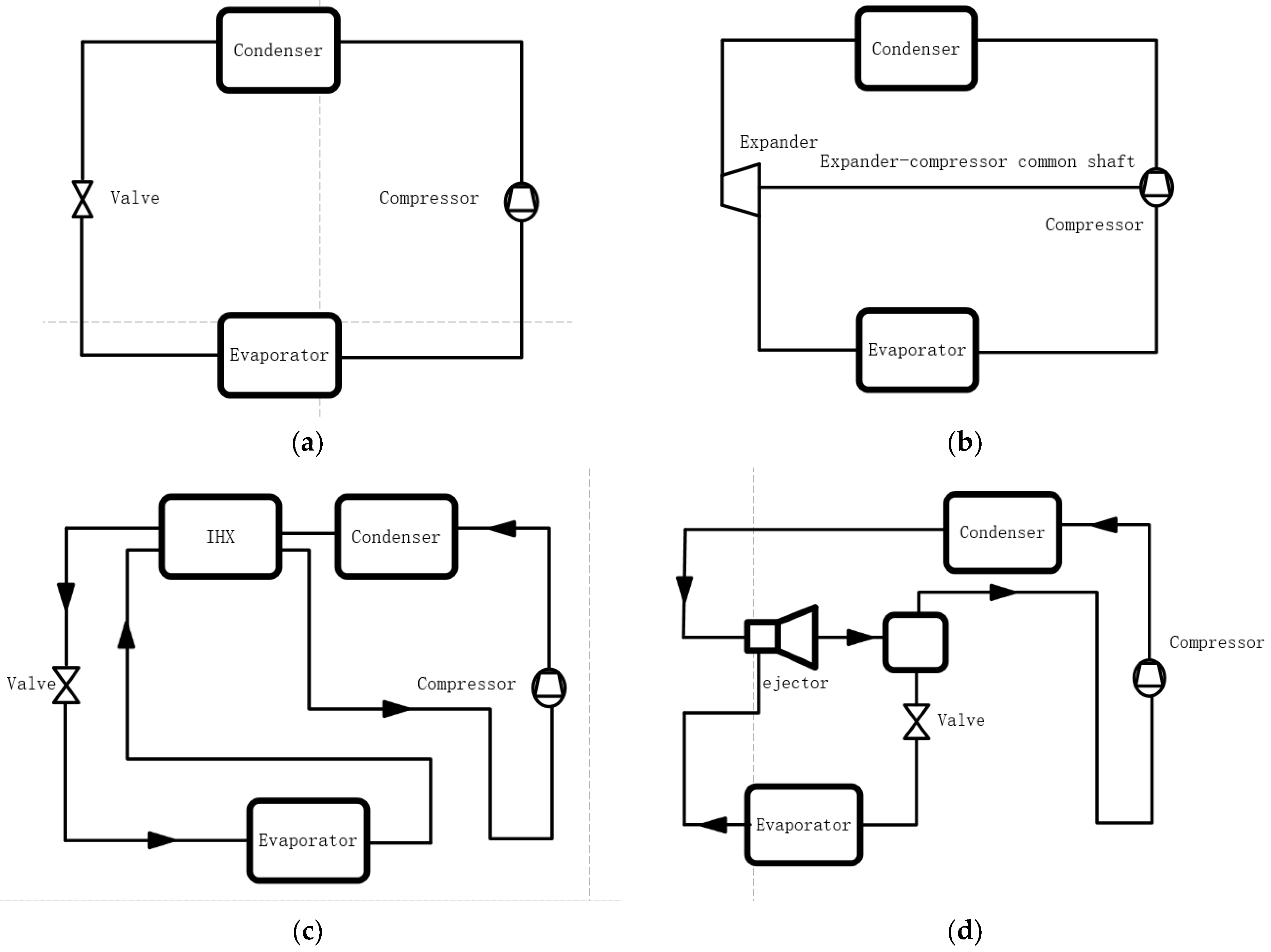
The single-stage compression heat pump system is simple in form, as shown in Figure 1a. Many scholars have studied the selection of a working fluid and the optimization of the circulation structure.
Yan [42] proposed a clean and flexible steam generation system using an air source heat pump and steam compressor. The key design parameters and simulation performance of the system were evaluated and optimized through MATLAB simulation, and a prototype was built for experimental performance evaluation. When the steam temperature at the outlet of the heat pump was above 110 °C, the average boiler efficiency of the system was above 170%, and the economy was best when the operation cycle was more than 3 years. The flow chart of different forms of single-stage compression cycles is shown in Figure 1. Luo [43] studied single-stage high-temperature heat pumps using expanders (EXs), ejectors (EEs), internal heat exchangers (IHXs), and various refrigerants (R245fa, R600, R600a, and R1234ze(z)) for higher performance and lower cost. The results showed that the COP of heat pumps with EXs, EEs, and IHXs improved by 10–18%, 8–14%, and 3–5%, respectively. Malyshev [44] revealed the relationship between individual component parameters and the overall characteristics of the heat pump (HP), which depends on the effect of condensing temperature and ambient temperature on the efficiency of each individual component. During the operation, the maneuverability, efficiency, and losses of the compressor, condenser, evaporator, and thermal expansion valve (TEV) were calculated. The data characterizing the performance of the heat pump unit (HPI) and its components under different climatic conditions were obtained.
Figure 1.
Different styles of single compression heat pump cycles [43]. (a) Single compression cycle, (b) Single compression cycle with expander, (c) Single compression cycle with IHX, (d) Single compression cycle with ejector.
Figure 1.
Different styles of single compression heat pump cycles [43]. (a) Single compression cycle, (b) Single compression cycle with expander, (c) Single compression cycle with IHX, (d) Single compression cycle with ejector.

3.1.2. Two-Stage Compression Heat Pump
The two-stage compression heat pump uses two compressors to obtain a higher-temperature lift, as shown in Figure 2a, and IHX is added to the cycle to improve cycle efficiency and reduce discharging temperature, as shown in Figure 2b [45].
Figure 2.
Two-stage compression heat pump cycles. (a) Two-stage compression cycle, (b) Two-stage compression cycle with IHX.
Wang [46] analyzed the effects of evaporation temperature, condensing temperature, and intermediate pressure on the cycle performance of a two-stage compression heat pump with a heat exchanger. The thermal performance of the high-temperature heat pump steam (HTHPS) system was mainly determined by its different cycle configurations. The improvement of the thermal performance of the quasi-two-stage steam-compression high-temperature heat pump based on the pre-IHX cycle and the post-IHX cycle was studied, and the influence of the IHX cycle on the thermal performance of the heat pump was analyzed [47]. Two-stage steam compression technology can effectively improve the system performance, and the influence of two thermal effects on the COP based on mathematical analysis and a numerical method was analyzed [48]. Jiang [49] built a general model of two-stage vapor compression technology for performance comparison among different cycles, refrigerant selection, and operational analysis. The model was verified by the experiment and then the sub-cooling parameter and the evaporating and condensing pressure were calculated and analyzed among eight different inter-stage configurations.
3.1.3. Cascade Heat Pump
Compared with two-stage compression, the high-pressure stage and the low-pressure stage of the cascade heat pump are connected through a heat exchanger, as shown in Figure 3. The COP of the cascade cycle can be higher by selecting a suitable working fluid in different temperature intervals.
Figure 3.
Cascade compression heat pump cycle.
Ma [50] proposed a high-temperature cascade heat pump (HTCHP), which took the near-azeotropic mixing medium BY-3 as the low-level circulating medium and R245fa as the high-level circulating medium. The temperature lift of HTCHP could reach 100 °C and the outlet temperature of the condensing unit could reach 142 °C. Kim [51] conducted experimental research and numerical simulation on the optimal intermediate temperature of a cascade heat pump system. When the inlet temperature is higher and the ambient temperature is lower, the system performance decreases and the corresponding optimal intermediate temperature increases. The numerical optimization of the intermediate temperature can better predict the experimental data. Kim [52] took the cascade cycle used by a water heater heat pump as the research object to verify the influence of rising water temperature on pressure and performance changes, studied the optimal intermediate temperature of the cascade cycle relative to temperature lift, and used this temperature for the transient operation of the heat pump.
3.2. Absorption Heat Pump
The absorption heat pump is divided into the first absorption heat pump type and the second absorption heat pump type according to the purpose of heating, as shown in Figure 4. The first absorption heat pump type is used to produce a large amount of medium-temperature heat, which is used for civil refrigeration and heating with a COP (defined as the ratio of heat production to heat absorbed by the heat source) of 1.6~1.8. The second type of absorption heat pump is mainly used to improve the heating temperature, whose COP is about 0.4~0.6. Driven by a medium-temperature heat source, the heat from the medium-temperature heat source is transferred to the high-temperature heat source.
Figure 4.
Absorption heat pump cycle. (a) First type absorption cycle, (b) Second type absorption cycle.
Wu [53] modeled single-stage and two-stage air source heat pumps (ASAHPs) and ground source heat pumps (GSAHPs) in order to explore the working fluid alignment and circulation mode suitable for heating and domestic hot water in cold areas. Based on these models, the performance of absorption heat pumps under different generation, evaporation, and condensation temperatures was simulated, respectively, when NH3-H2O, NH3-LiNO3, and NH3-NaSCN were used as working fluids. Xu [54] conducted theoretical and experimental research on the waste heat recovery system of a lithium bromide aqueous absorption heat pump. The new heat pump system could heat hot water to 81.34 °C. Yang [55] introduced life cycle cost (LCC) to study the influence of internal parameters of a two-stage absorption heat pump on economy, and the study revealed that the evaporator temperature T0 had the greatest influence on LCC. Balderas-Sanchez [56] compared the double-stage double-effect absorption heat pump with the double-effect absorption heat pump, and found that the double-stage double-effect heat pump had lower performance, but the temperature lift was significantly increased, which could reach 82 °C.
3.3. Hybrid Heat Pump
In order to make full use of the advantages of absorption and compression, some scholars organically combine the two types of heat pumps to increase the heating temperature and expand the operating range. At present, the hybrid cycle can be divided into two types. One is to embed the compressor in the absorption cycle to reduce the heat source temperature or increase the heating temperature. The other is to achieve greater temperature lift of the heat pump through the coupling between the circulating components.
Zhang [57] combined compressors with absorption heat pumps and found that compression-assisted absorption heat pumps can save 50% operating costs and reduce 60% carbon dioxide emissions. Feng [58] studied the influence of compressors on the cycle performance at different positions of the system, and found that adding compressors into the cycle could reduce the heat source temperature and increase the heating temperature, as shown in Figure 5a,b. Schweigler [59] directly integrated the high-speed turbo-compressor into the single-stage water/lithium bromide absorption heat pump cycle, and studied the cycle characteristics of three different operating modes through detailed steady-state thermal process simulation. A compression ratio of 3 allows a rise in the cooling water inlet temperature by 10 K, and enables the use of low-temperature waste heat below 70 °C. Sun [60] put the compressor between the generator and the absorber, producing a heating temperature of the new system up to 125 °C.
Figure 5.
Hybrid heat pump cycles. (a) Compressor between absorber and evaporator, (b) Compressor between generator and condenser, (c) Hybrid heat pump heat exchanger, (d) Air source hybrid heat pump cycle.
In order to obtain a heating temperature above 100 °C, Sun [61] coupled the compression cycle with the second absorption cycle type, as shown in Figure 5c; the hot water temperature could reach 135 °C and the COP was 3.6. Gao [62,63] proposed a new type of air source hybrid heat pump, as shown in Figure 5d. The new cycle could increase the input temperature from 10 °C to 100 °C with a COP of 1.4. Zhang [64] proposed a new system coupling a two-stage cascade heat pump with an absorption heat pump, and found that the new system would be more advantageous when the heating temperature lift was more than 150 °C.
4. Key Equipment of High-Temperature Heat Pump
High temperature and high pressure bring challenges to the heat pump system components. The research of new compressors under high-temperature conditions has an important impact on improving the system performance. Heat pump compressors are mainly divided into four categories, namely the piston compressor, screw compressor, scroll compressor, and centrifugal compressor. The application of various high-temperature heat pump compressors is shown in Table 2. It is apparent that the piston, screw, and scroll compressors are widely used in the field of high-temperature heat pumps. Due to the influence of the compressor on the cycle performance, it is of great significance to study the characteristics of compressors and the coupling law with different cycles for the selection of a compressor and the improvement of cycle performance.
The piston compressor, which uses the reciprocating movement of the piston in the cylinder to achieve compression, can achieve a wide range of pressures and high thermal efficiency. Its disadvantages are its complex structure, many wearing parts, and poor running stability. Mamaev [65] established the relationship between isentropic efficiency and volumetric efficiency of the piston compressor in consideration of dead volume, engine pressure ratio, working body state at the beginning of the compression process, and its adiabatic index. Cai [66] studied the rolling piston compressor, analyzed the influence of different parameters on leakage characteristics, and optimized the mathematical model, which provided an important reference for the design, processing, and assembly of compressors. Engel [67] compared and analyzed the reciprocating compressor and rolling piston compressor of a domestic heat pump water heater and found that the COP of the rolling piston compressor was 12.3% higher in the summer than that of the reciprocating compressor, and 7.6% higher in the winter.
A screw compressor is a positive-displacement compressor with characteristics of simple structure and high volume efficiency under a high pressure ratio, but it needs complex oil treatment equipment and is only suitable for working in the range of medium and low pressure. Wen [68] used refrigerant injection to reduce the exhaust temperature of a single-screw refrigerating compressor (SSRC), established a mathematical model describing the internal working process of liquid refrigerant injection (LRI) in the SSRC, and provided a theoretical method for the optimization of the injection process in SSRCs. Wang [69] proposed the optimal matching strategy focusing on the relationship between the internal volume ratio (BVR) of the screw compressor and the annual cold and heat load demand, and they established the optimization mathematical model and general framework of the optimal matching strategy. Ahrens [70] used a twin-screw compressor to increase the heat sink temperature of an absorption–compression heat pump system to 120 °C. Park [71] conducted a preliminary performance test on a 30RT two-stage screw heat pump and studied the operating control of the system. Chamoun [72] developed a new type of twin-screw compressor using water as a refrigerant and established a transient twin-screw compressor model. The results of the compressor used in a heat pump model showed that the COP was 5.9 with a temperature lift of 40 K.
The scroll compressor is simple and reliable, allowing liquid in the gaseous refrigerant to be sprayed to cool the compressor, but it is difficult to achieve a high pressure ratio and it has high sealing requirements. Byrne [73] proposed a thermodynamic realistic scroll compressor model suitable for HFCs and built and tested a prototype R407C using a scroll compressor. The results of model validation showed that the maximum discrepancy of mass flow rates was less than 8.8%, and temperature differences of discharging temperature were included in an interval from −5.2 K to 4.2 K. In order to improve the performance and reliability of heat pumps in cold climates, two-phase injection technology has been developed. Kim [74] analyzed the performance characteristics of liquid, steam, and two-phase injection heat pumps, and the two-phase injection heat pumps had the highest COP. Mateu-Royo [75] introduced a high-temperature and high-pressure experimental prototype fitted with an improved scroll compressor and IHX. Exergy analysis showed that the compressor had the highest potential for improvement. Wang [76] improved the air source heat pump by using a new two-stage variable speed scroll compressor, which reduced the exhaust temperature by at least 40 °C under low-temperature conditions. Peng [77] established a 3D transient simulation model of a turbo-compressor without injection and a varactor, and found that varactor technology could improve the isentropic efficiency of the compressor and reduce the exhaust temperature.
The centrifugal compressor is a kind of speed compressor, with high heat production and stable operation characteristics, which is often used in large air conditioning systems and the petrochemical industry. It is suitable for multistage compression and throttling, but it is prone to surge and low efficiency. Ko [78] conducted an aerodynamic performance evaluation and operational reliability test on an oil-free magnetic levitation centrifugal compressor used for a high-temperature heat pump. Liu [79] adopted the centrifugal compressor to achieve the target that the COP of the compression heat pump was greater than 6 when the temperature lift was at least 30 °C. Meroni [80] proposed a mean line model of a centrifugal compressor coupled with the heat pump system, and used a multi-objective optimization algorithm to seek to maximize COP, providing a solution for determining the cost effectiveness of heat pumps. Meanwhile, the off-design model showed deviations with the measured data up to 7% in the mass flow rate and 8% points in efficiency. Uusitalo [81] carried out numerical research on the cascade heat pump driven by a large centrifugal compressor and studied the influence of different working fluid combinations and the temperature level of the cascade heat exchanger on the performance of the heat pump. The highest COP of 3.08 was simulated by using R601 as the fluid in the low-temperature cycle and R245fa in the high-temperature cycle.
Table 2.
Application of compressor.
Table 2.
Application of compressor.
| Researcher | Working Fluid | Maximum Heating Temperature (°C) | Compressor Type |
|---|---|---|---|
| Bamigbetan [18] | R290/R600 | 115 | piston compressor |
| Li [31] | BY6-BY3B | 168.4 | piston compressor |
| Yu [32] | BY-4 | 110 | scroll compressor |
| Pan [37] | R600/R245fa | 100 | piston compressor |
| Ma [50] | BY-3/R245fa | 142 | scroll compressor |
| Ahrens [70] | NH3-H2O | 120 | twin-screw compressor |
| Chamoun [72] | water | 120 | twin-screw compressor |
| Mateu-Royo [75] | R1224yd(z), R1233zd(E) | 140 | scroll compressor |
| Uusitalo [81] | R245fa | 90 | centrifugal compressor |
To sum up, the current research on compressors is mainly divided into two aspects. On the one hand, the structure of the compressor itself is optimized and the components are studied to expand the capacity range and application field, especially to improve the efficiency of the compressor under high-temperature conditions and to study new high-temperature and corrosion-resistant materials. On the other hand, the operation characteristics and control strategy of the compressor are studied, and the coupling characteristics of the compressor and cycle are analyzed as well as the corresponding optimal matching strategy.
5. Application and Prospects of High-Temperature Heat Pump
With the gradual development of heat pump technology, the high-temperature heat pump has gradually matured and has been applied in related fields. The application and prospects of the high-temperature heat pump are introduced in this chapter.
The analysis of the waste heat recovery potential of heat pumps in the EU industrial field shows that the necessary waste heat recovery accounts for 7% of the total waste heat potential of the EU industry, and the waste heat recovery potential is significant [82]. It is an effective solution to realize the goal of “double carbon” to use high-efficiency heat pumps to recover industrial waste heat instead of oil-fired boilers. Dai [20] proposed three new types of trans-critical CO2 high-temperature heat pump systems. Combined with the industrial application requirements of hot water heating, the life cycle performance of the proposed new heat pump system and oil-fired boiler was comprehensively studied from the perspectives of energy, emissions, and economy. Considering the change in electricity price and coal price, the sensitivity analysis of the new heat pump system was carried out. The results showed that the double-temperature evaporation CO2 high-temperature heat pump is expected to replace the traditional oil boiler to produce high-temperature fluid in the future. Mateu-Royo [83] integrated the high-temperature heat pump into the district heating network, as shown in Figure 6, and the proposed system had good energy and economic performance, significantly reducing the equivalent CO2 emissions.
Figure 6.
High-temperature heat pump used in the district heating network [84]. (a) Heating production up to 90 °C; (b) Heating production up to 130 °C.
High-temperature heat pumps are often coupled to energy storage systems in addition to heating. Wang [84] studied the heating performance of an air source heat pump system driven by PVs in winter and the matching characteristics between various components of the system, as shown in Figure 7. Based on the design of highly matching heat storage in the thermal storage bucket and room heat load, the influence of the law of solar irradiance on the compressor power and heat production of heat pump was explored, and it was concluded that there was a highly linear matching relationship between solar irradiance and heat production. Hassan [85] introduced the design and performance of a high-temperature heat pump (HTHP) integrated in a sensible and latent heat storage system, discussed the size and selection of major components, and developed parameter studies and performance maps under different operating conditions. The results showed that heat production was achieved in the form of latent heat (7.4 to 21.59 kW) and sensible heat (from 6.35 to 17.94 kW) with a heating COP of around 4 when the HTHP consumed was from 3.23 to 9.88 kW.
Figure 7.
System schematic (1—Photovoltaic array, 2—photovoltaic reverse control all-in-one, 3—compressor, 4—evaporator heat exchange fan, 5—evaporator, 6—capillary, 7—condenser, 8—heating circulation water pump, 9—heat storage bucket, 10—water pump, 11—indoor water-cooled heat exchanger).
With the rapid development of renewable power, the fluctuation, instability, and unpredictability of electricity has made the consumption of renewable energy an urgent problem to be solved. As a new type of storage technology with low cost and high energy density, not restricted by geographical location, heat pump electricity storage is one of the key technologies to solve the instability and intermittency of renewable energy. The principle of heat pump electricity storage is shown in Figure 8. In the energy storage stage, the heat pump uses electric energy to drive the reverse power cycle, transport low-temperature heat energy to the high-temperature state, and store it to obtain low-temperature cold energy and high-temperature heat energy. In the discharge stage, the stored low-temperature cold energy and high-temperature heat energy are used to drive the forward power cycle, and the mechanical energy generated by the cycle is used to drive the discharge of the generating unit.
Figure 8.
Electricity storage process of heat pump.
Zhang [86] introduced the heat pump electricity storage technology in three directions, including the characteristics of the heat pump electricity storage system, technical research progress, and key technologies. Wu [87] conducted exergic analysis of the major equipment of the heat pump storage system with a closed Brayton cycle. The efficiency of compressors and turbines had a great impact on the exergy efficiency of the system, while optimization of cooling water could increase the exergy efficiency, which could provide a reference for circulation optimization and system design. Lu [88] studied the dynamic characteristics of the energy storage and energy release process of the Brayton cycle, analyzed the influence of the rotational speed rise rate and initial pressure on the start-up characteristics, and built a dynamic simulation model and analyzed the dynamic characteristics to provide a reference for the design and optimization of the heat pump electric storage system. In order to make the system pressure finally reach the rated value, the initial pressure in the process of energy storage should be set at 4.45 MPa and the initial pressure in the process of energy release should be set at 5 MPa.
6. Summary and Prospects
A high-temperature heat pump with a heating temperature above 100 °C is summarized in four aspects: working fluid, circulation, key equipment, and application range. Based on the analysis of the application status of different working fluids, the new green working fluids with better thermodynamic and environmental performance have become the main development direction of working fluid in the future. At present, natural working fluid, HFOs, and HCFOs are better choices in the screening of working fluids. According to the above analysis of cycle configuration, different cycle processes show different cycle characteristics in heating temperature, cycle temperature lift, and cycle performance. High-temperature heat pumps with a temperature lift of 60 °C have been studied and applied in many ways, but those with a temperature lift of more than 80 °C have been studied less, mainly in the theoretical research stage, with COPs between 1.3 and 1.6. High-temperature heat pumps with a higher temperature lift and heating temperature are of great significance in the field of industrial steam. The analysis of the compressor shows that the compressor has a great influence on the discharging temperature and heat production. The optimization of compressor structure and control strategy can greatly improve the cycle characteristics, which is conducive to obtaining higher heating temperature and greater heat production. The application scenario analysis of the high-temperature heat pump shows that the heat pump has a good application status in the field of waste heat recovery, energy storage, and electricity storage, which can greatly reduce energy consumption and carbon dioxide emissions and improve energy utilization efficiency. With the development of renewable electricity, heat pumps have a large application potential in electricity storage systems.
Based on the above analysis of high-temperature heat pumps, the four directions of its future development are summarized: screening of high-performance and low-GWP pure working fluids and mixed working fluids; proposing a heat pump cycle with a COP above 2 under a high-temperature lift about 80 °C; making compressors with better performance under high-temperature conditions; studying the application law in electricity storage systems. Further research is needed to explore the cycle characteristics and application potential of high-temperature heat pumps in different temperature ranges.
Author Contributions
Conceptualization, J.S.; methodology, J.S.; investigation, G.W.; resources, R.L.; writing—original draft preparation, Y.W.; writing—review and editing, Y.Y.; visualization, Y.Q.; supervision, Y.Y. All authors have read and agreed to the published version of the manuscript.
Funding
This work was sponsored by the National Key Research and Development Program of China (No. 2019YFE0104900), the National Natural Science Foundation of China (No. 52090062), and the Fundamental Research Funds for the Central Universities (No. 2020MS009).
Data Availability Statement
Data sharing not applicable.
Acknowledgments
This work has been supported by the National Key Research and Development Program of China and State Key Laboratory of Alternate Electrical Power System with Renewable Energy Sources (North China Electric Power University). Thanks are also given to anonymous reviewers for their kind suggestions.
Conflicts of Interest
The authors declare that they have no known competing financial interest or personal relationships that could have appeared to influence the work reported in this paper.
References
- National Bureau of Statistics. China Energy Statistical Yearbook 2022; China Statistics Press: Beijing, China, 2022.
- Liu, S.Y.; Lin, Z.Z.; Jiang, Y.C.; Zhang, T.H.; Yang, L.; Tan, W.T.; Lu, F. Modelling and discussion on emission reduction transformation path of China’s electric power industry under “double carbon” goal. Heliyon 2022, 8, e10497. [Google Scholar] [CrossRef] [PubMed]
- Bergamini, R.; Jensen, J.K.; Elmegaard, B. Thermodynamic competitiveness of high temperature vapor compression heat pumps for boiler substitution. Energy 2019, 182, 110–121. [Google Scholar] [CrossRef]
- Lu, Z.N.; Gong, Y.L.; Yao, Y.; Luo, C.; Ma, W.B. Development of a high temperature heat pump system forsteam generation using medium-low temperature geothermal water. Energy Procedia 2019, 158, 6046–6054. [Google Scholar] [CrossRef]
- Liu, B.S.; Gong, Y.L.; Lu, Z.N.; Yao, Y. Several working fluids for high temperature heat pump steam system. Renew. Energy Resour. 2015, 33, 1755–1761. [Google Scholar]
- Ma, F.; Zhang, P. Investigation on the performance of a high-temperature packed bed latent heat thermal energy storage system using Al-Si alloy. Energy Convers. Manag. 2017, 150, 500–514. [Google Scholar] [CrossRef]
- Arpagaus, C.; Bless, F.; Uhlmann, M.; Svhiffmann, J.; Bertsch, S.S. High temperature heat pumps: Market overview, state of the art, research status, refrigerants, and application potentials. Energy 2018, 152, 985–1010. [Google Scholar] [CrossRef]
- Yan, H.; Ding, L.; Sheng, B.W.; Dong, X.Q.; Zhao, Y.X.; Zhong, Q.; Gong, W.C.; Gong, M.Q.; Guo, H.; Shen, J. Performance prediction of HFC, HC, HFO and HCFO working fluids for high temperature water source heat pumps. Appl. Therm. Eng. 2020, 185, 116324. [Google Scholar] [CrossRef]
- He, Y.N.; Xia, Y.; Jin, L.; Yang, D.F.; Cao, F. Investigation on application of refrigerant R1234ze in high-temperature heat pump. Fluid Mach. 2014, 42, 62–66. [Google Scholar]
- Frate, G.F.; Ferrari, L.; Desideri, U. Analysis of suitability ranges of high temperature heat pump working fluids. Appl. Therm. Eng. 2019, 150, 628–640. [Google Scholar] [CrossRef]
- Kondou, C.; Koyama, S. Thermodynamic assessment of high-temperature heat pumps using Low-GWP HFO refrigerants for heat recovery. Int. J. Refrig. 2015, 53, 126–141. [Google Scholar] [CrossRef]
- Longo, G.A.; Mancin, S.; Righetti, G.; Zilio, C.; Brown, J.S. Assessment of the low-GWP refrigerants R600a, R1234ze (Z) and R1233zd (E) for heat pump and organic Rankine cycle applications. Appl. Therm. Eng. 2020, 167, 114804. [Google Scholar] [CrossRef]
- Mateu-Royo, C.; Mota-Babiloni, A.; Navarro-Esbrí, J. Semi-empirical and environmental assessment of the low GWP refrigerant HCFO-1224yd (Z) to replace HFC-245fa in high temperature heat pumps. Int. J. Refrig. 2021, 127, 120–127. [Google Scholar] [CrossRef]
- Jiang, J.T.; Hu, B.; Wang, R.Z.; Liu, H.; Zhang, Z.P.; Li, H.B. Theoretical performance assessment of low-GWP refrigerant R1233zd(E) applied in high temperature heat pump system. Int. J. Refrig. 2021, 131, 897–908. [Google Scholar] [CrossRef]
- Wu, D.; Hu, B.; Wang, R.Z. Performance simulation and exergy analysis of a hybrid source heat pump system with low GWP refrigerants. Renew. Energy 2018, 116, 775–785. [Google Scholar] [CrossRef]
- Bamigbetan, O.; Eikevik, T.; Nekså, P.; Bantle, M. Extending ammonia high temperature heat pump using butane in a cascade system. In Proceedings of the 7th Conference on Ammonia and CO2 Refrigeration Technology, Ohrid, North Macedonia, 11–13 May 2017. [Google Scholar]
- Bamigbetan, O.; Eikevik, T.M.; Nekså, P.; Bantle, M.; Schlemminger, C. The development of a hydrocarbon high temperature heat pump for waste heat recovery. Energy 2019, 173, 1141–1153. [Google Scholar] [CrossRef]
- Bamigbetan, O.; Eikevik, T.M.; Neksi, P. Extending hydrocarbon heat pumps to higher temperatures: Predictions from simulation. In Proceedings of the International Workshop on High Temperature Heat Pumps, Copenhagen, Denmark, 11 September 2017; pp. 197–211. [Google Scholar]
- Yang, W.W.; Cao, X.Q.; He, Y.L.; Yan, F.Y. Theoretical study of a high-temperature heat pump system composed of a CO2 transcritical heat pump cycle and a R152a subcritical heat pump cycle. Appl. Therm. Eng. 2017, 120, 228–238. [Google Scholar] [CrossRef]
- Dai, B.M.; Liu, C.; Liu, S.C.; Wang, D.B.; Wang, Q.L.; Zou, T.H.; Zhou, X. Life cycle techno-enviro-economic assessment of dual-temperature evaporation transcritical CO2 high-temperature heat pump systems for industrial waste heat recovery. Appl. Therm. Eng. 2023, 219, 119570. [Google Scholar] [CrossRef]
- Wu, D.; Hu, B.; Wang, R.Z.; Fan, H.B.; Wang, R.J. The performance comparison of high temperature heat pump among R718 and other refrigerants. Renew. Energy 2020, 154, 715–722. [Google Scholar] [CrossRef]
- Yan, H.Z.; Wu, D.; Liang, J.Y.; Hu, B.; Wang, R.Z. Selection and validation on low-GWP refrigerants for a water-source heat pump. Appl. Therm. Eng. 2021, 193, 116938. [Google Scholar] [CrossRef]
- Wu, D.; Yan, H.Z.; Hu, B.; Wang, R.Z. Modeling and simulation on a Water Vapor High Temperature Heat Pump system. Energy 2019, 168, 1063–1072. [Google Scholar] [CrossRef]
- Wu, D.; Hu, B.; Wang, R.Z.; Jiang, N.S.; Li, Z.L. A review on development and prospect of water refrigerant and water vapor compressor. CIESC J. 2017, 68, 2959–2968. [Google Scholar]
- Wu, D.; Hu, B.; Wang, R.Z.; Jiang, N.S.; Li, Z.L.; Yu, J.J. Preliminary study on high temperature heat pump system with water refrigerant. CIESC J. 2018, 69, 95–100. [Google Scholar]
- Wu, D.; Jiang, J.T.; Hu, B.; Wang, R.Z. Experimental investigation on the performance of a very high temperature heat pump with water refrigerant. Energy 2020, 190, 116427. [Google Scholar] [CrossRef]
- Chamoun, M.; Rulliere, R.; Haberschill, P.; Berail, J.F. Dynamic model of an industrial heat pump using water as refrigerant. Int. J. Refrig. 2012, 35, 1080–1091. [Google Scholar] [CrossRef]
- Chamoun, M.; Rulliere, R.; Haberschill, P.; Peureux, J.L. Experimental and numerical investigations of a new high temperature heat pump for industrial heat recovery using water as refrigerant. Int. J. Refrig. 2014, 44, 177–188. [Google Scholar] [CrossRef]
- Chamoun, M.; Rulliere, R.; Haberschill, P. Experimental investigation of a new high temperature heat pump using water as refrigerant for industrial heat recovery. In Proceedings of the International Refrigeration and Air Conditioning Conference at Purdue, West Lafayette, IN, USA, 16–19 July 2012; pp. 479–489. [Google Scholar]
- Wu, X.; Xu, S.M.; Liu, J.W.; Dai, X.J.; Zhao, W.Z. Analysis of available blend refrigerants for medium-high temperature cascade heat pump. J. Refrig. 2018, 39, 53–58. [Google Scholar]
- Li, X.Q.; Zhang, Y.F.; Ma, X.L.; Deng, N.; Jin, Z.D.; Yu, X.H.; Li, W. Performance analysis of high-temperature water source cascade heat pump using BY3B/BY6 as refrigerants. Appl. Therm. Eng. 2019, 159, 113895. [Google Scholar] [CrossRef]
- Yu, X.H.; Zhang, Y.F.; Deng, N.; Chen, C.M.; Ma, L.J.; Dong, L.P.; Zhang, Y. Experimental performance of high temperature heat pump with near-azeotropic refrigerant mixture. Energy Build. 2014, 78, 43–49. [Google Scholar]
- Zhang, Y.; Zhang, Y.F.; Yu, X.H.; Guo, J.; Deng, N.; Dong, S.M.; He, Z.L.; Ma, X.L. Analysis of a high temperature heat pump using BY-5 as refrigerant. Appl. Therm. Eng. 2017, 127, 1461–1468. [Google Scholar]
- Yu, X.H.; Zhang, Y.F.; Zhang, Y.; He, Z.L.; Dong, S.M.; Ma, X.L.; Yao, S. Intelligent prediction on performance of high temperature heat pump systems using different refrigerants. J. Cent. South Univ. 2018, 25, 2754–2765. [Google Scholar] [CrossRef]
- Ma, L.M.; Wang, H.X.; Wang, J.X. Theoretical and experimental cycle performances of working fluid for high temperature heat pumps. J. Mech. Eng. 2010, 46, 142–147. [Google Scholar] [CrossRef]
- Wang, H.X. Performance of binary mixture working fluid of MB85 for moderate and high temperature heat pump. J. Tianjin Univ. (Sci. Technol.) 2011, 44, 1106–1110. [Google Scholar]
- Pan, L.S.; Wang, H.X.; Chen, Q.Y.; Chen, C. Theoretical and experimental study on several refrigerants of moderately high temperature heat pump. Appl. Therm. Eng. 2011, 31, 1886–1893. [Google Scholar] [CrossRef]
- Ji, L.A.; Shukla, S.K.; Zuo, Z.D.; Lu, X.H.; Ji, X.Y.; Wang, C.S. An overview of the progress of new working pairs in absorption heat pumps. Energy Rep. 2023, 9, 703–729. [Google Scholar] [CrossRef]
- Kim, Y.J.; Kim, S.; Joshi, Y.K.; Fedorov, A.G.; Kohl, P.A. Thermodynamic analysis of an absorption refrigeration system with ionic-liquid/refrigerant mixture as a working fluid. Energy 2012, 44, 1005–1016. [Google Scholar] [CrossRef]
- Sun, J.; Fu, L.; Zhang, S.G. Performance calculation of single effect absorption heat pump using LiBr+LiNO3+H2O as working fluid. Appl. Therm. Eng. 2010, 30, 2680–2684. [Google Scholar] [CrossRef]
- Wang, M.; Ferreira, C.A.I. Absorption heat pump cycles with NH3-ionic liquid working pairs. Appl. Energy 2017, 204, 819–830. [Google Scholar] [CrossRef]
- Yan, H.; Hu, B.; Wang, R.Z. Air-source heat pump heating based water vapor compression for localized steam sterilization applications during the COVID-19 pandemic. Renew. Sustain. Energy Rev. 2021, 145, 111026. [Google Scholar] [CrossRef]
- Luo, B.; Zou, P. Performance analysis of different single stage advanced vapor compression cycles and refrigerants for high temperature heat pumps. Int. J. Refrig. 2019, 104, 246–258. [Google Scholar] [CrossRef]
- Malyshev, A.A.; Malinina, O.S.; Tatarenko, Y.V.; Kireev, V.S. Exergy characteristics of a steam compressor heat pump. AIP Conf. Proc. 2019, 2141, 030005. [Google Scholar]
- Luo, B.J. Oil flooded compression cycle enhancement for two-stage heat pump in cold climate region: System design and theoretical analysis. Energy Convers. Manag. 2016, 115, 52–59. [Google Scholar] [CrossRef]
- Wang, H.L.; Jia, N.; Tian, J.R. Performance analysis of two stage compression cycle with an internal heat exchanger. Appl. Mech. Mater. 2014, 540, 110–113. [Google Scholar] [CrossRef]
- Zhang, H.; Zhang, Y.T.; Xu, J.Y.; Wang, L.; Huang, Z. Performance Analysis of Internal Heat Exchanger-Based Quasi-Two-Stage Vapor Compression Heat Pump System for High-Temperature Steam Production. Energy Technol. 2020, 8, 2000623. [Google Scholar]
- Jiang, S.; Wang, S.G.; Yu, Y.; Ma, Z.J.; Wang, J.H. Further analysis of the influence of interstage configurations on two-stage vapor compression heat pump systems. Appl. Therm. Eng. 2021, 184, 116050. [Google Scholar] [CrossRef]
- Jiang, S.; Wang, S.G.; Jin, X.; Zhang, T.F. A general model for two-stage vapor compression heat pump systems. Int. J. Refrig. 2015, 51, 88–102. [Google Scholar] [CrossRef]
- Ma, X.L.; Zhang, Y.F.; Fang, L.; Yu, X.H.; Li, X.Q.; Sheng, Y.; Zhang, Y. Performance analysis of a cascade high temperature heat pump using R245fa and BY-3 as working fluid. Appl. Therm. Eng. 2018, 140, 466–475. [Google Scholar] [CrossRef]
- Kim, D.H.; Park, H.S.; Kim, M.S. Optimal temperature between high and low stage cycles for R134a/R410A cascade heat pump based water heater system. Exp. Therm. Fluid Sci. 2013, 47, 172–179. [Google Scholar] [CrossRef]
- Kim, D.H.; Kim, M.S. The effect of water temperature lift on the performance of cascade heat pump system. Appl. Therm. Eng. 2014, 67, 273–282. [Google Scholar] [CrossRef]
- Wu, W.; Zhang, X.L.; Li, X.T.; Shi, W.X.; Wang, B.L. Comparisons of different working pairs and cycles on the performance of absorption heat pump for heating and domestic hot water in cold regions. Appl. Therm. Eng. 2012, 48, 349–358. [Google Scholar] [CrossRef]
- Xu, Z.Y.; Mao, H.C.; Liu, D.S.; Wang, R.Z. Waste heat recovery of power plant with large scale serial absorption heat pumps. Energy 2018, 165, 1097–1105. [Google Scholar] [CrossRef]
- Yang, X.J.; You, S.J.; Zhang, H. Economical optimization for double-stage LiBr absorption heat pumps. Phys. Procedia 2012, 24, 114–121. [Google Scholar]
- Balderas-Sánchez, I.N.; Rivera, W.; Jiménez-García, J.C. Thermodynamic analysis of a novel absorption heat transformer. Appl. Therm. Eng. 2019, 162, 114268. [Google Scholar] [CrossRef]
- Zhang, H.S.; Zhao, H.B.; Li, Z.L. Thermodynamic performance study on solar-assisted absorption heat pump cogeneration system in the coal-fired power plant. Energy 2016, 116, 942–955. [Google Scholar] [CrossRef]
- Feng, H.M.; Bao, R.Q.; Liu, F.C.; Shen, J.B.; Yu, Y. Study on new type II lithium bromide absorption compression composite heat pump system. Energy Energy Conserv. 2019, 9, 45–47. [Google Scholar]
- Schweigler, C.; Helm, M.; Eckert, T. Flexible heat pump or chiller with hybrid water/LiBr absorption/compression cycle. Int. J. Refrig. 2019, 105, 178–187. [Google Scholar] [CrossRef]
- Sun, J.; Ma, S.C.; Huo, C.; Ge, Z.H.; Zhou, S.X. Performance analysis of new compression absorption heat pump cycle based on steam working fluid. Acta Energ. Sol. Sin. 2022, 43, 15–20. [Google Scholar]
- Sun, J.; Ma, S.C.; Huo, C.; Liu, J.Y.; Ge, Z.H.; Yang, Y.P. Study on a hybrid heat exchanger based on absorption and compression cycles. J. Eng. Thermophys. 2021, 40, 9–15. [Google Scholar]
- Gao, J.T.; Xu, Z.Y.; Wang, R.Z. Enlarged temperature lift of hybrid compression-absorption heat transformer via deep thermal coupling. Energy Convers. Manag. 2021, 234, 113954. [Google Scholar] [CrossRef]
- Gao, J.T.; Xu, Z.Y.; Wang, R.Z. An air-source hybrid absorption-compression heat pump with large temperature lift. Appl. Energy 2021, 291, 116810. [Google Scholar] [CrossRef]
- Zhang, X.; Wang, R.Z.; Xu, Z.Y. Air-source hybrid absorption-compression heat pumps with three-stage thermal coupling configuration for temperature lift over 150 °C. Energy Convers. Manag. 2022, 271, 116304. [Google Scholar] [CrossRef]
- Mamaev, V.K.; Shatalov, I.K.; Antipov, Y.A.; Vallejo-Maldonado, P.R. Correlation Between Volumetric Efficiency and Isentropic Efficiency of Piston Compressor of Thermal Pump. Chem. Pet. Eng. 2018, 53, 793–796. [Google Scholar] [CrossRef]
- Cai, D.H.; Qiu, C.B.; Pan, J.; Yang, X.H.; He, G.G.; Tetsuhide, Y.; Chen, X.X.; Li, H.J. Leakage characteristics and an updated volumetric efficiency prediction model of rolling piston type rotary compressor for small capacity air-conditioner and heat pump applications. Appl. Therm. Eng. 2017, 121, 1080–1094. [Google Scholar] [CrossRef]
- Engel, R.C.; Deschamps, C.J. Comparative analysis between the performances of reciprocating and rolling piston compressors applied to a domestic heat pump water heater. Int. J. Refrig. 2019, 102, 130–141. [Google Scholar] [CrossRef]
- Wen, Q.Y.; Zhi, R.P.; Wu, Y.T.; Lei, B.; Liu, S.W.; Shen, L.L. Performance optimization of a heat pump integrated with a single-screw refrigeration compressor with liquid refrigerant injection. Energy 2020, 207, 118197. [Google Scholar] [CrossRef]
- Wang, Y.; Wang, Z.W.; Li, M.Z.; Chen, T.T.; Wang, Z.W. An optimal matching strategy for screw compressor for heat pump applications. Appl. Therm. Eng. 2018, 132, 333–340. [Google Scholar] [CrossRef]
- Ahrens, M.U.; Tolstorebrov, I.; Tønsberg, E.K.; Hafner, A.; Wang, R.Z.; Eikevik, T.M. Numerical investigation of an oil-free liquid-injected screw compressor with ammonia-water as refrigerant for high temperature heat pump applications. Appl. Therm. Eng. 2023, 219, 119425. [Google Scholar] [CrossRef]
- Park, J.T.; Lee, Y.S.; Kim, J.; Chae, K.J.; Yang, H.J. A study on the operating control of a heat pump system with screw compressors. Korean J. Air-Cond. Refrig. Eng. 2013, 25, 168–172. [Google Scholar]
- Chamoun, M.; Rulliere, R.; Haberschill, P.; Peureux, J.L. Modelica-based modeling and simulation of a twin screw compressor for heat pump applications. Appl. Therm. Eng. 2013, 58, 479–489. [Google Scholar] [CrossRef]
- Byrne, P.; Ghoubali, R.; Miriel, J. Scroll compressor modelling for heat pumps using hydrocarbons as refrigerants. Int. J. Refrig. 2014, 41, 1–13. [Google Scholar] [CrossRef]
- Kim, D.; Jeon, Y.; Jang, D.S.; Kim, Y. Performance comparison among two-phase, liquid, and vapor injection heat pumps with a scroll compressor using R410A. Appl. Therm. Eng. 2018, 137, 193–202. [Google Scholar] [CrossRef]
- Mateu-Royo, C.; Navarro-Esbrí, J.; Mota-Babiloni, A.; Moles, F.; Amat-Albuixech, M. Experimental exergy and energy analysis of a novel high-temperature heat pump with scroll compressor for waste heat recovery. Appl. Energy 2019, 253, 113504. [Google Scholar]
- Wang, J.J.; Qv, D.H.; Ni, L.; Yao, Y. Experimental study on an injection-assisted air source heat pump with a novel two-stage variable-speed scroll compressor. Appl. Therm. Eng. 2020, 176, 115415. [Google Scholar] [CrossRef]
- Peng, M.B.; Peng, X.; Wang, D.B.; Liu, X.X.; Yang, Y.S.; Wang, G.H.; Chen, B.Y. Investigation of the unsteady characteristic in a scroll compressor of a heat pump system for electric vehicles. J. Therm. Anal. Calorim. 2023, 148, 965–976. [Google Scholar] [CrossRef]
- Ko, H.; Jeong, D.; Lim, S.; Yup, K. Performance test of an oil-free centrifugal compressor equipped with magnetic bearing for a high temperature heat pump. Korean J. Air-Cond. Refrig. Eng. 2019, 31, 72–80. [Google Scholar]
- Liu, H.; Zhao, B.Y.; Zhang, Z.P.; Li, H.B.; Hu, B.; Wang, R.Z. Experimental validation of an advanced heat pump system with high-efficiency centrifugal compressor. Energy 2020, 213, 118968. [Google Scholar] [CrossRef]
- Meroni, A.; Zühlsdorf, B.; Elmegaard, B.; Haglind, F. Design of centrifugal compressors for heat pump systems. Appl. Energy 2018, 232, 139–156. [Google Scholar] [CrossRef]
- Uusitalo, A.; Turunen-Saaresti, T.; Honkatukia, J.; Tiainen, J.; Jaatinen-Varri, A. Numerical analysis of working fluids for large scale centrifugal compressor driven cascade heat pumps upgrading waste heat. Appl. Energy 2020, 269, 115056. [Google Scholar] [CrossRef]
- Kosmadakis, G. Estimating the potential of industrial (high-temperature) heat pumps for exploiting waste heat in EU industries. Appl. Therm. Eng. 2019, 156, 287–298. [Google Scholar] [CrossRef]
- Mateu-Royo, C.; Sawalha, S.; Mota-Babiloni, A.; Navarro-Esbri, J. High temperature heat pump integration into district heating network. Energy Convers. Manag. 2020, 210, 112719. [Google Scholar] [CrossRef]
- Wang, L.; Li, M.; Han, Y.H. Analysis of energy storage and heating performance of photovolatic direct-driven air heat pump. Acta Energ. Sol. Sin. 2020, 41, 159–166. [Google Scholar]
- Hassan, A.H.; Corberán, J.M.; Ramirez, M.; Trebilcock-Kelly, F.; Paya, J. A high-temperature heat pump for compressed heat energy storage applications: Design, modeling, and performance. Energy Rep. 2022, 8, 10833–10848. [Google Scholar] [CrossRef]
- Zhang, Q.; Wang, L.; Xu, Y.J.; Chen, H.S. Research progress in pumped heat electricity storage system: A Review. Proc. CSEE 2018, 38, 178–185. [Google Scholar]
- Wu, Z.Q.; Wang, J.H.; Bai, N. Exergy analysis for pumped thermal electricity storage system based on closed brayton cycle. Acta Energ. Sol. Sin. 2023, 44, 336–343. [Google Scholar]
- Lu, C.; Shi, X.P.; Jia, M.X.; Du, D.M.; He, Q. Dynamic model and start-up characteristics of pumped thermal electricity storage system. Proc. CSEE 2022, 42, 167–176. [Google Scholar]
Disclaimer/Publisher’s Note: The statements, opinions and data contained in all publications are solely those of the individual author(s) and contributor(s) and not of MDPI and/or the editor(s). MDPI and/or the editor(s) disclaim responsibility for any injury to people or property resulting from any ideas, methods, instructions or products referred to in the content. |
© 2023 by the authors. Licensee MDPI, Basel, Switzerland. This article is an open access article distributed under the terms and conditions of the Creative Commons Attribution (CC BY) license (https://creativecommons.org/licenses/by/4.0/).






