Research Progress on Thermal Hydraulic Characteristics of Spent Fuel Pools: A Review
Abstract
1. Introduction
2. SFP Cooling System
2.1. Scheme of SFP Cooling System
2.2. PCS of SFP
2.2.1. Design Scheme of PCS
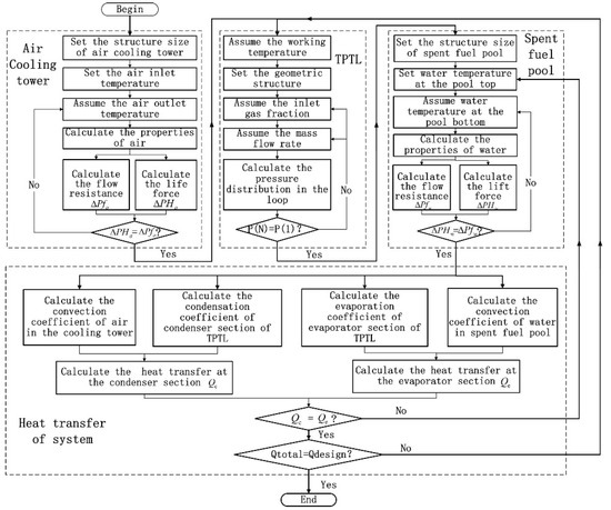
2.2.2. Research on Heat Transfer Capacity of PCS
3. Research on Safety of SFPs
3.1. Loss-of-Coolant Accident in SFPs
3.2. Development of Thermal Hydraulic Analysis Program
4. Conclusions
- (1)
- With the rapid development of nuclear power technology, more and more FA is stored in the pool and the safety of SFP is increasingly important. Compared with existing SFP cooling systems, the safety of this system depends on the external energy supply system. If the energy supply system breaks down, it may cause a serious accident. Most NPPs increase the redundancy of their systems by adding cooling columns, equipment and various cold sources to ensure safety, but this also increases the construction costs of the system.
- (2)
- PCSs for SFPs are only in the preliminary design stages, and the water loss time of the in Fukushima NPP is much longer than the 72 h preset of AP1000, meaning that the passive cooling capacity is limited. The existing research on the passive cooling systems of SFPs mainly focuses on separated heat pipes. The heat source temperature has a great influence on the heat transfer performance of PCSs, and the filling ratio of the loop is between 20% and 80%. Heat pipes should have good material compatibility, high latent heat, high level of safety, suitable working pressure and affordable price. Although the ammonia heat pipe has the strongest heat transfer capacity, it has potential safety hazards due to its explosive, toxic and poor material compatibility, so R134 a seems to be a more suitable choice. In the future, research on the heat transfer characteristics of working fluids such as methanol, ethanol, acetone and nanofluids should be carried out. The arrangement of the air-cooling tower is helpful to enhance the heat transfer capacity of PCSs.
- (3)
- Most studies try to estimate the heat transfer performance of a single heat pipe module, lacking the overall study of the PCS, and only reveal the influence of a single parameter on the heat transfer of the PCS, without trying to integrate the parameters. As a result, a great deal of sensitivity analysis work remains to be carried out.
- (4)
- Spent fuel with high decay power should be dispersed in an SFP. Reducing the ambient temperature and spraying have a significant effect on ensuring the safety of an SFP. After an accident, ventilation and spraying can be implemented to quickly cool down the pool.
- (5)
- The RELAP and MELCOR programs have a good calculation consistency, and are widely used to calculate the thermal hydraulic characteristics and conduct accident analysis of SFPs. In the future, the programs should be optimized to improve their calculation accuracy and predict the accident progress.
- (6)
- From a safety point of view, compared with a LOCA in the reactor core, the low attenuation heat and large amount of cooling water mixed with the spent fuel in an SFP may slow down the accident process, but the large number of fuel assemblies stored in the SFP and the lack of containment may pose greater risks.
- (7)
- The application of the PCS of the SFP in practice requires an overall experiment using a separated heat pipe cooling system, a performance analysis of the cooling system in the event of a LOCA and a reliability analysis of the cooling system and the layout of the spent fuel plant, as well as a seismic analysis.
Author Contributions
Funding
Data Availability Statement
Conflicts of Interest
References
- Marco, C.; Paolo, C.; Zeynep, G.; Brianna, L.; Bertrand, M.; Mario, T.; Hal, T.; Aliki, V. Climate Change and Nuclear Power 2022; International Atomic Energy Agency: Vienna, Austria, 2022. [Google Scholar]
- Azam, A.; Rafiq, M.; Shafique, M.; Zhang, H.; Yuan, J. Analyzing the effect of natural gas, nuclear energy and renewable energy on GDP and carbon emissions: A multi-variate panel data analysis. Energy 2019, 219, 119592. [Google Scholar] [CrossRef]
- Bernard, L. Statistical Review of World Energy 2021; BP: London, UK, 2022. [Google Scholar]
- Ewing, R. Nuclear Fuel Cycle: Environmental Impact. MRS Bull. 2008, 33, 338–340. [Google Scholar] [CrossRef]
- Sanders, M.; Sanders, C. Nuclear Waste Management Strategies-An International Perspective; Elsevier Academic Press: London, UK, 2019. [Google Scholar] [CrossRef]
- Vitkova, M.; Gorinov, I.; Dacheva, D. Safety criteria for wet and dry spent fuel storage. In Proceedings of the International Conference on WWER Fuel Performance, Modelling and Experimental Support, Albena, Bulgaria, 19–23 September 2005. [Google Scholar]
- Ahn, K.I.; Shin, J.U.; Kim, W.T. Severe accident analysis of plant-specific spent fuel pool to support a SFP risk and accident management. Ann. Nucl. Energy 2016, 89, 70–83. [Google Scholar] [CrossRef]
- Jin, H.S.; Kim, T.W. Severe accident issues raised by the Fukushima accident and improvements suggested. Nucl. Eng. Technol. 2014, 46, 207–216. [Google Scholar] [CrossRef]
- Moamen, G.; Tawfic, A.F.; Chidiac, S.E. Spent nuclear fuel interim dry storage; Design requirements, most common methods, and evolution: A review. Ann. Nucl. Energy 2021, 160, 108408. [Google Scholar] [CrossRef]
- Laura, R.P.; Soria, M. A Review of the Nuclear Fuel Cycle Strategies and the Spent Nuclear Fuel Management Technologies. Energies 2017, 10, 1235. [Google Scholar] [CrossRef]
- Zhang, Y.J.; Huang, Z.R.; Zhao, F.Y. Mathematical modeling and evaluation of the safety culture for the operating nuclear power plants in China: Critical review and multi-criteria decision analysis. Ann. Nucl. Energy 2021, 168, 108871. [Google Scholar] [CrossRef]
- Saegusa, T.; Wataru, M.; Shirai, K.; Takeda, H.; Namba, K. Transport and Storage of Spent Nuclear Fuel-Safe and Secure Transport and Storage of Radioactive Materials; Woodhead Publishing: Oxford, UK, 2015. [Google Scholar]
- Hu, G.; Pfingsten, W. Data-driven machine learning for disposal of high-level nuclear waste: A review. Ann. Nucl. Energy 2023, 180, 109452. [Google Scholar] [CrossRef]
- Surip, W.; Putraa, N.; Anhar, R.A. Design of passive residual heat removal systems and application of two-phase thermosyphons: A review. Prog. Nucl. Energy 2022, 154, 104473. [Google Scholar] [CrossRef]
- Bevilacqua, A.; Carreton, J.; Guskov, A.; Hornebrant, T.; Jones, C. Guidebook on Spent Fuel Storage; International Atomic Energy Agency: Vienna, Austria, 1984. [Google Scholar]
- Zhou, K.F.; Zheng, J.Y.; Feng, J.J. Analysis on mitigation measures of M310 Type NPP in SBO accident. At. Energy Sci. Technol. 2014, 48, 1464–1472. [Google Scholar] [CrossRef]
- Liu, Z.; Liu, C.; Hongqiao, R. Research on Reverse-Heating for Test of Heat Exchanger of Spent Fuel Pool in EPR Units. Nucl. Power Eng. 2017, 38, 113–116. [Google Scholar] [CrossRef]
- Cherubini, M.; Muellner, N.; D’Auria, F. Application of an optimized AM procedure following a SBO in a VVER-1000. Nucl. Eng. Des. 2008, 238, 74–80. [Google Scholar] [CrossRef]
- Sutharshan, B.; Mutyala, M.; Vijuk, R.P. The AP1000TM Reactor: Passive Safety and Modular Design. Energy Procedia 2011, 7, 293–302. [Google Scholar] [CrossRef]
- Schulz, T.L. Westinghouse AP1000 advanced passive plant. Nucl. Eng. Des. 2006, 236, 1547–1557. [Google Scholar] [CrossRef]
- Xing, J.; Song, D.; Wu, Y. HPR1000: Advanced pressurized water reactor with active and passive safety. Engineering 2016, 2, 79–87. [Google Scholar] [CrossRef]
- Li, J.; Li, X.M.; Yu, X.L. Design and Evaluation of Passive Containment Heat Removal System. At. Energy Sci. Technol. 2018, 52, 1021–1027. [Google Scholar] [CrossRef]
- Aksan, N.; Choi, J.; Chung, Y.; Cleveland, J.; D’Auria, F. Passive Safety Systems and Natural Circulation in Water Cooled Nuclear Power Plants; International Atomic Energy Agency: Vienna, Austria, 2009. [Google Scholar]
- Ye, C.; Zheng, M.G.; Han, X. Comparative Advantages of AP1000 Passive Safety System. At. Energy Sci. Technol. 2012, 46, 1221–1225. [Google Scholar] [CrossRef]
- Jouhara, H.; Chauhan, A.; Nannou, T. Heat pipe based systems—Advances and applications. Energy 2017, 128, 729–754. [Google Scholar] [CrossRef]
- Yin, X.; Hu, J.; Chi, X.Y. Experimental investigation of two-phase thermosyphon loop for passive containment cooling. Appl. Therm. Eng. 2021, 184, 116403. [Google Scholar] [CrossRef]
- Wang, N.; Cui, Z.; Burger, J. Transient behaviors of loop heat pipes for alpha magnetic spectrometer cryocoolers. Appl. Therm. Eng. 2014, 68, 1–9. [Google Scholar] [CrossRef]
- Fuchs, T. New Technical Concepts of Spent Fuel Pool-Cooling and Implementation. In Proceedings of the Annual Meeting on Nuclear Technology, Vienna, Austria, 29–30 September 2016. [Google Scholar]
- Mochizuki, M.; Singh, R.; Nguyen, T. Heat pipe based passive emergency core cooling system for safe shutdown of nuclear power reactor. Appl. Therm. Eng. 2014, 73, 699–706. [Google Scholar] [CrossRef]
- Mochizuki, M.; Singh, R.; Nguyen, T. An Emergency Core Cooling System (ECCS) for Nuclear Power Reactor Using Passive Loop Heat Pipe. J. Jpn. Inst. Electron. Packag. 2012, 15, 180–184. [Google Scholar] [CrossRef]
- Kusuma, M.H.; Putra, N.; Antariksawan, A.R. Passive Cooling System in a nuclear spent fuel pool using a vertical straight wickless-heat pipe. Int. J. Therm. Sci. 2018, 126, 162–171. [Google Scholar] [CrossRef]
- Kusuma, M.H.; Putra, N.; Ismarwanti, S. Simulation of wickless-heat pipe as passive cooling system in nuclear spent fuel pool using RELAP5/MOD3.2. Int. J. Adv. Sci. Eng. Inf. Technol. 2017, 7, 836–842. [Google Scholar] [CrossRef]
- Kusuma, M.H.; Putra, N.; Antariksawan, A.R. Investigation of the Thermal Performance of a Vertical Two-Phase Closed Thermosyphon as a Passive Cooling System for a Nuclear Reactor Spent Fuel Storage Pool. Nucl. Eng. Technol. 2017, 49, 476–483. [Google Scholar] [CrossRef]
- Choi, J.; Lim, C.; Kim, H. Fork-end heat pipe for passive air cooling of spent nuclear fuel pool. Nucl. Eng. Des. 2021, 374, 111081. [Google Scholar] [CrossRef]
- Lim, C.; Choi, J.; Kim, H. Experimental Investigation of the Heat Transfer Characteristics and Operation Limits of a Fork-Type Heat Pipe for Passive Cooling of a Spent Fuel Pool. Energies 2021, 14, 7862. [Google Scholar] [CrossRef]
- Ye, C.; Wang, M.; Qiu, Z. The Comparative Advantages of CAP1400 Nuclear Power Plant Passive Safety System. In Proceedings of the 5th International Conference on Nuclear Engineering, Shanghai, China, 2–6 July 2017. [Google Scholar]
- Ye, C.; Zheng, M.G.; Wang, M.L. The design and simulation of a new spent fuel pool passive cooling system. Ann. Nucl. Energy 2013, 58, 124–131. [Google Scholar] [CrossRef]
- Xiong, Z.Q.; Wang, M.L.; Gu, H.Y. Experimental study on heat pipe heat removal capacity for passive cooling of spent fuel pool. Ann. Nucl. Energy 2015, 83, 258–263. [Google Scholar] [CrossRef]
- Xiong, Z.Q.; Ye, C.; Wang, M.L. Experimental study on the sub-atmospheric loop heat pipe PCS for spent fuel pool. Prog. Nucl. Energy 2015, 79, 40–47. [Google Scholar] [CrossRef]
- Xiong, Z.Q.; Gu, H.Y.; Wang, M.L. The thermal performance of a loop-type heat pipe for passively removing residual heat from spent fuel pool. Ann. Nucl. Energy 2014, 280, 262–268. [Google Scholar] [CrossRef]
- Zheng, H.; Ma, W.M. Performance of a passive cooling system for spent fuel pool using two- phase thermosiphon evaluated by RELAP5/MELCOR coupling analysis. Ann. Nucl. Energy 2019, 128, 330–340. [Google Scholar] [CrossRef]
- Li, G.; Wang, H.T.; Zhang, G.L. Thermal-hydraulic design and transient analysis of PCS for CPR1000 spent fuel storage pool. Nucl. Sci. Technol. 2016, 27, 8. [Google Scholar] [CrossRef]
- Kuang, Y.W.; Yi, C.C.; Wang, W. Heat transfer performance analysis of a large-scale separate heat pipe with a built-in tube. Appl. Therm. Eng. 2020, 167, 114726. [Google Scholar] [CrossRef]
- Wu, Y.X.; Cheng, J.J.; Zhu, H. Experimental study on heat transfer characteristics of separated heat pipe with compact structure for spent fuel pool. Ann. Nucl. Energy 2023, 181, 109580. [Google Scholar] [CrossRef]
- Luo, Y.; Wang, W.; Hu, Y.L. Experimental Study on Heat Transfer Characteristics of Separated Heat Pipe Loop with Multi-parallel Branches. J. Refrig. 2019, 40, 32–36. [Google Scholar]
- Han, F.; Kuang, Y.W.; Ye, C. Investigation on thermal-hydraulic characteristics of the spent fuel pool with a complete passive cooling system. Ann. Nucl. Energy 2022, 177, 109326. [Google Scholar] [CrossRef]
- Kuang, Y.W.; Yi, C.C.; Wang, W. Modeling and simulation of large-scale separated heat pipe with low heat flux for spent fuel pool cooling. Appl. Therm. Eng. 2019, 147, 747–755. [Google Scholar] [CrossRef]
- Kuang, Y.; Yang, Q.; Wang, W. Thermal analysis of a heat pipe assisted passive cooling system for spent fuel pools. Int. J. Refrig. 2022, 135, 174–188. [Google Scholar] [CrossRef]
- Kuang, Y.; Wang, W. Modeling and numerical investigation on effects of filling ratio in a large separate heat pipe loop. Int. J. Energy Res. 2022, 46, 415–432. [Google Scholar] [CrossRef]
- Fu, W.; Li, X.W.; Wu, X.X. Investigation of a long term passive cooling system using two-phase thermosyphon loops for the nuclear reactor spent fuel pool. Ann. Nucl. Energy 2015, 85, 346–356. [Google Scholar] [CrossRef]
- Kusuma, M.H.; Putra, N.; Rosidi, A. Investigation on the Performance of a Wickless-Heat Pipe Using Graphene Nanofluid for Passive Cooling System. At. Indones. 2019, 45, 173–182. [Google Scholar] [CrossRef]
- Kundu, A.; Kumar, R.; Gupta, A. Comparative experimental study on flow boiling heat transfer characteristics of pure and mixed refrigerants. Int. J. Refrig. 2014, 45, 136–147. [Google Scholar] [CrossRef]
- Enoki, K.; Ono, M.; Okawa, T. Water flow boiling heat transfer in vertical minichannel. Exp. Therm. Fluid Sci. 2020, 117, 110147. [Google Scholar] [CrossRef]
- Kuang, Y.W.; Wen, W.; Rui, Z. Simulation of boiling flow in evaporator of separate type heat pipe with low heat flux. Ann. Nucl. Energy 2015, 75, 158–167. [Google Scholar] [CrossRef]
- Lima, L.; Mangiavacchi, N.; Ferrari, L. Stability analysis of passive cooling systems for nuclear spent fuel pool. J. Braz. Soc. Mech. Sci. Eng. 2017, 39, 1019–1031. [Google Scholar] [CrossRef]
- Yang, K.M.; Wang, N.H.; Jiang, C.H. Experimental Research and Simulation in a Thermosyphon. Adv. Mater. Res. 2012, 580, 441–444. [Google Scholar] [CrossRef]
- Yang, K.M.; Wang, N.H.; Jiang, C.H. An Investigation of the Thermal Performance of a Novel Axial Grooved Heat Pipe. Adv. Mater. Res. 2012, 580, 223–226. [Google Scholar] [CrossRef]
- Lai, K.; Wang, W.; Yi, C.C. The study of passive cooling system assisted with separate heat pipe for decay heat removal in spent fuel pool. Ann. Nucl. Energy 2018, 111, 523–535. [Google Scholar] [CrossRef]
- Unger, S.; Krepper, E.; Hampel, U. Numerical analysis of heat exchanger designs for passive spent fuel pool cooling to ambient air. Nucl. Eng. Des. 2018, 333, 224–234. [Google Scholar] [CrossRef]
- Unger, S.; Krepper, E.; Beyer, M. Numerical optimization of a finned tube bundle heat exchanger arrangement for passive spent fuel pool cooling to ambient air. Nucl. Eng. Des. 2020, 361, 110549. [Google Scholar] [CrossRef]
- Unger, S.; Arlit, M.; Beyer, M. Experimental study on the advective heat flux of a heat exchanger for passive cooling of spent fuel pools by temperature anemometry grid sensor. Nucl. Eng. Des. 2021, 379, 111237. [Google Scholar] [CrossRef]
- Rigby, A.; Lindley, B.; Cullen, J. An exergy based assessment of the efficiency of nuclear fuel cycles. Energy 2023, 264, 126160. [Google Scholar] [CrossRef]
- Nuclear Energy Agency. Status Report on Spent Fuel Pools under Loss-of-Cooling and Loss-of-Coolant Accident Conditions; OECD Publishing: Paris, France, 2015. [Google Scholar]
- Shi, B.G. Spent fuel natural circulation cooling analysis of chashma nuclear power plant. Nucl. Power Eng. 1999, 20, 413–416. [Google Scholar]
- Benjamin, A.S.; Mccloskey, D.J. Spent Fuel Heatup Following Loss of Water during Storage. Nucl. Technol. 1980, 49, 274–294. [Google Scholar] [CrossRef]
- Jo, J.; Rose, P.; Unwin, S.; Sailor, V.; Perkins, K.; Tingle, A. Value/Impact Analyses of Accident Preventive and Mitigative Options for Spent Fuel Pools; Nuclear Regulatory Commission: Rockville, MD, USA, 1989.
- Throm, E. Regulatory Analysis for the Resolution of Generic Issue 82 “Beyond Design Basis Accidents in Spent Fuel Pools”; Nuclear Regulatory Commission: Rockville, MD, USA, 1989.
- Timothy, E.; George, H. Technical Study of Spent Fuel Pool Accident Risk at Decommissioning Nuclear Power Plants; Nuclear Regulatory Commission: Rockville, MD, USA, 2001.
- Siu, N.; Khericha, S.; Conroy, S.; Beck, S.; Blackman, H. Loss of Spent Fuel Pool Cooling PRA: Model and Results; Nuclear Regulatory Commission: Rockville, MD, USA, 1996.
- Lu, Y.Z.; Yun, X.Y.; Zhang, H.Y. Experimental Research of Air Natural Circulation and Hydrogen Distribution in Fuel Building after Loss of Coolant Accident. At. Energy Sci. Technol. 2020, 54, 916–922. [Google Scholar] [CrossRef]
- Hanisch, T.; Zedler, P.; Hurtado, A. Numerical and experimental analysis of flow and heat transfer in a fuel assembly mock-up with transverse flow above the rods. Int. J. Heat Fluid Flow 2021, 89, 108809. [Google Scholar] [CrossRef]
- Josip, D.; Davor, G. Analysis of Spent Fuel Pool Loss of Coolant Inventory Accident Progression. J. Energy 2017, 66, 1–9. [Google Scholar]
- Partmann, C.; Schuster, C.; Hurtado, A. Experimental investigation of the thermal hydraulics of a spent fuel pool under loss of active heat removal conditions. Nucl. Eng. Des. 2018, 330, 480–487. [Google Scholar] [CrossRef]
- Tsao, P.; Hsieh, K.; Lee, D.; Kim, C.; Tseng, Y.; Hung, T. Investigation of passive air cooling capacity for spent fuel pool. In Proceedings of the World Congress on Advances in Nano, Biomechanics, Robotics, and Energy Research 2013, Seoul, Republic of Korea, 25–28 August 2017. [Google Scholar]
- Liu, M.L.; Wang, L.; Ni, S. Experimental investigation on pressure drop of a PWR fuel assembly under low Re conditions. Ann. Nucl. Energy 2022, 167, 108768. [Google Scholar] [CrossRef]
- Liu, M.L.; Ni, S.; Wang, X. Experimental study on the natural circulation behavior of a full-scale PWR fuel assembly. Ann. Nucl. Energy 2022, 174, 109172. [Google Scholar] [CrossRef]
- Oertel, R.; Hanisch, T.; Krepper, E. Two-scale CFD analysis of a spent fuel pool involving partially uncovered fuel storage racks. Nucl. Eng. Des. 2019, 341, 432–450. [Google Scholar] [CrossRef]
- Nuclear Energy Agency. Nuclear Energy Agency Committee on the Safety of Nuclear Installations; OECD Publishing: Paris, France, 2015. [Google Scholar]
- Yu, C.L. Numerical study on hydrodynamic and thermal characteristics of spent fuel pool. Ann. Nucl. Energy 2018, 119, 139–147. [Google Scholar] [CrossRef]
- Mochizuki, H. Evaluation of spent fuel pool temperature and water level during SBO. Ann. Nucl. Energy 2017, 109, 548–556. [Google Scholar] [CrossRef]
- Zhang, Z.W.; Du, Y.; Liang, K.S. Advanced modeling techniques of a spent fuel pool with both RELAP5 and MELCOR and associated accident analysis. Ann. Nucl. Energy 2017, 110, 160–170. [Google Scholar] [CrossRef]
- Wu, X.; Wei, L.; Zhang, Y. Analysis of accidental loss of pool coolant due to leakage in a PWR SFP. Ann. Nucl. Energy 2015, 77, 65–73. [Google Scholar] [CrossRef]
- Gauntt, R.; Donald, K. Fukushima Daiichi Accident Study; Sandia National Laboratories: Albuquerque, NM, USA, 2012. [Google Scholar]
- Carlos, S.; Martorell, S. Use of TRACE best estimate code to analyze spent fuel storage pools safety. Prog. Nucl. Energy 2014, 77, 224–238. [Google Scholar] [CrossRef]
- Liao, F.Y.; Chen, W.H.; Guo, C. Study on Severe Accident Occurred in Spent Fuel Pool Based on ASTEC Code. Nucl. Sci. Eng. 2022, 1, 199–206. [Google Scholar]
- Omidifard, P.; Pirouzmand, A.; Hadad, K. Analysis of loss of cooling and loss of coolant severe accident scenarios in VVER-1000/V446 spent fuel pool. Ann. Nucl. Energy 2020, 138, 107205. [Google Scholar] [CrossRef]
- Adorni, M.; Herranz, L.E.; Hollands, T. OECD/NEA Sandia Fuel Project phase I: Benchmark of the ignition testing. Nucl. Eng. Des. 2016, 307, 418–430. [Google Scholar] [CrossRef]
- Boyd, C. Predictions of Spent Fuel Heatup after a Complete Loss of Spent Fuel Pool Coolant; Nuclear Regulatory Commission: Rockville, MD, USA, 2000.
- Hung, T.C.; Vijay, K.; Pei, B.S. The development of a three-dimensional transient CFD model for predicting cooling ability of spent fuel pools. Appl. Therm. Eng. 2013, 50, 496–504. [Google Scholar] [CrossRef]
- Edward, J. Development and Assessment of CFD Models Including a Supplemental Program Code for Analyzing Buoyancy-Driven Flows through BWR Fuel Assemblies in SFP Complete LOCA Scenarios; The University of Texas at Austin: Austin, TX, USA, 2012; Available online: http://hdl.handle.net/2152/ETD-UT-2012-12-6836 (accessed on 16 April 2023).
- Chen, S.R.; Lin, W.C.; Ferng, Y.M. CFD simulating the transient thermal–hydraulic characteristics in a 17 × 17 bundle for a spent fuel pool under the loss of external cooling system accident. Ann. Nucl. Energy 2014, 73, 241–249. [Google Scholar] [CrossRef]
- Renner, H. SFPT-4 Computer Program for Multi-Channel Analysis of Spent Fuel Pool Natural Circulation. NUS-TM-285. 1976. [Google Scholar]
- Gay, R.R. Spent Nuclear Fuel Storage Pool Thermal Hydraulic Analysis. Prog. Nucl. Energy 1984, 14, 199–255. [Google Scholar] [CrossRef]
- Stalker, K.T.; Benjamin, A.S. Experimental Studies of Rapidly Oxidizing Zircaloy Cladding Bundles in Air. Trans. Am. Nucl. Soc. 1983, 45, 134–135. [Google Scholar]
- Nourbakhsh, H.; Miao, G.; Cheng, Z. Analysis of Spent Fuel Heatup Following Loss of Water in a Spent Fuel Pool: A Users’ Manual for the Computer Code SHARP; Nuclear Regulatory Commission: Rockville, MD, USA, 2002.
- Michener, T.E.; Rector, D.R.; Cute, J. COBRA-SFS Thermal-Hydraulic Analysis Code for Spent-Fuel Storage and Transportation Casks: Models and Methods. Nucl. Technol. A J. Am. Nucl. Soc. 2017, 199, 330–349. [Google Scholar] [CrossRef]
- Gauntt, R.; Cole, R.; Erickson, C.; Rodriquez, S. MELCOR Computer Code Manuals Version 1.8.5; Sandia National Laboratories: Albuquerque, NM, USA, 2000. [Google Scholar]
- Kaliatka, A.; Ognerubov, V.; Vileiniskis, V. Analysis of the processes in spent fuel pools of Ignalina NPP in case of loss of heat removal. Nucl. Eng. Des. 2010, 240, 1073–1082. [Google Scholar] [CrossRef]
- Vierow, K.; Liao, Y.; Johnson, J. Severe accident analysis of a PWR station blackout with the MELCOR, MAAP4 and SCDAP/RELAP5 codes. Nucl. Eng. Des. 2004, 234, 129–145. [Google Scholar] [CrossRef]
- Nim, S.; Liu, M.L.; Gu, H.Y. Modeling and validation of RELAP5 for natural circulation flow in a single PWR fuel assembly. Ann. Nucl. Energy 2021, 151, 107940. [Google Scholar] [CrossRef]
- Maccari, P.; Mascari, F.; Ederli, S.; Manservisi, S. SBO analysis of a generic PWR-900 with ASTEC and MELCOR codes. J. Phys. Conf. Ser. 2021, 1868, 012019. [Google Scholar] [CrossRef]
- Ammirabile, L.; Bujan, A.; Sangiorgi, M. PWR Medium Break LOCA source term analysis using ASTEC code. Prog. Nucl. Energy 2015, 81, 30–42. [Google Scholar] [CrossRef]














| Reactor Type | Safety-Level Loop/Column | Pump/Set | Heat Exchanger/Set | Extra Cold Source |
|---|---|---|---|---|
| M310 [16] | 2 | 2 | 2 | No |
| EPR [17] | 3 | 5 | 3 | Yes |
| VVER [18] | 2 | 2 | 2 | No |
| AP1000 [19,20] | 2 | 2 | 2 | Yes |
| HPR1000 [21] | 3 | 3 | 3 | Yes |
| Author | Type | Research Method | Final Heat Sink | Maximum Heat Transfer Capacity | |
|---|---|---|---|---|---|
| 1 | Westinghouse [20] | Gravity heat pipe | Experiment | Atmosphere | 300 kW (single heat pipe) |
| 2 | AREVA [28] | Heat pipe loop | Experiment | Atmosphere (air cooling tower) | 1.25 MW |
| 3 | Fujikura [29] | Heat pipe loop | Experiment | Atmosphere | 4 MW |
| 4 | Kusuma [31] | Straight wickless-heat pipe | Experiment | Water | 2.5 kW |
| 5 | Choi [34] | Fork-end heat pipe | Experiment | Atmosphere (air cooling tower) | 2.1 kW |
| 6 | Ye [36] | Heat pipe loop | Simulation (Fluent) | Atmosphere | 16 MW |
| 7 | Xiong [38] | Large-scale separated single heat pipe | Experiment | Atmosphere (air cooling tower) | 16.8 kW |
| 8 | Zheng [41] | Heat pipe loop | Simulation (MELCOR and RELAP5) | Atmosphere | - |
| 9 | Li [42] | Shell-and-tube heat exchanger | Simulation (RELAP5) | Atmosphere | 11.98 MW |
| 10 | Kuang [43] | Large-scale separated single heat pipe | Simulation; experiment | Atmosphere | - |
| 11 | Wu [44] | Separated heat pipe with compact structure | Experiment | Atmosphere | 4 kW |
| 12 | Luo [45] | Multi-parallel branch-separated heat pipe | Experiment | Water | - |
Disclaimer/Publisher’s Note: The statements, opinions and data contained in all publications are solely those of the individual author(s) and contributor(s) and not of MDPI and/or the editor(s). MDPI and/or the editor(s) disclaim responsibility for any injury to people or property resulting from any ideas, methods, instructions or products referred to in the content. |
© 2023 by the authors. Licensee MDPI, Basel, Switzerland. This article is an open access article distributed under the terms and conditions of the Creative Commons Attribution (CC BY) license (https://creativecommons.org/licenses/by/4.0/).
Share and Cite
Xu, C.; Wang, Z.; Tang, S.; Chi, X.; Zhu, X.; Li, Y.; Wang, N. Research Progress on Thermal Hydraulic Characteristics of Spent Fuel Pools: A Review. Energies 2023, 16, 3990. https://doi.org/10.3390/en16103990
Xu C, Wang Z, Tang S, Chi X, Zhu X, Li Y, Wang N. Research Progress on Thermal Hydraulic Characteristics of Spent Fuel Pools: A Review. Energies. 2023; 16(10):3990. https://doi.org/10.3390/en16103990
Chicago/Turabian StyleXu, Chende, Zhengguang Wang, Shuai Tang, Xiangyu Chi, Xixi Zhu, Yaru Li, and Naihua Wang. 2023. "Research Progress on Thermal Hydraulic Characteristics of Spent Fuel Pools: A Review" Energies 16, no. 10: 3990. https://doi.org/10.3390/en16103990
APA StyleXu, C., Wang, Z., Tang, S., Chi, X., Zhu, X., Li, Y., & Wang, N. (2023). Research Progress on Thermal Hydraulic Characteristics of Spent Fuel Pools: A Review. Energies, 16(10), 3990. https://doi.org/10.3390/en16103990

