Next Article in Journal
Energy Performance Assessment of the Container Housing in Subtropical Region of China upon Future Climate Scenarios
Next Article in Special Issue
Advancements on Optimization Algorithms Applied to Wave Energy Assessment: An Overview on Wave Climate and Energy Resource
Previous Article in Journal
A Compound Coordinated Optimal Operation Strategy of Day-Ahead-Rolling-Realtime in Integrated Energy System
Previous Article in Special Issue
Shape Optimization of Oscillating Buoy Wave Energy Converter Based on the Mean Annual Power Prediction Model
 
 
Font Type:
Arial Georgia Verdana
Font Size:
Aa Aa Aa
Line Spacing:
Column Width:
Background:
Article

Predicting Power and Hydrogen Generation of a Renewable Energy Converter Utilizing Data-Driven Methods: A Sustainable Smart Grid Case Study

1
Department of Electrical and Computer Engineering, K.N. Toosi University of Technology, Tehran 1999143344, Iran
2
Department of Mechatronic, Amirkabir University of Technology, Tehran 158754413, Iran
3
Department of Mechatronic, Electrical and Computer Engineering, University of Tehran, Tehran 1416634793, Iran
4
Doctoral School of Applied Informatics and Applied Mathematics, Faculty of Informatics, Obuda University, 1023 Budapest, Hungary
*
Author to whom correspondence should be addressed.
Energies 2023, 16(1), 502; https://doi.org/10.3390/en16010502
Submission received: 16 October 2022 / Revised: 19 December 2022 / Accepted: 29 December 2022 / Published: 2 January 2023
(This article belongs to the Special Issue Wave Energy Technologies and Optimization Methods)

Abstract

This study proposes a data-driven methodology for modeling power and hydrogen generation of a sustainable energy converter. The wave and hydrogen production at different wave heights and wind speeds are predicted. Furthermore, this research emphasizes and encourages the possibility of extracting hydrogen from ocean waves. By using the extracted data from the FLOW-3D software simulation and the experimental data from the special test in the ocean, the comparison analysis of two data-driven learning methods is conducted. The results show that the amount of hydrogen production is proportional to the amount of generated electrical power. The reliability of the proposed renewable energy converter is further discussed as a sustainable smart grid application.

1. Introduction

Developing renewable energy technologies has been reported to have great progress during the past decade [1,2]. The most well-known ones are solar, wind, tidal, hydrogen, and geothermal [3]. Ocean wave energy is the second potential among all ocean renewable energy sources [4]. In recent years, inventors have become interested in wave converters. Since 1980, about 1000 patents have been registered on this topic, which is still increasing rapidly [5]. In 1799, Girard invented the first wave converter, like today’s converters in France [6], known as one of the first converters. Starting in 2000, several patents for these converters appeared in the field of energy conversion. Yoshio Masuda is called the founder of the development of wave converters. He invented a float connected to a special turbine to generate electricity [7]. The reason for the development of these converters from 1971 to 1981 was the result of the oil crisis in 1973, and these crises were a prelude to the beginning of investment in this field [8]. Moreover, environmental scientists in developing countries have conducted several kinds of research and experimental activities to optimize wave energy utilization systems. At the end of 1973, the oil crisis caused some strategic activities in the field of sustainability and increased interest in these converters to an advanced level [9]. In 1974, Stephen Salter introduced these converters to renewable energy researchers; today, this incident is a turning point in this field [10].
Among the new wave energy converter types introduced, the most well-known one is Searaser. This model was invented by Alvin Smith [11]. When a wave is created on the surface of ocean water and passes, the wave’s potential energy is converted into kinetic energy by the float in the form of linear motion. As the buoy moves down, the ocean water is compressed in a chamber, and after the energy conversion takes place, the water exits through the outlet valve. After passing one cycle, the float is moved up by the impact of the next wave, and the inlet valve is opened. The generator converts the mechanical energy resulting from this linear movement into electrical energy [12].
Although ocean waves are safe, reliable, and clean energy sources, they have unpredictable parameters due to their usage [13]. The uncertainty can threaten the reliability and stability of ocean energy systems, particularly in large-scale integration [14]. Hence, it is essential to forecast ocean wave energy to save construction costs and pilot projects during electrical power generation [14]. As known, wave energy is not only more abundant in nature than wind and solar energy but also easier to forecast [15]. Accurately predicting ocean waves’ power with random data is challenging in this field [16]. Often, renewable energy resources are uncertain and unpredictable. It can limit resource contribution to hybrid energy production [17]. Therefore, it is essential to develop electrical energy storage technology to the extent that it is available when needed to meet demand. Storage of electric methods manages the amount of power when the need is more significant during peak consumption to meet customers’ needs [18]. They can maintain functional microgrids by storage and balancing generation [19]. Storage devices can regulate control frequency and voltage settings to maintain a balance between storage power and the grid. Various methods are available to store excess energy and release it when high demand and production rates are low [20]. Some of the different forms of energy that can be stored are electrochemical, mechanical, and thermal [21]. Mousavi et al. [12] predicted the output power of a wave energy converter using a novel deep learning method which was significant for alleviating the investment risk for industries. Although ocean wave energy has high and valuable potential, the high cost of investing in it has made researchers use new investigation, including combining it with other renewable energy sources. Dehghan et al. [22] use a novel concept of a hybrid wind-wave energy converter, where the Searaser is considered for the WEC sub-system, hybrids with a novel vortex bladeless Turbin. Hydrogen is a significant energy source that has a vital role in the future for energy storage and generation. The production and storage of hydrogen from ocean waves will significantly contribute to the wave energy converter industry and make it reliable and economical. This study investigates the possibility of hydrogen production and output power from ocean waves. LSTM and MLP methods are applied for predicting outpower and hydrogen estimation,
Multiple methods are involved in Hydrogen production from different sources stored as a gas, liquid or solid [23]. It needs high-pressure tanks when hydrogen is stored as a gas. In contrast, liquid hydrogen needs cryogenic temperatures because the hydrogen boiling point at a pressure of one atmosphere is −252.8 degrees Celsius [24]. Moreover, hydrogen is stored inside solids or the surfaces of the solid [25]. The energy stored in hydrogen is used with a fuel cell. The ideal requirements will be quick access to the stored energy and the ability to provide it in various forms of energy. In this research, hydrogen is considered a storage medium. Generating energy from waves is a developing and relatively new technology. Consequently, generating cost of electricity from ocean waves is higher than mainstream solar and wind energy flows [26]. Water electrolysis can be used to produce hydrogen, and a working model for producing hydrogen from ocean waves is shown in Figure 1.
As presented in Figure 1, the wave energy converter transforms the wave motion into electrical power by a generator. It schematically describes how oxygen and hydrogen gases are produced from the generated power of the WEC. So, the generated power of the WEC is divided into two main supply lines. The first line is used for transforming the generated power to the electricity grid (network) and the other line is for producing the hydrogen. The former produces hydrogen with a special electrolyzer, and its high proportion is transferred to the network by the latter [27]. Researchers have been looking for methods to optimize time-consuming and expensive calculations for solving equations with complex boundary conditions and replacing them with methods with short, accurate calculation time and the lowest cost. One of the methods that researchers and engineers have recently succeeded in is predicting the behavior of phenomena in nature using artificial intelligence [28]. One of its applications is predicting the output power of converters, the most important of which is predicting the output power of wave energy converters using effective variables and parameters [29]. Wu et al. studied the simulation of ocean waves and provided a predictive model using genetic algorithm methods, one of the fields of artificial intelligence. Their main goal was to study the parameters affecting the power. They studied these parameters in different wave heights, wave periods, and water depths and concluded that conversion optimization helps solve technical problems in this field [30]. Papini et al. studied the input variables of production capacity by wave energy converter systems. By designing an artificial neural network, they could make accurate predictions about the purpose of their study. Through the designed algorithm, they established a relationship between wave height and electricity production, and by analyzing the errors, they expressed a relationship between energy absorption efficiency and other parameters [31]. Forbush and colleagues in machine learning methods used the latest and most up-to-date methods to introduce new software to achieve the article’s goal of predicting the output using data combination [32].
Cheng et al. used the long-short-term memory method to predict electricity production. A comparison between three different artificial intelligence methods concluded that the long-short-term memory method is more optimal in error values by 7% [33]. Lin et al. studied the power prediction of systems with long-short-term memory error and optimized results. They concluded that long-short-term memory algorithm output results are more accurate than other methods [34]. Moreover, Nickel et al. used machine learning methods to predict the wave energy converter power. They supposed that high-frequency waves could affect modeling efficiency [35]. Furthermore, Mousavi et al. [12] utilized the LSTM algorithm to predict the generated power of Searaser. He and his research team introduced an equation for the generated power of wave energy converter by implementing an artificial intelligence algorithm on generated data with simulation software. In the former studies, the most important issue was to find the best artificial intelligence algorithm in a case to predict the most critical parameters in this system. In this paper, Searaser is simulated with the help of FLOW-3D software and using experimental data as an input. Then, these generated data from the output of the simulation were used in two deep learning algorithms. The comparison analysis was done, and the most accurate algorithm was introduced. As a novelty, one of the crucial aims of this paper is to analyze the possibility of hydrogen production from ocean waves, contributing to the industry’s economic conditions.

2. Materials and Methods

2.1. Computational Fluid Dynamics

Computational fluid dynamics is a computational method for fast and accurate prediction of studied fluid properties, which can model different fluid states such as free surface, single-phase and multi-phase flow, as well as fluid–solid interactions [36]. Computational fluid dynamics is a method of numerical modeling of the governing equation, which is used to analyze fluid flow. The main equations of this method are Navier–Stokes equations. These equations are able to solve the desired fluid flow equations according to the defined assumptions. These equations are related to the studying of the fluid behavior in a wide range of states [37].

2.2. WEC Geometry

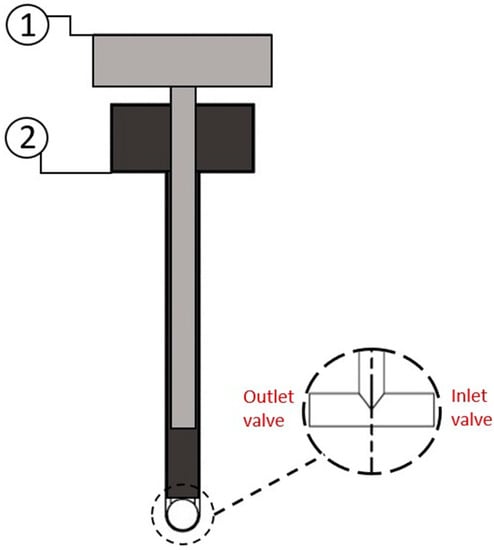
The industry of generating electricity from the wave converter is progressing. The function of these converters is to send the ocean waves’ water to a special tank with a water pump and then return them to the turbine in order to generate electricity [38]. The performance of a specific type of Searaser has been evaluated in this paper. The geometry of the wave converter can be seen in Figure 2. Part 1 is the buoy, which floats on the ocean water. The buoyant force on the buoy is directed upwards. For its motion in the opposite direction (downward), the force of gravity dominates the other forces across the wave’s motion [39]. It makes the buoy have a linear motion in a chamber.
According to Figure 2, which is adapted from [12], the converter has an inlet and outlet gages for the water flow to enter and exit during the buoy’s movement.

Different Components of the Wave Converter

The 5 main parts of a searaser are explained in Figure 3.
The radius of the buoy is 2.6 m, and its height is 1.5 m. The end of the buoy is placed in the pump channel at a depth of 10 m. The radius of the buoy is equal to the radius of the pump to prevent water leakage from the edges of the chamber [40]. The net weight of the float is about 9000 kg. Special composite materials are usually used for the construction of the float to prevent the corrosion process in contact with water, and because of the lightness of the composites, the float must be filled with sand, water, and heavy materials to reach the ideal weight. In addition, this part must be designed to be able to move only in the direction perpendicular to the surface of the water, since the cylindrical housing restricts movement in other directions for the float [41].
Special valves are installed in the fluid inlet and outlet gages, which are placed in the lower part of the chamber, to avoid the flow in the opposite direction towards the valve. When the float moves up due to the ocean surface wave, the ocean water inlet valve is opened, and the chamber is filled with water. In the next half cycle, after the wave passes through the floating wave converter, it moves downwards, and when the valve opens and the water exits, the water goes out of the chamber. At this time, an energy conversion period takes place, and the generator is prepared for the next cycle. Figure 4 shows one of the gages and its valve [42]. The most important part of the energy conversion in the wave generator is the generator, which converts the floating mechanical energy into electrical energy. Using Faraday’s law of electromagnetic induction, the linear movement of the magnet connected to the float in the fixed coil of the chamber produces electric power [43]. The anchor is fixed to the ocean floor by an anchor system. The stability of the chamber is very important because by keeping the connected coil fixed, it causes the relative movement of the coil and the magnet, and this leads to maximum power generation [43].

2.3. Boundary Conditions and Network Generation

In the FLOW-3D software, the fluid and solid properties should be introduced in order to carry out fluid and structure interaction analysis. The solid is stainless steel and the fluid is 25 °C ocean water with a density of 1023.6 kg/m3 [12]. Moreover, the boundary conditions are given in Figure 4.
As shown in Figure 4, each facet of the control volume represents the special boundary condition of that part. Each facet is labeled with special signs. VW represents the fluid entering the control volume with a linear wave, S represents the symmetry condition, W is the sliding boundary condition, and O represents the one-way exit of the fluid from the control volume. The assumption of one-way output means that the fluid does not enter the control volume from this area, and in other words, we do not have a return flow. Moreover, gridding was performed on three rectangular cubes, the size of the grid is different in each of them. The size of the grids is determined based on the sensitivity of the areas on which the analysis is to be performed, in such a way that the outermost cube is the least sensitive in terms of calculation accuracy due to its distance from the wave converter and its less effectiveness. A larger grid is used in this area. On the other hand, the mesh size in the innermost rectangular cube is much smaller than the other two rectangular cubes due to the presence of fluid and structure. The advantage of the difference in the size of the network is that the calculation time and calculation costs are saved to a great extent.
Moreover, the boundary conditions in three gridded rectangular cubes are the same, and as mentioned, the only difference is in the size of their grid. To put it more clearly, there is no difference in the inlet, outlet, and wall boundary conditions. The height of the innermost rectangular cube is 8 m, of which 6 m is the ocean water fluid and 2 m is the wind flow on the free surface of the ocean. The fluid enters the control volume as a sine wave (Figure 5). In order to simplify the wave motion of the fluid entering the control volume, a sine wave was used and it is introduced in Equation (1) [12].
W = A sin ( ω t + ϕ )
where A is the amplitude of the wave whose number was taken from He’s study [32]. In this thesis, it has been assumed that the angular velocity ω and wave phase ϕ are constant.
One of the most important points in solving the governing equations using the computational fluid dynamics method is the production of the grid and its independence. In this paper, the meshing of the inner cube is very important because the fluid and solid move simultaneously. In order to find the best grid size, it is necessary to repeat the solving with different grid sizes.

2.4. Grid Independency

The best results in terms of minimum calculation time and maximum accuracy have been obtained with the size of 5,000,000 grids. According to the analysis, this number is better than 7,000,000 networks. This claim is based on the fact that the difference in their accuracy is small and can be ignored to have a faster simulation. In order to calculate the accuracy in choosing the size of the grid, the buoy displacements are considered in the entire simulation time when the height of the incoming wave is 1 m.
The values are given in 10 s of simulation. At this time, the output result of the simulation is close to the result of the fomer simulation [43]. Moreover, the absolute error of the recent simulation, reported 9% when 5,000,000 total networks were selected. The total simulation time is 500 s, which is from 4999 to 5499 s as this range is used in an experimental study [44]. He also used a 1 s interval for this study and simulated the Searaser at this range.

2.5. Assumptions

In this thesis, it is assumed that gravity is in the reverse z direction. In addition, the incompressible and single-phase fluid with a constant viscosity value has been used because the investigation of compressibility is not important in this study. Moreover, due to the objectives of this paper, temperature effects have been neglected.

Governing Equations of Fluid

The wave motion of the fluid, just like the other types of fluid motion, must satisfy the basic equations of fluid motion, including the equation of continuity and the equation of motion of fluid motion. The law of conservation of mass must follow every movement of the body, due to this importance, conservation of mass can be a continuous fluid equation. The continuity equation is expressed as Equation (2) [43].
( u x A x ) x + ( u y A y ) y + ( u z A z ) z = 0
where ux, uy, uz are fluid velocities in x, y, and z directions.
The second group of governing equations is the conservation of momentum, which is based on Newton’s second law and shows that the momentum change in the control volume is caused by the forces that affect the target volume. Gravitational force g is the only active force of the body [12]. The generated power and hydrogen are calculated from Equations (3) and (4).
P = 1 64 π ρ g 2 H s 2 T
η e l = M H 2 H H V H 2 E W
where ηel is the efficiency, MH2 is the amount of hydrogen produced, HHV is the hydrogen higher heating value (39.4 KWh/kg), and EW is the wave energy for an electrolyzer.

3. Results

Consumption of electricity is different according to the season and time of day. The wind is essential for modeling a power plant consisting of several wave generators. In this section, the effect of wind on the height of waves formed on the ocean’s surface is analyzed using data collected from the sensors of an experimental experiment because the input of the proposed model can represent the natural conditions of the sea. The purpose of this study is to predict the amount of productive power generated with wave energy extracted from the sea, which was investigated in two different situations: when hydrogen production takes place and when hydrogen production does not. Since this study’s experimental test and results are considered the simulation input, the proposed model of extracting electric power from the wave can calculate and predict hydrogen production. In this paper, an attempt has been made to investigate the wave generator’s release modes that are effective in power generation. One of these variables is the speed of the wind blowing on the ocean surface, which leads to the creation of waves. As stated in the problem-solving method section, an experimental test was used for input data to the FLOW-3D simulation software. Figure 5 expresses the wind speed in the test samples and Figure 6 shows the wave height in the samples.
As can be seen in Figure 5, a time frame of the entire test time has been examined. During the test, the wind speed includes positive and negative values. Positive values represent the speed of wind blowing in the positive direction and the same direction as the coordinates, and the negative sign represents the wind blowing in the opposite direction of the coordinates. The maximum wind speed is about 3.7 m/s and its minimum is about −3 m/s. Figure 6 represents the wave height at any time as measured by the sensors. It should be noted that in Figure 5 and Figure 6, pre-processed data is used. Indeed, data extracted from sensors are raw data; therefore, by implementing data cleaning, data integration, data reduction, and data transformation, they convert to clean data for analyzing more.
As can be seen in Figure 6, at different times the wave height values include positive and negative values. Wave height is measured on the z-axis. For this purpose, positive data is when the wave height is increasing towards the positive side of the x-axis. Negative heights only belong to the wind blowing in the opposite direction of the intended axis on the surface of the oceans and do not mean a deep sinking of the wave in the ocean water. This special concept is defined according to this thesis’s conditions and objectives that the wave’s height has caused power generation in wave generators. Moreover, to find the effect of wind speed on the surface of the oceans and the generated waves, it is necessary to have a template as Figure 7.
As can be inferred from Figure 7, the values are displayed as point and scattered data, and in future studies, by having the wind speed on the ocean surface and interpolating between the points in certain conditions, it will be possible to test the amount of height He realized the wave.

3.1. Results of Data Optimization with Preprocessing

The available data include wave height, wind speed, and the electricity generation capacity of the Searaser. The desired environmental conditions are available at the test site. The produced power in each series of experiments was calculated by the numerical then the predicted power is estimated by two long-short-term memory algorithms and multilayer perceptrons. The comparison graphs of the estimated power are drawn by these two methods of artificial intelligence as well as the numerical simulations. As can be seen in Figure 8, due to the existence of discontinuity and the lack of data sets, the data received from the sensors in the test site must be converted into continuous and so-called clean data under pre-processing algorithms. In this research, we recover the lost data with linear interpolation and replace the blank values with the produced ones. Figure 8 shows the comparison of the forecast produced power in terms of wave height in two cases, where the data has been pre-processed and not. This part may be divided into subheadings. It concisely describes the experimental results, their interpretation, and the experimental conclusions.
As it is mentioned in Figure 8, the prediction when pre-processing has been done on the data is more accurate than when the data includes outliers and missing data (raw data). It is proof of the importance of data pre-processing before entering the algorithm. Data preprocessing in this paper includes replacing empty values with values obtained from interpolation and removing outliers. Moreover, the box plot method is used to eliminate outlier data. Figure 9 represents a box plot for two variables of wind speed and wave height.
In Figure 9, the highest wind speed values are between 2.67 and −2.56. Although there are some data with very low frequency outside of this range, it is necessary to have more accurate modeling than this by removing outliers. Moreover, for the wave height values, the range of data was between 1.03 and −1.05, which also includes outlier data that should be removed before entering the modeling.

3.2. Comparative Analysis of Numerical Solution and Prediction of Values by Artificial Intelligence Algorithms

Among the common methods for optimizing used in the interdisciplinary research of fluid mechanics engineering and artificial intelligence is a comparative analysis between two approaches of numerical solution of problem equations by commercial software and artificial intelligence algorithms. The simulation results were used to train and test the algorithms. The comparative analysis performed between the two approaches is shown in Figure 10.
As it is inferred from Figure 10, the amount of produced power in each test sample, the multilayer perceptron method has a higher accuracy than the long-short-term memory method. The average absolute error in prediction with the multilayer perceptron method is about 0.08% and in the long-short-term memory method is about 1.53%. So, we conclude that by using the multilayer perceptron method, the average error of predicting the output power of the converter can be reduced by 0.73%. Now, to further examine, we compare the output with the input data resulting from the simulation. Figure 11 presents the produced power of the converter in terms of the wave height in the test samples with two approaches.
As shown in Figure 11, the simulation of the Searaser is compared with two methods of long-short-term memory and multilayer perceptron, and the best function has been passed through the obtained points. The best lines have the least amount of error from the corresponding points. As it can be seen correctly, the absolute error percentage in the multilayer perceptron method is 0.73% lower than in the long-short-term memory method. To have a numerical simulation, the simulations in terms of accuracy and speed take about 4 days and 1 h in the best case, but the prediction of the results with artificial intelligence algorithms takes less time. By obtaining the mathematical equations from the curve-fitting graphs, it is possible to provide a relationship that replaces the numerical solution of a similar case, which speeds up the analysis of these devices that are simulated at the original scale of its invention. Another positive point of this thesis is the 1:1 scale and the closeness of the simulation results to reality, which allows researchers and investors to easily achieve the desired results by having information about the installation location of these devices. In addition, the data are curve fitted and two mathematical relationships to attribute the power output by the Searaser and the height of the wave are presented. One of them is the relationship provided by Babajani, and the other is the relationship provided by artificial intelligence predictions.

3.3. Evaluation of Simulation and Validation of Results

As with other research conducted around the world, in order to validate the results of numerical modeling in the form of simulation by commercial software, it is necessary to compare with other research and articles in similar fields. In order to evaluate the results of this paper, Babajani’s article has been used. Figure 12 presents the generated power of the wave generator according to the wave height, which has been validated with Babajani’s study.
As can be seen in Figure 12, in order to achieve the maximum produced power (0.16 kW), the wave must hit the wave generator with a higher height (1.2 m). In this study, by using a large number of tests and using input in the form of a table as the initial conditions of modeling, instead of using a limited number of inputs. It can be concluded that the percentage of absolute error is about 0.025% and the simulation is performed with high accuracy.

3.4. Hydrogen Production from Waves

One of the main applications of using wave generators in the oceans is the production of hydrogen in addition to electrical energy production. The graph of the amount of hydrogen production based on each test sample is shown in Figure 13. Figure 13 shows a graph of the amount of hydrogen produced by each test sample, which is very similar to the power distribution of the samples. This is because it goes to a certain scale by multiplying fixed values in power produced by the converter. As can be seen in the figure, the maximum amount of hydrogen production is about 0.6 kg/h.
By comparison between Figure 10 and Figure 13, it is obvious that the highest amount of produced hydrogen is completely related to the highest amount of the generated electrical power.

4. Discussion

The reliability of the proposed renewable energy converter can be further discussed as a sustainable smart grid application [45]. The smart grid has gained significant attention. The integration of sustainable resources in the smart grid is of particular importance [46]. This is mostly due to an effort to mitigate energy saving, clean energy, and climate change, as well as pressure by the governments to promote sustainable development and zero carbon emission [47,48,49,50]. The integration of renewable energy resources in the smart grid supports sustainable development [44,51]. The techniques for effective energy management in smart grids are regarded to be a huge challenge above and beyond the full integration of renewable energy resources, and a current issue with domestic energy demand is predicted to worsen by another 24% in the next decades [52]. The major position played by wind energy in the current and future generations will only continue to grow. Increasing cost efficiency is essential for establishing total competitiveness [53,54,55]. The decrease in operation and maintenance costs is a crucial issue in this regard in addition to sustainable economies of scale brought on by larger wind turbine designs and manufacturing advancements [56,57,58,59,60]. For both mechanical and electrical components, sophisticated early defect diagnosis techniques could be a key factor in lowering failure costs and maintenance expenses [61]. Combining and balancing the big data-based intelligent energy trading system and the IoT-based integrated energy platform for the sustainable smart city [62,63,64,65,66]. In particular, a bottom-up strategy at the smart house level and smart city level can take into consideration both consumer behavior and energy, and should be employed in a sustainable smart city to reflect the varied and segmented characteristics of customers as well as buildings [67,68,69,70]. The performance of technical analysis in Europe incorporating huge amounts of intermittent renewable energy is technically possible [70] according to Roadmap 2050, but extra backup generation capacity and transmission capacity must be greatly increased [71]. Future challenges and problems will result from the real-time integration of big data analytics in a smart grid together with effective protocols. A sustainable future is hampered by several factors, including scalability, achieving an effective and efficient approach, data protection, trustworthy algorithm performance under unfavorable circumstances, and operator expertise in artificial intelligence tools [72,73]. There are still several important scientific challenges to solve in order to get over these limitations and meet the demands of the upcoming smart grid [74]. The energy sector produces a lot of data (e.g., energy consumption and supply, solar, geothermal, wind, hydro, system parameters, security cameras, energy prices, energy indicators, energy quantities, and so on [75]. The evolutionary game theory approach is primarily employed for two areas of sustainable energy development, namely the forecast of energy policy and the technological search and validation of the best solution [76]. The research investigates the long-run link between energy intensity, technological innovation, and emissions using time series data which are of significant importance [77].
Numerous case studies have been used to highlight the significance of smart water grids in creating sustainable smart cities with the goals of using water more effectively, giving end users real-time data, and detecting leaks and contamination, e.g., [78,79,80,81,82,83]. The fluid is assumed to be inviscid, irrotational, and incompressible in the linear potential flow theory, which forms the basis of the hydrodynamic model of the wave energy converter under consideration [78]. The boundary element code is used to obtain frequency-dependent factors, such as additional mass, wave excitation, and radiation damping using WAMIT software [79]. The wave energy converter setup and typical wave conditions determine how much power a wave farm can produce. In order to maximize power absorption, it is crucial to place WECs in an array in the proper way. A neural model is created using the test site data to forecast the power output produced by the wave farm [80]. Water is a resource that is just as important for the sustainable growth of contemporary society as energy is. Since some de-salination systems, such as electrodialysis and reverse osmosis, just need an electrical power source, WECs can be used to produce energy for freshwater production, like the CETO, as well as to feed desalination plants [81]. Several socioeconomic issues prevalent in tropical nations can be helped by wave energy. To lower prices and improve their efficiency from the perspective of social demands, wave energy converters must be placed adjacent to areas with high energy demand [82]. The development of wave energy conversion technology is necessary for sustainable development in the renewable energy sector. Although linear generators are better suited for producing direct drive power, the generated power is minimal due to the stator and translator’s slow relative motion. Rotating generators, on the other hand, can be used, although this complicates the system overall and necessitates the use of various auxiliary devices [83]. We introduce various kinds of piezoelectric device-based wave energy harvesting devices and their configurations. In order to successfully generate electrical energy from the ocean, the direct-drive wave energy converters, the energy capture sub-system, and the hydraulic system equipment used in a hydraulic system must work together [84].
This article presents the release modes of the wave generator that are useful for producing electricity. One of these factors is how quickly the wind blows on the ocean’s surface, which causes waves to form. The FLOW-3D simulation program was used to input data from an experimental test, as was mentioned in the section on the problem-solving methodology. The accuracy of the simulation findings, which enables researchers and investors to easily attain the required results by knowing the installation location of these devices, is another benefit of this concept. The creation of hydrogen in addition to electrical energy production is one of the principal uses of wave generators in the oceans [85]. The Navier-Stokes equations were used to examine the topic of how wave generators interact with ocean waves. This subject involves the interaction of fluid and structure. The commercial program utilized in this thesis is called FLOW-3D, and it uses the same simulation techniques as other programs for fluid simulation. A reliable forecasting tool for energy and hydrogen production would speed up the development of energy management technologies and increase investment in ocean-based renewable energy sources [86]. The limitations of this study pave the door for subsequent research. As a result, this research can be strengthened by looking at additional factors that affect ocean waves’ output power, such as temperature and climatic variations. Additionally, findings can be improved with greater accuracy by utilizing cutting-edge techniques and creating and enhancing WEC systems [87]. The long-short-term memory algorithm and the multilayer perceptron method were utilized in this study, and the input data was split into training and testing portions in order to facilitate algorithm learning. The performance accuracy of the multilayer perceptron algorithm is higher than the long-short-term memory algorithm, it was discovered by contrasting the algorithms against one another. An accurate model was then produced using the regression method by comparing the simulation results with the prediction values based on artificial intelligence [88]. The outcomes demonstrate how accurately the predictions were made. Additionally, among the other benefits of presenting a model based on artificial intelligence, it should be noted that while the training and predictions based on artificial intelligence only take a few minutes, the calculations and numerical solution of the equations governing the problem require a significant investment in time and money. In cases of regulating system studies, notably, oscillating water columns are based on linear water wave theories, hydrodynamic coefficients, and theoretical hydro-dynamic models. In some instances, CFD techniques based on the equations from the Reynolds-averaged Navier–Stokes geometries are used exclusively with normal waves and a two-dimensional geometer [89]. In the proposed work LSTM method’s output data were used to do a numerical analysis using simulation software, and the results were compared. However, the MLP method, as studied in, e.g., [90], ensures the accuracy of the proposed model which is critical to compare its performance to the existing model. From the works studied, MLP produces better results than linear approaches. The MLP approaches with striking performance gains.

5. Conclusions

In this thesis, it has been tried to use the results of an experimental test as an input for simulation to investigate a more realistic model of a specific type of wave generator and in addition to estimating the production power and important variables. The problem was investigated by the amount of hydrogen produced. The problem of interaction of wave generators with ocean waves is a problem of structure and fluid interaction, which was investigated by solving the Navier–Stokes equations. The commercial software used in this thesis is FLOW-3D software, whose simulation steps are the same as other fluid simulation software. After gridding the fluid and the structure, grid independence studies were carried out. Different reviews were presented on the size of the grid that if it is necessary to perform numerical solution calculations in the least amount of time and computational costs, the optimal mode of choosing the size of the whole grid is 5 million. In this type of grid size, the floating displacement size in the axis perpendicular to the wave surface (z-coordinates) has only a 9% error, which is more acceptable compared to 7 million grids with a 7% error. The condition of the wave entering the control volume is that the height of the incoming wave is variable. This condition causes the calculation time by the software to increase to a great extent compared to when the amplitude of the wave is constant. After numerically solving the Navier–Stokes equations with the help of software and simulating the interaction of the structure and the fluid, as well as the necessary calculations to find the amount of hydrogen produced, the results were used as input to neural network algorithms. The algorithms used in this paper were the long-short-term memory algorithm and the multilayer perceptron algorithm, and the input data were divided into two parts, training and testing, to learn the algorithms. Then, by comparing the algorithms with each other, it was found that the performance accuracy of the multilayer perceptron algorithm is higher than the long-short-term memory algorithm. Then, by comparing the simulation results with the prediction values based on artificial intelligence, an accurate model was presented with the regression method. The results prove that the predictions were made with high accuracy. In addition to that, among the other advantages of presenting a model based on artificial intelligence, it can be pointed out that the calculations and numerical solution of the equations governing the problem have a high computational time and cost, but the training and predictions based on artificial intelligence are only to the extent of a few It was minutes. Paying attention to the ability of prediction methods based on artificial intelligence and by fitting the curves of the graphs, a relationship was presented between the wind speed and the output power of the wave generator. The obtained results and the comparison between the studied methods show that the long-short-term memory network can be obtained in order to predict the power in terms of height with more accuracy and speed than the numerical solution, and the graphs are in good agreement with the similar result. has a construction The comparisons show that the prediction method based on artificial intelligence is more accurate and the average value of the squared error of the parameters was 0.49. By examining the correlation matrix, it can be concluded that the forecasts have high accuracy in wind speed and productive power. This paper can be an accurate model for predicting the amount of power and hydrogen production in different regions, which will cause rapid progress in energy management and more investment in ocean renewable energy systems. This study has limitations that open the way for future studies. Consequently, this study can be improved by analyzing more parameters affecting ocean waves’ output power, such as temperature, climate changes, etc. Moreover, more accurate results can be achieved using state-of-the-art methods and developing and upgrading WEC systems.

Author Contributions

F.M., R.R. and M.S. conceptualization; F.M., E.S. and M.S. simulation; F.M., E.S. and M.S. methodology; F.M. and R.R. software; M.S. supervision; R.R. writing and review; F.M., M.S. and R.R. administration. All authors have read and agreed to the published version of the manuscript.

Funding

This research received no external funding.

Institutional Review Board Statement

Not applicable.

Informed Consent Statement

Not applicable.

Data Availability Statement

Not applicable.

Acknowledgments

Not applicable.

Conflicts of Interest

The authors declare that they have no known competing financial interests or personal relationships that could have appeared to influence the work reported in this paper.

References

  1. Kalbasi, R.; Jahangiri, M.; Mosavi, A.; Dehshiri, S.J.H.; Ebrahimi, S.; Etezadi, Z.A.-S.; Karimipour, A. Finding the best station in Belgium to use residential-scale solar heating, One-year dynamic simulation with considering all system losses: Economic analysis of using ETSW. Sustain. Energy Technol. Assess. 2021, 45, 101097. [Google Scholar] [CrossRef]
  2. Megura, M.; Gunderson, R. Better poison is the cure? Critically examining fossil fuel companies, climate change framing, and corporate sustainability reports. Energy Res. Soc. Sci. 2021, 85, 102388. [Google Scholar] [CrossRef]
  3. Holechek, J.L.; Geli, H.M.E.; Sawalhah, M.N.; Valdez, R. A Global Assessment: Can Renewable Energy Replace Fossil Fuels by 2050? Sustainability 2022, 14, 4792. [Google Scholar] [CrossRef]
  4. Ahmad, M.; Kumar, A.; Ranjan, R. Recent Developments of Tidal Energy as Renewable Energy: An Overview. River Coast. Eng. 2022, 11, 329–343. [Google Scholar] [CrossRef]
  5. Amini, E.; Mehdipour, H.; Faraggiana, E.; Golbaz, D.; Mozaffari, S.; Bracco, G.; Neshat, M. Optimization of hydraulic power take-off system settings for point absorber wave energy converter. Renew. Energy 2022, 194, 938–954. [Google Scholar] [CrossRef]
  6. Claywell, R.; Nadai, L.; Felde, I.; Ardabili, S.; Mosavi, A. Adaptive Neuro-Fuzzy Inference System and a Multilayer Perceptron Model Trained with Grey Wolf Optimizer for Predicting Solar Diffuse Fraction. Entropy 2020, 22, 1192. [Google Scholar] [CrossRef] [PubMed]
  7. McLeod, I.; Ringwood, J.V. Powering data buoys using wave energy: A review of possibilities. J. Ocean Eng. Mar. Energy 2022, 8, 417–432. [Google Scholar] [CrossRef]
  8. Olsson, G. Water Interactions: A Systemic View: Why We Need to Comprehend the Water-Climate-Energy-Food-Economics-Lifestyle Connections; IWA Publishing: London, UK, 2022. [Google Scholar]
  9. Malkowska, A.; Malkowski, A. Green Energy in the Political Debate. In Green Energy; Springer: Cham, Switzerland, 2023; pp. 17–39. [Google Scholar]
  10. Mayon, R.; Ning, D.; Ding, B.; Sergiienko, N.Y. Wave energy converter systems–status and perspectives. In Modelling and Optimisation of Wave Energy Converters; CRC Press: Boca Raton, FL, USA, 2022; pp. 3–58. [Google Scholar]
  11. Available online: https://www.offshore-energy.biz/uk-ecotricity-introduces-wave-power-device-searaser/ (accessed on 27 September 2022).
  12. Mousavi, S.M.; Ghasemi, M.; Dehghan Manshadi, M.; Mosavi, A. Deep Learning for Wave Energy Converter Modeling Using Long Short-Term Memory. Mathematics 2021, 9, 871. [Google Scholar] [CrossRef]
  13. Mega, V. The Energy Race to Decarbonisation. In Human Sustainable Cities; Springer: Cham, Switzerland, 2022; pp. 105–141. [Google Scholar]
  14. Li, R.; Tang, B.-J.; Yu, B.; Liao, H.; Zhang, C.; Wei, Y.-M. Cost-optimal operation strategy for integrating large scale of renewable energy in China’s power system: From a multi-regional perspective. Appl. Energy 2022, 325, 119780. [Google Scholar] [CrossRef]
  15. Ardabili, S.; Abdolalizadeh, L.; Mako, C.; Torok, B. Systematic Review of Deep Learning and Machine Learning for Building Energy. Front. Energy Res. 2022, 10, 77–98. [Google Scholar] [CrossRef]
  16. Penalba, M.; Aizpurua, J.I.; Martinez-Perurena, A.; Iglesias, G. A data-driven long-term metocean data forecasting approach for the design of marine renewable energy systems. Renew. Sustain. Energy Rev. 2022, 167, 112751. [Google Scholar] [CrossRef]
  17. Torabi, M.; Hashemi, S.; Saybani, M.R.; Shamshirband, S.; Mosavi, A. A Hybrid clustering and classification technique for forecasting short-term energy consumption. Environ. Prog. Sustain. Energy 2018, 38, 66–76. [Google Scholar] [CrossRef]
  18. Rivera, F.P.; Zalamea, J.; Espinoza, J.L.; Gonzalez, L.G. Sustainable use of spilled turbinable energy in Ecuador: Three different energy storage systems. Renew. Sustain. Energy Rev. 2021, 156, 112005. [Google Scholar] [CrossRef]
  19. Raza, S.A.; Jiang, J. Mathematical Foundations for Balancing Single-Phase Residential Microgrids Connected to a Three-Phase Distribution System. IEEE Access 2022, 10, 5292–5303. [Google Scholar] [CrossRef]
  20. Takach, M.; Sarajlić, M.; Peters, D.; Kroener, M.; Schuldt, F.; von Maydell, K. Review of Hydrogen Production Techniques from Water Using Renewable Energy Sources and Its Storage in Salt Caverns. Energies 2022, 15, 1415. [Google Scholar] [CrossRef]
  21. Lv, Z.; Li, W.; Wei, J.; Ho, F.; Cao, J.; Chen, X. Autonomous Chemistry Enabling Environment-Adaptive Electrochemical Energy Storage Devices. CCS Chem. 2022, 7, 1–19. [Google Scholar] [CrossRef]
  22. Manshadi, M.D.; Mousavi, M.; Soltani, M.; Mosavi, A.; Kovacs, L. Deep Learning for Modeling an Offshore Hybrid Wind–Wave Energy System. Energies 2022, 15, 9484. [Google Scholar] [CrossRef]
  23. Ishaq, H.; Dincer, I.; Crawford, C. A review on hydrogen production and utilization: Challenges and opportunities. Int. J. Hydrogen Energy 2022, 47, 26238–26264. [Google Scholar] [CrossRef]
  24. Maguire, J.F.; Woodcock, L.V. On the Thermodynamics of Aluminum Cladding Oxidation: Water as the Catalyst for Spontaneous Combustion. J. Fail. Anal. Prev. 2022, 22, 1771–1775. [Google Scholar] [CrossRef]
  25. Mohammadi, M.-R.; Hadavimoghaddam, F.; Pourmahdi, M.; Atashrouz, S.; Munir, M.T.; Hemmati-Sarapardeh, A.; Mosavi, A.H.; Mohaddespour, A. Modeling hydrogen solubility in hydrocarbons using extreme gradient boosting and equations of state. Sci. Rep. 2021, 11, 1–20. [Google Scholar] [CrossRef]
  26. Ma, S.; Qin, J.; Xiu, X.; Wang, S. Design and performance evaluation of an underwater hybrid system of fuel cell and battery. Energy Convers. Manag. 2022, 262, 115672. [Google Scholar] [CrossRef]
  27. Ahamed, R.; McKee, K.; Howard, I. A Review of the Linear Generator Type of Wave Energy Converters’ Power Take-Off Systems. Sustainability 2022, 14, 9936. [Google Scholar] [CrossRef]
  28. Nejad, H.D.; Nazari, M.; Nazari, M.; Mardan, M.M.S. Fuzzy State-Dependent Riccati Equation (FSDRE) Control of the Reverse Osmosis Desalination System With Photovoltaic Power Supply. IEEE Access 2022, 10, 95585–95603. [Google Scholar] [CrossRef]
  29. Zou, S.; Zhou, X.; Khan, I.; Weaver, W.W.; Rahman, S. Optimization of the electricity generation of a wave energy converter using deep reinforcement learning. Ocean Eng. 2021, 244, 110363. [Google Scholar] [CrossRef]
  30. Wu, J.; Qin, L.; Chen, N.; Qian, C.; Zheng, S. Investigation on a spring-integrated mechanical power take-off system for wave energy conversion purpose. Energy 2022, 245, 123318. [Google Scholar] [CrossRef]
  31. Papini, G.; Piuma, F.J.D.; Faedo, N.; Ringwood, J.V.; Mattiazzo, G. Nonlinear Model Reduction by Moment-Matching for a Point Absorber Wave Energy Conversion System. J. Mar. Sci. Eng. 2022, 10, 656. [Google Scholar] [CrossRef]
  32. Forbush, D.D.; Bacelli, G.; Spencer, S.J.; Coe, R.G.; Bosma, B.; Lomonaco, P. Design and testing of a free floating dual flap wave energy converter. Energy 2021, 240, 122485. [Google Scholar] [CrossRef]
  33. Rezaei, M.A.; Nayeripour, M.; Hu, J.; Band, S.S.; Mosavi, A.; Khooban, M.-H. A New Hybrid Cascaded Switched-Capacitor Reduced Switch Multilevel Inverter for Renewable Sources and Domestic Loads. IEEE Access 2022, 10, 14157–14183. [Google Scholar] [CrossRef]
  34. Lin, Z.; Cheng, L.; Huang, G. Electricity consumption prediction based on LSTM with attention mechanism. IEEJ Trans. Electr. Electron. Eng. 2019, 15, 556–562. [Google Scholar] [CrossRef]
  35. Tavoosi, J.; Mohammadzadeh, A.; Pahlevanzadeh, B.; Kasmani, M.B.; Band, S.S.; Safdar, R.; Mosavi, A.H. A machine learning approach for active/reactive power control of grid-connected doubly-fed induction generators. Ain Shams Eng. J. 2021, 13, 101564. [Google Scholar] [CrossRef]
  36. Ghalandari, M.; Shamshirband, S.; Mosavi, A.; Chau, K.-W. Flutter speed estimation using presented differential quadrature method formulation. Eng. Appl. Comput. Fluid Mech. 2019, 13, 804–810. [Google Scholar] [CrossRef]
  37. Li, Z.; Bouscasse, B.; Ducrozet, G.; Gentaz, L.; Le Touzé, D.; Ferrant, P. Spectral wave explicit navier-stokes equations for wave-structure interactions using two-phase computational fluid dynamics solvers. Ocean. Eng. 2021, 221, 108513. [Google Scholar] [CrossRef]
  38. Zhou, Y. Ocean energy applications for coastal communities with artificial intelligencea state-of-the-art review. Energy AI 2022, 10, 100189. [Google Scholar] [CrossRef]
  39. Miskati, S.; Farin, F.M. Performance Evaluation of Wave-Carpet in Wave Energy Extraction at Different Coastal Regions: An Analytical Approach. Doctoral Dissertation, Department of Mechanical and Production Engineering, Calgary, AB, Canada, 2021. [Google Scholar]
  40. Gu, C.; Li, H. Review on Deep Learning Research and Applications in Wind and Wave Energy. Energies 2022, 15, 1510. [Google Scholar] [CrossRef]
  41. Aazami, R.; Heydari, O.; Tavoosi, J.; Shirkhani, M.; Mohammadzadeh, A.; Mosavi, A. Optimal Control of an Energy-Storage System in a Microgrid for Reducing Wind-Power Fluctuations. Sustainability 2022, 14, 6183. [Google Scholar] [CrossRef]
  42. Kabir, M.; Chowdhury, M.; Sultana, N.; Jamal, M.; Techato, K. Ocean renewable energy and its prospect for developing economies. In Renewable Energy and Sustainability; Elsevier: Amsterdam, The Netherlands, 2022; pp. 263–298. [Google Scholar]
  43. Babajani, A.; Jafari, M.; Hafezisefat, P.; Mirhosseini, M.; Rezania, A.; Rosendahl, L. Parametric study of a wave energy converter (Searaser) for Caspian Sea. Energy Procedia 2018, 147, 334–342. [Google Scholar] [CrossRef]
  44. He, J. Coherence and cross-spectral density matrix analysis of random wind and wave in deep water. Ocean Eng. 2020, 197, 106930. [Google Scholar] [CrossRef]
  45. Ijadi Maghsoodi, A. Renewable energy technology selection problem using integrated h-swara-multimoora approach. Sustainability 2018, 10, 4481. [Google Scholar] [CrossRef]
  46. Band, S.S.; Ardabili, S.; Sookhak, M.; Chronopoulos, A.T.; Elnaffar, S.; Moslehpour, M.; Csaba, M.; Torok, B.; Pai, H.-T.; Mosavi, A. When Smart Cities Get Smarter via Machine Learning: An In-Depth Literature Review. IEEE Access 2022, 10, 60985–61015. [Google Scholar] [CrossRef]
  47. Shamshirband, S.; Mosavi, A.; Rabczuk, T.; Nabipour, N.; Chau, K.-W. Prediction of significant wave height; comparison between nested grid numerical model, and machine learning models of artificial neural networks, extreme learning and support vector machines. Eng. Appl. Comput. Fluid Mech. 2020, 14, 805–817. [Google Scholar] [CrossRef]
  48. Liu, Z.; Mohammadzadeh, A.; Turabieh, H.; Mafarja, M.; Band, S.S.; Mosavi, A. A New Online Learned Interval Type-3 Fuzzy Control System for Solar Energy Management Systems. IEEE Access 2021, 9, 10498–10508. [Google Scholar] [CrossRef]
  49. Bavili, R.E.; Mohammadzadeh, A.; Tavoosi, J.; Mobayen, S.; Assawinchaichote, W.; Asad, J.H.; Mosavi, A.H. A New Active Fault Tolerant Control System: Predictive Online Fault Estimation. IEEE Access 2021, 9, 118461–118471. [Google Scholar] [CrossRef]
  50. Akbari, E.; Teimouri, A.R.; Saki, M.; Rezaei, M.A.; Hu, J.; Band, S.S.; Pai, H.-T.; Mosavi, A.H. A Fault-Tolerant Cascaded Switched-Capacitor Multilevel Inverter for Domestic Applications in Smart Grids. IEEE Access 2022, 10, 110590–110602. [Google Scholar] [CrossRef]
  51. Band, S.S.; Ardabili, S.; Mosavi, A.; Jun, C.; Khoshkam, H.; Moslehpour, M. Feasibility of soft computing techniques for estimating the long-term mean monthly wind speed. Energy Rep. 2022, 8, 638–648. [Google Scholar] [CrossRef]
  52. Dehghan Manshadi, M.; Ghassemi, M.; Mousavi, S.M.; Mosavi, A.H.; Kovacs, L. Predicting the Parameters of Vortex Bladeless Wind Turbine Using Deep Learning Method of Long Short-Term Memory. Energies 2021, 14, 4867. [Google Scholar]
  53. Ponnusamy, V.K.; Kasinathan, P.; Elavarasan, R.M.; Ramanathan, V.; Anandan, R.K.; Subramaniam, U.; Ghosh, A.; Hossain, E. A Comprehensive Review on Sustainable Aspects of Big Data Analytics for the Smart Grid. Sustainability 2021, 13, 13322. [Google Scholar] [CrossRef]
  54. Ahmad, T.; Zhang, D.; Huang, C.; Zhang, H.; Dai, N.; Song, Y.; Chen, H. Artificial intelligence in sustainable energy industry: Status Quo, challenges and opportunities. J. Clean. Prod. 2021, 289, 125834. [Google Scholar] [CrossRef]
  55. Wang, G.; Chao, Y.; Cao, Y.; Jiang, T.; Han, W.; Chen, Z. A comprehensive review of research works based on evolutionary game theory for sustainable energy development. Energy Rep. 2021, 8, 114–136. [Google Scholar] [CrossRef]
  56. Iranmehr, H.; Aazami, R.; Tavoosi, J.; Shirkhani, M.; Azizi, A.-R.; Mohammadzadeh, A.; Mosavi, A.H.; Guo, W. Modeling the Price of Emergency Power Transmission Lines in the Reserve Market Due to the Influence of Renewable Energies. Front. Energy Res. 2022, 9, 944. [Google Scholar] [CrossRef]
  57. Farmanbar, M.; Parham, K.; Arild, Ø.; Rong, C. A widespread review of smart grids towards smart cities. Energies 2019, 12, 4484. [Google Scholar] [CrossRef]
  58. Quartier, N.; Crespo, A.J.; Domínguez, J.M.; Stratigaki, V.; Troch, P. Efficient response of an onshore Oscillating Water Column Wave Energy Converter using a one-phase SPH model coupled with a multiphysics library. Appl. Ocean Res. 2021, 115, 102856. [Google Scholar] [CrossRef]
  59. Mahmoodi, K.; Nepomuceno, E.; Razminia, A. Wave excitation force forecasting using neural networks. Energy 2022, 247, 123322. [Google Scholar] [CrossRef]
  60. Wang, H.; Alattas, K.A.; Mohammadzadeh, A.; Sabzalian, M.H.; Aly, A.A.; Mosavi, A. Comprehensive review of load forecasting with emphasis on intelligent computing approaches. Energy Rep. 2022, 8, 13189–13198. [Google Scholar] [CrossRef]
  61. Clemente, D.; Rosa-Santos, P.; Taveira-Pinto, F. On the potential synergies and applications of wave energy converters: A review. Renew. Sustain. Energy Rev. 2020, 135, 110162. [Google Scholar] [CrossRef]
  62. Felix, A.; Hernández-Fontes, J.V.; Lithgow, D.; Mendoza, E.; Posada, G.; Ring, M.; Silva, R. Wave energy in tropical regions: Deployment challenges, environmental and social perspectives. J. Mar. Sci. Eng. 2019, 7, 219. [Google Scholar] [CrossRef]
  63. Farrok, O.; Ahmed, K.; Tahlil, A.D.; Farah, M.M.; Kiran, M.R.; Islam, R. Electrical Power Generation from the Oceanic Wave for Sustainable Advancement in Renewable Energy Technologies. Sustainability 2020, 12, 2178. [Google Scholar] [CrossRef]
  64. Guo, B.; Ringwood, J.V. A review of wave energy technology from a research and commercial perspective. IET Renew. Power Gener. 2021, 15, 3065–3090. [Google Scholar] [CrossRef]
  65. López-Ruiz, A.; Bergillos, R.J.; Lira-Loarca, A.; Ortega-Sánchez, M. A methodology for the long-term simulation and uncertainty analysis of the operational lifetime performance of wave energy converter arrays. Energy 2018, 153, 126–135. [Google Scholar] [CrossRef]
  66. Safarian, S.; Saryazdi, S.M.E.; Unnthorsson, R.; Richter, C. Artificial neural network integrated with thermodynamic equilibrium modeling of downdraft biomass gasification-power production plant. Energy 2020, 213, 118800. [Google Scholar] [CrossRef]
  67. Kushwah, S. An Oscillating Water Column (OWC): The Wave Energy Converter. J. Inst. Eng. India Ser. C 2021, 102, 1311–1317. [Google Scholar] [CrossRef]
  68. Pap, J.; Mako, C.; Illessy, M.; Kis, N.; Mosavi, A. Modeling Organizational Performance with Machine Learning. J. Open Innov. Technol. Mark. Complex. 2022, 8, 177. [Google Scholar] [CrossRef]
  69. Pap, J.; Mako, C.; Illessy, M.; Dedaj, Z.; Ardabili, S.; Torok, B.; Mosavi, A. Correlation Analysis of Factors Affecting Firm Performance and Employees Wellbeing: Application of Advanced Machine Learning Analysis. Algorithms 2022, 15, 300. [Google Scholar] [CrossRef]
  70. Alanazi, A.; Alanazi, M.; Memon, Z.A.; Mosavi, A. Determining Optimal Power Flow Solutions Using New Adaptive Gaussian TLBO Method. Appl. Sci. 2022, 12, 7959. [Google Scholar] [CrossRef]
  71. Shakibjoo, A.D.; Moradzadeh, M.; Din, S.U.; Mohammadzadeh, A.; Mosavi, A.H.; Vandevelde, L. Optimized Type-2 Fuzzy Frequency Control for Multi-Area Power Systems. IEEE Access 2021, 10, 6989–7002. [Google Scholar] [CrossRef]
  72. Zhang, G.; Band, S.S.; Jun, C.; Bateni, S.M.; Chuang, H.-M.; Turabieh, H.; Mafarja, M.; Mosavi, A.; Moslehpour, M. Solar radiation estimation in different climates with meteorological variables using Bayesian model averaging and new soft computing models. Energy Rep. 2021, 7, 8973–8996. [Google Scholar] [CrossRef]
  73. Cao, Y.; Raise, A.; Mohammadzadeh, A.; Rathinasamy, S.; Band, S.S.; Mosavi, A. Deep learned recurrent type-3 fuzzy system: Application for renewable energy modeling/prediction. Energy Rep. 2021, 7, 8115–8127. [Google Scholar] [CrossRef]
  74. Tavoosi, J.; Suratgar, A.; Menhaj, M.; Mosavi, A.; Mohammadzadeh, A.; Ranjbar, E. Modeling Renewable Energy Systems by a Self-Evolving Nonlinear Consequent Part Recurrent Type-2 Fuzzy System for Power Prediction. Sustainability 2021, 13, 3301. [Google Scholar] [CrossRef]
  75. Bourouis, S.; Band, S.S. Meta-Heuristic Algorithm-Tuned Neural Network for Breast Cancer Diagnosis Using Ultrasound Images. Front. Oncol. 2022, 12, 834028. [Google Scholar] [CrossRef]
  76. Mosavi, A.H.; Mohammadzadeh, A.; Rathinasamy, S.; Zhang, C.; Reuter, U.; Levente, K.; Adeli, H. Deep learning fuzzy immersion and invariance control for type-I diabetes. Comput. Biol. Med. 2022, 149, 105975. [Google Scholar] [CrossRef] [PubMed]
  77. Almutairi, K.; Algarni, S.; Alqahtani, T.; Moayedi, H.; Mosavi, A. A TLBO-Tuned Neural Processor for Predicting Heating Load in Residential Buildings. Sustainability 2022, 14, 5924. [Google Scholar] [CrossRef]
  78. Ahmad, Z.; Zhong, H.; Mosavi, A.; Sadiq, M.; Saleem, H.; Khalid, A.; Mahmood, S.; Nabipour, N. Machine Learning Modeling of Aerobic Biodegradation for Azo Dyes and Hexavalent Chromium. Mathematics 2020, 8, 913. [Google Scholar] [CrossRef]
  79. Mosavi, A.; Shokri, M.; Mansor, Z.; Qasem, S.N.; Band, S.S.; Mohammadzadeh, A. Machine Learning for Modeling the Singular Multi-Pantograph Equations. Entropy 2020, 22, 1041. [Google Scholar] [CrossRef] [PubMed]
  80. Ardabili, S.; Mosavi, A.; Dehghani, M.; Várkonyi-Kóczy, A.R. Deep Learning and Machine Learning in Hydrological Processes Climate Change and Earth Systems a Systematic Review. In Proceedings of the International Conference on Global Research and Education, Balatonfüred, Hungary, 4–7 September 2019; pp. 52–62. [Google Scholar]
  81. Moayedi, H.; Mosavi, A. Suggesting a Stochastic Fractal Search Paradigm in Combination with Artificial Neural Network for Early Prediction of Cooling Load in Residential Buildings. Energies 2021, 14, 1649. [Google Scholar] [CrossRef]
  82. Rezakazemi, M.; Mosavi, A.; Shirazian, S. ANFIS pattern for molecular membranes separation optimization. J. Mol. Liq. 2019, 274, 470–476. [Google Scholar] [CrossRef]
  83. Mosavi, A.; Faghan, Y.; Ghamisi, P.; Duan, P.; Ardabili, S.; Salwana, E.; Band, S. Comprehensive Review of Deep Reinforcement Learning Methods and Applications in Economics. Mathematics 2020, 8, 1640. [Google Scholar] [CrossRef]
  84. Samadianfard, S.; Jarhan, S.; Salwana, E.; Mosavi, A.; Shamshirband, S.; Akib, S. Support Vector Regression Integrated with Fruit Fly Optimization Algorithm for River Flow Forecasting in Lake Urmia Basin. Water 2019, 11, 1934. [Google Scholar] [CrossRef]
  85. Moayedi, H.; Mosavi, A. Double-Target Based Neural Networks in Predicting Energy Consumption in Residential Buildings. Energies 2021, 14, 1331. [Google Scholar] [CrossRef]
  86. Choubin, B.; Mosavi, A.; Alamdarloo, E.H.; Hosseini, F.S.; Shamshirband, S.; Dashtekian, K.; Ghamisi, P. Earth fissure hazard prediction using machine learning models. Environ. Res. 2019, 179, 108770. [Google Scholar] [CrossRef] [PubMed]
  87. Mohammadzadeh, S.D.; Kazemi, S.F. Prediction of compression index of fine-grained soils using a gene expression programming model. Infrastructures 2019, 4, 26. [Google Scholar] [CrossRef]
  88. Karballaeezadeh, N.; Mohammadzadeh, S.D.; Shamshirband, S.; Hajikhodaverdikhan, P. Prediction of remaining service life of pavement using an optimized support vector machine (case study of Semnan–Firuzkuh road). Eng. Appl. Comput. Fluid Mech. 2019, 13, 188–198. [Google Scholar] [CrossRef]
  89. Rezaei, M.A.; Fathollahi, A.; Rezaei, S.; Hu, J.; Gheisarnejad, M.; Teimouri, A.R.; Rituraj, R.; Mosavi, A.; Khooban, M.-H. Adaptation of A Real-Time Deep Learning Approach with An Analog Fault Detection Technique for Reliability Forecasting of Capacitor Banks Used in Mobile Vehicles. IEEE Access 2022, 21, 89–99. [Google Scholar] [CrossRef]
  90. Khakian, R.; Karimimoshaver, M.; Aram, F.; Benis, S.Z.; Mosavi, A.; Varkonyi-Koczy, A.R. Modeling Nearly Zero Energy Buildings for Sustainable Development in Rural Areas. Energies 2020, 13, 2593. [Google Scholar] [CrossRef]
Figure 1. The process of power and hydrogen production with Searaser.
Figure 1. The process of power and hydrogen production with Searaser.
Energies 16 00502 g001
Figure 2. The cross-section A-A of the two essential parts of a Searaser.
Figure 2. The cross-section A-A of the two essential parts of a Searaser.
Energies 16 00502 g002
Figure 3. Different parts of a Searaser; (1) buoy; (2) chamber; (3) valves; (4) generator; (5) anchor system.
Figure 3. Different parts of a Searaser; (1) buoy; (2) chamber; (3) valves; (4) generator; (5) anchor system.
Energies 16 00502 g003
Figure 4. The boundary conditions of the control volume.
Figure 4. The boundary conditions of the control volume.
Energies 16 00502 g004
Figure 5. The wind velocity during the period of the experimental test.
Figure 5. The wind velocity during the period of the experimental test.
Energies 16 00502 g005
Figure 6. The wave height during the period of the experimental test.
Figure 6. The wave height during the period of the experimental test.
Energies 16 00502 g006
Figure 7. The relation between wave height and wind speed.
Figure 7. The relation between wave height and wind speed.
Energies 16 00502 g007
Figure 8. Two classes of forecasting procedure power with two algorithms.
Figure 8. Two classes of forecasting procedure power with two algorithms.
Energies 16 00502 g008
Figure 9. The box plot of raw data for presenting the outliers.
Figure 9. The box plot of raw data for presenting the outliers.
Energies 16 00502 g009
Figure 10. Two approaches of calculating the output power of Searaser in an experimental test period.
Figure 10. Two approaches of calculating the output power of Searaser in an experimental test period.
Energies 16 00502 g010
Figure 11. The comparison between two methods and their curve fitting.
Figure 11. The comparison between two methods and their curve fitting.
Energies 16 00502 g011
Figure 12. The change of Searaser produced power with wave height.
Figure 12. The change of Searaser produced power with wave height.
Energies 16 00502 g012
Figure 13. The amount of hydrogen produced based on each test sample.
Figure 13. The amount of hydrogen produced based on each test sample.
Energies 16 00502 g013
Disclaimer/Publisher’s Note: The statements, opinions and data contained in all publications are solely those of the individual author(s) and contributor(s) and not of MDPI and/or the editor(s). MDPI and/or the editor(s) disclaim responsibility for any injury to people or property resulting from any ideas, methods, instructions or products referred to in the content.

Share and Cite

MDPI and ACS Style

Mirshafiee, F.; Shahbazi, E.; Safi, M.; Rituraj, R. Predicting Power and Hydrogen Generation of a Renewable Energy Converter Utilizing Data-Driven Methods: A Sustainable Smart Grid Case Study. Energies 2023, 16, 502. https://doi.org/10.3390/en16010502

AMA Style

Mirshafiee F, Shahbazi E, Safi M, Rituraj R. Predicting Power and Hydrogen Generation of a Renewable Energy Converter Utilizing Data-Driven Methods: A Sustainable Smart Grid Case Study. Energies. 2023; 16(1):502. https://doi.org/10.3390/en16010502

Chicago/Turabian Style

Mirshafiee, Fatemehsadat, Emad Shahbazi, Mohadeseh Safi, and Rituraj Rituraj. 2023. "Predicting Power and Hydrogen Generation of a Renewable Energy Converter Utilizing Data-Driven Methods: A Sustainable Smart Grid Case Study" Energies 16, no. 1: 502. https://doi.org/10.3390/en16010502

APA Style

Mirshafiee, F., Shahbazi, E., Safi, M., & Rituraj, R. (2023). Predicting Power and Hydrogen Generation of a Renewable Energy Converter Utilizing Data-Driven Methods: A Sustainable Smart Grid Case Study. Energies, 16(1), 502. https://doi.org/10.3390/en16010502

Note that from the first issue of 2016, this journal uses article numbers instead of page numbers. See further details here.

Article Metrics

Back to TopTop