Sustainable Systems for the Production of District Heating Using Meat-Bone Meal as Biofuel: A Polish Case Study
Abstract
:1. Introduction
2. Materials and Methods
MBM Incineration at Farmutil Śmiłowo
3. Results and Discussion
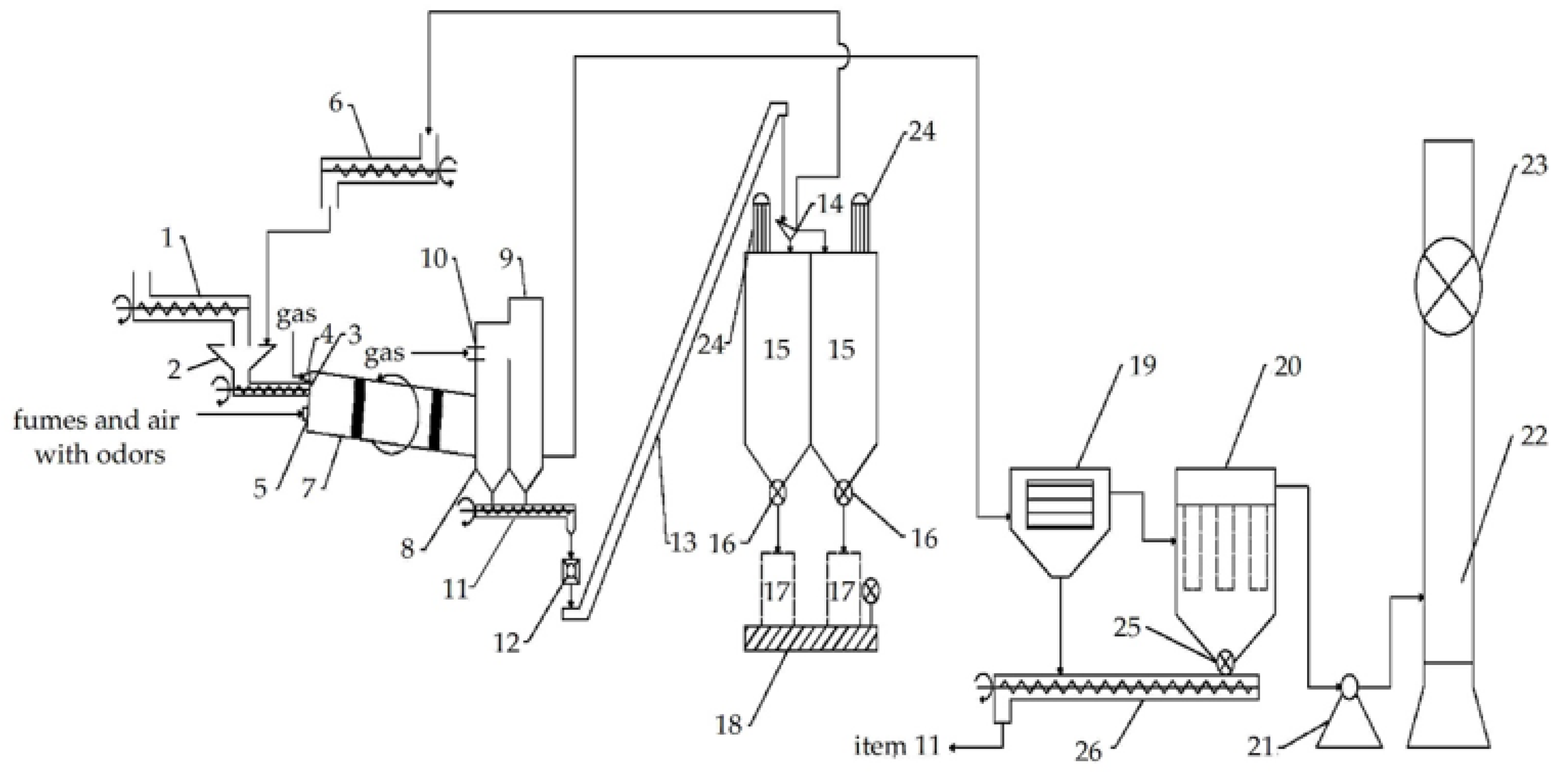
3.1. Development of MBM Incineration at Farmutil Śmiłowo
- (a)
- Elimination of burning procedures with the natural gas of odours and vapours from MBM production in thermo-oxidisers and prediction of their combustion in new rotary kilns installed upstream of thermos-oxidisers. Three rotary kilns with lengths of 20 m would be installed in the production halls of MBM: one rotary kiln in the Ekoutil unit and two rotary kilns in the Pilutil unit;
- (b)
- Using rotary kilns for MBM incineration would also allow the burning of gases containing odours and vapours through the use of these gases instead of the air typically used for MBM incineration. The vapours and exhaust gases from MBM production can be fully useful for the combustion of MBM in rotary kilns. The current amount of such gases directed to Pilutil thermo-oxidisers is about 41,000 kg/h (~25,000 m3/h). The amount of air used for combustion in a single 20 m long rotary kiln is approximately 38,000 kg/h (~23,000 m3/h).
- (c)
- Installing rotary kilns before thermo-oxidisers would allow the use of thermo-oxidisers to produce steam (they can work as steam boilers using heat from rotary kilns). This would significantly reduce the investment costs, as there is no need to purchase new steam boilers utilising MBM combustion heat.
- It has the ability to store MBM for up to six months and to burn more of it in the winter, with a greater load on rotary furnaces;
- Farmutil’s gas boilers have a capacity a capacity of 30 t/h of steam known as the so-called cold reserve of heat production;
- The combustion of MBM in new rotary kilns increases the incineration process efficiency by up to 90%;
- The technology of the combustion process in rotary kilns allows for their extremely flexible operation, with a charge load from 20 to 100% of the maximum load. Hence, it is a system that enables multi-variant steam production.
3.2. Environmental Assessment—Comparison of the District Heating Production Using Coal and MBM Fuels Using Process Analysis in Terms of Cumulated Calculation
- -
- The cumulated hazard ZS, a sum of emissions into air ZSE or waste discharge ZSS of the same types of substances in the consecutive process phase (f = 1 … n):
- -
- The cumulated hazard index WS, quotient of the cumulated hazard ZS and product quantity P:
- -
- The cumulated hazard index considering the toxicity coefficient K:
- -
- The sum of WSk indicators for all process phases determines the cumulated total hazard coefficient GWS (regarding gaseous, liquid, and solid waste):
- -
- The relative coefficient of decrease in the environmental hazard WZZ, quotient (expressed in percentage) of the difference in total GWS coefficients for the existing GWSP and new proposed processes GWSN, and the existing process GWSP:
- (a)
- For dust and gas emissions, K is the quotient of the fees for the emission of 1 t of a given material and 1 t of SO2 into air, multiplied by the exchange rate of USD to PLN;
- (b)
- For discharging solid waste, K is the quotient of the fees for the discharge of 1 t of a given material and the lowest fee for the discharge of IV category waste, multiplied by the exchange rate of USD and to PLN;
- (c)
- For discharging liquid waste, K is the quotient of the fee for the discharge of 1 t of a given material and 1 t sulphate multiplied by the exchange rate of USD to PLN.
4. Conclusions
Author Contributions
Funding
Institutional Review Board Statement
Informed Consent Statement
Data Availability Statement
Conflicts of Interest
Abbreviations
| MBM | meat-bone meal |
| MBMA | meat-bone meal ash |
| DHS | district heating system |
| RES | renewable energy sources |
| ABP | animal waste and by-product |
| CE | circular economy |
| CP | cleaner production |
| SESs | smart energy systems |
| VRE | variable renewable energy |
| GWS | cumulated hazard coefficients |
References
- Carbon Emissions of Different Fuels—Forest Research. Available online: www.forestresearch.gov.uk/tools-and-resources/fthr/biomass-energy-resources/reference-biomass/facts-figures/carbon-emissions-of-different-fuels/ (accessed on 2 February 2022).
- Geletukha, G.; Zheliezna, T.; Bashtovyi, A. Analysis of Tariff Setting in the District Heating Sector of EU Countries. UABio Position Paper N 14. 2016. Available online: https://uabio.org/wp-content/uploads/2016/02/position-paper-uabio-14-en.pdf (accessed on 15 January 2022).
- Energy Regulatory Office. Characteristics of the Heat Market—2019. (In Polish). Available online: https://www.ure.gov.pl/pl/cieplo/charakterystyka-rynku/9084,2019.html (accessed on 23 January 2022).
- Lund, H.; Werner, S.; Wiltshire, R.; Svendsen, S.; Thorsen, J.E.; Hvelplund, F.; Mathiesen, B.V. 4th Generation District Heating (4GDH): Integrating smart thermal grids into future sustainable energy systems. Energy 2014, 68, 1–11. [Google Scholar] [CrossRef]
- Mazhar, A.R.; Liu, S.; Shukla, A. A state of art review on the district heating systems. Renew. Sustain. Energy Rev. 2018, 96, 420–439. [Google Scholar] [CrossRef]
- Yang, X.; Li, H.; Svendsen, S. Energy, economy and exergy evaluations of the solutions for supplying domestic hot water from low-temperature district heating in Denmark. Energy Convers. Manag. 2016, 122, 142–152. [Google Scholar] [CrossRef] [Green Version]
- Werner, S. International review of district heating and cooling. Energy 2017, 137, 617–631. [Google Scholar] [CrossRef]
- Sperling, K.; Arler, F. Local government innovation in the energy sector: A study of key actors’ strategies and arguments. Renew. Sustain. Energy Rev. 2020, 126, 109837. [Google Scholar] [CrossRef]
- Bertelsen, N.; Paardekooper, S.; Mathiesen, B.V. Implementing large-scale heating infrastructures: Experiences from successful planning of district heating and natural gas grids in Denmark, the United Kingdom, and the Netherlands. Energy Effic. 2021, 14, 64. [Google Scholar] [CrossRef]
- Ben Amer-Allam, S.; Münster, M.; Petrovic, S. Scenarios for sustainable heat supply and heat savings in municipalities—The case of Helsingør, Denmark. Energy 2017, 137, 1252–1263. [Google Scholar] [CrossRef] [Green Version]
- Gorroño-Albizu, L. The Benefits of Local Cross-Sector Consumer Ownership Models for the Transition to a Renewable Smart Energy System in Denmark. An Exploratory Study. Energies 2020, 13, 1508. [Google Scholar] [CrossRef] [Green Version]
- Averfalk, H.; Werner, S. Essential improvements in future district heating systems. Energy Procedia 2017, 116, 217–225. [Google Scholar] [CrossRef]
- Baldvinsson, I. Development of a Community Heat Supply System towards Increased Sustainability. Ph.D. Thesis, Tohoku University, Sendai, Japan, 2016. [Google Scholar]
- Lund, H.; Möller, B.; Mathiesen, B.V.; Dyrelund, A. The role of district heating in future renewable energy systems. Energy 2010, 35, 1381–1390. [Google Scholar] [CrossRef]
- Hicks, T.M.; Verbeek, C.J.R. Chapter 3—Meat Industry Protein By-Products: Sources and Characteristics. In Protein Byproducts: Transformation from Environmental Burden into Value-Added Products; Dhillon, G.S., Ed.; Elsevier: Amsterdam, The Netherlands, 2016; pp. 37–61. [Google Scholar] [CrossRef]
- Hiromi Ariyaratne, W.K.; Malagalage, A.; Melaaen, M.C.; Tokheim, L.A. CFD Modeling of Meat and Bone Meal Combustion in a Rotary Cement Kiln. Int. J. Model. Optim. 2014, 4, 263–272. [Google Scholar] [CrossRef] [Green Version]
- Staroń, P.; Kowalski, Z.; Staroń, A.; Banach, M. Thermal treatment of waste from the meat industry in high scale rotary kiln. Int. J. Environ. Sci. Technol. 2017, 14, 1157–1168. [Google Scholar] [CrossRef] [Green Version]
- Kowalski, Z.; Banach, M.; Makara, A. Optimisation of the co-combustion of meat–bone meal and sewage sludge in terms of the quality produced ashes used as substitute of phosphorites. Environ. Sci. Pollut. Res. 2021, 28, 8205–8214. [Google Scholar] [CrossRef] [PubMed]
- Conesa, J.; Fullana, A.; Font, R. Thermal decomposition of meat and bone meal. J. Anal. Appl. Pyrolysis 2003, 70, 619–630. [Google Scholar] [CrossRef]
- Coutand, M.; Cyr, M.; Deydier, E.; Guilet, R.; Clastres, P. Characteristics of industrial and laboratory meat and bone meal ashes and their potential applications. J. Hazard. Mater. 2008, 150, 522–532. [Google Scholar] [CrossRef] [PubMed]
- Hu, S.; Jia, F.; Marinescu, C.; Cimpoesu, F.; Qi, Y.; Tao, Y.; Stroppa, A.; Ren, W. Ferroelectric polarization of hydroxyapatite from density functional theory. RSC Adv. 2017, 7, 21375–21379. [Google Scholar] [CrossRef] [Green Version]
- Kowalski, Z.; Makara, A. The circular economy model used in the polish agro-food consortium: A case study. J. Clean. Prod. 2021, 284, 124751. [Google Scholar] [CrossRef]
- Definition of Categories 1, 2, and 3 Animal Products and By-Products According to the European Legislation (EC) 1069/2009. Available online: https://inspection.canada.ca/animal-health/terrestrial-animals/exports/export-policies/2009-9/eng/1321202144060/1321202222038 (accessed on 12 January 2022).
- Kowalski, Z.; Krupa-Żuczek, K. A model of the meat waste management. Pol. J. Chem. Technol. 2007, 9, 91–97. [Google Scholar] [CrossRef] [Green Version]
- Stokłosa, H.; Kowalski, Z.; Makara, A. Application of circular economy model and cleaner technologies on the example of the Polish agro-food company Farmutil. Przem. Chem. 2019, 98, 709–714. (In Polish) [Google Scholar] [CrossRef]
- Kowalski, Z.; Makara, A. Data on the thermal method of odour elimination implemented in the Polish agro-food consortium. Data Brief 2021, 36, 106987. [Google Scholar] [CrossRef]
- Information about the Current State of the Heating Network. Available online: https://energiadlawarszawy.pl/o-nas/o-firmie/warszawska-siec-cieplownicza/ (accessed on 12 December 2021).
- Kowalski, Z.; Makara, A. Technological Concept Meat and Bonemeal MBM Combustion Unit for Farmutil S.a.; Cracow University of Technology: Kraków, Poland, 2017; Unpublished Work. (In Polish) [Google Scholar]
- Gollinger, M.; Kowalski, Z. Environmental and Economic Assessment of Feed Phosphate Technology Modernization. Pol. J. Environ. Stud. 1999, 8, 67–72. [Google Scholar]
- Kowalski, Z.; Makara, A. Methods of ecological and economic evaluation of technology. Chemik 2010, 64, 158–167. [Google Scholar]
- Kalmykova, Y.; Sadagopan, M.; Rosado, L. Circular economy—From review of theories and practices to development of implementation tools. Resour. Conserv. Recycl. 2018, 135, 190–201. [Google Scholar] [CrossRef]
- Asif, F.; Lieder, M.; Rashid, A. Multi-method simulation based tool to evaluate economic and environmental performance of circular product systems. J. Clean. Prod. 2016, 139, 1261–1281. [Google Scholar] [CrossRef]
- Ghisellini, P.; Cialani, C.; Ulgiati, S. A Review on Circular Economy: The Expected Transition to a Balanced Interplay of Environmental and Economic Systems. J. Clean. Prod. 2016, 114, 11–32. [Google Scholar] [CrossRef]
- Data from Report on Heating 2020. Chamber of Commerce Polish Heating Industry: Warsaw, Poland. (In Polish). Available online: https:nowoczesnecieplownictwo.pl/wp-content/uploads/2020/03/Raport-o-ciepłownictwie-systemowym-2020.pdf (accessed on 18 February 2022).



| Temperature Range (from–to) in (°C) | ||
|---|---|---|
| Ambient Air Temperature | Hot Supplied Water | Hot Returned Water |
| 12–10 | 85 | 60 |
| 9–5 | 86–90 | 62 |
| 4–0 | 92–96 | 64 |
| −1–5 | 98–105 | 66 |
| −6–10 | 106–110 | 68 |
| −11–20 | 111–122 | 70 |
| Component | Unit | Content in | |
|---|---|---|---|
| MBM | MBMA | ||
| P2O5 | % | 9.6 | 39.5 |
| Al2O3 | 0.0 | 0.0 | |
| Fe2O3 | 0.005 | 0.014 | |
| MgO | 0.13 | 0.33 | |
| Ca | 33.3 | 37.95 | |
| K | 0.680 | 0.452 | |
| Na | 1.58 | 0.440 | |
| N | 8.10 | 0.16 | |
| Cl | 0.0385 | 0.146 | |
| Cd | mg/kg | 0.002 | 0.014 |
| As | <0.010 | 0.84 | |
| Cu | 7.5 | 43 | |
| Pb | 1.0 | 1.3 | |
| Zn | 129 | 189 | |
| Hg | <0.0001 | 0.0013 | |
| Si | 76 | 3410 | |
| F | 117 | 432 | |
| Capacity of MBM (t/y) | Steam Consumption for MBM Production | |||
|---|---|---|---|---|
| GJ/t MBM | GJ/h | GJ/d | GJ/y | |
| 50,000 | 6.55 | 37.39 | 897.3 | 327,500 |
| 80,000 | 6.55 | 59.82 | 1435.6 | 524,000 |
| 100,000 | 6.55 | 74.77 | 1794.5 | 655,000 |
| 200,000 | 6.55 | 149.54 | 3589.0 | 1,310,000 |
| Steam consumption for meat production plants and other Farmutil unit demands | ||||
| 11.29 | 270.8 | 98,900 | ||
| Total Farmutil’s consumption | ||||
| 50,000 | 48.68 | 1168.06 | 426,400 | |
| 80,000 | 71.11 | 1706.42 | 622,900 | |
| 100,000 | 86.06 | 2065.3 | 753,900 | |
| 200,000 | 160.83 | 3859.8 | 1,408,900 | |
| Steam production from MBM incineration * | ||||
| 50,000 | 16.65 | 95.03 | 2280.8 | 832,500 |
| 80,000 | 16.65 | 152.05 | 3649.3 | 1,332,000 |
| 100,000 | 16.65 | 190.07 | 4561.6 | 1,665,000 |
| 200,000 | 16.65 | 380.14 | 9123.3 | 3,330,000 |
| Capacity of MBM (t/y) | Surplus of Steam Production from MBM Incineration over Farmutil Demand (GJ/y) | Maximum District Heating Demand in the City of Piła and Other Little Towns (GJ/y) | Excess of Steam Production from MBM Incineration for District Heating (GJ/y) |
|---|---|---|---|
| 1 | 2 | 3 | 4 = 2 − 3 |
| 50,000 | 505,328 | 860,200 | −354,873 |
| 80,000 | 808,524 | 860,200 | −51,676 |
| 100,000 | 1,010,655 | 860,200 | 150,455 |
| 200,000 | 2,021,310 | 860,200 | 1,161,110 |
| Amount of coal for the production of district heating (t/y) * | District heating production from coal (GJ/y) | ||
| 38,000 | 742,900 | ||
| 40,000 | 782,000 | ||
| 42,000 | 821,100 | ||
| 44,000 | 860,200 | ||
| City | Piła City | MBM Unit in Śmiłowo |
|---|---|---|
| Amount of produced heat (GJ/y) | 860,200 | 860,200 |
| Fuel (t/y) | Coal—44,000 | MBM—52,000 * |
| Gaseous pollution emissions (t/y) | ||
| Sulphur oxides SOx | 422.4 | 32.5 |
| Nitrogen oxides NOx | 140.8 | 130 |
| Carbon oxide CO | 440.0 | 15.6 |
| Carbon dioxide CO2 | 93,720 | 104,000 * |
| Dust (suspended) | 440.0 | 6.5 |
| Benzo(α)piren ** | 0.132 | 0 |
| Ashes (t/y) | 6600 | 13,000 ** |
| District Heating Production from Coal Incineration (44,000 t/y) | District Heating Production from MBM Incineration (52,000 t/y) | |||||||||||
|---|---|---|---|---|---|---|---|---|---|---|---|---|
| Pollution Emission Indexes | Dust and Gas Emissions (t/y) | Dust and Gas Emissions (t/y) | ||||||||||
| SO2 | NOX | CO | CO2 | Dust (Suspended) | Benzo(α) Piren | SO2 | NOX | CO | CO2 | Dust (Suspended) | Benzo(α) Piren | |
| Cumulated hazard ZSE | 422.4 | 140.8 | 440.0 | 93,720.0 | 440.0 | 0.132 | 32.5 | 130.0 | 15.6 | 104,000.0 | 6.5 | 0.0 |
| Amount of produced heat P (TJ/y) | 860.2 | 860.2 | 860.2 | 860.2 | 860.2 | 860.2 | 860.2 | 860.2 | 860.2 | 860.2 | 860.2 | 860.2 |
| Cumulated hazard index WSE | 0.491 | 0.1637 | 0.5115 | 108.9514 | 0.5115 | 0.00015 | 0.0378 | 0.1511 | 0.0181 | 120.9021 | 0.0076 | 0.0 |
| Toxicity coefficient K | 3.90 | 1.06 | 1.06 | 2.01 | 2.60 | 9.22 | 3.90 | 1.06 | 1.06 | 2.01 | 2.60 | 9.22 |
| Cumulated hazard index having the toxicity coefficient WSk = WSE·K | 1.951 | 0.1735 | 0.5422 | 218.9923 | 1.3299 | 0.0014 | 0.1473 | 0.1602 | 0.0171 | 243.0132 | 0.0196 | 0.0 |
| Cumulated hazard coefficient GWSE | 222.945 | 243.3575 | ||||||||||
| Discharged solid waste indexes | Ashes (t/y) | Hydroxyapatite ashes HA (t/y) | ||||||||||
| Cumulated hazard ZSS | 6600 | 13,000 | ||||||||||
| Amount of produced heat P | 860.2 | 860.2 | ||||||||||
| Cumulated hazard index WSE | 7.67 | 15.11 | ||||||||||
| Toxicity coefficient K | 6.13 | 0 * | ||||||||||
| Cumulated hazard index having the toxicity coefficient WSk = WSE·K | 47.03 | 0 | ||||||||||
| Cumulated hazard coefficient GWSS | 47.03 | 0 | ||||||||||
| Total cumulated hazard coefficient | GWSE + GWSS = GWSP for existing process | GWSE + GWSS = GWSN for new proposed process | ||||||||||
| 269.9845 | 243.3575 | |||||||||||
| Activities | Benefits in Terms of the Key Options of CE and CP | ||
|---|---|---|---|
| Economic | Environmental | Social | |
| Energy production and recovery | High economic value of bioenergy produced. Lower heat energy production costs. Higher energy efficiency and energy recovery at the company level. Sharing of heat between companies. Reuse of processed MBM as biofuel. | Renewable bioenergy production from MBM. Development of district heating system using MBM biofuel. Elimination of coal use for heat production. Waste-free energy production. In- and off-process of energy recycling and recovery. Recovery of phosphorus compounds from meat waste and their off-site recycling. | Change in energy usage patterns. |
| Waste management and processing | Ensuring a continuous flow of materials for remanufacture. Lower meat waste collection costs. Rewarding, consistent, and repeated recycling of recyclable materials. | Off-site recycling and reuse of meat waste and by-products. Reuse of treated wastes. Zero solid waste release. Reducing damage to environmental systems, especially the release of waste and GHG emissions. | Better image of companies in society. Reduced damage to human health for inhabitants using the new proposed district heating system. |
| Service and auxiliary activities | Creation of new business services. Lower heat transport costs. Lower investment, repair, and maintenance costs through the inclusion of a repair service during the heat production process. | Promotion of district heating system using MBM biofuel. Reducing damage to environmental coal firing heat station. Reduction in energy usage. | Lower district heating costs. Change in usage patterns. |
Publisher’s Note: MDPI stays neutral with regard to jurisdictional claims in published maps and institutional affiliations. |
© 2022 by the authors. Licensee MDPI, Basel, Switzerland. This article is an open access article distributed under the terms and conditions of the Creative Commons Attribution (CC BY) license (https://creativecommons.org/licenses/by/4.0/).
Share and Cite
Kowalski, Z.; Makara, A. Sustainable Systems for the Production of District Heating Using Meat-Bone Meal as Biofuel: A Polish Case Study. Energies 2022, 15, 3615. https://doi.org/10.3390/en15103615
Kowalski Z, Makara A. Sustainable Systems for the Production of District Heating Using Meat-Bone Meal as Biofuel: A Polish Case Study. Energies. 2022; 15(10):3615. https://doi.org/10.3390/en15103615
Chicago/Turabian StyleKowalski, Zygmunt, and Agnieszka Makara. 2022. "Sustainable Systems for the Production of District Heating Using Meat-Bone Meal as Biofuel: A Polish Case Study" Energies 15, no. 10: 3615. https://doi.org/10.3390/en15103615
APA StyleKowalski, Z., & Makara, A. (2022). Sustainable Systems for the Production of District Heating Using Meat-Bone Meal as Biofuel: A Polish Case Study. Energies, 15(10), 3615. https://doi.org/10.3390/en15103615
