Next Article in Journal
Transient Simulation of the Six-Inlet, Two-Stage Radial Turbine under Pulse-Flow Conditions
Next Article in Special Issue
Wind Farm Power Curves and Power Distributions
Previous Article in Journal
Low-Rank Coal Supported Ni Catalysts for CO2 Methanation
Previous Article in Special Issue
Determining the Optimized Hub Height of Wind Turbine Using the Wind Resource Map of South Korea
 
 
Font Type:
Arial Georgia Verdana
Font Size:
Aa Aa Aa
Line Spacing:
Column Width:
Background:
Review

A Review on State-of-the-Art Reviews in Wind-Turbine- and Wind-Farm-Related Topics

by
Manisha Sawant
1,†,
Sameer Thakare
1,†,
A. Prabhakara Rao
2,†,
Andrés E. Feijóo-Lorenzo
3,*,† and
Neeraj Dhanraj Bokde
4,*,†
1
Department of Electronics and Communication Engineering, Visvesvaraya National Institute of Technology, Nagpur 440010, India
2
Department of Electronics and Communication Engineering, Vishnu Institute of Technology, Bhimavaram, Andhra Pradesh 534202, India
3
Departamento de Enxeñería Eléctrica, Universidade de Vigo, EEI, Campus de Lagoas-Marcosende, 36310 Vigo, Spain
4
Department of Mechanical and Production Engineering—Renewable Energy and Thermodynamics, Aarhus University, 8000 Aarhus, Denmark
*
Authors to whom correspondence should be addressed.
These authors contributed equally to this work.
Energies 2021, 14(8), 2041; https://doi.org/10.3390/en14082041
Submission received: 20 February 2021 / Revised: 22 March 2021 / Accepted: 30 March 2021 / Published: 7 April 2021
(This article belongs to the Special Issue Wind Farm Power Curves and Power Distributions)

Abstract

For decades of wind energy technology developments, much research on the subject has been carried out, and this has given rise to many works encompassing different topics related to it. As a logical consequence of such a research and editorial activity, state-of-the-art review works have also been published, reporting about a wide variety of research proposals. Review works are particularly interesting documents for researchers because they try to gather different research works on the same topic present their achievements to researchers. They act, in a way, as a guidance for researchers to quickly access the most meaningful works. The proposal of this paper consists of going one step further, and to present a review of state-of-the-art review works on wind-energy-related issues. A classification into several main topics in the field of energy research has been done, and review works that can be classified in all these areas have been searched, analyzed, and commented on throughout the paper.

1. Introduction

Wind energy has increased its presence in electrical power systems around the world in recent decades. Such a presence can be considered as absolutely necessary in a world that shares a greater and greater energy consumption need with an climate crisis that, at best, must be qualified as severe, and that can be noticed by means of the phenomenon known as global warming [1]. There seems to be certain agreement among scientists in the fact that greenhouse gas emissions are responsible for this crisis, and this reinforces the conviction that humankind should concentrate all possible efforts on the extraction of energy from sources different from fossil fuels.
According to the idea in the previous paragraph, the irruption of renewables and, in particular, wind energy, is clearly justified. Hence, the development of all kinds of wind energy converters (WEC) and related technologies has experienced an important growth since last century. As could not be otherwise, this fact has involved the development of research in all areas regarding wind energy uses, from the resource, i.e., the wind and its characterization, to the devices used for capturing energy, i.e., the different kinds of WECs and their components. Furthermore, as a consequence of all this, multiple works have been arising, analyzing the contributions of all this research, i.e., state-of-the-art review works.
Wind energy is a vast and very popular research field. There are several research sub-domains in this field, such as wind energy conversion systems [2], wind power modeling, energy efficiency and storage [3], energy economics [4,5], wind prediction [6,7] and forecasts [8], strategies [9] and environmental effects [10] related to wind energy, and many others. However, the proposal of this paper is to review several of these reviews dedicated to related topics in the research associated to wind turbines (WTs) and wind farms (WFs). Table 1 shows these topics and the corresponding review articles that have been found. All these reviews have simply been read and commented here, so that researchers that can be interested in such review works can find a summary of them here.
In the rest of the paper, Section 2 is devoted to review works regarding WT performance optimization. WT health and condition monitoring works are analyzed in Section 3. Section 4 deals with reviews on aerodynamics of WTs. Review papers about WT power curves are described in Section 5. Power curves are closely related to blades, and information about reviews on blades can be found in Section 6. An important topic regarding WT and WF performance has to do with wakes created inside WFs. Works reviewing research on wakes can be found in Section 7. As the number of WFs is increasing rapidly in many countries, different control strategies will have to be developed and the investigation about how WTs can become a part of such strategies is and will continue being very important. There are also review works dealing with this issue, and some of them are presented in Section 8. Finally, Section 9 presents a survey of reviews on other important topics, such as WT installations, life, manufacturing, the computer fluid dynamics (CFD) simulation technique, and role of Weibull function in WTs.

2. Optimization of the WT Performance

In [11], the authors reviewed the different techniques and strategies to optimize the performance of the WTs. As the energy demand is continuously increasing, and non-renewable energy sources are depleting, there is a requirement to find eco-friendly energy sources such as wind energy. To be competitive in the energy market, the designers and manufacturers of WTs look for the optimal solutions that satisfy objectives such as minimization of investment, minimization of blade size, and maximization of the annual production, which will eventually result in minimizing the cost of energy and increasing the profit. Although the main objective of most research works is to minimize wind energy cost, many worked on the performance improvement of WTs using heuristic optimization methods and parallel processing while considering multi-disciplinary objectives. However, the optimization of the shape of WTs does not imply the minimum cost of energy, and care must be taken to ensure the proper functioning of the system components. There has been an increment in the research papers that work on optimization of a horizontal WT blade, airfoil shape, and rotor and tower design problems in recent years. There are still further research areas like complete load calculation and composite structural optimization that are not fully resolved yet.
Serrano et al. [12] reviewed recent developments in the optimal design of WFs, considering the most relevant issues, and also discuss the optimization techniques in the design along with recent WF models and optimal location of the WTs. However, the optimal design of WFs is influenced by economic indicators, local legislations, environmental issues, and presence of nearby WFs. Since the classical optimization techniques such as heuristic algorithms, i.e., genetic algorithm (GA), in determining the optimal location of WFs, are not sufficient to minimize the objective functions in the WF design by taking into account some or all the factors like cost and energy production, the authors analyzed meta-heuristic techniques, such as particle swarm optimization (PSO), ant colony optimization algorithm (ACO), covariance matrix adaptation evolution strategy (CMA-ES), and strength Pareto evolutionary algorithm (SPEA) to obtain better and efficient solutions. The paper further investigates how to develop a realistic model of the economic behavior of WFs focusing on the modeling aspects, such as investment costs and costs of operation and maintenance. In the future, research should be done providing the details of the computational cost of the optimization methods, models to calculate energy production in a WF, project uncertainty, and environmental impact assessment.
In [13], the importance of optimization along with challenges and approaches in WT design, particularly in their towers, support structures, and foundation systems, was discussed. It was also added that the computer-aided system used for structural analysis can benefit from finding better and economic solutions for the complex engineering system, subject to fluctuating and irregular loads, in WT design. However, the simulation technology is still not fully evolved to obtain better results in optimization, and there is the necessity of accurate, but expensive computation, and hence further research is required in the design of simplified models, to reduce uncertainty in simulation, to reduce load cases for the tower, and to have interfaces for efficient and integrated design.
In [14], the authors shed light on the challenges and different control strategies to tackle the structural problems in large WTs that occur due to their size and power rating when the WF must be scaled up as a result of growing demand. The authors also discussed the objective of the reduction in production cost to make wind energy more competitive in comparison to other energy sources, considering low and high wind speed regions. As for size increases, the profit also increases, which is the objective of the WF owner, but at the same time, the structural load becomes more dominant, and this can result in the early failure of components. Since both objectives are conflicting, this leads to the difficulty of finding a control mechanism to obtain an efficient and reliable solution. As most research has been done in high-speed wind regions, tracking of the power in low-wind regions leads to the high variation in the drive-train, causing failures in the system. Thus, in order to balance out the optimum power production and load reduction, the area needs to be further explored. Additionally, active aerodynamic control devices can also be used to complement the main control schemes to further improve their performance.
To efficiently transform the kinetic energy into electrical energy and also to lower the system cost, WTs need to optimize their performance using advanced techniques such as computational fluid dynamics (CFD). Alireza et al. [15] critically reviewed various CFD techniques, as illustrated in Figure 1, used in the literature for optimization of WT performance considering the objective functions to inspect the effectiveness of WTs, different simulation methods, and algorithms for assessment of the wind power system. CFD techniques are not only applicable to the wind flow visualization around the structures related to WFs, but also in the modeling of the blades of WTs. However, their time-consuming nature makes them less effective in large systems. The blade element momentum (BEM) method is widely used for efficiently modeling the flow field and calculation of aerodynamic loads on blades, but it requires highly accurate experimental aerodynamics data of airfoil. Studies have also suggested that multidisciplinary optimization (MO), which involves the objectives of different approaches, can help decision-makers to obtain an optimal design. Many of the, algorithms such as PSO, GA, simulated annealing (SA), and gradient-based approach (GBA), are discussed to optimize the performance considering the different aspects, schemes, and models, and GA was concluded to be the most efficient one.
To optimize the performance of the WFs with a huge number of WTs, different aspects of the system need to be considered. The optimization of the WFs requires investigation of various scenarios, general conditions affecting the performance of WTs, analysis of the problems, and finding a solution for them. In [18], the authors reviewed the recent approaches for design and optimization of the WFs in the literature, intending to enhance the efficiency of WFs using state-of-the-art models and numerical methods. A survey shows that most of the research has been performed for the improvement of the different aspects of the system modeling, which includes efficient energy conversion and risk management, along with the assessment of other important factors like WT wakes and turbulence, environmental factors, electric losses, structural fatigue, and degradation of WTs on the overall system. Moreover, due to the limited design parameters in the current modeling schemes, their significant applicability and benefits are not fully achieved yet and demand further research.
In remote areas and islands, electricity demand is usually satisfied by conventional methods. However, with the growing population, the increasing demand of electricity in these areas needs an alternative cost-effective power generation system. A standalone hybrid renewable energy system (HRES) or a microgrid (MG) with a renewable energy system is a reliable and sustainable solution for continuous electric supply in this case. Although an HRES is an optimal solution, the cost associated with this system is a major challenge. Hence, before deployment of an HRES, the optimization of its size is an important factor for reliable operation. Al-Falahi et al. [16] reviewed various optimal sizing algorithms developed for standalone HRES. Classical and artificial intelligence algorithms that are used as size optimization methods are discussed in detail. It is concluded in [16] that single artificial intelligence (AI) algorithms provide an optimal solution in terms of size. The paper also provides a comparison of optimal sizing algorithms in various categories of standalone wind and solar HRES. For finding the optimal size of these systems and their optimal combinations, they considered the effect of cost, social and environmental impact, and reliability as assessment parameters. Based on the assessment, they recommended the PV–WT–DGBS system as the most popular hybrid energy system for islands and remote areas, while PV-WT-BS is the most eco-friendly combination with zero emissions. In [16], one more observation was highlighted, i.e., that in size optimization, load type and metrological data play an important role, and if this information is used, then an improvement in the results is observed. Additionally, the authors of [17] analyzed wave energy economics in a holistic way by enhancing wave energy competitiveness through co-located wind and wave energy farms. This study examines the synergies between wave and offshore wind energy, focusing on the shadow effect and the associated increase in the accessibility to the WTs.
Future research in WT performance optimization includes the calculation of the complete load on the wind turbine components using advanced algorithms and optimization techniques like heuristic and Pareto-optimization techniques with a parallel processing system. New manufacturing techniques for the development of new composite textiles should be investigated for optimization of structure and cost reduction of the overall design. The computation cost of the different optimization techniques and evolution of their behavior as the size of the WF increases and hence based on that efficient optimization techniques must be developed. Models for the calculation of the energy produced by WFs can be the subject of future research [11]. Simple rotor models with high accuracy are recommended to be developed, which will allow the use of conventional software made for structural analysis [12]. Further, there is a need for further research to reduce the uncertainty of simulations, design of optimal WT structures, probabilistic design exploration, reduction of load cases, and development of interfaces for efficient design [13]. Innovative control methods are required to handle multi-objective problems in manufacturing massive turbines [14].

3. WT Health and Condition Monitoring

Increasing demand of electricity can be satisfied by larger WFs with high-capacity WTs. The outcome of the WTs is generally affected by harsh weather conditions and load patterns. Therefore, for the profitability and reliability of WFs, optimized maintenance strategies are required. Health management of WT farms involves the maintenance of low-speed bearings and planetary gearboxes. A review of condition monitoring (CM) and condition-based maintenance of farm-level WTs was presented in [19]. Condition monitoring and maintenance include a selection of components for repair; hence, it reduces the maintenance cost associated with the unnecessary repair and replacements. In this context, along with the diagnostics, new term prognostics, i.e., predictive diagnostics, is used. Various state-of-the-art methods in diagnostics and prognostics are compared based on implementation strategies, reliability, and accuracy. The review also includes challenges and future scope in conditioning monitoring and maintenance for large scale WFs.
Among different types of WFs, offshore WFs are the most profitable renewable energy source in Europe. However, structural health monitoring (SHM) of their WTs is important from a reliability and profitability standpoint. In [20], for review, SHM systems were viewed as statistical pattern recognition problems. Hence, various stages of pattern recognition problems from data acquisition to feature extraction and model formulation were considered for review of SHM of offshore WTs. Maria et al. [20] suggested that, for reliable operation and reduction of unnecessary repair and turbine overloading, the optimization of each stage of the SHM system is essential.
With the increasing demand of wind energy, the demand of reliable operations and low maintenance cost of WTs is also at its peak. High performing WT designs, as well as reliable and cost-effective CM techniques, are both equally essential to improve the availability of wind energy. A review in [21] highlighted various CM aspects, recent trends, and future challenges as shown in Figure 2. Classification of CM techniques for WTs, diagnosis, maintenance strategies, and their effect on each other is also presented in [21]. It also highlighted recent trends like the use of WTCM in remote areas, the strength and weaknesses of CM in WTs, research priority, and future challenges in the area of WTCM.
Offshore wind energy sources are major contributors to renewable energy. However, their lifetime and maintenance are the main issues in availability and reliability. The service life of a typical WT is 25 years, which may be extended further based on the structural analysis. Lifetime extension without compromising safety standards is desirable as it increases the return on investment (ROI). In this context, a review of failure mode identification of offshore WTs throughout their service life was presented in [22]. This work highlighted three parameters of end-of-life (EOL) situations; among them life extension is highly encouraged, which can be achieved by using CM, periodic inspection, and maintenance. Although life extension is preferred from a profit standpoint, assessment of failure mode analysis, risk estimation, and health monitoring as a function of cost are essential before permitting life extension. Failure mode identification involves structural health monitoring, CM, good inspection, and Observations and Measurements (O&M) strategies. The other two options in the EOL situation when life extension is not possible are repowering or decommissioning.
With the growing demand of power from WFs, the size of WTs is also increasing. For reliable and efficient performance of large-scale WTs, identification and correction of every single fault are most essential to increase production and profit. Extreme weather conditions result in dynamic loads. The large size and operating conditions bring new challenges in the operation and maintenance of WTs. To avoid breakdown structural health monitoring, CM, fault prognostic, and knowledge about previous failures in WTs are important. The prognostic technique is a promising research area in WTs to handle these issues. A brief review of prognostic techniques applied to critical components of WTs was provided in [23]. The basic framework of this technique is shown in Figure 3. In the case of WTs, from the economic and reliability point of view, gearbox, main bearing, and blades are considered critical components. In order to maximize efficiency, availability, and profits, it is highly encouraged to implement prognostic techniques in O&M of critical components of WTs. For prognostic techniques, data from condition monitoring systems (CMS) and supervisory control and data acquisition (SCADA) are used. Among various reviewed techniques in [23], the neural network and particle filters method have been found effective. Further, it was suggested that to handle different challenges of WTs, a combination of CM, diagnostic, and prognostic techniques is required.
Blades of WTs are important but costly parts. Operation and maintenance of the turbine blades largely affect the availability of wind power. Material degradation and fatigue are two major damages that are observed in WT blades. Early damage detection can significantly improve availability and maintenance plans. A detailed review of damage detection techniques applied to WT blades was presented in [24]. It also included various sensors like strain gauge, accelerometer, fiber optic, and piezoelectric sensors that are employed on the turbine blades for damage detection. Along with the sensors, damage detection techniques reviewed in [24] include transmittance function, wave propagation, impedance, and vibration-based. A few future directions, challenges, and existing problems in this research area are also highlighted.
One more survey on structural health monitoring of WTs was presented in [25]. It covered fault diagnosis of methods presented in the years 2012 to 2015. Reference [25] focused on the structure of WTs and component failures in WTs. Different fault methods such as time-frequency analysis methods, vibration-based methods, voltage, and current-based methods have been analyzed to find an ideal technique.
To reduce the operation and maintenance cost, predictive maintenance is need for a period of time. Predictive models require detailed information or data about operating conditions. In case of WTs, these data are available from the SCADA system. Research on condition monitoring and failure detection using data from SCADA was reviewed in [26]. The research under this topic is categorized into different approaches like trending, clustering, normal behavior modeling, damage modeling, and alarm assessments. Various methods under each of these approaches were reviewed, and these four categories were summarized as follows. Trending approaches are found useful in anomaly detection but trending-based CM sometimes results in false alarms and hence needs further improvement. The same problem is observed in clustering approaches, which differentiate between normal operations and abnormal ones. To improve the clustering results, a large number of failure data is essential. Normal behavior modeling using SCADA data was carried out using polynomial regression, artificial neural networks (ANN), adaptive neuro-fuzzy inference system (ANFIS), or nanoparticle surface-energy transfer (NSET), and these approaches provide better failure detection abilities. Damage modeling approaches focus on physical reasons for failure and are found useful for CM. Feasibility analysis about the use of these models for online monitoring in WTs represents a future trend.
The importance of reliability-centric maintenance is highlighted in the literature of CM in WTs. Different review works on CM covered different aspects of CM. However, a review in [27] presented technical and economic challenges that are faced by WT condition monitoring technology. Among various challenges reviewed in [27], a few of them were vibration and oil analysis, cost-effective and accurate CM of offshore WTs, and higher repair and replacement O&M costs. A few future directions were also listed.
CM using machine learning (ML) models is a recent trend in WTs. A review of CM of fault detection of turbine blades, fluctuations in power curves, and temperature variations in generators using ML models was presented in [28]. Data related to these scenarios are either collected from SCADA or simulated. The data can be images or audio signals in the case of faulty blades. The ML-driven CM approaches reviewed in [28] were categorized into classification and regression methods. Classification methods like neural network (NN), support vector machine (SVM), and decision tree share a major stack of ML-based CM methods. The lack of large-sized public data sets is the main issue in the development of new algorithms.
Every living and nonliving thing has a lifetime; so does a WT. Hence, the maintenance and lifetime extension decisions are challenging aspects of onshore WTs. A review of various strategies for extension of the lifetime of onshore WTs without compromising safety standards was presented in [29]. The review was limited to onshore WTs in Germany, Spain, Denmark, and the UK. This review covered various dimensions of lifetime extension like structural integrity, decisions about aging assets, and decommissioning of turbines. Along with the technical details like scientific literature, standards, and guidelines, the economic, as well as the legal issues of this topic, are also discussed in this review. Different countries practice different technical standards and market rules; hence, a country-wise comparison of technical assessment and lifetime extension decision was also provided in [29].
In the case of RES using wind energy, the power extracted from the wind is denoted by the turbine power. However, the wind power and turbine power are not exactly the same and are related by the power coefficient ( C p ). The power coefficient depends on the tip speed ratio ( λ ) and blade attack angle of the turbine ( β ). The torque coefficient of the turbine ( C t ) and the power coefficient are related by (1) [77].
C p = λ C t
Generally, WT manufacturers provide the datasheet of the relation between C p and C t . The literature regarding this suggests that the power coefficient can be modeled by using sinusoidal, exponential, and polynomial functions, and corresponding curves of C t are analyzed. A review of these mathematical models and related analysis of C t ’s is presented in [30]. In the case of the polynomial model, the effect of β on C p is ignored; i.e., it depends only on speed. The analysis in [30] is useful when designing the emulators for the WTs.
The lifetime of offshore WTs is greatly affected by harsh environmental conditions. Among various parts of WTs, electrical stators are also affected due to the marine environment. Humidity, salinity, and offshore water droplets are major reasons for deterioration of the insulation of electrical stators of offshore WTs, which in turn result in early aging of WTs. Thermal, mechanical, or chemical stresses and offshore environment are the main reasons for partial discharge that further cause insulation aging. The effect of the offshore environment parameters like humidity, salinity, and water droplets on the insulation system of electrical stators of offshore WTs was analyzed in [31,32]. The advantages and challenges of offshore WTs in comparison with the onshore WTs were also discussed.
A review on reliability analysis in the wind energy system covering reliability models, Bathtub curve, the role of health management systems, reliability testing protocols, designs for liability estimation of structure components, and scale for severity classification was presented in [33]. The objective of this reliability analysis is to achieve improvements in the design of WT models. When it comes to the reliable operation of WTs, one needs to focus on multiple factors such as system availability, fault analysis, and tolerance, downtime, and maintenance cost. To solve system failure issues, the authors of ref. [33] used the bathtub curve considering effects of weather conditions, operation and maintenance cost, and grid and load variations. After a complete system reliability analysis, component-wise reliability analysis was also suggested for further improvements.
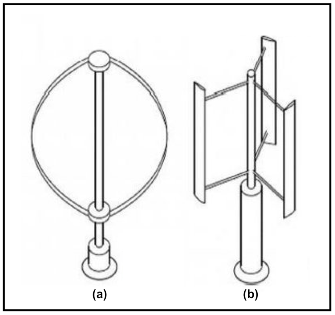
A Darrieus WT, such as the one shown in Figure 4, is a vertical axis WT popularly used at remote and domestic locations. The airfoil of these turbines has a large impact on both the power coefficient and starting ability of the rotor. Although significantly less research has been carried out on the airfoil of Darrieus wind rotors than in horizontal axis WTs (HAWT), the review work in [34] provided various theoretical methods, design processes, and their applicability. Design approaches in this area are classified as direct and inverse. Direct approaches, i.e., momentum, vortex, and cascade, are discussed to build the airfoil database and to improve the current progress. Based on the literature, only momentum has been used for inverse design approaches. This review also provided different design processes based on the panel and CFD methods mentioned earlier. Two inverse approaches were also provided for future research in this area.
To increase wind power generation, the electrical distribution system also plays an important role. In electrical conductors, the maximum allowable conductor temperature resulting from the line current is represented by a line rating. In general, static line ratings are used to define the limits of electric power transmission. However, in different weather conditions, different line ratings are observed in the same electric network. Hence, in varying weather conditions, a dynamic line rating (DLR) system, which estimates real-time line ratings considering cooling effects, is essential. If a DLR system is considered, then the higher transmission capacity is observed with higher wind speed. DLR allows monitoring of real weather conditions and also calculates actual line capacity. Review work in [35] describes the integration of DLR wind power systems over the past 30 years. It also presents a few case studies and compars static and dynamic line ratings.
Wind speed is the driving force of the WT; the wind speed estimation and controlling methods based on it are widely applied to WT systems. Traditionally, for wind speed measurement, an anemometer is mounted at the top of the nacelle of a WT. However, it does not provide accurate effective wind speed; hence it reduces system reliability. For the WT system, accurate effective wind speed estimation is highly desirable. A comprehensive review on the estimation of effective wind speed (EEWS) and related control techniques are presented in [36]. Starting with various EEWS techniques and their classification, this review also discusses the EEWS control strategies and related complexities. Apart from the review, integral sliding mode control (ISMC) is proposed in [36], and its comparison with existing techniques is also presented.
To satisfy large power requirements, the WTs in modern WFs are densely located. In such farms, the wake of neighboring turbines reduces the average power per WTs. It is important to analyze the effect of wake, fatigue and dense arrangement of WTs on WF control. A comprehensive review of these control problems was presented in [37]. In this regard, active power maximization, following power reference for it, and fatigue loading minimization were also discussed in [37]. Although the best method to handle the wake behind a WT is yet to come, it can be controlled by derating and active yaw. The distribution of power references proportional to the available power of each WT is suggested. It was noted in [37] that the reduction in fatigue load while satisfying power reference is still an open problem.
When WFs are connected to the grid, it is expected that the WT generators must remain continuously connected to the grid even during grid faults. To satisfy this requirement, in some cases, WTs are connected through doubly fed induction generators (DFIG). However, DFIGs affect the dynamics of the power system. A review of the impact of the use of DFIG in WTs on the performance of power system dynamics was presented in [38]. The performance analysis in terms of frequency stability, transient stability, small-signal stability, and voltage stability was also presented in this paper. Various control techniques use to provide support service, and their results and future directions were also presented in [38].
Since DFIGs affect the power system dynamics, it is important to analyze the voltage dips due to the DFIG in WTs. On one hand, these generators provide variable speed operation but on the other hand, their use results in low-voltage ride-through (LVRT) that limits the capabilities of WFs. However, as per grid code requirements, reactive power should be available during the voltage dips by WTs, and active power should be generated immediately after fault clearance. A review of improvement in LVRT in DFIG-based WTs, modeling, and related analysis was presented in [39]. In the case of low voltage dips and severe voltage dips, tuned controllers and protective hardware should be used, respectively. It was observed in the review that hardware solutions are costlier than software solutions. The use of a crowbar and a DC link chopper are some of the cost-effective hardware solutions. It was suggested that, while designing new LVRT solutions, reactive and active power requirements of grid codes should be considered.
Structural health monitoring systems monitor the parts of WTs that are most susceptible to be damaged. Turbine blades are among them. Full-scale structural testing is performed as part of a blade certification process. Specifically, non-destructive testing (NDT) techniques are widely used for SHM in WTs. Review work on the full-scale structural testing along with static testing and fatigue testing was carried out in [40]. It also included failure mechanisms of WT blades as well as strengths and weaknesses of NDT methods for SHM. The use of digital image processing for SHM of WT blades is a recent trend.
The working environment of WTs is very complex. It involves condition monitoring of WT blades for damage detection, data collection from SCADA systems, structural analysis, and health monitoring of various components of WTs and fault diagnosis. To improve the overall performance of the system and the outcome, it is important to develop new algorithms and techniques in all possible areas. For the profitability of the wind energy industry, the following future dimensions are necessary for WTCM systems. It is necessary to develop a robust prognostic technique. To further improve the reliability and flexibility of automatic WT monitoring and control tools, improvements in the use of SCADA are essential [71]. WT damage detection generally fails due to the inappropriate placement of sensors. Hence, further research is required to analyze the sensor position. Furthermore, the incorporation of wireless transmission of signals from the WT blades is essential for the improvement of their online damage detection [24]. To predict the health of the machine components, collective research in signal processing algorithms and new feature extraction schemes is required. It is also a need to explore machine learning and neural network algorithms for condition monitoring and fault diagnosis of WTs [25].

4. Aerodynamics in WTs

Generally, most of the WF aerodynamics (WFA) simulations are performed on simple engineering models (EM), which work on the general physics phenomenon and approximations and require pre-tuning with data from a wind tunnel. Although it provides accurate results and faster response in the overview of WFA and energy production, it does not provide any conclusions about other phenomena like wake meandering, the effect of atmospheric stratification on wake development, a turbine’s response to partial wake interaction and yawed inflows, etc. or their relation with turbine loading. Mehta et al. [41] explored various large eddy simulation (LES) contributions in research to understand and broaden the knowledge of WFA to upgrade the engineering models, considering its application and challenges. Data generated from the LES aerodynamic simulations can be used to tune engineering models, and the implementing of the LES generated transfer functions can improve the modeling of atmospheric stability, detailed wake-atmospheric boundary layer (ABL) interactions especially on large WFs, and the effects of gusts. The authors suggested that further research is essential in LES considering the important parameters to enhance the existing approaches like sub-grid scales (SGS), SGS stress model (SSM), grids with less efficiency and requires high computation.
A drastic increase in harvesting wind energy has drawn great attention of researchers to the study of WF aerodynamics in order to optimize the performance and to increase the aerodynamic efficiency. In [42], the author performed a short review on the current research trends in vertical axis WTs (VAWT) aerodynamic optimization. Complex numerical models and a wide range of wind tunnel measurements along with the improvement of the airfoil design, blade pitch angle, and flow control helped in the optimization process to enhance VAWT performance. Further investigation is required in the near future on the airfoil design with CFD simulations and experiments, on the optimal dynamic pitching, and application of flow control on VAWT by understanding its flow features.
Reyes et al. [30] reviewed the various mathematical models for WTs considering the power coefficient and the torque coefficient. These coefficients are usually used to analyze the WTs to obtain the relation between the wind power and power produced by the turbine. In this paper, different methods are evaluated to find a generic mathematical expression for each model, which are based on exponential, sinusoidal, and polynomial functions. The review can be applied to build an emulator system for a WT to be used for the evaluation of the performance of different WTs.
In [43], the authors reviewed computational and numerical methods as well as experimental procedures for the analysis of the aerodynamic performance in the HAWTs considering the design of turbine blades and generators. Numerical computation methods such as BEM and CFD were studied effectively, and field tests along with wind tunnel experiments were also discussed to understand the aerodynamic performance of HAWT blades. BEM uses 2D airfoil data to predict the aerodynamic characteristics, but it is not always good for simulating load on the blade because of stalled and yawed rotor conditions. CFD technique helps understand characteristics and observation of flow field around turbine blades whose accuracy depends on the turbulence model selection, and reliability can be enhanced by grid-free analysis. Furthermore, the CFD-BEM hybrid method lowers the computation and increases accuracy, but the power is overestimated and flow field details are not properly elaborated for the number of blades. Study on unstable and 3D aerodynamic characteristics of wind through the field tests assist in understanding turbine wakes scenario, and torque calculated from wind tunnel measurements allow better HAWT performance analysis. Finally, the authors concluded that in the future, there will be a requirement for advanced numerical models and experimental techniques to understand flow control, the wake of turbine blades, and the optimization of HAWTs’ design.
Chen et al. [34] presented different current research approaches in the design of the airfoil for the Darrieus rotors in WTs and also discussed the application of their design processes as the research is not enough in both depth and breadth. In this review, three direct methods were studied in detail, i.e., one inverse method of airfoil design and two inverse methods based on the literature review as shown in Figure 5. For reliable airfoil, momentum, vortex, and cascade methods are better in response and more robust in nature than the panel and CFD simulations. The direct panel method with the common process has more accuracy and simplicity than CFD and vortex methods, but its computation is costlier than that of the direct momentum method. The direct CFD method with the common process is more popular, as it can predict the CP and complete flow information, whereas computation cost is maximum over other direct methods. The inverse momentum method has enormous and untapped potential in the inverse approach. Moreover, the author also proposed inverse approaches based on panel and CDF methods for future research.
To generate more power even in unfavorable conditions, small WTs that fall under Reynolds number 500,000 are being installed which are similar in the operation to large HAWT, and hence their optimal design geometry affects overall performance. In [44], the authors reviewed the various techniques used for aerodynamic performance improvement of the WTs through optimization of the blade geometry. The review showed that the optimization of the blade profiles and airfoil geometry results in a high power coefficient in small WTs. The authors discussed the effect of pitch angle and chord-twist distribution on the starting performance and SWT rotor performance, respectively. It was concluded that the modifications in the airfoil’s trailing edge, camber line, and thickness resulted in the reduction of noise in the rotor blade, starting characteristics, and lift-drag ratios of the airfoil.
Aerodynamics performance analysis of the WT plays an important role in the optimization of the energy production in the WFs. Jesse and Hesheng [45] explored the present models and methods available in the literature to simulate the aerodynamics behavior of the WT, especially considering the hybrid RANS-LES methods (HRLM). The models covered in this review are shown in Figure 6, with considerations of different levels of complexity and fidelity. At first, the Reynolds-Averaged Navier Stokes (RANS) methods were discussed in detail followed by the widely available momentum and potential flow methods. RANS methods are best suited for huge data integration but are unable to represent flow features like separation and vortex shedding. Momentum methods require highly reliable airfoil data for simulation and the LES method requires huge computation capacity, while potential flow methods are unable to investigate the viscous effect. Furthermore, the authors discussed the HRLM, which overcomes the drawbacks of available techniques by accurate and reliable aerodynamic simulation along with its applications in complex wind flow conditions. The unsteadiness of flow can be efficiently predicted by the HRLM method, which is its great advantage over other methods. Further research is required to promote the development and implementation of the HRLM method to understand the complexity in the flow around the turbine blade.
As compared to the traditional HAWTs, H-Darrieus vertical WTs are small machines widely used in the environment of unstable wind direction. A deep knowledge of the complex aerodynamics associated with these turbines is required to be gathered to increase the efficiency and get a better understanding of the system. Du et al. [46] reviewed the current research in the design of the H-Darrieus turbines, as shown in Figure 7, concerning parameters such as turbine solidity, blade profile, flow curvature effects, and pitch angle, and also summarized the different aspects, approaches, and tools for the design of the turbine. The paper first discussed the analytical approaches for turbine design such as momentum, vortex, and cascade-based models, even though they are simpler for modeling. An airfoil database is a prerequisite, and more modifications are also required. CFD is the most promising technology that presents different turbulence models such as suspended sediment transport (SST) and LES for simulation. Among them, LES is the best one, but a huge amount of computation makes it less preferable. Moreover, experimental measurements are not only helpful in the validation of numerical methods using the generated data, but also in understanding the characteristics of the flow around the turbine with recent advances helping in visualizing the flow field and pressure. Future study involves modification of leading edges of the blade, development of 3D LES models, and high-frequency real-time data capture.
To improve aerodynamic performance, future research should focus on developing new techniques for the flow control across WT blades. It is also important to focus on numerical techniques to understand the wind flow in the wake of WT blades [66]. In energy harvesting using aerodynamically fluttered wind, further research involves finding a universally accepted metric to measure the efficiency of the system and to study the effects of outdoor conditions such as highly variable and turbulent wind flow [1]. The latest optimized airfoil designs for the VAWTs must be investigated for testing their improvement using high-fidelity CFD simulations and wind tunnel experiments. Since the pitch angle optimization and flow control around airfoil results in the improvement of VAWTs performance, further research should investigate dynamic blade pitching and flow control methods to analyze tip shapes, control mechanisms, and vortex generators, and the flow structures on the surface of the blades. Study of flow in the wake of WT blades associated with atmospheric turbulence is required for the development of innovative numerical models to optimize the HAWTs design [42,43]. Furthermore, the development of advanced techniques is required to visualize the realistic flow behavior on the surface of WT blades [43]. Blades with upgraded leading edges need to be studied to test turbine performance and alter the configurations of the blades by understanding the flow physics. Advanced 3D models should be used to further explore the turbine transient self-starting process and to observe the difference between experimental measurement and 2D simulations. Aerodynamic interactions between arrays of WTs should be examined with CFD techniques. Lastly, high-frequency and real-time data should be obtained to understand the flow physics of rotating machines [46].

5. WT Power Curves

WT power curves (WTPC) give the relation between the wind speed based on the area swept by the blades of a WT and the electrical power injected into the network [79,80].
Carrillo et al. [47] analyzed the most common equations such as polynomial, exponential, cubic, and approximate cubic used to model variable speed WTPC. They evaluated the performance of the models based on these equations on data available from 200 commercial variable-speed WTs. Considering the coefficient of determination and the error in energy density as evaluation parameters, they found that the models based on the exponential and cubic equations performed better.
Lydia et al. [48] presented a comprehensive overview of the need for WTPC modeling and the various methods used to model WTPC. They also presented various parametric and non-parametric methods already employed to model wind turbine power curves. Different performance parameters to measure the accuracy of these models were also included in the paper. They also identified some future areas of research to transform the stochastic WF into a reliable wind power plant.
Goudarzi et al. [49] performed a comparative analysis on various parametric and non-parametric methods to model WTPC considering three commercial WTs: 330, 800, and 900 kW. Using normalized root mean square error (NRMSE) and R-square ( R 2 ), they evaluated the accuracy of various existing mathematical models and then selected the most accurate model. To improve the accuracy of this model, they applied a GA to optimize the coefficients. Performance of both the optimized model and the non-optimized model was compared with the WTPC modeled using the curve fitting feature of an artificial neural network (ANN). It was observed that the ANN model performed better than all other techniques.
Sohini et al. [50] reviewed various wind speed modeling methods considering studies based on both parametric and nonparametric methods. It was observed that among the nonparametric methods, (ANN, clustering, data mining, ANFIS, and copula models), ANN and ANFIS methods performed better, especially in predicting output power and in online monitoring applications. Based on the literature review, they reported that efficient modeling of WTPC involves the selection of suitable models, appropriate solution techniques, and application-specific algorithms. Efficient modeling of WTPC in this manner leads to the development of a reliable and efficient wind-energy-based power system.
Costs involved in the integration of wind power into the electric grid may likely reduce by the proper understanding of the relationship between wind speed and its variability. Based on the data from three planetary locations, Bandi and Apt [51] found that the standard deviation of the wind speed ( σ v ) varies systematically with the mean wind speed v, but in some instances, it follows a scaling of the form σ v = C · v α , where C is a constant and α is a fractional power. The factor α varies with location due to the influence of local environmental conditions on the variability of wind speed. They proposed that, in order to reduce the uncertainty of wind power forecast, WT operators need to perform recalibration of their WTPC post-installation at the site to accurately account for wind speed variability.
Ouyang et al. [52] proposed a model for WTPC based on data partitioning and data mining. In this study, a support vector machine algorithm was used to build the power curve models. The performance of this model was tested using industrial wind data, and it was observed that among the various data partitions, 20 data partitions resulted in the best performance. The performance of the model with 20 data partitions was compared with the models in the literature, and this study proved that the proposed model showed better performance at a low computational cost.
Logistic functions are used to model the WTPC. Villanueva and Feijóo [53] presented the most commonly used logistic functions, and a comparative analysis was performed based on mean absolute percentage error of different logistic functions beginning with three-parameter logistic functions up to six-parameter logistic functions. It was reported that the five parameters and three-parameter logistic functions can be considered effective to model WTPC.
Astolfi et al. [54] proposed some WTPC upgrades in the real environment based on the operational data analysis. They considered test cases such as adjustment of pitch angle near the cut-in to get improved startup, retrofitting of the aerodynamic blade using vortex generators and passive flow control devices, and power curve extension using a soft cut-out strategy for very high wind speed. In this study, they formulated suitable data-driven models understanding the criticality of each test case and employed these models to estimate the improvement of energy for each of the upgrades under investigation. This study revealed that considering the complex WC through the power curve upgrades, the improvement in the estimated energy produced was significant compared to the estimated energy under the assumption of ideal WC. The extended case studies for this review article are further discussed in [81].
Manufacturer-supplied power curves are turbine-specific, and they show the behavior of the turbine under standard test conditions. These models can be applied on single turbines working under sites of steady winds. Improved models are required to represent the condition of large WFs with a group of turbines installed and also for sights with complex terrains. Lydia et al. [48] identified some future areas of research to transform the stochastic WF into a reliable wind power plant. In the future, the research shall focus on the development of accurate WTPC models considering that all the factors affecting the wind energy conversion in the wind energy systems are needed.Variations in the wind power output need to be estimated accurately to enable the utility companies to establish efficient distributed wind generation systems and also to deploy smart grid systems. These accurate models will empower the monitoring, control, and optimization of WFs. Along with making the historical datasets at different sites publicly available to the researchers working in this area and providing better facilities for calibration, measurement and instrumentation may assist in the development of these accurate models. Another major challenge in the wind power industry is the development of site-specific WTPC models for offshore sites. If developed, these models will pave the way for improved WF power forecasting and enhance the monitoring process and maintenance of WTs. As mentioned in the review paper by Sohini et al. [50], various methods to quantify the power curve deviations from the expected values for the identification of faults in WTs need to be explored. As pointed out by Liu et al. [82], there is a need for algorithms to simulate the dynamic behavior of floating WTs, especially algorithms to numerically simulate the aerodynamics of long soft leaves and tall towers. In the future, researchers should focus on the development of refined algorithms to numerically simulate the aero-hydrodynamics of semi-submersible foundation. The heavy computational requirement of these simulation models can be controlled through some optimization methods, and the choice of proper optimization technique needs further investigation.

6. WT Blades

To protect the leading edge of WT blades from erosion, they are generally covered with an elastomeric coating. However, such an erosion resistance coating does not guarantee long-term protection. Review work in [55] summarized erosion modeling methods and also discussed erosion model blocks that are experimentally validated and used to predict the life of the leading edge of coated WT blades. Future trends and the role of filters in coating development are also highlighted.
HAWTs are the basic and most popular devices installed in WFs. The basic structure and major components of the HAWT are shown in Figure 8. To improve the performance of HAWTs, the evaluation of their aerodynamic performance is important. This includes analysis of wind speed, rotational speed, and tip speed ratios (TSRs). A review of evaluation methods used for measurement of the aerodynamic performance was presented in [43]. Numerical and experimental methods were applied for this analysis. Classical BEM theory and CFD comes under numerical methods, and mixed as well as individual approacesh were examined for optimal performance. Experimental methods include analysis of field testing and wind tunnel, and blockage effects. A comparison of both numerical and experimental methods was also provided in [43].
The blade profile and the airfoil geometry are important parameters of small WTs. If these parameters of WT blades are optimized, then a larger amount of power can be generated. A review of optimization processes of these two parameters that work at Reynolds numbers less than 500,000 was presented in [56].
As per the studies, the amount of energy obtained from the WTs is mostly affected by the design of the blades, and hence there is a need to understand the effect of the physical, geometric, and aerodynamic characteristics of the blades on the overall performance of the system. Different models, schemes, tools, and experiments that are currently available for the estimation of WT effectivity were discussed in [57], with more emphasis given on the recent practices in the design of the turbine blades. The paper shed light on the experimental and numerical methodologies of blade design, active and passive techniques to increase output power, and cut-in speed-limiting techniques for enhanced WT performance. First, the ongoing research and development are explored in a nutshell, followed by WT basic and types, effects of wind flow around airfoil on performance, approaches in the design of WTs and their performance measurement along with optimization techniques, which were discussed in depth. Furthermore, some helpful concepts in the design of WTs like dynamic mitigation of loads, flow separation techniques, stall control, starting behavior of WTs, and blade materials are also investigated.
When large-sized WT blades are used, structural stability and failure mechanisms are major concerns. Hence, large-scale structural testing and the development of robust failure detection algorithms are two future aspects of WT blades [40]. To protect WT blades, it is desirable to develop coating surfaces that reduce the pressure and have a low modulus of elasticity [55].

7. Wake Modeling in WFs

To satisfy the increasing demand of renewable energy, a cluster of WTs is formed in a WF. As the number of WTs increases, optimum space utilization and energy maximization is one of the main tasks of WFs. The efficiency of a WF depends on the layout or spacing between the WTs. A WT extracts wind’s kinetic energy and converts it into mechanical energy. During this process, the WT reduces the wind speed behind the rotor, which creates a wind shadow or wakes effect, as shown in Figure 9. Due to the wake effect, the downstream WTs receive wind with lower speed and higher turbulence level, which reduces the energy yield [83]. In Figure 10, u o is the direction of wind, T 1 to T 7 are WT locations, and it is clear that the downstream WTs receive modified wind; hence, it affects the energy yield. The wake effect reduces overall wind power generation, and hence, it is important to analyze the effect. To control wake shadow and increase the WF output, wake models were developed in the literature. These models are categorized as analytical and computational wake models. The wind velocity in the wake is modeled using a set of analytical expressions in the analytical models. Fluid flow equations are solved for wake velocity in computational wake models [73]. The parameters that influence the wake effect are WF size and layout, number and size of WTs, wind speed and direction, and turbine blade design [84]. General impacts of the wake generated by WTs are a mechanical failure, extra maintenance cost, and reduction in power. In this context, several studies have been conducted that describe the wake effect, related parameters, and approaches to increase efficiency and energy production of WTs.
Energy production in WFs can be maximized by designing a suitable wake model that plans control strategies and turbine spacing and predicts the fatigue load and turbine performance. The Technical University of Denmark has developed six wake modeling approaches. They were reviewed in [74]. Each model has a different complexity level, and they were compared in [74] using common data from Sexbierum (onshore) and the Lillgrund (offshore) WF. The data from both farms were analyzed, and it was shown that three wake models, i.e., the Jensen model, the Larsen model, and Fuga, are robust and computationally efficient and hence are suitable for large WFs. It was also concluded that the power prediction accuracy of these three models for offshore farms increases with the introduction of wind direction uncertainty.
Review work on the analysis of wake effect level segmentation on the using clustering methods was reported in [75]. Well-known clustering methods such as K-means, K-medoids and fuzzy c-means were used in this analysis. These clustering methods are used to segment the wake effect level into ten different wake effect clusters. Each cluster or wake effect level corresponds to a different energy production level. It was shown that the K-medoids algorithm is more suitable for wake effect level segmentation than other clustering methods.
It is important to understand that improper layout incurs wake losses and also reduces the farm’s power production. WF layout optimization (WFLO) analyses the effect of change of WT positions on the power production and suggests an optimal layout. Review work in [73] compared far wake models and reported analyses of Jensen’s far wake model for different optimization techniques. It has been observed that due to simplicity and a high degree of accuracy, Jensen’s far wake model is more suitable for wake modeling. The WFLO is an optimization problem with various financial and engineering objectives and constraints that provides the layout design. Based on the characteristics of the problem and the number of constraints, the WFLO is an NP-hard problem [86,87] and it tries to balance a trade-off between farm layout and energy production. The analysis in [73] suggested that non-uniform layout designs are suitable as they produce more energy compared to uniform ones. Similarly, optimum spacing between WTs (for example, Figure 11) is a crucial parameter to reduce the impact of wake effect on wind power generation as discussed in [76].
Incorporation of wind direction uncertainty in the prediction models comprises the future scope of wake modeling. The performance of wake models can be improved by the introduction of large-sized data and data related to the inflow [74].

8. WT Control

As the contribution of wind power in the energy market is growing, there is a requirement of maintaining a constant output electrical frequency to have regulated supply like conventional generating units for stable operation. Castellani et al. [58] focused on the review of the requirements set by grid codes according to the different countries, and also on control methods of WTs for their participation in primary frequency control and synthetic inertia. The current grid in European countries like UK and Ireland considers the primary frequency control strategy. They require WT not to draw maximum power from wind and instead to operate WTs to ramp up or down the output in the event of frequency fluctuation, while German grid just reduces the power injection in WTs in the case of excess frequency. The paper concluded that two methods of reloading WTs, viz. pitching and an overspeeding, best fit in achieving non-optimal working point concerning power extraction from the wind. The current schemes are best suited for low as well as high wind speed, but still, further research is required considering the additional stresses on the system components. Further, ref. [59] reviewed several inertia and frequency control techniques proposed for variable speed WTs and solar PV generators.
In recent years, power systems have been becoming more dynamic with the integration of wind power, and it demands modification in the conventional control algorithms. A small amount of inertia is offered by the renewable energy power plants connected to the grids through the power electronics interface. As the inertia depends on the total rotating masses connected to the grid, the advanced power system needs spinning reserves for compensation of inertia to maintain system stability. Various concepts in inertia control, their evolution with years, and damping values were investigated in detail in [60], along with the RES frequency control strategies. Traditional generation systems of different countries and regions were also studied for their inertia constant values according to the technology and power rating.
WTs are normally connected to the main power grid to utilize the available wind energy to the maximum level but provide less or no inertia as they are electromagnetically decoupled from the remaining power system, unlike traditional synchronous generators, which work in synchronization to grids. Inertia control is helpful against the power imbalance in odd events like generator failure, or load connection, and hence provides a system with higher stability. Such odd events also result in the fluctuation in the frequency; thus, inertia control is of utmost importance. In [61], the authors discussed the latest strategies and research done in recent years on the frequency control mechanisms used in the wind power integrated systems. Studies show that most of the strategies work on WT’s operating point, and they generally come under the primary frequency control. The frequency control mechanisms are divided into two categories, viz. the temporary and persistent energy reserves, where temporary energy reserves deal with releasing kinetic energy instantaneously from the rotating masses at the optimal operating point, whereas persistent deals with de-loading control at the suboptimal operating point. The temporary scheme involves strategies like synthetic inertia control, droop control, and fast energy reserve control, and the persistent scheme involves pitch angle and rotor speed control. Moreover, the paper shed light on the merits and demerits of the existing frequency control approaches, secondary frequency dips control, and control schemes in inertia energy systems (IESs). As the WTs cannot compensate the frequency at low wind speed, in this case, battery storage systems integrated with wind power along with frequency control strategies can be a great alternative in blackout caused by frequency events. More attention ought to be paid to enhance the current frequency control strategies and their performance in non-ideal conditions.
Fault detection is another crucial application that can be categorized into the WT control if it is detected through some controlling actions. Kamel [62] presented a survey about FRT techniques and controllers that employed all wind generation systems running in an isolated micro-grid and studied its effects of fault type on their performance. In addition, Moghadasi et al. [63] presented a comprehensive review of various techniques employed to enhance the LVRT capability of the fixed-speed induction generators (FSIGs)-based WTs, which has a non-negligible 20% contribution of the existing wind energy in the world. A similar review and comparison of several LVRT capability enhancement methods were performed in [64].
An efficient and economical WT system is desirable for the WF owner, and it can be realized with advanced control techniques. The widespread application of power from renewable fuel wind demands further technological development in the control methods for improvement in the design. Menezes et al. [88] have discussed various WT control strategies in the literature that involve WT generator torque control and Maximum Power Point Tracking (MPPT) strategies, pitch control, and grid integration control so that researchers can consider it as starting point for further study. The paper begins with a description of the control objectives to determine the moment of operation of different control methods for different operational regions based on the wind speed in that region. To maximize power production, generator torque control sets specific rotor speed, and for this, different MPPT strategies are utilized. There are various MMPT strategies discussed such as optimal torque control (OTC), which works on quadratic law based on rotor speed; power signal feedback (PSF), using power closed-loop control; Hill-climb search (HCS), which works on the iterative approach between speed and power and requires very low knowledge of WT’s characteristics; and latest robust and non-linear Sliding mode control (SMC) method, to maximize energy capture. Following this, pitch control methods are explored in the next section, which supports the improvement of aerodynamic efficiency by changing the pitch angle of WT’s blades to have effective wind flow. The collective pitch control (CPC) method relies on the PID (proportional-integral-derivative) control law, with rotor speed variation being the error signal for the closed-loop control, and the individual pitch control (IPC) method aims to adjust the pitch angle for blade root moment or damping structural modes reduction. In addition to that, grid integration control is briefly discussed, which is responsible for maintaining power quality and system stability for better frequency regulation, which depends on the nature of wind. Finally, recent development like LIDAR technology, Model Predictive Control (MPC), and applications of the smart rotor in WT control are investigated for their use in the sustainable energy future.
The growing demand for wind energy has resulted in the scaling up in the size and power rating of turbines. Due to this increase in size, there is also an increase in the structural load on the turbine components, which can cause early failure. On the other hand, the production cost of the energy should be such that it acts as competitive to other energy sources. Operating the WTs at optimum efficiency in a low load regime, providing less damage to the system and rated value generation in high wind regime, can achieve both the above objectives. State-of-the-art multi-objective control schemes are elaborated in [14] in order to perform reliable as well as efficient operation of WTs. First, standard control techniques such as generator torque control and collective pitch angle are discussed in detail. The generator torque control works at optimum power efficiency by tracking wind speed to accelerate or decelerate the rotors to maximize power production. The collective pitch control method regulates the generated power around rated value to avoid structural loads. Furthermore, innovative and advanced control techniques in the literature have been explored to overcome the demerits of standard control methods, which involve control methods to perform power/speed regulation and load mitigation, such as classical methods, disturbance observer-based controllers, multi-variant robust control, multi-objective, and model predictive approaches. The paper further investigates control methods to optimize the power production at low wind speed regions, load reduction controls to minimize the vibrational stress on the system, and emerging trends, development, and social issues affecting the control of WTs.
Simley et al. [89] shed light on the optimization of LIDARs for application in wind control along with results of the workshop considering theoretical as well as the practical aspects. Starting with barriers in the use of LIDAR for control, taking into account their reliability and availability, the paper talks about the mitigation techniques to remove those barriers. Next, the LIDAR scan pattern optimization is performed to calculate the mean square error between effective rotor speed wind of interest and the measurements using different frequency-domain methods, which are based on the model of the stochastic wind field. These methods are also applied to the scan patterns of continuous wave and pulse Doppler for optimization purposes. The paper further overviews different useful design choices of rotor speed regulation based on the LIDAR-assisted pitch controllers. In the end, the theoretical performance of rotor speed regulation that is predicted by the frequency domain model is obtained using the LIDAR-assisted control mechanism via time-domain simulations on the optimized scan pattern measurements.
Future research in WT control can be focused on considering the effects of the fatigue life of WT components on power performance. Since the electric frequency from the power system generators tells about the health and stability of the system, there is a need to develop new and better standards for the efficient measurement of stability. The next-generation of grid-forming inverters should be developed, which will take into account the compatibility of existing as well as future power systems and operability. The modern power system should consider the development of advanced communication systems to monitor, control, and protect system components and improve the system operation by pointing out the malfunction, by using faster communication. The development of new wide-area frequency control techniques to handle frequency response of low inertia systems along with the improvement of the technical capabilities and interfaces containing protocols for communication and micro-sitting configurations are needed. It is expected that future IESs will open mechanisms for supporting frequency stability and contributing to challenges related to decreased/variable power system inertia [61].

9. Other Issues with WTs and WFs

9.1. WT Installations

In [65], a review of the installation process of gravity-based support structures for offshore WT generators was performed. As per the authors, support structures and foundations such as steel monopiles, gravity-based structures (GBS), jackets, and tripods were considered of utmost importance for the development of future offshore WTs. Gravity-based structures for the installation of offshore WTs were proved to be the best solution, but their use is still limited in most countries. The paper analyzed and identified the different methods and processes for GBS support structures used in offshore WTs, such as finding a suitable location for manufacturing and installation of support structures. Usually, the manufacturing location is selected on the basis of the weight and number of support structures, requirements for the load-out, transport and installation process, space in the port, etc. Conventional GBS support structures require the seabed preparation for the installation, which constitutes the main drawback of these structures, but it can be overcome with skirted GBS support structures.
The technical issues and factors that should be considered during the design of the WFs were discussed in [66]. The authors reviewed the different techniques for the installation of WTs, which included the assessment of wind energy sources, environmental factors, grid integration factors, and control strategies. The assessment of wind energy sources selection involves the process of understanding the wind power potential, suitable site selection, and estimating wind energy production. However, control strategies help in the reduction of noise and vibration and capturing maximum power from the system. The paper also discussed the impact of the behavior of offshore WTs on energy production, hybrid energy technologies for the load requirement, hydrogen production techniques for the world’s energy requirement, and feed-in tariff mechanism. Moreover, modeling of WT components like generators reduces failure risk through smooth and reliable operation, and also improves the performance of the system. The methods and discussion in this review can help WT planners, designers, policymakers, and components manufacturers improve the technology in the near future.

9.2. WT Life

Most WTs will complete their lifetime in the next few years, as 25 years is assumed to be the basic service life; hence, it is necessary to extend their lifespan for efficient operation and to have profitable investment from the electricity production. Luengo and Kolios [22] reviewed the different failure mode identification methods and processes for offshore WTs and end-of-life solutions to tackle the problem. To perform the failure mode identification, the Ws system is broken down into main components like rotor and blades, gearbox, pitch control system, generators, power electronics, towers, and foundations, after which inspection is done to find out any failures or faults in each components bearing their connection with each other. The review also focused on the three end-of-life scenarios for offshore WTs such as life extension, repowering, and decommissioning, which considers the quality of inspection, current energy production, factors affecting the operation, and maintenance cost of WTs to find an efficient solution. As per the author’s point of view, life extension is the best solution for the end-of-life of WTs, as it offers more profit to the farm owner than the other two end-of-life scenarios.
Reliability assessment of WTs is challenging as well as complex to perform due to the inflexible components, dynamic characteristics, offshore site conditions, non-linearity in the system, and absence of sufficient reliability data. Leimeister and Kolios [67] presented a review as well as classification of different reliability-based methods for the analysis of risks due to unreliability in engineering design and management of assets, and along with that, their applications specifically in the offshore wind industry were also discussed in their paper. These methods were differentiated into the qualitative and quantitative categories as well as in semi-quantitative in some cases, based on their utilization and commonly applied theories. Moreover, qualitative and semi-quantitative reliability assessment methods are classified into sheet-based, table-based, and diagrammatic approaches, including failure mode analyses, tree, and diagrammatic analyses, and hazard analyses. In the same way, the techniques in the quantitative assessment were clustered into analytical, stochastic, multivariate, and some sophisticated methods. In addition to that, Bayesian methods, reliability-based design optimization schemes, fuzzy logic, and data pooling strategies are getting a higher place in reliability assessment of offshore and marine renewable energy assets. Future research will have to involve the amalgamation of the different approaches to building complex, flexible, and efficient tools for fully analyzing the offshore WT system.

9.3. WT Manufacturing

As a developing country, China is working on the production of a green, safe and efficient energy system. The wind power industry is dynamically increasing due to its advantages, and hence it demands the development of WT components manufacturing industries. A detailed report of WT manufacturing was discussed in [68]. Further, in [69], the authors discussed the spatial patterns and influencing factors of China’s WT manufacturing industry. China’s WT manufacturing is based on the complete “production, marketing, transportation, installation, operation and management, maintenance and overhaul” industrial chain. The enterprises show a multi-point scattered spatial distribution, even though they own many bases. To fill the gap between the transportation, industry base, and manufacturing enterprises, different strategies are being employed in different parts of China. According to the research, local equipment manufacturing firms have established WT manufacturing companies in the same city, foreign companies are located in cities with strong manufacturing infrastructure, and subsidiary companies are located near WFs. Finally, the authors concluded that the location of the manufacturing industry depends on the availability of wind sources at that location, industrial base, local government support, subsidiaries, regional economic openness and market, and labor capabilities, and to have sustainable development, companies need not invest blindly but look for innovation in manufacturing.

9.4. CFD Simulation Techniques in WTs

Due to their simplicity of structure and small size, Darrieus VAWT demand is increasing in the urban environment to harvest the wind energy efficiently; further, VAWTs also possess salient features such as wind direction independence, high wind withstand, no yaw mechanism, less noise, low maintenance, and cost-effectiveness. Masoud et al. [71] reviewed different CFD simulation techniques that have been employed in the recent literature to modify and optimize blade profile and to enhance the performance of Darrieus vertical axis WTs by considering points such as wake interaction, reduction of aerodynamic noise, dynamic control of stall, and effects of fluctuating WCs. First, the paper presented the guidelines and recommendations for accurate and reliable CFD simulations to model turbulence, to discretize the spatial and temporal domain, and to perform numerical schemes and algorithms. Further, effects of the geometrical and operating parameters like tip speed ratio, blade number, wind speed, and blade shapes are thoroughly elaborated along with the applications of the CFDs in the VAWTs.
The wind energy trend is increasing rapidly due to the higher cost of energy from fossil fuels and also advancement in the technology and manufacturing of WTs, along with their security and environment-friendly aspects. Optimization and simulation methods play a vital role in the improvement of WT systems and accurate prediction of wind power. The paper [72] reviewed the available CFD technologies used for the simulation of micro to small WTs as well as turbines in buildings and WFs. It also investigated the limitations, issues, and future work in modeling wind energy systems. Over the years, most of the numerical models have shown better and better aerodynamic performance prediction. Some of them are SST, k-epsilon, or Spalart–Allmaras models, LES, detached eddy simulation (DES), and Reynolds Stress Transport models, but the computation cost and complex nature make them unreliable. Small-scale WTs use BEM theory for the design of blades and calculation of the forces acting on them. RANS models are widely used for their simplicity and effectiveness in the performance estimation in WTs built over the roof of buildings, but unsteady and transient simulations through RANS needs further research. CFD methods are useful in predicting speed, turbulence, direction of the wind, and effects of nearby structures on the performance of WTs built over buildings. LES simulations are superior to the RANS in predicting flow around the buildings but require high computation. However, integration of CFD methods with the experimental measurement at field or tunnels shows a significant increase in the wind power assessment in variant WCs. For large WFs, current approaches can capture sufficient wake width and reduction in power production, while location assessment through them can be helpful for the prediction of later behavior of WTs. CFD methods such as actuator line and actuator disk are useful in determining the wake occurrence and interaction with complex terrain, but their expensive computation inhibits their use in every situation. LES is preferable for the wake interactions but is not useful in the layout optimization of WFs, and hence, further research in layout optimization of the WF is required for the effective measurement of turbulence intensity and velocity profiles over the large complex terrain. Future research requires the reduction in computation resources, optimization in simulation methods, and estimation of production in complex terrain.

9.5. Weibull Functions in the Wind Sector

The performance of the WTs and the estimated wind energy at specified locations depends on the selection of wind speed distribution models. Wais [70] analyzed the application of two-parameter and three-parameter Weibull distribution models in estimating the wind energy from the literature. Based on the analysis, it was reported that the two-parameter Weibull distribution, a widely used model in the wind energy industry, may not be sufficient in all the cases to specify the wind energy distribution and in estimating the available wind power. It was also observed that using the third parameter (location parameter), the three-parameter Weibull distribution model (which takes into consideration the frequency of null winds), found suitable in cases where there are high-frequency null wind speeds in selecting the site for WT plant.

10. Discussion

A survey of literature regarding state-of-the-art reviews about different wind-energy-related topics has been presented in this paper. The approach has not consisted of comparing results offered by different works, but simply searching in the literature, collecting them, and explaining what the different authors who devoted their time to review different topics have found out about the most interesting contributions until now.
With the aim of achieving the goal of the paper, a classification has been presented about different topics. It has been conditioned by the kind of reviews found in the literature. These main topics can be consulted in Table 1.
Research reviews have been found mainly about optimization of WT performance, WT health and condition monitoring, WT aerodynamics, power curves and modeling in WFs, control of WTs, WT manufacturing and life, CFD simulation tecnniques, and Weibull distributions.
Wind energy is going to continue being very necessary. There does not seem to be any future energy mix scenario across the world without considering its injection into electrical power networks. This means its development is, for sure, very far from being finished nowadays. New research will be carried out, and this will bring many new research papers and, as a consequence, more specialized reviews.
What has been expressed in the previous paragraph also means that this paper is not definitive; e.g., Table 1 is modifiable. Future similar publications should, on the one hand, deepen all subjects commented here, and on the other, surely add some other categories in the classification, which means that Table 1 is not only modifiable, but also expandable in number of subjects and papers.
Examples of subjects about which possible reviews can be done in the future are the following:
  • Repowering of WFs. Many of the WFs around the world have finished their life or are close to it. There are decisions to be made by the stakeholders with all these infrastructures. One of the possibilities is repowering, and the different solutions found will surely give rise to new review works.
  • WF power curves. Although some review works about WT power curves have been discussed, there is an important topic to be researched, such as the topic of WF power curves. WT power curves are generally obtained by manufacturers in laboratory conditions. How they work in a WF is a different thing, and how the complete WF operates is something that is investigated and will continue, as it depends on many conditions.
  • New models of WTs. This line of investigation does not only refers to whether horizontal or vertical WTs must be installed. Furthermore, the types of generators and electronic devices included in their designs will evolve in the future and, surely, new research works about all this will be published.
  • Energy storage. Wind energy is variable, as it depends on weather conditions, and it cannot be directly stored. Therefore, works about how to store it are expected to be developed. The possibility of combining pumping stations present in basins and wind energy generation and the optimization of the operating conditions represent interesting challenges.
  • Energy independency and WFs. For many countries, renewables and, in particular, wind energy, are undoubtedly an opportunity for reaching a higher degree of energy independency. This has the potential to influence energy policies and even international relationships. Perhaps this cannot be considered a technical topic, but its importance will be investigated as well.
  • Energy and environment. Although wind energy is one of the so-called renewables, its impact on environment is not null. It has its positive aspects and its supporters, but it has also its detractors and possible negative points. How to balance them or how to reinforce its positive contributions is something of extreme importance for the planet. Surely, some discussion and research works will arise about this in upcoming years.

Author Contributions

Conceptualization, N.D.B.; methodology, M.S., S.T., A.P.R. and N.D.B.; formal analysis, M.S., S.T., A.P.R., A.E.F.-L. and N.D.B.; investigation, M.S., S.T., A.P.R., A.E.F.-L. and N.D.B.; resources, A.E.F.-L. and N.D.B.; data curation, M.S., S.T., A.P.R. and N.D.B.; writing—original draft preparation, M.S., S.T., A.P.R., A.E.F.-L. and N.D.B.; writing—review and editing, M.S., A.E.F.-L. and N.D.B.; visualization, M.S. and N.D.B.; supervision, A.E.F.-L. and N.D.B.; project administration, N.D.B.; funding acquisition, A.E.F.-L. and N.D.B. All authors have read and agreed to the published version of the manuscript.

Funding

This research received no external funding.

Institutional Review Board Statement

Not applicable.

Informed Consent Statement

Not applicable.

Data Availability Statement

Not applicable.

Conflicts of Interest

The authors declare no conflict of interest.

Abbreviations

The following abbreviations are used in this manuscript:
R 2 R-square
3D3 dimensional
ABLatmospheric boundary layer
ACOant colony optimization
AIartificial intelligence
ANFISadaptive neuro-fuzzy inference system
ANNartificial neural network
AWESairborne wind energy system
BEMblade element momentum
CAWTconcentrator augmented wind turbines
CFDcomputational fluid dynamic
CMcondition monitoring
CMA-EScovariance matrix adaptation evolution strategy
CMScondition monitoring systems
CPCcollective pitch control
DESdetached eddy simulation
DFIGdoubly fed induction generators
DLRdynamic line rating
EEWSestimation of effective wind speed
EMengineering models
EOLend of life
FRTfault ride-through
FSIGfixed-speed induction generators
GAgenetic algorithm
GBAgradient-based approach
GBSgravity-based structures
HAWThorizontal-axis wind turbines
HCShill climb search
HREShybrid renewable energy system
HRLMhybrid RANS-LES method
IESinertia energy system
IPCIndividual pitch control
ISMCintegral sliding mode control
LESlarge eddy simulations
LVRTlow voltage ride through
MGmicrogrid
MLmachine learning
MPCmodel Predictive Control
MPPTmaximum Power Point Tracking
NDTnon-destructive testing
NNneural network
NRMSEnormalized root mean square error
NSETanoparticle surface-energy transfer
O&Mobservations and Measurements
OTCoptimal torque control
PIDproportional integral-derivative
PSFpower signal feedback
PSOparticle swarm optimization
RANSReynolds-Averaged Navier Stokes
ROIreturn on investment
SAsimulated annealing
SCADAsupervisory control and data acquisition
SGSsub-grid scales
SHMstructural health monitoring
SMC       Sliding mode control
SPEAstrength pareto evolutionary algorithm
SSMSGS stress model
SSTsuspended sediment transport
SVMsupport vector machine
TSRtip speed ratio
VAWTvertical axis wind turbines
WECwind energy converters
WFwind farm
WFAwind farm aerodynamics
WFLOwind farm layout optimization
WTWind turbine
WTPCwind turbine power curves

References

  1. Bokde, N.; Feijóo, A.; Villanueva, D.; Kulat, K. A review on hybrid empirical mode decomposition models for wind speed and wind power prediction. Energies 2019, 12, 254. [Google Scholar] [CrossRef]
  2. Tripathi, S.; Tiwari, A.; Singh, D. Grid-integrated permanent magnet synchronous generator based wind energy conversion systems: A technology review. Renew. Sustain. Energy Rev. 2015, 51, 1288–1305. [Google Scholar] [CrossRef]
  3. Zhao, H.; Wu, Q.; Hu, S.; Xu, H.; Rasmussen, C.N. Review of energy storage system for wind power integration support. Appl. Energy 2015, 137, 545–553. [Google Scholar] [CrossRef]
  4. Bokde, N.D.; Tranberg, B.; Andresen, G.B. Short-term CO2 emissions forecasting based on decomposition approaches and its impact on electricity market scheduling. Appl. Energy 2021, 281, 116061. [Google Scholar] [CrossRef]
  5. Bokde, N.; Tranberg, B.; Andresen, G.B. A graphical approach to carbon-efficient spot market scheduling for Power-to-X applications. Energy Convers. Manag. 2020, 224, 113461. [Google Scholar] [CrossRef]
  6. Wang, J.; Song, Y.; Liu, F.; Hou, R. Analysis and application of forecasting models in wind power integration: A review of multi-step-ahead wind speed forecasting models. Renew. Sustain. Energy Rev. 2016, 60, 960–981. [Google Scholar] [CrossRef]
  7. Hu, H.; Wang, L.; Lv, S.X. Forecasting energy consumption and wind power generation using deep echo state network. Renew. Energy 2020, 154, 598–613. [Google Scholar] [CrossRef]
  8. Bokde, N.D.; Yaseen, Z.M.; Andersen, G.B. ForecastTB—An R package as a test-bench for time series forecasting—Application of wind speed and solar radiation modeling. Energies 2020, 13, 2578. [Google Scholar] [CrossRef]
  9. Zhang, Y.; Tang, N.; Niu, Y.; Du, X. Wind energy rejection in China: Current status, reasons and perspectives. Renew. Sustain. Energy Rev. 2016, 66, 322–344. [Google Scholar] [CrossRef]
  10. Peste, F.; Paula, A.; da Silva, L.P.; Bernardino, J.; Pereira, P.; Mascarenhas, M.; Costa, H.; Vieira, J.; Bastos, C.; Fonseca, C.; et al. How to mitigate impacts of wind farms on bats? A review of potential conservation measures in the European context. Environ. Impact Assess. Rev. 2015, 51, 10–22. [Google Scholar] [CrossRef]
  11. Chehouri, A.; Younes, R.; Ilinca, A.; Perron, J. Review of performance optimization techniques applied to wind turbines. Appl. Energy 2015, 142, 361–388. [Google Scholar] [CrossRef]
  12. González, J.S.; Payán, M.B.; Santos, J.M.R.; González-Longatt, F. A review and recent developments in the optimal wind-turbine micro-siting problem. Renew. Sustain. Energy Rev. 2014, 30, 133–144. [Google Scholar] [CrossRef]
  13. Muskulus, M.; Schafhirt, S. Design optimization of wind turbine support structures—A review. J. Ocean Wind Energy 2014, 1, 12–22. [Google Scholar]
  14. Njiri, J.G.; Söffker, D. State-of-the-art in wind turbine control: Trends and challenges. Renew. Sustain. Energy Rev. 2016, 60, 377–393. [Google Scholar] [CrossRef]
  15. Shourangiz-Haghighi, A.; Haghnegahdar, M.A.; Wang, L.; Mussetta, M.; Kolios, A.; Lander, M. State of the art in the optimisation of wind turbine performance using CFD. Arch. Comput. Methods Eng. 2020, 27, 413–431. [Google Scholar] [CrossRef]
  16. Al-Falahi, M.D.; Jayasinghe, S.; Enshaei, H. A review on recent size optimization methodologies for standalone solar and wind hybrid renewable energy system. Energy Convers. Manag. 2017, 143, 252–274. [Google Scholar] [CrossRef]
  17. Astariz, S.; Iglesias, G. Enhancing wave energy competitiveness through co-located wind and wave energy farms. A review on the shadow effect. Energies 2015, 8, 7344–7366. [Google Scholar] [CrossRef]
  18. Herbert-Acero, J.F.; Probst, O.; Réthoré, P.E.; Larsen, G.C.; Castillo-Villar, K.K. A review of methodological approaches for the design and optimization of wind farms. Energies 2014, 7, 6930–7016. [Google Scholar] [CrossRef]
  19. Kandukuri, S.T.; Klausen, A.; Karimi, H.R.; Robbersmyr, K.G. A review of diagnostics and prognostics of low-speed machinery towards wind turbine farm-level health management. Renew. Sustain. Energy Rev. 2016, 53, 697–708. [Google Scholar] [CrossRef]
  20. Martinez-Luengo, M.; Kolios, A.; Wang, L. Structural health monitoring of offshore wind turbines: A review through the Statistical Pattern Recognition Paradigm. Renew. Sustain. Energy Rev. 2016, 64, 91–105. [Google Scholar] [CrossRef]
  21. Tchakoua, P.; Wamkeue, R.; Ouhrouche, M.; Slaoui-Hasnaoui, F.; Tameghe, T.A.; Ekemb, G. Wind turbine condition monitoring: State-of-the-art review, new trends, and future challenges. Energies 2014, 7, 2595–2630. [Google Scholar] [CrossRef]
  22. Luengo, M.M.; Kolios, A. Failure mode identification and end of life scenarios of offshore wind turbines: A review. Energies 2015, 8, 8339–8354. [Google Scholar] [CrossRef]
  23. Leite, G.d.N.P.; Araújo, A.M.; Rosas, P.A.C. Prognostic techniques applied to maintenance of wind turbines: A concise and specific review. Renew. Sustain. Energy Rev. 2018, 81, 1917–1925. [Google Scholar] [CrossRef]
  24. Li, D.; Ho, S.C.M.; Song, G.; Ren, L.; Li, H. A review of damage detection methods for wind turbine blades. Smart Mater. Struct. 2015, 24, 033001. [Google Scholar] [CrossRef]
  25. Liu, W.; Tang, B.; Han, J.; Lu, X.; Hu, N.; He, Z. The structure healthy condition monitoring and fault diagnosis methods in wind turbines: A review. Renew. Sustain. Energy Rev. 2015, 44, 466–472. [Google Scholar] [CrossRef]
  26. Tautz-Weinert, J.; Watson, S.J. Using SCADA data for wind turbine condition monitoring—A review. IET Renew. Power Gener. 2016, 11, 382–394. [Google Scholar] [CrossRef]
  27. Yang, W.; Tavner, P.J.; Crabtree, C.J.; Feng, Y.; Qiu, Y. Wind turbine condition monitoring: Technical and commercial challenges. Wind Energy 2014, 17, 673–693. [Google Scholar] [CrossRef]
  28. Stetco, A.; Dinmohammadi, F.; Zhao, X.; Robu, V.; Flynn, D.; Barnes, M.; Keane, J.; Nenadic, G. Machine learning methods for wind turbine condition monitoring: A review. Renew. Energy 2019, 133, 620–635. [Google Scholar] [CrossRef]
  29. Ziegler, L.; Gonzalez, E.; Rubert, T.; Smolka, U.; Melero, J.J. Lifetime extension of onshore wind turbines: A review covering Germany, Spain, Denmark, and the UK. Renew. Sustain. Energy Rev. 2018, 82, 1261–1271. [Google Scholar] [CrossRef]
  30. Reyes, V.; Rodriguez, J.; Carranza, O.; Ortega, R. Review of mathematical models of both the power coefficient and the torque coefficient in wind turbines. In Proceedings of the 2015 IEEE 24th International Symposium on Industrial Electronics (ISIE), Buzios, Brazil, 3–5 June 2015; pp. 1458–1463. [Google Scholar]
  31. Malliou, C.P.; Karlis, A.; Danikas, M.G.; Lloyd, B. The effect of water droplets and salinity on the offshore wind turbines windings insulation: A short review. In Proceedings of the 2015 IEEE Industry Applications Society Annual Meeting, Addison, TX, USA, 18–22 October 2015; pp. 1–7. [Google Scholar]
  32. Malliou, C.P.; Karlis, A.D.; Danikas, M.G.; Lloyd, B. A short review on the offshore wind turbine generator windings’ insulation and the effect of water droplets and salinity. IEEE Trans. Ind. Appl. 2016, 52, 4610–4618. [Google Scholar] [CrossRef]
  33. Alhmoud, L.; Wang, B. A review of the state-of-the-art in wind-energy reliability analysis. Renew. Sustain. Energy Rev. 2018, 81, 1643–1651. [Google Scholar] [CrossRef]
  34. Chen, J.; Yang, H.; Yang, M.; Xu, H.; Hu, Z. A comprehensive review of the theoretical approaches for the airfoil design of lift-type vertical axis wind turbine. Renew. Sustain. Energy Rev. 2015, 51, 1709–1720. [Google Scholar] [CrossRef]
  35. Fernandez, E.; Albizu, I.; Bedialauneta, M.; Mazon, A.; Leite, P. Review of dynamic line rating systems for wind power integration. Renew. Sustain. Energy Rev. 2016, 53, 80–92. [Google Scholar] [CrossRef]
  36. Jena, D.; Rajendran, S. A review of estimation of effective wind speed based control of wind turbines. Renew. Sustain. Energy Rev. 2015, 43, 1046–1062. [Google Scholar] [CrossRef]
  37. Knudsen, T.; Bak, T.; Svenstrup, M. Survey of wind farm control—Power and fatigue optimization. Wind Energy 2015, 18, 1333–1351. [Google Scholar] [CrossRef]
  38. Ngamroo, I. Review of DFIG wind turbine impact on power system dynamic performances. IEEJ Trans. Electr. Electron. Eng. 2017, 12, 301–311. [Google Scholar] [CrossRef]
  39. Tohidi, S.; Behnam, M.I. A comprehensive review of low voltage ride through of doubly fed induction wind generators. Renew. Sustain. Energy Rev. 2016, 57, 412–419. [Google Scholar] [CrossRef]
  40. Zhou, H.; Dou, H.; Qin, L.; Chen, Y.; Ni, Y.; Ko, J. A review of full-scale structural testing of wind turbine blades. Renew. Sustain. Energy Rev. 2014, 33, 177–187. [Google Scholar] [CrossRef]
  41. Mehta, D.; Van Zuijlen, A.; Koren, B.; Holierhoek, J.; Bijl, H. Large Eddy Simulation of wind farm aerodynamics: A review. J. Wind Eng. Ind. Aerodyn. 2014, 133, 1–17. [Google Scholar] [CrossRef]
  42. Rezaeiha, A.; Kalkman, I.; Blocken, B. A short review of recent research activities for characterization of aerodynamic optimization of vertical axis wind turbines. In Proceedings of the International Conference On Wind Energy Harvesting (WINERCOST’17), Coimbra, Portugal, 20–21 April 2017; pp. 370–374. [Google Scholar]
  43. Bai, C.J.; Wang, W.C. Review of computational and experimental approaches to analysis of aerodynamic performance in horizontal-axis wind turbines (HAWTs). Renew. Sustain. Energy Rev. 2016, 63, 506–519. [Google Scholar] [CrossRef]
  44. Karabacak, K.; Cetin, N. Artificial neural networks for controlling wind–PV power systems: A review. Renew. Sustain. Energy Rev. 2014, 29, 804–827. [Google Scholar] [CrossRef]
  45. Thé, J.; Yu, H. A critical review on the simulations of wind turbine aerodynamics focusing on hybrid RANS-LES methods. Energy 2017, 138, 257–289. [Google Scholar] [CrossRef]
  46. Du, L.; Ingram, G.; Dominy, R.G. A review of H-Darrieus wind turbine aerodynamic research. Proc. Inst. Mech. Eng. Part C J. Mech. Eng. Sci. 2019, 233, 7590–7616. [Google Scholar] [CrossRef]
  47. Carrillo, C.; Montaño, A.O.; Cidrás, J.; Díaz-Dorado, E. Review of power curve modelling for wind turbines. Renew. Sustain. Energy Rev. 2013, 21, 572–581. [Google Scholar] [CrossRef]
  48. Lydia, M.; Kumar, S.S.; Selvakumar, A.I.; Kumar, G.E.P. A comprehensive review on wind turbine power curve modeling techniques. Renew. Sustain. Energy Rev. 2014, 30, 452–460. [Google Scholar] [CrossRef]
  49. Goudarzi, A.; Davidson, I.E.; Ahmadi, A.; Venayagamoorthy, G.K. Intelligent analysis of wind turbine power curve models. In Proceedings of the 2014 IEEE Symposium on Computational Intelligence Applications in Smart Grid (CIASG), Orlando, FL, USA, 9–12 December 2014; pp. 1–7. [Google Scholar]
  50. Sohoni, V.; Gupta, S.; Nema, R. A critical review on wind turbine power curve modelling techniques and their applications in wind based energy systems. J. Energy 2016, 2016, 8519785. [Google Scholar] [CrossRef]
  51. Bandi, M.M.; Apt, J. Variability of the wind turbine power curve. Appl. Sci. 2016, 6, 262. [Google Scholar] [CrossRef]
  52. Ouyang, T.; Kusiak, A.; He, Y. Modeling wind-turbine power curve: A data partitioning and mining approach. Renew. Energy 2017, 102, 1–8. [Google Scholar] [CrossRef]
  53. Villanueva, D.; Feijóo, A. Comparison of logistic functions for modeling wind turbine power curves. Electr. Power Syst. Res. 2018, 155, 281–288. [Google Scholar] [CrossRef]
  54. Astolfi, D.; Castellani, F.; Terzi, L. Wind turbine power curve upgrades. Energies 2018, 11, 1300. [Google Scholar] [CrossRef]
  55. Slot, H.; Gelinck, E.; Rentrop, C.; Van Der Heide, E. Leading edge erosion of coated wind turbine blades: Review of coating life models. Renew. Energy 2015, 80, 837–848. [Google Scholar] [CrossRef]
  56. Karthikeyan, N.; Murugavel, K.K.; Kumar, S.A.; Rajakumar, S. Review of aerodynamic developments on small horizontal axis wind turbine blade. Renew. Sustain. Energy Rev. 2015, 42, 801–822. [Google Scholar] [CrossRef]
  57. Rehman, S.; Alam, M.; Alhems, L.M.; Rafique, M.M. Horizontal axis wind turbine blade design methodologies for efficiency enhancement—A review. Energies 2018, 11, 506. [Google Scholar] [CrossRef]
  58. Díaz-González, F.; Hau, M.; Sumper, A.; Gomis-Bellmunt, O. Participation of wind power plants in system frequency control: Review of grid code requirements and control methods. Renew. Sustain. Energy Rev. 2014, 34, 551–564. [Google Scholar] [CrossRef]
  59. Dreidy, M.; Mokhlis, H.; Mekhilef, S. Inertia response and frequency control techniques for renewable energy sources: A review. Renew. Sustain. Energy Rev. 2017, 69, 144–155. [Google Scholar] [CrossRef]
  60. Fernández-Guillamón, A.; Gómez-Lázaro, E.; Muljadi, E.; Molina-García, Á. Power systems with high renewable energy sources: A review of inertia and frequency control strategies over time. Renew. Sustain. Energy Rev. 2019, 115, 109369. [Google Scholar] [CrossRef]
  61. Cheng, Y.; Azizipanah-Abarghooee, R.; Azizi, S.; Ding, L.; Terzija, V. Smart frequency control in low inertia energy systems based on frequency response techniques: A review. Appl. Energy 2020, 279, 115798. [Google Scholar] [CrossRef]
  62. Kamel, R.M. Three fault ride through controllers for wind systems running in isolated micro-grid and Effects of fault type on their performance: A review and comparative study. Renew. Sustain. Energy Rev. 2014, 37, 698–714. [Google Scholar] [CrossRef]
  63. Moghadasi, A.; Sarwat, A.; Guerrero, J.M. A comprehensive review of low-voltage-ride-through methods for fixed-speed wind power generators. Renew. Sustain. Energy Rev. 2016, 55, 823–839. [Google Scholar] [CrossRef]
  64. Nasiri, M.; Milimonfared, J.; Fathi, S. A review of low-voltage ride-through enhancement methods for permanent magnet synchronous generator based wind turbines. Renew. Sustain. Energy Rev. 2015, 47, 399–415. [Google Scholar] [CrossRef]
  65. Esteban, M.; Couñago, B.; López-Gutiérrez, J.; Negro, V.; Vellisco, F. Gravity based support structures for offshore wind turbine generators: Review of the installation process. Ocean Eng. 2015, 110, 281–291. [Google Scholar] [CrossRef]
  66. Herbert, G.J.; Iniyan, S.; Amutha, D. A review of technical issues on the development of wind farms. Renew. Sustain. Energy Rev. 2014, 32, 619–641. [Google Scholar] [CrossRef]
  67. Leimeister, M.; Kolios, A. A review of reliability-based methods for risk analysis and their application in the offshore wind industry. Renew. Sustain. Energy Rev. 2018, 91, 1065–1076. [Google Scholar] [CrossRef]
  68. Yuan, J.; Na, C.; Xu, Y.; Zhao, C. Wind turbine manufacturing in China: A review. Renew. Sustain. Energy Rev. 2015, 51, 1235–1244. [Google Scholar] [CrossRef]
  69. Fan, X.c.; Wang, W.q. Spatial patterns and influencing factors of China’s wind turbine manufacturing industry: A review. Renew. Sustain. Energy Rev. 2016, 54, 482–496. [Google Scholar] [CrossRef]
  70. Wais, P. A review of Weibull functions in wind sector. Renew. Sustain. Energy Rev. 2017, 70, 1099–1107. [Google Scholar] [CrossRef]
  71. Ghasemian, M.; Ashrafi, Z.N.; Sedaghat, A. A review on computational fluid dynamic simulation techniques for Darrieus vertical axis wind turbines. Energy Convers. Manag. 2017, 149, 87–100. [Google Scholar] [CrossRef]
  72. Calautit, K.; Aquino, A.; Calautit, J.K.; Nejat, P.; Jomehzadeh, F.; Hughes, B.R. A review of numerical modelling of multi-scale wind turbines and their environment. Computation 2018, 6, 24. [Google Scholar] [CrossRef]
  73. Shakoor, R.; Hassan, M.Y.; Raheem, A.; Wu, Y.K. Wake effect modeling: A review of wind farm layout optimization using Jensen’s model. Renew. Sustain. Energy Rev. 2016, 58, 1048–1059. [Google Scholar] [CrossRef]
  74. Göçmen, T.; Van der Laan, P.; Réthoré, P.E.; Diaz, A.P.; Larsen, G.C.; Ott, S. Wind turbine wake models developed at the technical university of Denmark: A review. Renew. Sustain. Energy Rev. 2016, 60, 752–769. [Google Scholar] [CrossRef]
  75. Al-Shammari, E.T.; Shamshirband, S.; Petković, D.; Zalnezhad, E.; Yee, L.; Taher, R.S.; Ćojbašić, Ž. Comparative study of clustering methods for wake effect analysis in wind farm. Energy 2016, 95, 573–579. [Google Scholar] [CrossRef]
  76. Gupta, N. A review on the inclusion of wind generation in power system studies. Renew. Sustain. Energy Rev. 2016, 59, 530–543. [Google Scholar] [CrossRef]
  77. Castillo, O.C. Estudio de Técnicas de Control de Rectificadores Boost Trifásicos con Filtro LCL para Reducción de la Distorsión Armónica en Corriente, Aplicadas al Procesado Eficiente de Energía en Aerogeneradores síncronos de Imanes Permanentes Operando a Velocidad Variable. Ph.D. Thesis, Universitat Politècnica de València, València, Spain, 2012. [Google Scholar]
  78. Castellani, F.; Astolfi, D.; Peppoloni, M.; Natili, F.; Buttà, D.; Hirschl, A. Experimental Vibration Analysis of a Small Scale Vertical Wind Energy System for Residential Use. Machines 2019, 7, 35. [Google Scholar] [CrossRef]
  79. Bokde, N.; Feijóo, A.; Villanueva, D. Wind turbine power curves based on the weibull cumulative distribution function. Appl. Sci. 2018, 8, 1757. [Google Scholar] [CrossRef]
  80. Tao, S.; Xu, Q.; Feijóo, A.; Kuenzel, S.; Bokde, N. Integrated Wind Farm Power Curve and Power Curve Distribution Function Considering the Wake Effect and Terrain Gradient. Energies 2019, 12, 2482. [Google Scholar] [CrossRef]
  81. Astolfi, D.; Castellani, F. Wind turbine power curve upgrades: Part II. Energies 2019, 12, 1503. [Google Scholar] [CrossRef]
  82. Liu, Y.; Li, S.; Yi, Q.; Chen, D. Developments in semi-submersible floating foundations supporting wind turbines: A comprehensive review. Renew. Sustain. Energy Rev. 2016, 60, 433–449. [Google Scholar] [CrossRef]
  83. Shamshirband, S.; Petković, D.; Anuar, N.B.; Gani, A. Adaptive neuro-fuzzy generalization of wind turbine wake added turbulence models. Renew. Sustain. Energy Rev. 2014, 36, 270–276. [Google Scholar] [CrossRef]
  84. Chen, Y.; Li, H.; Jin, K.; Song, Q. Wind farm layout optimization using genetic algorithm with different hub height wind turbines. Energy Convers. Manag. 2013, 70, 56–65. [Google Scholar] [CrossRef]
  85. Sanderse, B. Aerodynamics of Wind Turbine Wakes: Literature Review; E-Series; Energy research Centre of the Netherlands (ECN): Sint Maartensvlotbrug, The Netherlands, 2009. [Google Scholar]
  86. Ettoumi, F.Y.; Benzaoui, M.L.; Bouzergui, N. Comparative simulation of wind park design and siting in Algeria. Renew. Energy 2008, 33, 2333–2338. [Google Scholar] [CrossRef]
  87. Mustakerov, I.; Borissova, D. Wind turbines type and number choice using combinatorial optimization. Renew. Energy 2010, 35, 1887–1894. [Google Scholar] [CrossRef]
  88. Menezes, E.J.N.; Araújo, A.M.; da Silva, N.S.B. A review on wind turbine control and its associated methods. J. Clean. Prod. 2018, 174, 945–953. [Google Scholar] [CrossRef]
  89. Simley, E.; Fürst, H.; Haizmann, F.; Schlipf, D. Optimizing Lidars for wind turbine control applications—Results from the IEA wind task 32 Workshop. Remote Sens. 2018, 10, 863. [Google Scholar] [CrossRef]
Figure 1. An illustration for computer fluid dynamics (CFD)-based optimization of wind turbines (WTs) [15].
Figure 1. An illustration for computer fluid dynamics (CFD)-based optimization of wind turbines (WTs) [15].
Energies 14 02041 g001
Figure 2. Overview of condition-monitoring and maintenance processes for WTs [21].
Figure 2. Overview of condition-monitoring and maintenance processes for WTs [21].
Energies 14 02041 g002
Figure 3. Framework of prognostic techniques applied to critical components of WTs [23].
Figure 3. Framework of prognostic techniques applied to critical components of WTs [23].
Energies 14 02041 g003
Figure 4. Darrieus WT: (a) Darrieus with “egg beater” design rotor, (b) H-shape blades Darrieus [78].
Figure 4. Darrieus WT: (a) Darrieus with “egg beater” design rotor, (b) H-shape blades Darrieus [78].
Energies 14 02041 g004
Figure 5. Summary of the design method for Darrieus rotor’s airfoil [34].
Figure 5. Summary of the design method for Darrieus rotor’s airfoil [34].
Energies 14 02041 g005
Figure 6. The WT aerodynamic models with their complexity and fidelity discussed in [45].
Figure 6. The WT aerodynamic models with their complexity and fidelity discussed in [45].
Energies 14 02041 g006
Figure 7. H-Darrieus turbine with hybrid rotor configuration [78].
Figure 7. H-Darrieus turbine with hybrid rotor configuration [78].
Energies 14 02041 g007
Figure 8. Basic structure and major components of the horizontal axis WT (HAWT) [43].
Figure 8. Basic structure and major components of the horizontal axis WT (HAWT) [43].
Energies 14 02041 g008
Figure 9. The velocity profile behind WT [85].
Figure 9. The velocity profile behind WT [85].
Energies 14 02041 g009
Figure 10. Wake effect in a wind farm (WF) [73].
Figure 10. Wake effect in a wind farm (WF) [73].
Energies 14 02041 g010
Figure 11. Optimum spacing between WTs for a WF as suggested in [76].
Figure 11. Optimum spacing between WTs for a WF as suggested in [76].
Energies 14 02041 g011
Table 1. Several topics related with wind turbines (WTs) and wind farms (WFs) and corresponding review articles.
Table 1. Several topics related with wind turbines (WTs) and wind farms (WFs) and corresponding review articles.
TopicsReview Articles
Optimization of the WT performance[11,12,13,14,15,16,17,18]
WT health and condition monitoring[19,20,21,22,23,24,25,26,27,28,29,30,31,32,33,34,35,36,37,38,39,40]
Aerodynamics in WTs[30,34,41,42,43,44,45,46]
WT power curves[47,48,49,50,51,52,53,54]
WT blades[43,55,56,57]
WT control[58,59,60,61,62,63,64]
WT installation[65,66]
WT life[22,67]
WT manufacturing[68,69]
Weibull functions in wind sector[70]
CFD simulation techniques in WTs[71,72]
Wake modeling in WFs[73,74,75,76]
Publisher’s Note: MDPI stays neutral with regard to jurisdictional claims in published maps and institutional affiliations.

Share and Cite

MDPI and ACS Style

Sawant, M.; Thakare, S.; Rao, A.P.; Feijóo-Lorenzo, A.E.; Bokde, N.D. A Review on State-of-the-Art Reviews in Wind-Turbine- and Wind-Farm-Related Topics. Energies 2021, 14, 2041. https://doi.org/10.3390/en14082041

AMA Style

Sawant M, Thakare S, Rao AP, Feijóo-Lorenzo AE, Bokde ND. A Review on State-of-the-Art Reviews in Wind-Turbine- and Wind-Farm-Related Topics. Energies. 2021; 14(8):2041. https://doi.org/10.3390/en14082041

Chicago/Turabian Style

Sawant, Manisha, Sameer Thakare, A. Prabhakara Rao, Andrés E. Feijóo-Lorenzo, and Neeraj Dhanraj Bokde. 2021. "A Review on State-of-the-Art Reviews in Wind-Turbine- and Wind-Farm-Related Topics" Energies 14, no. 8: 2041. https://doi.org/10.3390/en14082041

APA Style

Sawant, M., Thakare, S., Rao, A. P., Feijóo-Lorenzo, A. E., & Bokde, N. D. (2021). A Review on State-of-the-Art Reviews in Wind-Turbine- and Wind-Farm-Related Topics. Energies, 14(8), 2041. https://doi.org/10.3390/en14082041

Note that from the first issue of 2016, this journal uses article numbers instead of page numbers. See further details here.

Article Metrics

Back to TopTop