Numerical Simulation and Wind Tunnel Investigation on Static Characteristics of VAWT Rotor Starter with Lift-Drag Combined Structure
Abstract
:1. Introduction
2. Lift-Drag Combined Theory
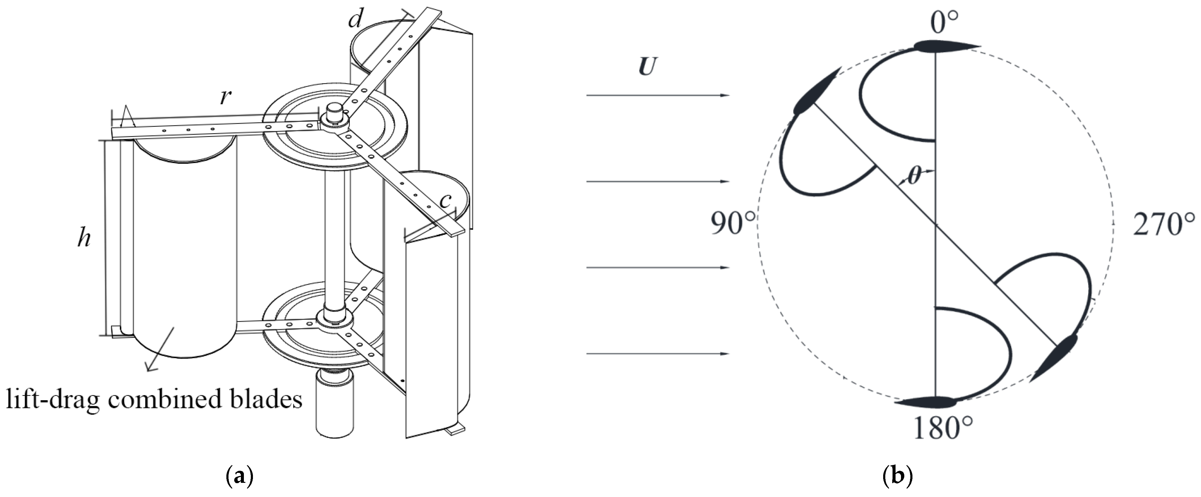
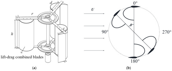
3. Model Design
4. Research Methods
4.1. Numerical Simulation Methods
4.1.1. Governing Equation
4.1.2. Workflow
4.1.3. Numerical Simulation Domain Establishment
4.1.4. Geometric Meshing
4.1.5. Grid Independence Verification
4.1.6. Boundary Conditions and Solutions
4.1.7. Numerical Simulation Method
4.2. Wind Tunnel Aerodynamic Performance Test
4.2.1. Wind Tunnel
4.2.2. Test Equipment
4.2.3. Measurement Method
4.2.4. Uncertainty Analysis
5. Result Analysis
5.1. Static Characteristics of LDCS of Three Numbers of Blades
5.1.1. Static Characteristics of Two-Bladed LDCS
5.1.2. Static Characteristics of Three-Bladed LDCS
5.1.3. Static Characteristics of Four-Bladed LDCS
5.2. Comparative Analysis of LDCS Static Characteristics of Three Blade Numbers
5.3. Wind Tunnel Test Verification
5.4. Comparative Analysis of LDCS Flow Fields with Three Numbers Blades
6. Conclusions
7. Discussion
Author Contributions
Funding
Institutional Review Board Statement
Informed Consent Statement
Data Availability Statement
Conflicts of Interest
Nomenclature
| T | rotor torque | (Nm) |
| Cts | static torque coefficient | |
| Cts-max | maximum static torque coefficient | |
| Cts-min | minimum static torque coefficient | |
| CL | lift blade lift torque | (Nm) |
| CD | lift blade drag torque | (Nm) |
| FD | drag blade torque | (Nm) |
| d | drag blade diameter of LDCS | (m) |
| h | blade high of LDCS | (m) |
| c | lift blade chord length | (m) |
| n | number of blades | |
| r | radius of LDCS | (m) |
| U | wind speed | (m/s) |
| λ | tip speed ratio | |
| azimuth angle | rads or deg | |
| standard uncertainty of static torque coefficient | (m/s) | |
| standard uncertainty of wind speed | ||
| K | relative uncertainty | |
| fluid density | Kg/m−3 | |
| time | (s) | |
| u | x directions velocity | (m/s) |
| v | y directions velocity | (m/s) |
| w | z directions velocity | (m/s) |
| product | ||
| τ | surface stress | (Nm) |
| F | volume force on the unit body | (Nm) |
| Acronyms | ||
| HAWT | Horizontal axis wind turbine | |
| VAWT | Vertical axis wind turbine | |
| SB-VAWT | Straight-bladed vertical axis wind turbine | |
| LDCS | Lift-drag combined starter | |
References
- Rosso-Cerón, A.M.; Kafarov, V. Barriers to social acceptance of renewable energy systems in Colombia. Curr. Opin. Chem. Eng. 2015, 10, 103–110. [Google Scholar] [CrossRef]
- United Nations General Assembly. Transforming our World: The 2030 Agenda for Sustainable Development. Available online: https://www.unfpa.org/resources/transforming-our-world-2030-agenda-sustainable-development (accessed on 25 September 2015).
- Zhang, L.; Li, Y.; Zhang, H.; Xu, X.; Yang, Z.; Xu, W. A Review of the potential of district heating system in northern China. Appl. Therm. Eng. 2021, 188, 116605. [Google Scholar] [CrossRef]
- Fleming, A.; Wise, R.M.; Hansen, H.; Sams, L. The sustainable development goals: A case study. Mar. Policy 2017, 86, 94–103. [Google Scholar] [CrossRef]
- Paraschivoiu, I. Wind Turbine Design Emphasis on Darrieus Concept; Polytechnic International Press: Montreal, QC, Canada, 2002. [Google Scholar]
- Miao, W.; Li, C.; Wang, Y.; Xiang, B.; Liu, Q.; Deng, Y. Study of Adaptive Blades in Extreme Environment using Fluid-Structure Interaction Method. J. Fluids Struct. 2019, 91, 102734. [Google Scholar] [CrossRef]
- Liu, Q.; Miao, W.; Li, C.; Hao, W.; Zhu, H.; Deng, Y. Effects of trailing-edge movable flap on aerodynamic performance and noise characteristics of VAWT. Energy 2019, 189, 116271. [Google Scholar] [CrossRef]
- Li, Y.; Zhao, S.; Qu, C.; Tong, G.; Feng, F.; Zhao, B.; Kotaro, T. Aerodynamic characteristics of Straight-bladed Vertical Axis Wind Turbine with a curved-outline wind gathering device. Energy Convers. Manag. 2020, 203, 112249. [Google Scholar] [CrossRef]
- Chen, J.; Yang, H.; Yang, M.; Xu, H.; Hu, Z. A comprehensive review of the theoretical approaches for the airfoil design of lift-type vertical axis wind turbine. Renew. Sustain. Energy Rev. 2015, 51, 1709–1720. [Google Scholar] [CrossRef]
- Almohammadi, K.M.; Ingham, D.B.; Ma, L.; Pourkashan, M. Computational fluid dynamics (CFD) mesh independency techniques for a straight blade vertical axis wind turbine. Energy 2013, 58, 483–493. [Google Scholar] [CrossRef]
- Wang, Y.; Sun, X.; Dong, X.; Zhu, B.; Huang, D.; Zheng, Z. Numerical investigation on aerodynamic performance of a novel vertical axis wind turbine with adaptive blades. Energy Convers. Manag. 2016, 108, 275–286. [Google Scholar] [CrossRef]
- Somoano, M.; Huera-Huarte, F. The effect of blade pitch on the flow dynamics inside the rotor of a three-straight-bladed cross-flow turbine. Proc. Inst. Mech. Eng. Part M J. Eng. Marit. Environ. 2019, 233, 868–878. [Google Scholar] [CrossRef]
- Santhakumar, S.; Palanivel, I.; Venkatasubramanian, K. A study on the rotational behaviour of a Savonius Wind turbine in low rise highways during different monsoons. Energy Sustain. Dev. 2017, 40, 1–10. [Google Scholar] [CrossRef]
- Jeon, K.S.; Jeong, J.I.; Pan, J.K.; Ryu, K.W. Effects of end plates with various shapes and sizes on helical Savonius wind turbines. Renew. Energy 2015, 79, 167–176. [Google Scholar] [CrossRef]
- Driss, Z.; Mlayeh, O.; Driss, D.; Maaloul, M.; Abid, M.S. Numerical calculation and experimental validation of the turbulent flow around a small incurved Savonius wind rotor. Energy 2014, 74, 506–517. [Google Scholar] [CrossRef]
- Tahani, M.; Rabbani, A.; Kasaeian, A.; Mehrpooya, M.; Mirhosseini, M. Design and numerical investigation of Savonius wind turbine with discharge flow directing capability. Energy 2017, 130, 327–338. [Google Scholar] [CrossRef]
- El-Baz, A.R.; Youssef, K.; Mohamed, M.H. Innovative improvement of a drag wind turbine performance. Renew. Energy 2015, 86, 89–98. [Google Scholar] [CrossRef]
- Sahim, K.; Santoso, D.; Puspitasari, D. Investigations on the Effect of Radius Rotor in Combined Darrieus-Savonius Wind Turbine. Int. J. Rotating Mach. 2018, 2018, 1–7. [Google Scholar] [CrossRef] [Green Version]
- Yanuarsyah, I.; Djanali, V.S.; Dwiyantoro, B.A. Numerical study on a Darrieus-Savonius wind turbine with Darrieus rotor placement variation. In AIP Conference Proceedings; AIP Publishing LLC: Melville, NY, USA, 2018. [Google Scholar]
- Wakui, T.; Tanzawa, Y.; Hashizume, T.; Nagao, T. Hybrid configuration of Darrieus and Savonius rotors for stand-alone wind turbine-generator systems. Electr. Eng. Jpn. 2005, 150, 13–22. [Google Scholar] [CrossRef]
- Liang, X.; Fu, S.; Ou, B.; Wu, C.; Chao, C.Y.H.; Pi, K. A computational study of the effects of the radius ratio and attachment angle on the performance of a Darrieus-Savonius combined wind turbine. Renew. Energy 2017, 113, 329–334. [Google Scholar] [CrossRef]
- Haijie, Z.; Diangui, H.; Guoqing, W. Study of Mutual-Interference between the Blade and the Vortex in the Lift-Drag Type Vertical Axis Wind Turbine. Mach. Des. Manufacture 2014, 1, 76–79. [Google Scholar]
- Xu, Z.; Huo, Y.L.; Chen, Y.; Yang, H.W.; Tan, H.F. Optimum Design and Study on the Properties of A New Combined Type Vertical Axis Wind Turbine. J. Zhejiang Univ. Technol. 2015, 43, 261–264. [Google Scholar]
- Alaimo, A.; Esposito, A.; Messineo, A.; Orlando, C.; Tumino, D. 3D CFD analysis of a vertical axis wind turbine. Energies 2015, 8, 3013–3033. [Google Scholar] [CrossRef] [Green Version]
- Shaheen, M.; El-Sayed, M.; Abdallah, S. Numerical study of two-bucket Savonius wind turbine cluster. J. Wind. Eng. Ind. Aerodyn. 2015, 137, 78–89. [Google Scholar] [CrossRef]
- Wong, K.H.; Chong, W.T.; Sukiman, N.L.; Shiah, Y.C.; Poh, S.C.; Sopian, K.; Wang, W.C. Experimental and simulation investigation into the effects of a flat plate deflector on vertical axis wind turbine. Energy Convers. Manag. 2018, 160, 109–125. [Google Scholar] [CrossRef]
- Sarma, N.K.; Biswas, A.; Misra, R.D. Experimental and computational evaluation of Savonius hydrokinetic turbine for low velocity condition with comparison to Savonius wind turbine at the same input power. Energy Convers. Manag. 2014, 83, 88–98. [Google Scholar] [CrossRef]
- Zhang, L.; Zhu, K.; Zhong, J.; Zhang, L.; Jiang, T.; Li, S.; Zhang, Z. Numerical Investigations of the Effects of the Rotating Shaft and Optimization of Urban Vertical Axis Wind Turbines. Energies 2018, 11, 1870. [Google Scholar] [CrossRef] [Green Version]
- Zheng, M.; Li, Y.; Tian, Y.; Hu, J.; Zhao, Y.; Yu, L. Effect of blade installation angle on power efficiency of resistance type VAWT by CFD study. Int. J. Energy Environ. Eng. 2015, 6, 1–7. [Google Scholar] [CrossRef] [Green Version]
- Wilcox, D.C. Turbulence Modeling for CFD; DCW Industries, Inc.: La Canada, CA, USA, 1998. [Google Scholar]
- Schlichting, H. Boundary-Layer Theory; McGraw-Hill: New York, NY, USA, 1968. [Google Scholar]
























| Parameter Name | Symbol | Value |
|---|---|---|
| Opening diameter of lift-drag combined blade | d | 150 mm |
| Height of LDCS | h | 300 mm |
| Rotation radius | r | 280 mm |
| Lift blade airfoil | - | NACA0018 |
| Lift blade chord length | c | 100 mm |
| Number of lift-drag combined blades | n | 2, 3, 4 |
| Rotation azimuth | θ | 0°–360° |
| Equipment Name | Parameters | Precision |
|---|---|---|
| Wind speed sensor | 0–50 m/s | ±1.0% |
| Torque sensor | 5 Nm | ±0.3% |
| Induction motor | 0–2000 rpm | ±0.1% |
| FM | 50 Hz | ±2.0% |
Publisher’s Note: MDPI stays neutral with regard to jurisdictional claims in published maps and institutional affiliations. |
© 2021 by the authors. Licensee MDPI, Basel, Switzerland. This article is an open access article distributed under the terms and conditions of the Creative Commons Attribution (CC BY) license (https://creativecommons.org/licenses/by/4.0/).
Share and Cite
Feng, F.; Tong, G.; Ma, Y.; Li, Y. Numerical Simulation and Wind Tunnel Investigation on Static Characteristics of VAWT Rotor Starter with Lift-Drag Combined Structure. Energies 2021, 14, 6167. https://doi.org/10.3390/en14196167
Feng F, Tong G, Ma Y, Li Y. Numerical Simulation and Wind Tunnel Investigation on Static Characteristics of VAWT Rotor Starter with Lift-Drag Combined Structure. Energies. 2021; 14(19):6167. https://doi.org/10.3390/en14196167
Chicago/Turabian StyleFeng, Fang, Guoqiang Tong, Yunfei Ma, and Yan Li. 2021. "Numerical Simulation and Wind Tunnel Investigation on Static Characteristics of VAWT Rotor Starter with Lift-Drag Combined Structure" Energies 14, no. 19: 6167. https://doi.org/10.3390/en14196167
APA StyleFeng, F., Tong, G., Ma, Y., & Li, Y. (2021). Numerical Simulation and Wind Tunnel Investigation on Static Characteristics of VAWT Rotor Starter with Lift-Drag Combined Structure. Energies, 14(19), 6167. https://doi.org/10.3390/en14196167

