Prototyping and Study of Mesh Turbomachinery Based on the Euler Turbine
Abstract
1. Introduction
2. Materials and Methods
3. Results
3.1. Development of Micromodels Using Rapid Prototyping Technologies
3.2. Development of Mathematical Models Using Euler Fundamental Equations
3.3. First Results of Computer Simulation of the Hybrid Turbine Based on Euler Turbine
3.4. Development of Machine Prototypes with Mesh Structure of Flow Channels
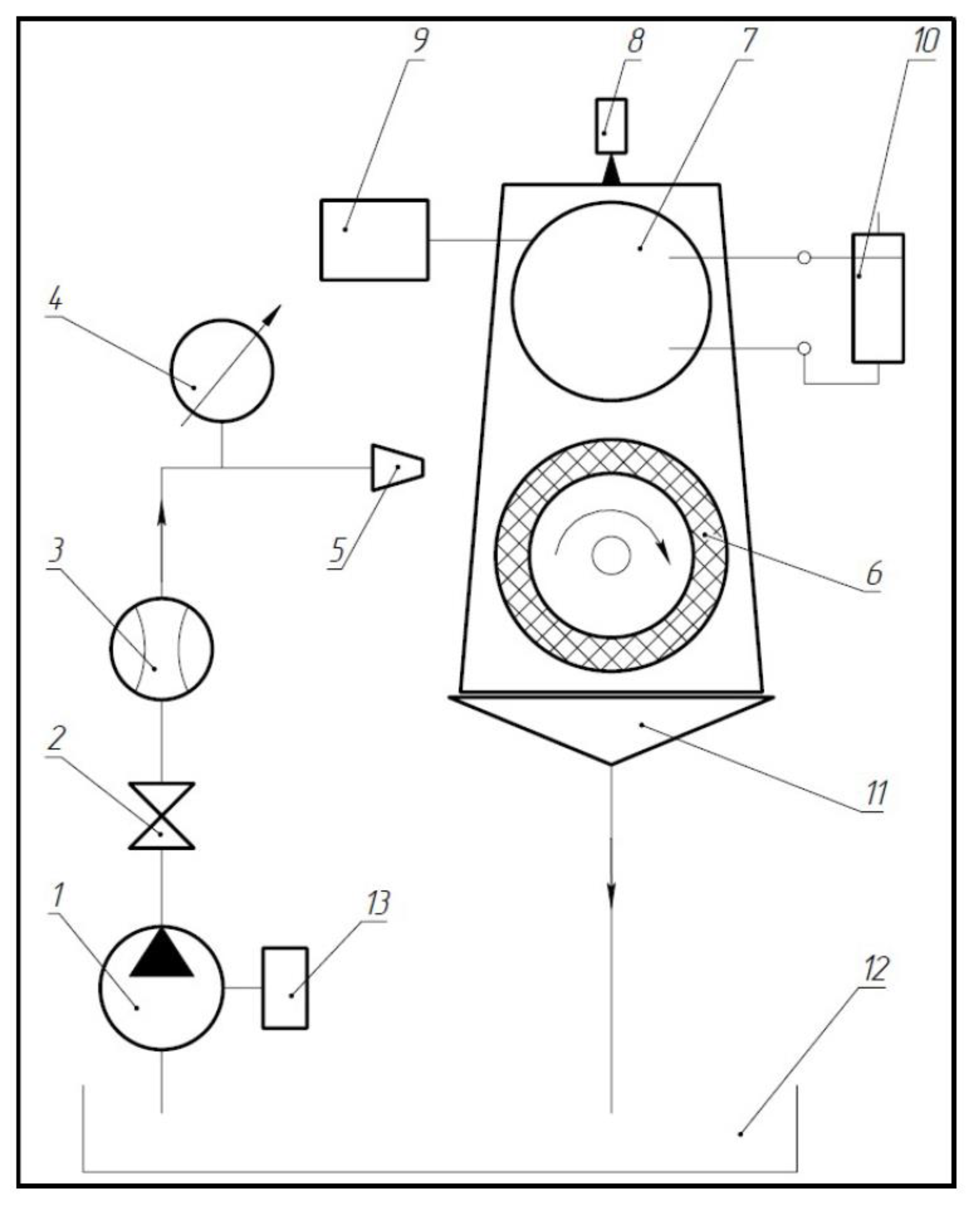
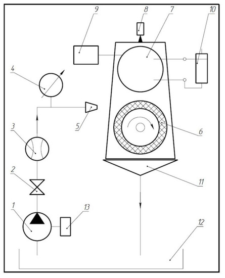
3.5. Results of Laboratory Tests of Hybrid Pump Prototype
3.6. Results of Experimental Centrifugal Pump Studies
- Creation of a digital model of a centrifugal pump stage with an open impeller;
- Determination of the theoretical performance characteristics of the pump stage during the virtual experiment and computer simulation;
- Determination of the experimental performance of the pump stage during the full-scale experiment on the laboratory bench;
- Comparison of the results of the virtual experiment with those of the full-scale experiment;
- Theoretical research of the impact of pumped medium viscosity on the axial force acting on the open impeller.
- To describe boundary layers on a fine mesh (the number of cells across a boundary layer is six or greater) the “thick-boundary-layer” approach is used. In this approach the calculation of parameters of laminar boundary layer is doing via Navier-Stokes equations and for the turbulent boundary layer is performed by modification of well-known wall function approach. However instead of the classical approach where the logarithmic velocity profile is used in EFD technology the full profile proposed by Van Driest [47,49] is used. All other assumptions are similar ones to the classical wall functions approach;
- The “thin-boundary-layer” approach is used to describe flow on a coarse mesh (the number of cells across a boundary layer is four or less). In this approach the Prandtl boundary layer equations already integrated along the normal to the wall from 0 (at the wall) to the dynamic boundary layer thickness (δ) are solved along a fluid streamline covering the walls. If the boundary layer is laminar these equations are solved with a method of successive approximations based on the Shvetz trial functions technology [47,50]. If the boundary layer is turbulent or transitional between laminar and turbulent, a generalization of this method to such boundary layers employing the Van Driest hypothesis about the mixing length in turbulent boundary layers is used [47,49];
- In intermediate cases, a compilation of the two above approaches is used, ensuring a smooth transition between the two models as the mesh is refined, or as the boundary layer thickens along a surface.
4. Discussion
- Ejector designs with one mixing chamber and several nozzles located at the inlet to the mixing chamber or along the mixing chamber are known, but ejector designs with one nozzle and several mixing chambers (multi-flow ejector) are little known; in this case, the working medium can be supplied from the nozzle to one mixing chamber or several mixing chambers simultaneously;
- Ejectors as augmenters in jet propulsions (in aviation and water transport) are known, but these with a range of control from the maximum thrust value to zero one are little known;
- Ejectors, in which the nozzle and mixing chamber location does not change over time, are known, but ejectors in which these parts location changes over time are little known;
- Ejectors with a stationary mode of fluid flow through the nozzle and mixing chamber are known, but ejectors with a non-stationary mode are little known;
- Theories are known to describe ejector workflows for homogeneous media when properties of the working medium and the pumped medium coincide, but theories are little known to describe processes when these properties differ significantly (in density, temperature, and viscosity).
5. Conclusion
5.1. Scientific Novelty
5.2. Theoretical Contribution
5.3. Practical Importance
5.4. Limitations and Future Studies
Author Contributions
Funding
Acknowledgments
Conflicts of Interest
References
- Sazonov, Y.A.; Mokhov, M.A.; Tumanyan, K.A.; Frankov, M.A.; Balaka, N.N. Prototyping mesh turbine with the jet control system. Periódico Tchê Química 2020, 17, 1160–1175. [Google Scholar] [CrossRef]
- Sazonov, Y.A. Fundamentals of Calculation and Design of Pump-Ejector Installations; SUE “Oil and Gas Publishing House” of Gubkin University: Moscow, Russia, 2012. [Google Scholar]
- Konovalova, N.E. Calculation of the minimum drag of lattice wings and their elements and comparison of the calculated results with the experiment at M = 0.6 ÷ 4.0. Air Fleet Tech. 2005, 2, 36–43. [Google Scholar]
- Drozdov, S.M. Method of determining the full-scale aerodynamic performance of an airplane with lattice wings based on the results of its model wind-channel tests. TsAGI Sci. J. 2002, 33, 18–29. [Google Scholar]
- Kostyukov, A.V.; Nadarejshvili, G.G.; Karpukhin, K.E.; Tuktakiev, G.S.; Azarov, K.O. High-Temperature Rotating Disk Regenerative Heater of the Working Body of the Power Plant. RF Patent 2,744,926. Available online: https://patenton.ru/patent/RU2744926C1.pdf (accessed on 10 April 2021).
- Orman, Ł.J. Aspects of complexity of metal-fibrous microstructure for the construction of high-performance heat exchangers: Thermal properties. Aviation 2020, 24, 99–104. [Google Scholar] [CrossRef]
- Giuliani, F.; Stütz, M.; Paulitsch, N.; Andracher, L. Forcing pulsations by means of a siren for gas turbine applications. Int. J. Turbomach. Propuls. Power 2020, 5, 9. [Google Scholar] [CrossRef]
- Kalachev, V.V. Jet Pumps. Theory, Calculation, and Design; Filin, Omega-L: Moscow, Russia, 2017. [Google Scholar]
- Bogdanov, V.I.; Dormidontov, A.K.; Yakovlev, V.V. Ejector Augmenter. RF Utility Model Patent 202,545, 24 February 2021. [Google Scholar]
- Enrico, B.; Rocco, F.; Lapo, G.; Enrico, M.; Alessandro, R.; Andrea, R.; Yary, V. Toward the integration of lattice structure-based topology optimization and additive manufacturing for the design of turbomachinery components. Adv. Mech. Eng. 2019, 11, 1–14. [Google Scholar] [CrossRef]
- Zhang, Y.; Fi, L.; Jia, D. Lightweight design and static analysis of lattice compressor impeller. Nature 2020, 10, 1–10. [Google Scholar] [CrossRef] [PubMed]
- Magerramova, L.; Volkov, M.; Afonin, A.; Svinareva, M.; Kalinin, D. Application of Light Lattice Structures for Gas Turbine Engine Fan Blades. In Proceedings of the 31st Congress of the International Council of the Aeronautical Sciences, Belo Horizonte, Brasil, 9–14 September 2018; The International Council of the Aeronautical Sciences: Belo Horizonte, Brasil, 2018. [Google Scholar]
- Krasnova, E.V.; Saushkin, B.P. Additive shaping of products from metals and alloys by an electron beam. Selective melting (Part 1). Addit. Technol. 2021, 2, 44–57. [Google Scholar]
- Ignatkin, Y.; Makeev, P.; Konstantinov, S.; Shomov, A. Modelling the helicopter rotor aerodynamics at forward flight with free wake model and urans method. Aviation 2020, 24, 149–156. [Google Scholar] [CrossRef]
- Sun, Z.; Wang, B.; Zheng, X.; Kawakubo, T.; Tamaki, H.; Numakura, R. Effect of bent inlet pipe on the flow instability behavior of centrifugal compressors. Chin. J. Aeronaut. 2020, 33, 2099–2109. [Google Scholar] [CrossRef]
- Sieverding, C.; Manna, M. A review on turbine trailing edge flow. Int. J. Turbomach. Propuls. Power 2020, 5, 10. [Google Scholar] [CrossRef]
- Abbasi, W.S.; Islam, S.U.; Lubna, F.A.; Rahman, H. Numerical investigation of transitions in flow states and variation in aerodynamic forces for flow around square cylinders arranged inline. Chin. J. Aeronaut. 2018, 31, 2111–2123. [Google Scholar] [CrossRef]
- Neigapula, S.N.V.; Maddula, S.P.; Nukala, V.B. A study of high lift aerodynamic devices on commercial aircrafts. Aviation 2020, 24, 123–136. [Google Scholar] [CrossRef]
- Zhang, J.; Sun, L.; Qu, X.; Wang, L. Time-Varying linear control for tilt rotor aircraft. Chin. J. Aeronaut. 2018, 31, 632–642. [Google Scholar] [CrossRef]
- Sinyavin, A.A. Calculation and Experimental Study of the Interaction of Gas Flows with Permeable Boundaries. Ph.D. Thesis, Lomonosov Moscow State University, Moscow, Russia, 2010. [Google Scholar]
- Xue, Y.; Wang, L.; Fu, S. Detached-Eddy simulation of supersonic flow past a spike-tipped blunt nose. Chin. J. Aeronaut. 2018, 31, 1815–1821. [Google Scholar] [CrossRef]
- Raj, C.A.S.; Narasimhavaradhan, M.; Vaishnavi, N.; Arunvinthan, S.; Al Arjani, A.; Pillai, S.N. Aerodynamics of ducted re-entry vehicles. Chin. J. Aeronaut. 2020, 33, 1837–1849. [Google Scholar] [CrossRef]
- Glaznev, V.N.; Zapryagaev, V.I.; Uskov, V.N.; Terekhova, N.M.; Erofeev, V.K.; Grigoryev, V.V.; Kozhemyakin, A.O.; Kotenok, V.A.; Omelchenko, A.V. Jet and Nonstationary Flows in Gas Dynamics; The Siberian Branch of the Russian Academy of Sciences: Novosibirsk, Russia, 2000. [Google Scholar]
- Garbaruk, A.V. Numerical Modeling and Stability Analysis of Near-Wall Turbulent Flows. Doctoral Thesis, Peter the Great St. Petersburg Polytechnic University, St. Petersburg, Russia, 2020. [Google Scholar]
- Akimov, G.A.; Vavilov, D.O.; Klochkov, A.V. Numerical study of supersonic jets of complex spatial configuration. Rocket. Eng. 2010. Available online: https://missilery.info/article/chislennoe-issledovanie-sverhzvukovyh-struy-slozhnoy-prostranstvennoy-konfiguracii (accessed on 10 April 2021).
- Antipova, M.S.; Dyadkin, A.A.; Zapryagaev, V.I.; Krylov, A.N. Computer simulation of cold supersonic jet outflow from the conical nozzle using FLOEFD software package. Space Eng. Technol. 2016, 1, 5–11. [Google Scholar]
- Skaggs, B.D. Fluid Jet Ejector and Ejection Method. U.S. Patent 6,017,195. Available online: https://www.freepatentsonline.com/6017195.pdf (accessed on 10 April 2021).
- Dodge, A.Y. Jet Pump. U.S. Patent 3,188,976. Available online: https://www.freepatentsonline.com/3188976.pdf (accessed on 10 April 2021).
- Letvin, S. Process for Scrubbing a Gas Stream Containing Particulate Material. U.S. Patent 3,385,030. Available online: https://www.freepatentsonline.com/3385030.pdf (accessed on 10 April 2021).
- Berezhnoy, A.S. Improving the Performance of Jet Reaction Pneumatic Unit Based on the Model Update of the Work Process. Ph.D. Thesis, Sumy State University, Sumy, Ukraine, 2014. [Google Scholar]
- Sazonov, Y.A.; Mokhov, M.A.; Tumanyan, K.A.; Frankov, M.A.; Timoshenko, V.G. Motor. RF Utility Model Patent 192,513. Available online: https://yandex.ru/patents/doc/RU192513U1_20190918 (accessed on 10 April 2021).
- Sazonov, Y.A.; Mokhov, M.A.; Tumanyan, K.A.; Voronova, V.V.; Frankov, M.A. Motor. RF Patent 203,833. Available online: https://yandex.ru/patents/doc/RU203833U1_20210422 (accessed on 10 April 2021).
- Sazonov, A.Y.; Mokhov, M.A.; Mulenko, V.V.; Frankov, A.M.; Tumanyan, K.A.; Voronova, V.V. Exploratory research for developing advanced pumping and compressor equipment adapted to abnormal operating conditions of oil and gas production. J. Appl. Eng. Sci. 2020, 18, 467–474. [Google Scholar] [CrossRef]
- Missile Control Systems Aerospaceweb. Available online: http://www.aerospaceweb.org/question/weapons/q0158.shtml (accessed on 10 April 2021).
- Abugov, D.I.; Bobylev, V.M. Theory and Calculation of Solid Rocket Motors; Textbook for Mechanical Engineering Universities, Mechanical Engineering: Moscow, Russia, 1987. [Google Scholar]
- Bailey, J.M. Control System and Nozzle for Impulse Turbines. U.S. Patent 4,355,949. Available online: https://www.freepatentsonline.com/4355949.pdf (accessed on 10 April 2021).
- Sazonov, Y.A.; Mokhov, M.A.; Gryaznova, I.A.; Voronova, V.V.; Tumanyan, K.A.; Frankov, M.A.; Moon, V.A.; Balaka, N.N. Prototype development of intelligent mesh turbine using the ejector control system. Gas Ind. 2020, 11, 52–59. [Google Scholar]
- Chanut, P.L.J. Guided Missile. U.S. Patent 3,013,494. Available online: http://www.freepatentsonline.com/3013494.pdf (accessed on 10 April 2021).
- Mordasov, M.M.; Savenkov, A.P.; Chechetov, K.E. On the clarification of the calculated dependences of the turbulent gas jet force action. J. Tech. Phys. 2015, 85, 141–144. [Google Scholar]
- Pakhomov, M.A.; Terekhov, V.I. Intensification of turbulent exchange in the interaction of fog-like axisymmetric impact jet with a barrier. Appl. Mech. Tech. Phys. 2011, 52, 119–131. [Google Scholar]
- Sadin, D.V.; Lubarski, S.D.; Gravchenko, Y.A. Features of unexpanded pulsed impact gas-dispersion jet with a high concentration of particles. J. Tech. Phys. 2017, 87, 22–26. [Google Scholar] [CrossRef]
- Ilyina, T.E.; Prodan, N.V. Designing a jet control system element for gas bearing. Sci. Tech. J. Inf. Technol. Mech. Opt. 2015, 15, 921–929. [Google Scholar]
- Tarasov, V.N. Development of Rational Methods of Designing Partial Pulse Turbines. Doctoral Thesis, Bauman Moscow State Technical University, Moscow, Russia, 2009. [Google Scholar]
- Dovgyallo, A.I.; Shimanov, A.A. The possibility of using a bidirectional impulse turbine in a thermoacoustic engine. Vestn. Samara State Aerosp. Univ. 2015, 14, 132–138. [Google Scholar] [CrossRef][Green Version]
- Konchakov, E.I. Improvement of Marine Partial Turbomachinery on Small-Sized Models. Doctoral Thesis, Kuibyshev Far Eastern State Technical University, Vladivostok, Russia, 2001. [Google Scholar]
- Technical Reference Solidworks Flow Simulation 2021. Available online: https://www.cati.com/wp-content/uploads/swflow2021-technical-reference.pdf (accessed on 12 August 2021).
- FloEFDTM Technical Reference. Software Version 17. 2018. Available online: https://www.smart-fem.de/media/floefd/TechnicalReferenceV17.pdf (accessed on 12 August 2021).
- Sobachkin, A.; Dumnov, G. Numerical Basis of CAD-Embedded CFD. 2013. Available online: https://www.solidworks.com/sw/docs/Flow_Basis_of_CAD_Embedded_CFD_Whitepaper.pdf (accessed on 10 April 2021).
- Van Driest, E.R. On turbulent flow near a wall. J. Aeronaut. Sci. 1956, 23, 1007–1011. [Google Scholar] [CrossRef]
- Ginzburg, I.P. Theory of Drag and Heat Transfer; Leningrad State University: Leningrad, Russia, 1970. [Google Scholar]
- Bayles, W.H.; Nash, B.C. Method and Apparatus for High Performance Evacuation System. U.S. Patent 3,064,878. Available online: https://www.freepatentsonline.com/3064878.pdf (accessed on 10 April 2021).
- Voelker, M.; Sausner, A. Suction Jet Pump. U.S. Patent 10,072,674. Available online: https://www.freepatentsonline.com/10072674.pdf (accessed on 10 April 2021).
- Varsegov, V.L. Methodology of Designing the Thrust Reversal Device of a Bypass Jet Based on Mathematical and Numerical Modeling of Flow Aerodynamics. Doctoral Thesis, Kazan National Research Technical University named after A.N. Tupolev, Kazan, Russia, 2018. [Google Scholar]
- Kovalenko, N.D.; Strelnikov, G.A.; Zolotko, A.E. Gas-Dynamic aspects and design of nozzles of rocket stage motors with the high-density layout. Tech. Mech. 2011, 3, 36–53. [Google Scholar]
- Zhao, K.; Ming, M.; Li, F.; Lu, Y.; Zhou, T.; Wang, K.; Meng, N. Experimental study on plasma jet deflection and energy extraction with MHD control. Chin. J. Aeronaut. 2020, 33, 1602–1610. [Google Scholar] [CrossRef]
- Vlasov, E.V.; Karavosov, R.K.; Samokhin, V.F. Acoustic field of a jet outflowing from a rectangular nozzle. TsAGI Sci. J. 1999, 30, 131–134. [Google Scholar]






















Publisher’s Note: MDPI stays neutral with regard to jurisdictional claims in published maps and institutional affiliations. |
© 2021 by the authors. Licensee MDPI, Basel, Switzerland. This article is an open access article distributed under the terms and conditions of the Creative Commons Attribution (CC BY) license (https://creativecommons.org/licenses/by/4.0/).
Share and Cite
Sazonov, Y.A.; Mokhov, M.A.; Gryaznova, I.V.; Voronova, V.V.; Mulenko, V.V.; Tumanyan, K.A.; Frankov, M.A.; Balaka, N.N. Prototyping and Study of Mesh Turbomachinery Based on the Euler Turbine. Energies 2021, 14, 5292. https://doi.org/10.3390/en14175292
Sazonov YA, Mokhov MA, Gryaznova IV, Voronova VV, Mulenko VV, Tumanyan KA, Frankov MA, Balaka NN. Prototyping and Study of Mesh Turbomachinery Based on the Euler Turbine. Energies. 2021; 14(17):5292. https://doi.org/10.3390/en14175292
Chicago/Turabian StyleSazonov, Yuri Appolonievich, Mikhail Albertovich Mokhov, Inna Vladimirovna Gryaznova, Victoria Vasilievna Voronova, Vladimir Valentinovich Mulenko, Khoren Arturovich Tumanyan, Mikhail Alexandrovich Frankov, and Nikolay Nikolaevich Balaka. 2021. "Prototyping and Study of Mesh Turbomachinery Based on the Euler Turbine" Energies 14, no. 17: 5292. https://doi.org/10.3390/en14175292
APA StyleSazonov, Y. A., Mokhov, M. A., Gryaznova, I. V., Voronova, V. V., Mulenko, V. V., Tumanyan, K. A., Frankov, M. A., & Balaka, N. N. (2021). Prototyping and Study of Mesh Turbomachinery Based on the Euler Turbine. Energies, 14(17), 5292. https://doi.org/10.3390/en14175292
