LSTM-NN Yaw Control of Wind Turbines Based on Upstream Wind Information
Abstract
1. Introduction
2. Theoretical Basis of Yaw Control and Corresponding Engineering Problems
2.1. Yaw power loss
2.2. Traditional Yaw Control Strategy
2.3. Commercial yaw control field test results and analysis
2.3.1. Yaw misalignment
2.3.2. Yaw actuation analysis
3. LSTM-NN Yaw Control Strategy Based on LIDAR
3.1. The Novel Yaw Actuation Controller
3.2. Lidar Model
3.3. Induction Zone Modle [34]
3.4. Validation Method
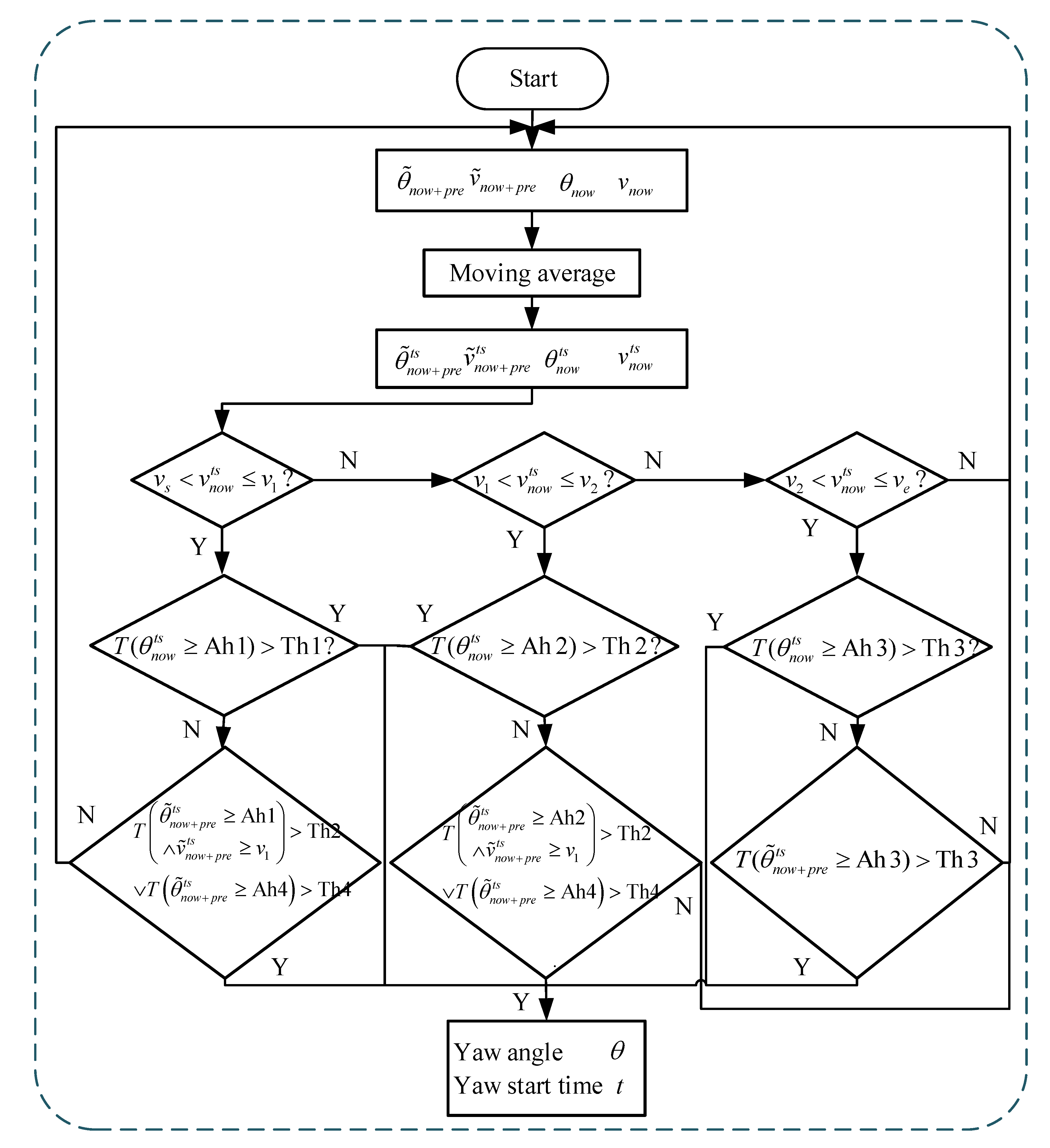
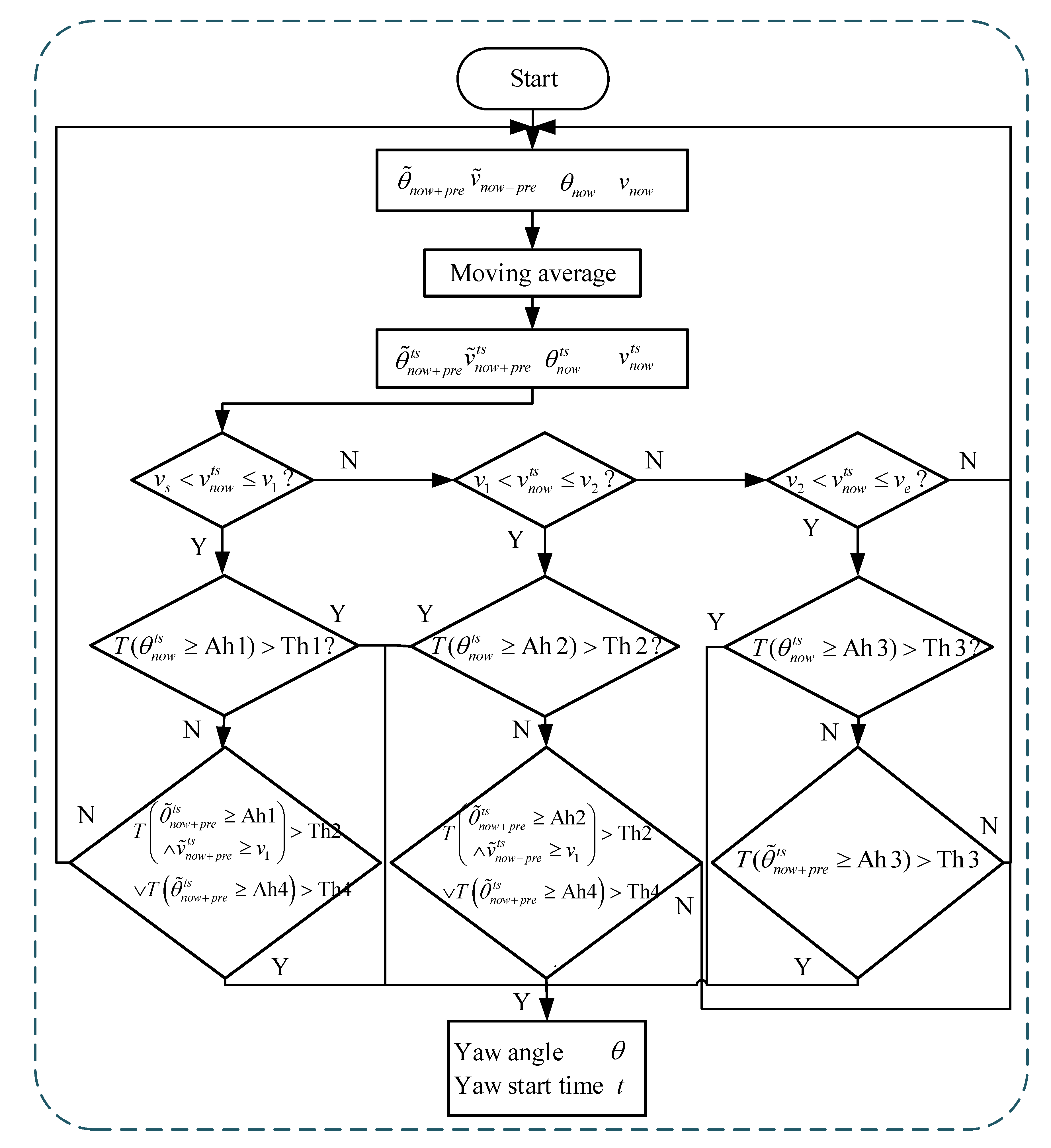
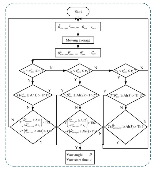
3.5. LSTM-NN Yaw Control Strategy Based on Lidar Information
4. Simulation Model
5. Simulation Results
5.1. Simulation Result Under Ideal Condition
5.2. Simulation Result Under Turbulence Condition
6. Discussion
7. Conclusions
8. Patents
Author Contributions
Funding
Conflicts of Interest
Nomenclature
| Symbol | Quantity | Unit | 
| Power coefficient | - | |
| Axial induction coefficient | - | |
| Actual shaft power obtained by a wind turbine | kW | |
| Air density | Kg/m3 | |
| Rotor swept area | m2 | |
| Wind speed | m/s | |
| The angle between wind direction and the normal direction of the rotor | degree | |
| A constant that relate the turbine energy capture to the yaw misalignment | - | |
| The two line of sight wind velocities of upper plane | m/s | |
| Upper plane wind speed and wind direction | m/s,degree | |
| Half of the angle between horizontal beams | Degree | |
| Half of the angle between vertical beams | degree | |
| The two line of sight wind speeds of bottom plane | m/s | |
| The bottom plane wind speed and wind direction | m/s, degree | |
| Vertical wind speed and wind direction | m/s degree | |
| The inversion of wind speed and wind direction | m/s and degree | |
| Hub height | m | |
| Lidar install height | m | |
| Main gate distance | m | |
| Initial wind speed | m/s | |
| Wind speed at the rotor | m/s | |
| is a x and R related function | - | |
| The distance to the rotor. represents the upstream of the rotor; represents the downstream of the rotor | m | |
| R | Rotor radius | m | 
| Evolution coefficient | - | |
| Correction coefficient | - | |
| Correction coefficient--a function of the initial wind speed | - | |
| Correction constant, no physical meaning and is independent of the axial coefficient | - | |
| The component of wind speed after evolution | m/s | |
| The component of wind speed after evolution | m/s | |
| The time of the lidar measured wind reached the rotor | s | |
| the average wind speed | m/s | |
| the lidar focus distance | m | |
| Lidar measured wind speed at time | m/s | |
| Current time | s | |
| Calculated time from the yaw rate and yaw angle | s | 
References
- Kim, M.-G.; Dalhoff, P.H. Yaw Systems for wind turbines—Overview of concepts, current challenges and design methods. J. Phys. Conf. Ser. 2014, 524, 012086. [Google Scholar] [CrossRef]
- Astolfi, D.; Castellani, F.; Natili, F. Wind Turbine Yaw Control Optimization and Its Impact on Performance. Machines. Sci. 2019, 7, 41. [Google Scholar] [CrossRef]
- Song, J.T. Expectation and Review of Control Strategy of Wind Turbines Yaw System. In Proceedings of the 5th International Conference on Environment, Materials, Chemistry and Power Electronics, Zhengzhou, China, 11–12 April 2016. [Google Scholar] [CrossRef][Green Version]
- Bossanyi, E. Optimising Yaw Control at Wind Farm Level. In IOP Journal of Physics, Proceedings of the WindEurope Conference, Bilbao, Spain, 2–5 April 2019; IOP Publishing Ltd Journal of Physics: Conference Series; IOP Publishing Ltd.: Bristol, UK, 2019. [Google Scholar] [CrossRef]
- Rott, A.; Doekemeijer, B.; Seifert, J.K.; van Wingerden, J.-W.; Kühn, M. Robust active wake control in consideration of wind direction variability and uncertainty. Wind Energy Sci. 2018, 3, 869–882. [Google Scholar] [CrossRef]
- Cardaun, M.; Roscher, B.; Schelenz, R.; Jacobs, G. Analysis of wind-turbine main bearing loads due to constant yaw misalignments over a 20 years timespan. Energ. Sci. 2019, 12, 1768. [Google Scholar] [CrossRef]
- Damiani, R.R.; Dana, S.; Annoni, J.; Fleming, P.A.; Roadman, J.M.; van Dam, J.J.; Dykes, K.L. Assessment of wind turbine component loads under yaw-offset conditions. Wind Energy Sci. 2018, 3, 173–189. [Google Scholar] [CrossRef]
- Ke, S.T.; Yu, W.L.; Wang, T.G.; Ge, Y.J. Aerodynamic performance and wind-induced effect of large-scale wind turbine system under yaw and wind-rain combination action. Renew. Energy Sci. 2019, 136, 235–253. [Google Scholar] [CrossRef]
- Bossanyi, E.A.; Delouvrié, T.; Lindahl, S. Long-Term Simulations for Optimizing Yaw Control and Start-Stop Strategies. In Proceedings of the European Wind Energy Conference, Vienna, Austria, 4–7 February 2013. [Google Scholar]
- Wu, K.C.; Joseph, R.K.; Thupili, N.K. Evaluation of Classical and Fuzzy Logic Controllers for Wind Turbine Yaw Control. In Proceedings of the First IEEE Regional Conference on Aerospace Control Systems, Westlake Village, CA, USA, 25–27 May 1993. [Google Scholar] [CrossRef]
- Farret, F.A.; Pfischer, L.L.; Bernaerdon, D.P. Active Yaw Control with Sensorless Wind Speed and Direction Measurements for Horizontal Axis Wind Turbines. In Proceedings of the Third IEEE International Caracas Conference on Devices, Circuits and Systems, Caricun, MX, USA, 17 March 2000. [Google Scholar] [CrossRef]
- Zhu, C.H.; Cheng, X.Y.; Wang, J.P. Yaw control system of PID neural network based on cloud model. Comput. Meas. Control 2013, 21, 2700–2703. [Google Scholar] [CrossRef]
- Piao, Z.X.; Wang, H.G. Simulation research of fuzzy-PID synthesis yaw vector control system of wind turbine. WSEAS Trans. Syst. Control 2007, 2, 469–476. [Google Scholar]
- Liu, S.R. Research on Complex Control for Precise Wind Direction of Hydraulic Wind Turbine Yaw System. Master’s Thesis, Yanshan University, Qinhuangdao, China, 2015. [Google Scholar]
- Li, X.Y. The Design and Research of the Yaw Control System for MW Rated Wind Turbine. Master’s Thesis, Shanghai Jiao Tong University, Shanghai, China, 2007. [Google Scholar]
- Gu, L.X.; Le, X.P.; Yang, Y.K.; Li, S.S. Application of Kalman hill climbing control algorithm in yaw control system of wind power generation unit. Water Conserv. Electr. Power Mach. 2011, 33, 92–98. [Google Scholar] [CrossRef]
- Zhang, H.N. Research on Intelligent Yaw Control System for Wind Power Generator. Master’s Thesis, Donghua University, Shanghai, China, 2010. [Google Scholar] [CrossRef]
- Zhang, D.D. Study on Wind Turbine Yaw System Based on Wind Direction Forecast. Master’s Thesis, Xinjiang Agricultural University, Urunqi, China, 2014. [Google Scholar] [CrossRef]
- Hure, N.; Turnar, R.; Vaˇsak, M.; Benˇci´c, G. Optimal Wind Turbine Yaw Control Supported with Very Short-Term Wind Predictions. In Proceedings of the IEEE International Conference on Industrial Technology, Seville, Spain, 17–19 March 2015. [Google Scholar] [CrossRef]
- Song, D.G.; Fan, X.Y.; Yang, J.; Liu, A.F.; Chen, S.F.; Joo, Y.H. Power extraction efficiency optimization of horizontal-axis wind turbines through optimizing control parameters of yaw control systems using an intelligent method. Sci. Appl. Energy 2018, 224, 267–279. [Google Scholar] [CrossRef]
- Aguirre, A.S.; Zulueta, E.; Gamiz, U.F.; Lozano, J.; Lopez-Guede, J.M. Artificial neural network based reinforcement learning for wind turbine yaw control. Energies 2019, 12, 436. [Google Scholar] [CrossRef]
- Song, D.; Yang, J.; Fan, X.; Liu, Y.; Liu, A.F.; Chen, G.; Joo, Y.H. Maximum power extraction for wind turbines through a novel yaw control solution using predicted wind directions. Energy Convers. Manag. 2018, 157, 587–599. [Google Scholar] [CrossRef]
- Dong, M.A. Applied research of lidar using for wind turbine yaw error test. Appl. Energy Technol. 2015, 11, 5–7. [Google Scholar] [CrossRef]
- Yang, W.X.; Song, P.; Bai, K.; Zhang, Y.F. Test method for yaw error of wind turbine based on laser anemometer. North China Electr. Power 2016, 7, 59–63. [Google Scholar] [CrossRef]
- Zhang, W.; Yang, L.; Zhang, Z.Q. Yaw correction analysis method for wind turbine. Huadian Technol. 2017, 4, 71–73. [Google Scholar] [CrossRef]
- Choi, D.; Shin, W.; Ko, K.; Rhee, W. Static and dynamic yaw misalignments of wind turbines and machine learning based correction methods using LiDAR data. IEEE Trans. Sustain. Energy 2019, 10, 971–982. [Google Scholar] [CrossRef]
- Kragh, K.A.; Hansen, M.H.; Mikkelsen, T. Improving Yaw Alignment Using Spinner Based LIDAR. In Proceedings of the 49th AIAA Aerospace Sciences Meeting including the New Horizons Forum and Aerospace Exposition, Orlando, FL, USA, 4–7 January 2011. [Google Scholar] [CrossRef]
- Scholbrock, A.; Fleming, P.A.; Wright, A.D.; Slinger, C.W.; Medley, J.; Harris, M. Field Test Results from Lidar Measured Yaw Control for Improved Power Capture with the NREL Controls Advanced Research Turbine. In Proceedings of the AIAA Science and Technology Forum and Exposition, Kissimmee, FL, USA, 2 January 2015. [Google Scholar] [CrossRef]
- Fleming, P.A.; Scholbrock, A.K.; Jehu, A.; Davoust, S.; Osler, E.; Wright, A.D.; Clifton, A. Field-Test Results Using a Nacelle-Mounted Lidar for Improving Wind Turbine Power Capture by Reducing Yaw Misalignment. In Proceedings of the 5th Science of Making Torque from Wind Conference, Bristol, UK, 18–20 June 2014. [Google Scholar] [CrossRef]
- Madsen, H.A.; Sørensen, N.N.; Schreck, S. Yaw Aerodynamics Analyzed with Three Codes in Comparison with Experiment. In Proceedings of the Aerospace Sciences Meeting and Exhibit Wind Energy Symposium, Reno, NV, USA, 6–9 January 2003. [Google Scholar] [CrossRef]
- Fleming, P.; Annoni, J.; Shah, J.J.; Wang, L.P.; Ananthan, A.; Zhang, Z.J.; Hutchings, K.; Wang, P.; Chen, W.G.; Chen, L. Field test of wake steering at an offshore wind farm. Sci. Wind Energy 2017, 2, 229–239. [Google Scholar] [CrossRef]
- Available online: http://www.movelaser.com/madmin/upload/file/MolasNL_Whitepaper.pdf (accessed on 8 August 2019).
- Available online: https://wind.nrel.gov/forum/wind/viewtopic.php?f=14&t=1211&p=12103&hilit=LiDAR+measurement#p5763 (accessed on 30 May 2019).
- Liu, H. Research on Yaw Control Technology Based on Lidar. Master’s Thesis, Zhejiang University, Hangzhou, China, 2019. [Google Scholar]
- Lin, Y.G. Study on the Technology of Pitch-Control for Large Scale Wind Turbine. Ph.D. Thesis, Zhejiang University, Hangzhou, China, 2005. [Google Scholar]
- Medici, D.; Ivanell, S.; Dahlberg, J.-Å.; Alfredsson, P.H. The upstream flow of a wind turbine: Blockage effect. Sci. Wind Energy 2011, 14, 691–697. [Google Scholar] [CrossRef]
- Simley, E.; Angelou, N.; Mikkelsen, T.; Sjöholm, M.; Mann, J.; Pao, L.Y. Characterization of wind velocities in the upstream induction zone of a wind turbine using scanning continuous-wave lidars. Sci. J. Renew. Sustain. Energy 2016, 8, 13301. [Google Scholar] [CrossRef]
- IEC. IEC 61400-1 Wind Turbine Generator Systems-Part 1: Safety Requirements, 3rd ed.; International Electrotechnical Commission: Geneva, Switzerland, 2005. [Google Scholar]
- IEC. IEC 61400-1 Wind Turbine Generator Systems-Part 1: Safety Requirements, 2nd ed.; International Electrotechnical Commission: Geneva, Switzerland, 1999. [Google Scholar]
- NWTC Information Portal (TurbSim). Available online: https://nwtc.nrel.gov/TurbSim (accessed on 4 March 2019).
- NWTC Information Portal (FAST v8). Available online: https://nwtc.nrel.gov/FAST8 (accessed on 4 March 2019).





















| Parameter | Ah1 | Ah2 | Ah3 | Ah4 | v1 | v2 | 
| Values | 6 m/s | 10 m/s | 
| Case | Mean Power, MW | Yaw Travel, Degrees | Yaw Number | 
|---|---|---|---|
| Traditional yaw control | 2.43569 | 1249 | 285 | 
| LSTM-NNnovel yaw control | 2.44318 | 1183 | 274 | 
© 2020 by the authors. Licensee MDPI, Basel, Switzerland. This article is an open access article distributed under the terms and conditions of the Creative Commons Attribution (CC BY) license (http://creativecommons.org/licenses/by/4.0/).
Share and Cite
Chen, W.; Liu, H.; Lin, Y.; Li, W.; Sun, Y.; Zhang, D. LSTM-NN Yaw Control of Wind Turbines Based on Upstream Wind Information. Energies 2020, 13, 1482. https://doi.org/10.3390/en13061482
Chen W, Liu H, Lin Y, Li W, Sun Y, Zhang D. LSTM-NN Yaw Control of Wind Turbines Based on Upstream Wind Information. Energies. 2020; 13(6):1482. https://doi.org/10.3390/en13061482
Chicago/Turabian StyleChen, Wenting, Hang Liu, Yonggang Lin, Wei Li, Yong Sun, and Di Zhang. 2020. "LSTM-NN Yaw Control of Wind Turbines Based on Upstream Wind Information" Energies 13, no. 6: 1482. https://doi.org/10.3390/en13061482
APA StyleChen, W., Liu, H., Lin, Y., Li, W., Sun, Y., & Zhang, D. (2020). LSTM-NN Yaw Control of Wind Turbines Based on Upstream Wind Information. Energies, 13(6), 1482. https://doi.org/10.3390/en13061482
 
        
 
       