A Thermodynamic Analysis of an Air-Cooled Proton Exchange Membrane Fuel Cell Operated in Different Climate Regions
Abstract
1. Introduction
Cathode: ½O2 + 2H+ + 2e− ⇒ H2O
Combined: H2 + ½O2 ⇒ H2O
- A lack of fundamental understanding concerning the required amount of air to control the fuel cell temperature, i.e., the stoichiometric flow ratio.
- A lack of fundamental understanding of how the ambient conditions affect the required air flow rates, and under what conditions it is feasible to operate such a fuel cell stack without a preheater.
- A lack of fundamental understanding of which blower has to be paired with such an air-cooled fuel cell stack under various ambient conditions.
2. Formulation of the Molar Flow Rates and the Energy Balance
2.1. Assumptions
2.2. Thermodynamic System Considered
2.3. Molar Inlet Streams
2.4. Molar Outlet Streams
2.5. Formulation of the Energy Balance
3. A Thermodynamic Analysis of Air-Cooled PEM Fuel Cells Using V-Tad-Diagrams
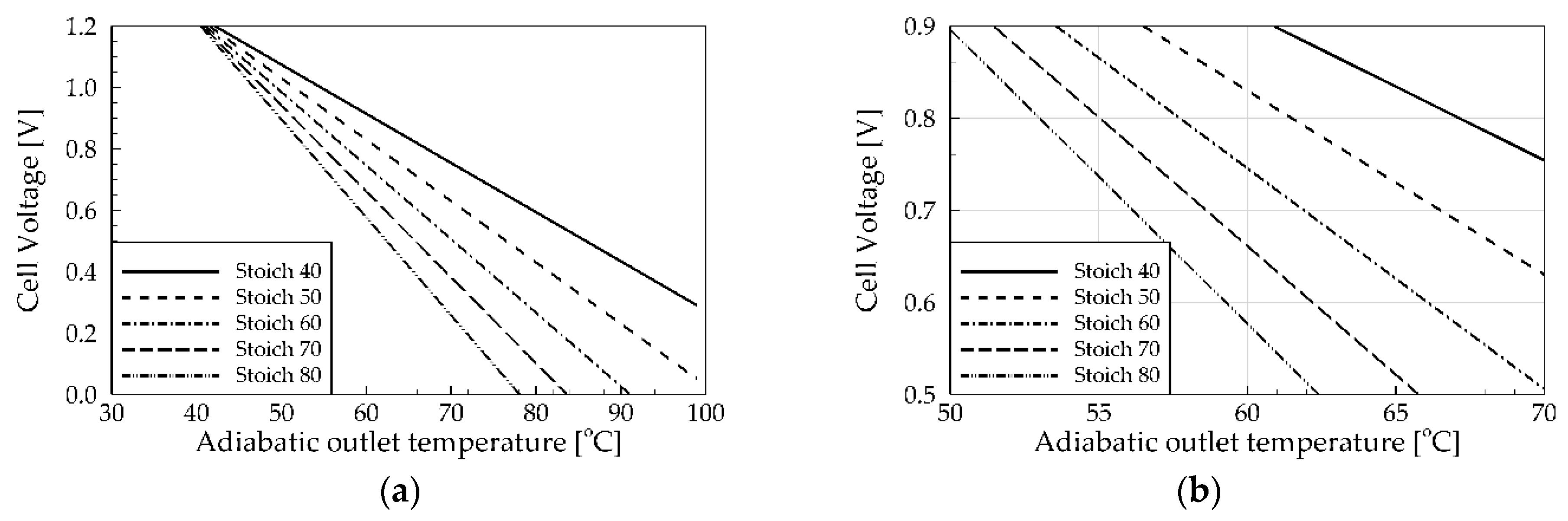
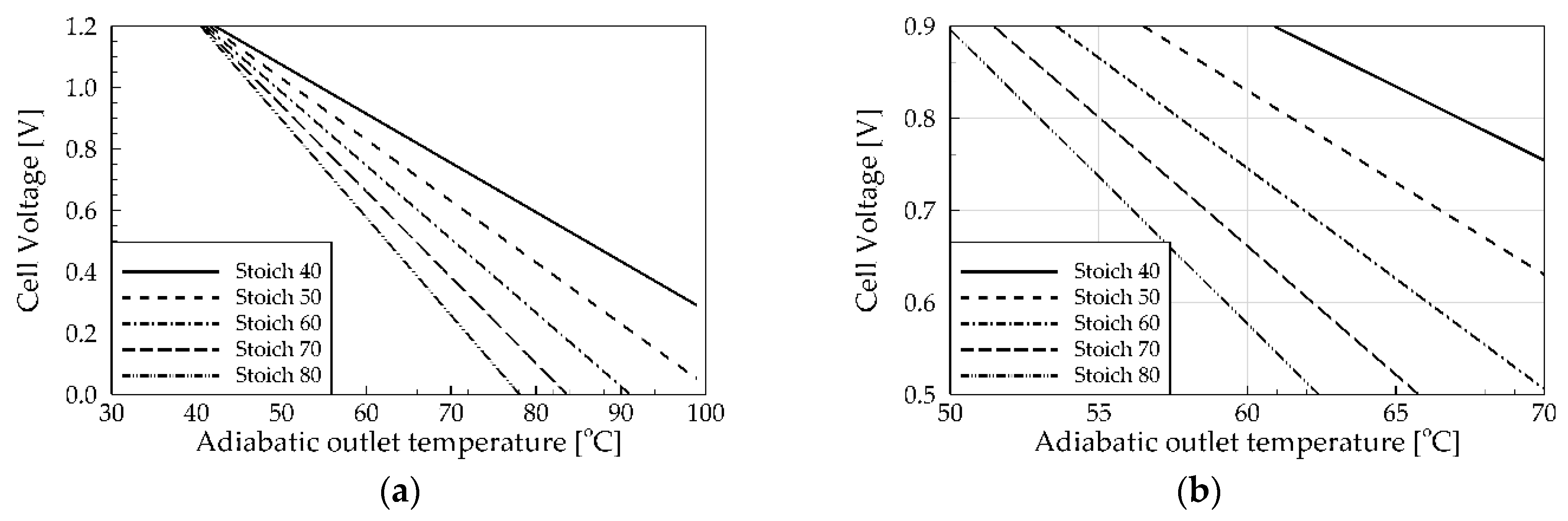
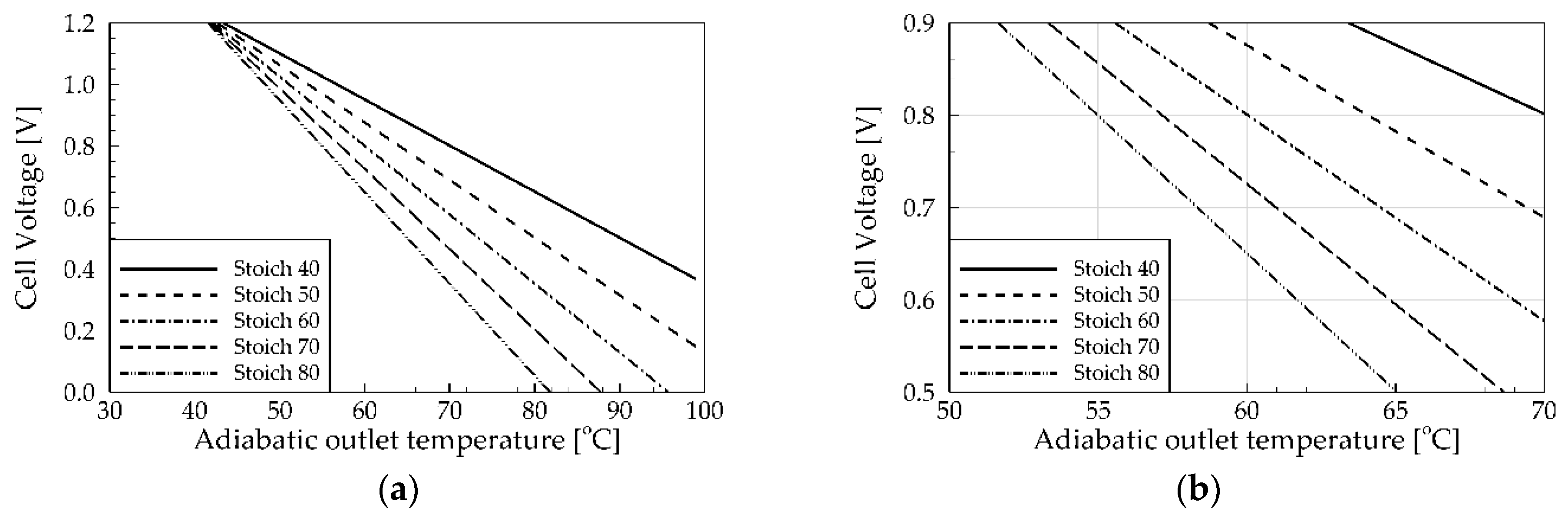
3.1. Case 1: Standard Conditions
3.2. Case 2: Cold and Dry Conditions
3.3. Case 3: Hot and Humid Conditions
3.4. Case 4: Hot and Dry Conditions
4. Conclusions
5. Patent
Author Contributions
Funding
Conflicts of Interest
Nomenclature
| A | constant in Antoine’s equation (A = 8.07131) |
| B | constant in Antoine’s equation (B = 1730.63) |
| C | constant in Antoine’s equation (C = 233.426) |
| CL | Catalyst layer |
| cp | specific heat and constant pressure (J/kg-K) |
| D | constant in Antoine’s equation (D = 133.233) |
| GDL | Gas diffusion layer |
| h | specific enthalpy (J/mol) |
| H | enthalpy stream (W) |
| I | Fuel cell current (A) |
| i | Current density (A/cm2) |
| F | Faraday’s constant (96,487 C/mol) |
| M | Molecular Weight (kg/mol) |
| Molar flow rate (mol/s) | |
| PEMFC | Proton exchange membrane fuel cell |
| p | Pressure (Pa) |
| Q | Heat Loss (W) |
| RH | Relative humidity (-) |
| T | Temperature (°C) |
| V | Voltage (V) |
| W | Fuel cell work (W) |
| Subscripts | |
| amb | ambient value |
| ad | adiabatic value |
| an | anode |
| ca | cathode |
| el | electric |
| f | formation value |
| i | denotes a species i |
| in | inlet value |
| out | outlet value |
| prod | product |
| react | reactant |
| sat | saturation value |
| tot | total value |
| Superscripts | |
| 0 | standard value |
| Greek Symbols | |
| ξ | Stoichiometric flow ratio (Stoich) (-) |
References
- Sevjidsuren, G.; Uyanga, E.; Bumaa, B.; Temujin, E.; Altantsog, P.; Sangaa, D. Exergy analysis of 1.2 kW nexa fuel cell module. In Clean Energy for Better Environment; Aydinalp, C., Ed.; IntechOpen: London, UK, 2012. [Google Scholar]
- Berning, T. Three-Dimensional Computational Analysis of Transport Phenomena in a PEM Fuel Cell. Ph.D. Thesis, University of Victoria, Victoria, BC, Canada, 2002. [Google Scholar]
- Barbir, F. PEM Fuel Cells—Theory and Practice, 2nd ed.; Academic Press: Cambridge, MA, USA, 2012. [Google Scholar]
- Ballard-Power-Systems-Inc. Mark1020 ACS™ Fuel Cell Stack—Product Manual and Integration Guide; MAN5100192-0F; Ballard-Power-Systems-Inc.: Burnaby, BC, Canada, 2008. [Google Scholar]
- Zhu, W.H.; Payne, R.U.; Cahela, D.R.; Tatarchuk, B.J. Uniformity analysis at MEA and stack Levels for a Nexa PEM fuel cell system. J. Power Sources 2004, 128, 231–238. [Google Scholar] [CrossRef]
- Del Real, A.J.; Arce, A.; Bordons, C. Development and experimental validation of a PEM fuel cell dynamic model. J. Power Sources 2007, 173, 310–324. [Google Scholar] [CrossRef]
- Larminie, L.; Dicks, A. Fuel Cell Systems Explained, 2nd ed.; Wiley: Hoboken, NJ, USA, 2003. [Google Scholar]
- Jeong, S.U.; Cho, E.A.; Kim, H.-J.; Lim, T.-H.; Oh, I.-H.; Kim, S.H. A study on cathode structure and water transport in air-breathing PEM fuel cells. J. Power Sources 2006, 159, 1089–1094. [Google Scholar] [CrossRef]
- Al Shakhshir, S.; Berning, T. Employing hot wire anemometry to directly measure the water balance of a commercial proton exchange membrane fuel cell stack. Int. J. Hydrog. Energy 2016, 5, 183–188. [Google Scholar] [CrossRef]
- Adzakpa, K.P.; Ramousse, J.; Dube, Y.; Akremi, H.; Agbossou, K.; Dostie, M.; Poulin, A.; Fournier, M. Transient air cooling thermal modeling of a PEM fuel cell. J. Power Sources 2008, 179, 164–176. [Google Scholar] [CrossRef]
- Wu, J.; Galli, S.; Lagana, I.; Pozio, A.; Monteleone, G.; Yuan, X.Z.; Martin, J.; Wang, H. An air-cooled proton exchange membrane fuel cell with combined oxidant and coolant flow. J. Power Sources 2009, 188, 199–204. [Google Scholar] [CrossRef]
- Sasmito, A.P.; Lum, K.W.; Birgersson, E.; Mujumdar, A.S. Computational study of forced air-convection in open-cathode polymer electrolyte fuel cell stacks. J. Power Sources 2010, 195, 5550–5563. [Google Scholar] [CrossRef]
- Sasmito, A.P.; Birgersson, E.; Mujumdar, A.S. Numerical evaluation of various thermal management strategies for polymer electrolyte fuel cell stacks. Int. J. Hydrog. Energy 2011, 36, 12991–13007. [Google Scholar] [CrossRef]
- Sasmito, A.P.; Birgersson, E.; Mujumdar, A.S. A novel flow reversal concept for improved thermal management in polymer electrolyte fuel cell stacks. Int. J. Therm. Sci. 2012, 54, 242–252. [Google Scholar] [CrossRef]
- Sasmito, A.P.; Birgersson, E.; Lum, K.W.; Mujumdar, A.S. Fan selection and stack design for open-cathode polymer electrolyte fuel cell stacks. Renew. Energy 2012, 37, 325–332. [Google Scholar] [CrossRef]
- Shahsavari, S.; Desouza, A.; Bahrami, M.; Kjeang, E. Thermal analysis of air-cooled PEM fuel cells. Int. J. Hydrog. Energy 2012, 37, 18261–18271. [Google Scholar] [CrossRef]
- Akbari, M.; Tamayol, A.; Bahrami, M. Thermal assessment of convective heat transfer in air-cooled PEMFC stacks: An experimental study. Energy Procedia 2012, 29, 1–11. [Google Scholar] [CrossRef]
- Meyer, Q.; Ashton, S.; Boillat, P.; Cochet, M.; Engebretsen, E.; Finegan, D.P.; Lu, X.; Bailey, J.J.; Mansro, N.; Abdulaziz, R.; et al. Effect of gas diffusion layer properties on water distribution across air-cooled, open-cathode polymer electrolyte fuel cells: A combined exsitu X-ray tomography and in-operando neutron imaging study. Electrochim. Acta 2016, 211, 478–487. [Google Scholar] [CrossRef]
- Meyer, Q.; Ashton, S.; Jervis, R.; Finegan, D.P.; Boillat, P.; Cochet, M.; Curnick, O.; Reisch, T.; Adcock, P.; Shearing, P.R.; et al. The hydro-electro-thermal performance of air-cooled, open-cathode polymer electrolyte fuel cells: Combined localised current density, temperature and water mapping. Electrochim. Acta 2015, 180, 307–315. [Google Scholar] [CrossRef]
- Chen, C.-Y.; Huang, K.-P.; Yan, W.-M.; Lai, M.-P.; Yang, C.-C. Development and performance diagnosis of a high power air-cooled PEMFC stack. Int. J. Hydrog. Energy 2016, 41, 11784–11793. [Google Scholar] [CrossRef]
- Zhang, G.; Kandlikar, S.G. A critical review of cooling techniques in proton exchange membrane fuel cells. Int. J. Hydrog. Energy 2012, 37, 2412–2429. [Google Scholar] [CrossRef]
- Flückiger, R.; Tiefenauer, A.; Ruge, M.; Aebi, C.; Wokaun, A.; Büchi, F.N. Thermal analysis and optimization of a portable, edge-air-cooled PEFC stack. J. Power Sources 2007, 172, 324–333. [Google Scholar] [CrossRef]
- Berning, T. The dew point temperature as a criterion for optimizing operating conditions of proton exchange membrane fuel cells. Int. J. Hydrog. Energy 2012, 37, 10265–10275. [Google Scholar] [CrossRef]
- Cengel, Y.; Boles, M.A. Thermodynamics—An Engineering Approach, 6th ed.; McGraw Hill: New York, NY, USA, 2007. [Google Scholar]
- Berning, T. A Numerical investigation of heat and mass transfer in air-cooled proton exchange membrane fuel cells. In Proceedings of the ASME—JSME—KSME Joint Fluids Engineering Conference 2019, AJKFluids2019, San Francisco, CA, USA, 28 July–1 August 2019; Volume 2. [Google Scholar]







| Species | M (kg/mol) | cp (J/mol-K) | h0 (J/mol) |
|---|---|---|---|
| Oxygen | 0.032 | 30.000 | 8682 |
| Nitrogen | 0.028 | 29.484 | 8669 |
| Hydrogen | 0.002 | 28.614 | 8468 |
| Water Vapor | 0.018 | 33.462 | 9904 |
© 2020 by the authors. Licensee MDPI, Basel, Switzerland. This article is an open access article distributed under the terms and conditions of the Creative Commons Attribution (CC BY) license (http://creativecommons.org/licenses/by/4.0/).
Share and Cite
Berning, T.; Knudsen Kær, S. A Thermodynamic Analysis of an Air-Cooled Proton Exchange Membrane Fuel Cell Operated in Different Climate Regions. Energies 2020, 13, 2611. https://doi.org/10.3390/en13102611
Berning T, Knudsen Kær S. A Thermodynamic Analysis of an Air-Cooled Proton Exchange Membrane Fuel Cell Operated in Different Climate Regions. Energies. 2020; 13(10):2611. https://doi.org/10.3390/en13102611
Chicago/Turabian StyleBerning, Torsten, and Søren Knudsen Kær. 2020. "A Thermodynamic Analysis of an Air-Cooled Proton Exchange Membrane Fuel Cell Operated in Different Climate Regions" Energies 13, no. 10: 2611. https://doi.org/10.3390/en13102611
APA StyleBerning, T., & Knudsen Kær, S. (2020). A Thermodynamic Analysis of an Air-Cooled Proton Exchange Membrane Fuel Cell Operated in Different Climate Regions. Energies, 13(10), 2611. https://doi.org/10.3390/en13102611

