The Inhibition Effect of Gas–Solid Two-Phase Inhibitors on Methane Explosion
Abstract
1. Introduction
2. Materials and Methods
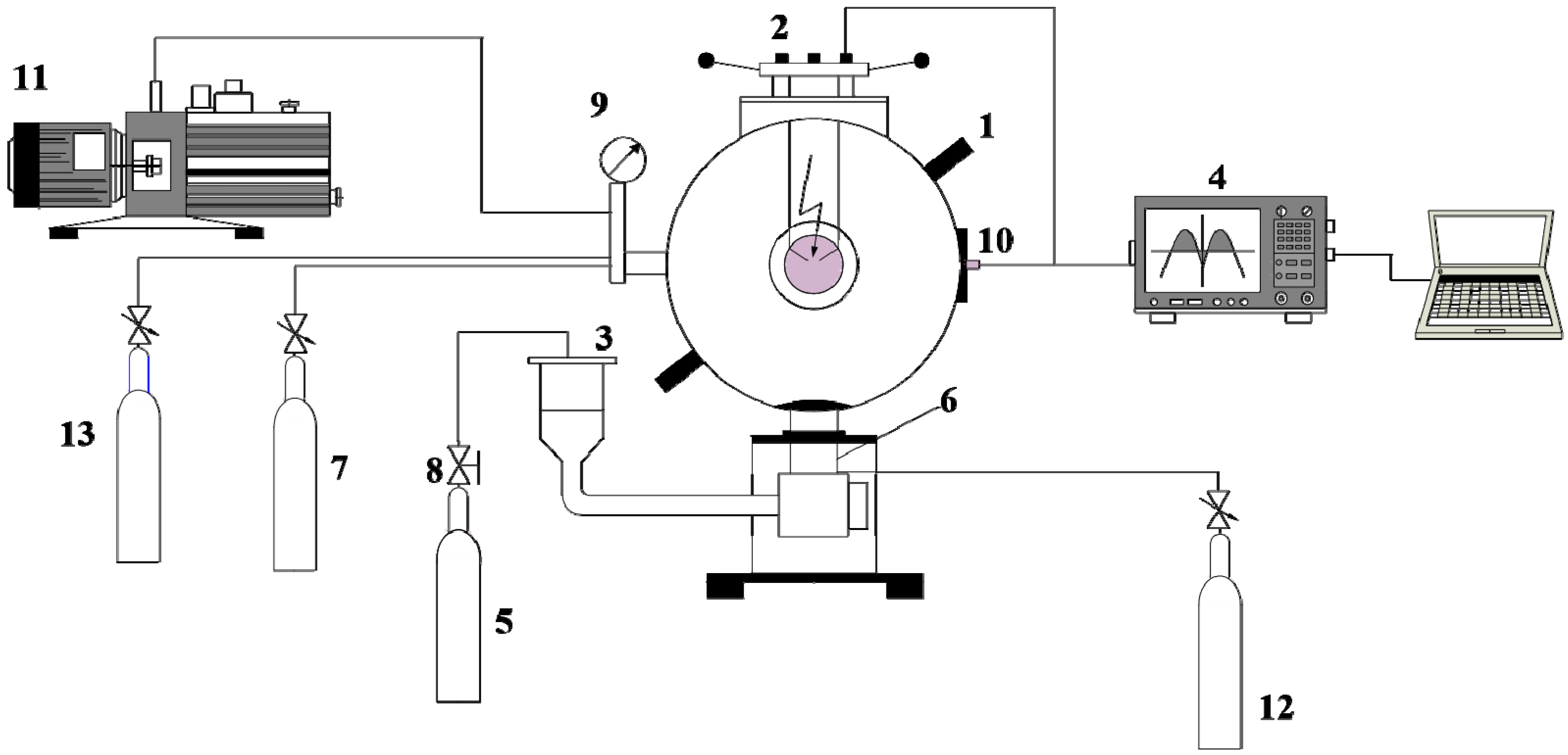
2.1. Explosion Test System
2.2. Materials
3. Results and Discussion
3.1. Explosion Suppression Effects of Single-Phase Inhibitors
3.2. Effects of Powders in Gas–Solid Two-Phase Inhibitors on Methane Explosion
3.3. Effects of Inert Gases in Gas–Solid Two-Phase Inhibitors on Methane Explosion
3.4. Comparison of the Methane Explosion Parameters under Different Inhibitors
3.5. Comparison of Actual Suppression Effect and Theoretical Addition Effect
4. Suppression Mechanism of Gas–Solid Two-Phase Inhibitors
5. Conclusions
Author Contributions
Funding
Conflicts of Interest
References
- Brodny, J.; Tutak, M. Analysis of methane emission into the atmosphere as a result of mining activity. In Proceedings of the 16th International Multidisciplinary Scientific GeoConference, SGEM 2016, Albena, Bulgaria, 30 June–6 July 2016; pp. 83–90. [Google Scholar]
- Brodny, J.; Tutak, M. Determination of the zone endangered by methane explosion in goaf with caving of operating longwalls. In Proceedings of the 16th International Multidisciplinary Scientific GeoConference, SGEM 2016, Albena, Bulgaria, 30 June–6 July 2016; pp. 299–306. [Google Scholar]
- Tutak, M.; Brodny, J. Analysis of influence of goaf sealing from tailgate on the methane concentration at the outlet from the longwall. In Proceedings of the 2017 IOP Conference Series: Earth Earth and Environmental Science, Prague, Czech Republic, 11–15 September 2017. [Google Scholar]
- Mishra, D.P.; Kumar, P.; Panigrahi, D.C. Dispersion of methane in tailgate of a retreating longwall mine: A computational fluid dynamics study. Environ. Earth Sci. 2016, 75, 1–10. [Google Scholar] [CrossRef]
- Liang, Y.; Zeng, W.; Hu, E. Experimental study of the effect of nitrogen addition on gas explosion. J. Loss Prev. Process Ind. 2013, 26, 1–9. [Google Scholar] [CrossRef]
- Benedetto, A.D.; Sarli, V.D.; Salzano, E.; Cammarote, F.; Russo, G. Explosion behavior of CH4/O2/N2/CO2 and H2/O2/N2/CO2 mixtures. Int. J. Hydrogen Energy 2009, 34, 6970–6978. [Google Scholar] [CrossRef]
- Qian, H.; Wang, Z.; Jiang, J. Influence of N2/CO2 mixture on methane explosion. Explos. Shock Waves 2012, 32, 445–448. [Google Scholar]
- Jia, B.; Wen, H.; Liang, Y. Mechanism characteristics of CO2 and N2 on inhibiting methane explosions in coal mine roadways. J. China Coal Soc. 2013, 38, 361–366. [Google Scholar]
- Chen, J.; Hu, S.; Cao, X. Experimental research on influence of gas explosion characteristics by multiple inert gas. Coal Technol. 2015, 34, 161–164. [Google Scholar]
- Li, Y.; Bi, M.; Huang, L.; Liu, Q.; Li, B.; Ma, D.; Gao, W. Hydrogen cloud explosion evaluation under inert gas atmosphere. Fuel. Process. Technol. 2018, 180, 96–104. [Google Scholar] [CrossRef]
- Chelliah, H.K.; Wanigarathne, P.C.; Lentati, A.M.; Krauss, R.H.; Fallon, G.S. Effect of sodium bicarbonate particle size on the extinction condition of non-premixed counterflow flames. Combust. Flame 2003, 134, 261–272. [Google Scholar] [CrossRef]
- Amyotte, P.R. Solid inertants and their use in dust explosion prevention and mitigation. J. Loss Prev. Process Ind. 2006, 19, 161–173. [Google Scholar] [CrossRef]
- Chen, Z.; Fan, B.; Jiang, X. Suppression effects of powder suppressants on the explosions of oxyhydrogen gas. J. Loss Prev. Process Ind. 2006, 19, 648–655. [Google Scholar] [CrossRef]
- Luo, Z.; Ge, L.; Deng, J.; Cheng, F. Inhibitory effect study on nanometer powders to gas explosion in coal mine. J. Hunan Univ. Sci. Technol. (Nat. Sci. Ed.) 2009, 24, 19–23. [Google Scholar]
- Wen, H.; Wang, Q.; Deng, J.; Luo, Z. Effect of the concentration of Al(OH)3 ultra-fine powders on the pressure of methane explosion. J. China Coal Soc. 2009, 34, 1479–1482. [Google Scholar]
- Ni, X.; Kuang, K.; Yang, D.; Liao, G. Experimental study on the suppression of methane/air diffusion flame by iron-modified zeolite powders. China Saf. Sci. J. 2012, 22, 53–57. [Google Scholar]
- Liu, Q.; Hu, Y.; Bai, C.; Chen, M. Methane/coal dust/air explosions and their suppression by solid particle suppressing agents in a large-scale experimental tube. J. Loss Prev. Process Ind. 2013, 26, 310–316. [Google Scholar] [CrossRef]
- Zhang, Y.M.; Wang, Y.; Zheng, L.G.; Yang, T.; Gao, J.L.; Li, Z.H. Effect of pristine palygorskite powders on explosion characteristics of methane-air premixed gas. Energies 2018, 11, 2496. [Google Scholar] [CrossRef]
- Koshiba, Y.; Iida, K.; Ohtani, H. Fire extinguishing properties of novel ferrocene/surfynol 465 dispersions. Fire Saf. J. 2015, 72, 1–6. [Google Scholar] [CrossRef]
- Wang, X.; Wang, T.; Xu, H.; Yang, J.; Wolanski, P. Modification of commercial BC dry chemical powders suppressant and experiments on suppression of methane-air explosion. CIESC J. 2015, 66, 5171–5178. [Google Scholar]
- Wang, Y.; Cheng, Y.S.; Yu, M.G.; Li, Y.; Cao, J.L.; Zheng, L.G.; Yi, H.W. Methane explosion suppression characteristics based on the NaHCO3/red-mud composite powders with core-shell structure. J. Hazard. Mater. 2017, 335, 84–91. [Google Scholar] [CrossRef]
- Zhang, Y.M.; Wang, Y.; Meng, X.Q.; Zheng, L.G.; Gao, J.L. The suppression characteristics of NH4H2PO4/red mud composite powders on methane explosion. Appl. Sci. 2018, 8, 1433. [Google Scholar] [CrossRef]
- Zheng, L.H.; Li, G.; Wang, Y.; Zhu, X.; Pan, R.; Wang, Y. Effect of blockage ratios on the characteristics of methane/air explosion suppressed by BC powder. J. Hazard. Mater. 2018, 355, 25–33. [Google Scholar] [CrossRef]
- Song, Y.; Zhang, Q.; Wu, W. Interaction between gas explosion flame and deposited dust. Process Saf. Environ. Protect. 2017, 111, 775–784. [Google Scholar] [CrossRef]
- Jiang, H.; Bi, M.; Li, B.; Zhang, D.; Gao, W. Inhibition evaluation of ABC powder in aluminum dust explosion. J. Hazard. Mater. 2019, 361, 273–282. [Google Scholar] [CrossRef] [PubMed]
- Gan, B.; Li, B.; Jiang, H.; Bi, M.; Gao, W. Suppression of polymethyl methacrylate dust explosion by ultrafine water mist/additives. J. Hazard. Mater. 2018, 351, 346–355. [Google Scholar] [CrossRef] [PubMed]
- Chow, W.K.; Ni, X.M. Developments and prospective application of gas-solid hybrid composite powders in fire suppression. J. Appl. Fire Sci. 2009, 19, 311–323. [Google Scholar]
- Linteris, G.T.; Rumminger, M.D.; Babushok, V.I. Flame inhibition by ferrocene and blends of inert and catalytic agents. Proc. Combust. Inst. 2000, 28, 2965–2972. [Google Scholar] [CrossRef]
- Skaggs, R.R. Assessment of the fire suppression mechanics for HFC-227ea combined with NaHCO3. In Proceedings of the 12th Halon Options Technical Working Conference, HOTWC 2002, Albuquerque, New Mexico, 30 April–2 May 2002; pp. 1–11. [Google Scholar]
- Deng, J.; Tian, Z.; Luo, Z.; Cheng, F.; Zhang, Q. Experimental Research on Suppressing Gas Explosion by Mg(OH)2/CO2. Saf. Coal Mines 2013, 44, 4–10. [Google Scholar]
- Luo, Z.; Wang, T.; Tian, Z.; Cheng, F.; Deng, J.; Zhang, Y. Experimental study on the suppression of gas explosion using the gas-solid suppressant of CO2/ABC powder. J. Loss Prev. Process Ind. 2014, 30, 17–23. [Google Scholar] [CrossRef]
- Jiang, B.; Liu, Z.; Tang, M.; Yang, K.; Lv, Y.; Lin, B. Active suppression of premixed methane/air explosion propagation by non-premixed suppressant with nitrogen and ABC powder in a semi-confined duct. J. Nat. Gas Sci. Eng. 2016, 29, 141–149. [Google Scholar] [CrossRef]
- Li, C.; Wu, G.; Zhou, N.; Luo, Y. Numerical analysis of methane combustion suppression by N2/CO2 /H2O. J. Univ. Sci. Technol. China 2010, 40, 288–293. [Google Scholar]
- Zhang, Y.; Wu, Q.; Liu, C.; Jiang, B.Y.; Zhang, B. Experimental study on coal mine gas explosion suppression with inert gas N2/CO2. Explos. Shock Waves 2017, 37, 906–912. [Google Scholar]








| Sample | Max-Pressure (MPa) | Decline Rate of Max-Pressure (%) | The Time to Max-Pressure (s) | Multiple of the Time to Max-Pressure Extension (s) | The Maximum Rate of Pressure Rise (MPa·s−1) | Decline Rate of the Maximum Rate of Pressure Rise (%) |
|---|---|---|---|---|---|---|
| No Suppressants | 0.70 | 0 | 0.12 | 0 | 29.7 | 0 |
| 0.06 g/L BC | 0.58 | 17.1 | 0.28 | 1.33 | 4.35 | 85.4 |
| 0.10 g/L BC | 0.52 | 25.7 | 0.37 | 2.08 | 2.62 | 91.2 |
| 0.06 g/L ABC | 0.62 | 11.4 | 0.19 | 0.58 | 10.15 | 64.1 |
| 0.10 g/L ABC | 0.59 | 15.2 | 0.23 | 0.92 | 8.07 | 72.8 |
| 2% CO2 | 0.61 | 12.9 | 0.17 | 0.42 | 15.59 | 47.5 |
| 8% CO2 | 0.58 | 17.1 | 0.20 | 0.67 | 10.7 | 64.0 |
| 2% N2 | 0.67 | 4.3 | 0.15 | 0.25 | 22.21 | 25.2 |
| 8% N2 | 0.62 | 11.4 | 0.17 | 0.42 | 15.14 | 49.0 |
| Sample | Max-Pressure (MPa) | The Time to Max-Pressure (s) | The Maximum Rate of Pressure Rise (MPa·s−1) |
|---|---|---|---|
| No Suppressants | 0.70 | 0.12 | 29.70 |
| 8% N2 | 0.62 | 0.17 | 15.14 |
| 8% CO2 | 0.58 | 0.20 | 10.70 |
| 0.10 g/L BC | 0.52 | 0.37 | 2.62 |
| 0.10 g/L ABC | 0.59 | 0.23 | 8.07 |
| 8% N2/0.10 g/L BC | 0.44 | 0.57 | 1.09 |
| 8% N2/0.10 g/L ABC | 0.55 | 0.28 | 5.25 |
| 8% CO2/0.10 g/L BC | No Explosion | - | - |
| 8% CO2/0.10 g/L ABC | 0.47 | 0.39 | 2.27 |
© 2019 by the authors. Licensee MDPI, Basel, Switzerland. This article is an open access article distributed under the terms and conditions of the Creative Commons Attribution (CC BY) license (http://creativecommons.org/licenses/by/4.0/).
Share and Cite
Wang, Y.; Meng, X.; Ji, W.; Pei, B.; Lin, C.; Feng, H.; Zheng, L. The Inhibition Effect of Gas–Solid Two-Phase Inhibitors on Methane Explosion. Energies 2019, 12, 398. https://doi.org/10.3390/en12030398
Wang Y, Meng X, Ji W, Pei B, Lin C, Feng H, Zheng L. The Inhibition Effect of Gas–Solid Two-Phase Inhibitors on Methane Explosion. Energies. 2019; 12(3):398. https://doi.org/10.3390/en12030398
Chicago/Turabian StyleWang, Yan, Xiangqing Meng, Wentao Ji, Bei Pei, Chendi Lin, Hao Feng, and Ligang Zheng. 2019. "The Inhibition Effect of Gas–Solid Two-Phase Inhibitors on Methane Explosion" Energies 12, no. 3: 398. https://doi.org/10.3390/en12030398
APA StyleWang, Y., Meng, X., Ji, W., Pei, B., Lin, C., Feng, H., & Zheng, L. (2019). The Inhibition Effect of Gas–Solid Two-Phase Inhibitors on Methane Explosion. Energies, 12(3), 398. https://doi.org/10.3390/en12030398

