Abstract
The liquefied natural gas (LNG) tank outlet pipe is the weak part of any LNG vaporizing station. Due to the ultralow temperature characteristics of LNG, pipeline damage or leakage may cause major accidents. This paper used the finite element analysis method and the CAESAR II software to analyze the stresses of LNG storage tank outlet pipes and flanges in a LNG vaporizing station, the influencing factors (compensator type, compensator position, LNG density, pressure, temperature) are analyzed, and stress reduction measures are discussed. According to the results of the analysis, the following main conclusions can be obtained: (1) the most dangerous working condition of the LNG storage tank outlet pipe is the precooling condition; under this condition, the comprehensive stress, displacement and support force are the largest; (2) compared with the Z-type and L-type compensators, the effect of the π-type compensator to reduce the stress of the low temperature pipe is the best; (3) when the length of the cold tightening unit is 40% of the cold shrinkage, the stress reduction effect is the best.
1. Introduction
It is expected that the global liquefied natural gas (LNG) supply will increase by about 50% in 2020 compared to 2016. A LNG vaporizing station is a small treatment site for LNG gasification to supply the gas pipeline network. It mainly has the functions of receiving, storing, and vaporizing LNG. The LNG storage tank is the key equipment in a LNG vaporizing station and it plays an important role in the whole process. At present, although LNG storage tank design technology is quite mature, the research on the design of the LNG tank pipes is still less so. The difference between LNG pipelines and ordinary oil and gas pipelines is that LNG poses a low temperature hazard, and once a leakage occurs, any exposed human body will suffer frostbite and the leaked LNG will cause the material to contract, causing further damage to the pipelines and equipment, resulting in more serious leaks. However, LNG will evaporate immediately after it leaks. After mixing with air, it will become a mixture with an explosive limit of 5–15%, so it can easily to explode when it meets a fire source []. Therefore, the requirements on the safety performance of equipment and pipelines in LNG vaporizing stations are higher than those of other types of oil and gas stations.
The stress analysis of equipment can be traced back to the 1950s, when the stress problems of equipment began to be studied in the United States, because of the immature conditions and methods at that time, the development of this aspect was not vigorously promoted. In 1995, Adali et al. used the elasticity theory and the Tsai-Wu failure criterion to calculate the maximum destructive pressure of vessels. Based on that, the optimization analysis was carried out by using the robust multidimensional method []. In 2004, Yang et al. described the process, method and evaluation principle of tower container overall stress analysis from the perspective of pressure vessel analysis and design, which provided a method for tower analysis and design []. In 2005, Teng et al. used membrane stress theory to optimize composite containers []. In 2008, Xu et al. applied the shell-solid connection technique in the ANSYS sub-model method to analyze the stress of the whole and key components of a large-scale chemical plant. The effect of the overall structure on the key components under combined conditions was obtained []. In 2014, Song conducted a stress analysis and load optimization study on compressed natural gas (CNG) equipment []. In 2016, Li et al. applied the Workbench software to simulate a compressor cylinder and used the inflation method to divide the grid. The temperature and thermal stress of the cylinder at different stages of gas morphology were obtained []. In 2018, Lu et al. analyzed the vibration problem of reciprocating pump piping systems based on pressure pulsation theory and put forward some pipeline vibration reduction measures [].
From the aspect of stress analysis of the cryogenic pipelines, in 2009, Brown et al. put forward a finite element model to analyze the displacement and stress of underground or subsea LNG pipelines []. In 2011, Wang used the CAESAR II software to analyze the cargo handling pipeline of LNG carriers, the feasibility of setting up horizontal expansion joints was obtained and the setting principle of the pipe support was summarized []. In 2013, Jiao used the CAESAR II software to analyze low temperature ethylene loading and unloading ship piping systems, and proposed to use a spring hanger to solve the pipe void problem []. In 2014, Chen et al. adopted the computational fluid dynamics method to analyze the stress of a LNG storage tank’s feed pipe. The stress of the pipeline at different times before steady state was reached was calculated, and the maximum stress of the pipeline appeared around the gasket of the connecting pipe and the pull rod []. In 2015, Yu et al. considered gravity, temperature, pressure, wind and earthquake loads, and then proposed to use spring hangers to optimize piping systems, moreover, they put forward the method of obtaining the allowable stress in the case of accidental loads []. In 2015, Xu and Hui analyzed the stress of the top inlet pipe of LNG storage tank using ANSYS software, they obtained the stress and deformation distribution of the pipeline and optimized the pipeline by adjusting the radius of curvature of the bend []. In 2016, Wang used the CAESAR II software and GLIF software to do stress analysis of cryogenic pipelines in power stations, compared the results, and then described the advantages and disadvantages of the two types of software []. In 2017, Zhang et al. used the Fluent software to study the precooling technology using boiled-off gas (BOG), compared and analyzed the temperature changes of the wall surface within 12 h of pre-cooling at different flow rates, and calculated the pre-cooling thermal stress and shrinkage displacement of the low temperature pipeline based on the temperature results. The results provide the basis for setting the thermal compensation, precooling speed and precooling parameters of the LNG cryogenic pipeline in the pre-cooling process [].
It can be seen that there are a lot of stress analysis objects for the equipment, including tower vessels, compressors and pumps. Most of them are at normal temperature or high temperature. There are few studies on the stress analysis of equipment or pipes under ultra-low temperature conditions. Moreover, the research on the reduction of the stress in the low-temperature pipeline is mostly focused on setting up the spring hangers and modifying the pipeline direction and there is very little research on the type, position and size of the compensator, and the length of the cold tightening unit.
The LNG storage tanks and low temperature pipelines in LNG vaporizing stations all use SS304 material. SS304 has excellent low temperature performance, but the linear expansion coefficient is large. Under the temperature condition of LNG transportation, a pipe length of 100 m will contract approximately 300 mm. Between two fixed points, the stress produced by the cold contraction may be far more than the yield point of the material. Therefore, in the pipeline design process, in order to ensure the normal and safe operation of the low temperature pipeline, effective measures must be considered to compensate the pipe shrinkage and prevent the damage caused by cold contraction. Therefore, this paper mainly analyzes the stress of LNG storage tank outlet pipelines. The analyzed content includes flange leakage calibration, stress and displacement analysis under normal working conditions, stress influencing factors analysis and stress reduction measures analysis. The results can provide the basis for the flange leakage calibration method of the low temperature pipeline, the design of the low temperature pipeline system and the measures of the stress reduction. Designers can then use more reasonable settings for the type and size of the compensator based on the analysis results.
2. Basic Theories
2.1. Stress Analysis Method
In this paper, the finite element method is used to analyze the stress of a LNG storage tank outlet pipe. Since the LNG storage tank outlet pipe does not involve large deformation and nonlinearity, the CAESAR II software is selected [,]. The CAESAR II software has the characteristics of fast calculation speed and easy modeling, which make it suitable for the calculation of complicated piping systems. The software can meet the accuracy demands of calculation through engineering verification [,]. The calculation steps of the finite element method for pipeline are as follows:
- (1)
- Discretization of the pipe structure system: The pipe system is divided into straight pipes, elbows, flanges, valves, support units and other units. Units are connected by nodes.
- (2)
- Establish the displacement function to express the displacement of each node and determine the strain matrix.
- (3)
- Establish the stiffness matrix and mass matrix of each element by using the principle of energy.
- (4)
- Establish the overall stiffness matrix and the overall mass matrix, the displacement of each node can be solved, thus the strain and stress of each element can be obtained.
The key to the accuracy of the stress calculation is to reasonably determine the elastic and inertial properties of each element in the mechanical model. LNG storage tank outlet pipe system includes the following elements []:
- a)
- Straight pipes and elbows: The straight pipe is treated as a straight pipe unit, and it has certain elasticity and inertia. The stiffness matrix and mass matrix of the elbow units are usually obtained by using the elbow unit.
- b)
- Flanges and valves: The main influence of flanges and valves in a piping system is inertia, and the influence on system elasticity is relatively small, so it can be ignored. Therefore, its mechanical model only considers concentrated mass.
- c)
- Support frame: The main function of the support frame is to increase the stiffness. Due to the different structural forms of support frames and the different liner materials used between pipe elements and support frames, the stiffness is different. For a high pressure pipe, it can be treated as a rigid connection. At this time, the support of the support frame can be classified as a number of finite elements.
2.2. Pipeline Stress Classification and Calibration
According to the destruction forms of the pipe, the stress of the pipe can be divided into primary stress and secondary stress []. Primary stress refers to the stress generated by external mechanical loads (such as pressure, gravity, etc.). It is not self-limiting, satisfies the balance between force and moment, and is positively correlated with load. When its value exceeds the yield limit of material, the pipeline will produce plastic deformation and destroy. Secondary stress is usually caused by the displacement load (such as thermal expansion, additional displacement, vibration, etc.), it is self-limiting, in the case of local yield or small deformation in a pipe, the stress can be reduced by deformation.
In order to comprehensively examine the primary stress and the secondary stress, the stress of the pipeline is evaluated by comprehensive stress (sum of primary stress and secondary stress).
The stress calibration of the LNG storage tank outlet pipe should be based on the ASME B31.3 “Process Piping” standard [].
Primary stress should meet the following condition []:
Secondary stress should meet the following condition []:
where SL = the sum of longitudinal stresses produced by gravity and other continuous loads in the pipeline; Sh = allowable stress of thermal state; SE = the computed displacement stress range caused by thermal expansion and end point displacement; SA = the allowable displacement stress range; Sc = allowable stress of cold state; fR = stress range factor; Sb = the stress of a pipe generated by the composite bending moment under thermal expansion, cold shrinkage, and endpoint displacement; St = the stress of a pipeline generated by torque under thermal expansion, cold shrinkage, and endpoint displacement.
2.3. Flange Leakage Calibration
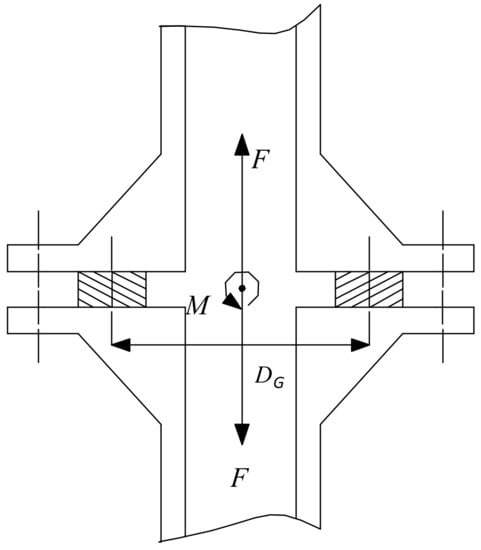
The Kellogg equivalent pressure method is usually used to calibrate the flange leakage of industrial pipelines [,]. Equivalent pressure is used to replace the design pressure of the flange, and the axial force and torque are converted to the equivalent pressure and applies to the flange. The force of the flange is shown in Figure 1.
Figure 1.
Force analysis of flange.
Equivalent pressure (converted by axial force) []:
Equivalent pressure (converted by torque) []:
Equivalent total pressure []:
where pe is equivalent total pressure (Absolute value), MPa; p is design pressure, MPa; F is axial force (positive for drawing force, negative for compressing force), N; M is bending moment, N·m; DG is the circle diameter of the center of the pressing force of the gasket, mm.
Equivalent total pressure should meet the following condition []:
where is allowable working pressure of flange at working temperature, MPa.
3. Case Study
3.1. Project Overview
As shown in Figure 2, the outlet pipe of a LNG storage tank is the cryogenic pipeline between the LNG storage tank and the air-heated vaporizer. The load conditions of the pipe nozzle are implemented according to the American Petroleum Institute standard API 661 “Air-Cooled Heat Exchangers for General Refinery Service” rules [].
Figure 2.
Diagrammatic sketch of LNG storage tank outlet pipe.
The material of LNG pipe is SS304 seamless stainless steel, which design temperature and operation temperature are −196 °C and −140 °C, respectively. The design pressure and operation pressure are 1.0 MPa and 0.6 MPa, respectively. The specific parameters of the LNG pipe are shown in Table 1. The insulation layer material of LNG pipe is polyurethane, and the specific parameters of the insulation layer are shown in Table 2.
Table 1.
Parameters of LNG pipe.
Table 2.
Parameters of the insulation layer of LNG pipe.
For SS304 material, the allowable stress is 137 MPa when the operating temperature is lower than 20 °C. Since the pipeline operating temperature in the LNG vaporizing station is lower than 20 °C, the thermal allowable stress of the pipeline is equal to the cold allowable stress. Therefore, the allowable primary stress is 137 MPa, while the allowable secondary stress is 205.5 MPa (1.5 times of 137 MPa—based on GB 50235 “Code for construction of industrial metallic piping engineering” []).
3.2. Pipeline Constraint
(1) Pipe frame
Pipe frames are used to support the weight of the pipe and to limit the displacement of the pipe in all directions except the axial direction []. The constraint form of the pipe frame is shown in Figure 3.
Figure 3.
Model of pipe frame.
(2) Valve and flange
The LNG piping system contains multiple valves, including emergency shut-off valves and cryogenic shut-off valves, used to cut off the pipeline medium, to prevent the media counter-current and to adjust the pressure. These valves are low temperature stainless steel valves, in accordance with the material of the pipe. The flange is used to connect the pipes to the pipe accessories. The valve and flange model are shown in Figure 4. Valves and flanges are often considered as a concentrated mass in simulations and as rigid elements. Stiffness is 10 times the thickness of pipe wall, and the mass is 1.75 times of gravity load [].
Figure 4.
Model of flange and valve.
(3) Clamped supported constraint
In the LNG tank outlet piping system, the clamped supported constraint is located at the connection between the LNG pump (and the air-heated vaporizer) and the pipe. The degree of freedom of the six directions of the pipe is restricted by the clamped supported constraint, including the translation and rotation of axial, horizontal and longitudinal directions, as shown in Figure 5.
Figure 5.
Model of clamped support constraint.
The overall model of LNG storage tank outlet pipe is shown in Figure 6.
Figure 6.
Overall model of a LNG storage tank outlet pipe.
3.3. Working Conditions
For the LNG storage tank outlet piping system, it is necessary to study four kinds of working conditions: installation, pressure test, precooling and operating conditions. The parameters of each working condition are listed in Table 3.
Table 3.
Parameters of working conditions.
4. Results
4.1. Flange Leakage Calibration
The Kellogg equivalent pressure method is used to calibrate the flange leakage, and this paper takes the flange of 150 LB pressure grade as the study object. The calibration results of the precooling condition and operating condition are shown in Figure 7.
Figure 7.
Flange leakage calibration results.
It can be seen from Figure 7 that in the LNG storage tank outlet piping system, for most flanges, the equivalent pressure exceeds the allowable working pressure. Moreover, the pressure overlimit phenomenon of the precooling condition is more obvious. Therefore, it is necessary to optimize the design of the pipeline system. There are usually two ways to deal with flange leakage: one is to modify the pipe spatial layout or to adjust the position of the pipe frame, so that the load acting on the flange can be reduced []. The other is to increase the pressure level of the flange so that the bearing capacity of flange can be increased. Due to the spatial layout of the pipe is not easy to modify, the pipeline optimization design is made mainly from the aspects of adjusting the position of the pipe frame and improving the grade of the flange. Thus, based on the pipe model showed in Figure 6, the pipe frames at node 1040 and 1050 are removed, and the sliding frames at node 1025, 1075 and 1105 are added (Figure 8). The flange pressure level is improved to 300 LB. The optimized pipe model is shown in Figure 8, the calibration results of the precooling condition and operating condition are shown in Figure 9.
Figure 8.
Optimized pipeline model.
Figure 9.
Flange leakage calibration results of optimized pipeline.
It can be obtained from Figure 9 that the flanges meet pressure requirements under operating conditions. In the precooling condition, only the flange at node 1100 exceeded the allowable working pressure and only exceeded 0.093 MPa. This shows that optimizing the pipe frame and raising the flange pressure grade can effectively prevent the flange from leaking. Finally, a flange of 400 LB pressure grade can be selected.
4.2. Stress Analysis Results
The pipeline from the LNG pump # 1 to the air-heated vaporizer # 1 is taken as the research object. The stress analysis results under different working conditions are shown in Figure 10.
Figure 10.
Stress analysis results under different working conditions: (a) primary stress; (b) secondary stress; (c) comprehensive stress.
It can be seen from Figure 10 that:
- (1)
- The primary stress under the pressure test condition is the largest, the secondary stress under the precooling condition is the largest, and the primary stress and the secondary stress are the smallest under the installation condition. Therefore, for the LNG tank outlet pipeline, the primary stress should focus on the pressure test condition, and the secondary stress should focus on the precooling condition.
- (2)
- There is little difference in primary stress between precooling and operating conditions, that is, the stress change caused by external load (refers to gravity of the medium in this paper) is relatively small. The maximum stress is generated in the elbow B1. Therefore, the elbow should be used as the key section of stress calibration.
- (3)
- There is a great difference in secondary stress between precooling and operating conditions, that is, the effect of temperature difference on the pipe stress is large. Therefore, the influence of temperature difference should be considered in the stress analysis of LNG piping system.
- (4)
- Under the precooling condition, the comprehensive stress, displacement are the largest, so the most dangerous working condition of the LNG storage tank outlet pipe is precooling condition.
4.3. Displacement Analysis Results
The displacement analysis results under different working conditions are shown in Figure 11.

Figure 11.
Displacement analysis results under different working conditions: (a) axial displacement; (b) horizontal displacement; (c) longitudinal displacement.
It can be obtained from Figure 11 that:
- (1)
- Under the conditions of installation and pressure test, the displacement in all directions is relatively small, and the displacement in each direction under the precooling condition is the largest.
- (2)
- The maximum value of pipe displacement is generated on the pipe section with elbows or tees, and the axial and horizontal displacement is relatively larger on the vertical pipeline. The displacement of the pipe section with π-type compensator is positive, which is because the compensator compensates a certain amount of deformation and reduces the contraction of the pipeline.
5. Discussion
This paper analyzes the factors that may affect the stress of pipeline, including the types of compensators, the installation location and size of compensators, LNG density, pressure and temperature, and puts forward the measures of stress reduction.
5.1. Type of Compensator
In addition to the π-type compensator for low-temperature compensation, there are L-type and Z-type compensators [], as shown in Figure 12. Under operating condition, the maximum stress of the pipe corresponding to each type of compensator (or without compensator) is shown in Table 4.

Figure 12.
Low temperature compensator: (a) without compensator; (b) L-type compensator; (c) Z-type compensator; (d) π-type compensator.
Table 4.
Maximum stress of pipe with different compensator.
It can be obtained from Table 4 that:
- (1)
- After setting the different types of compensators, the primary stress does not change much and the secondary stress changes greatly, indicating that the compensator can effectively reduce the contraction caused by the temperature difference.
- (2)
- Z-type, L-type and π-type compensators can make the secondary stress of pipeline to meet the requirements, but the effect of π-type compensator is the best, and π-type compensator is easy to process.
5.2. Position and Size of the Compensator
The position and size of the compensator will affect the compensation effect. This paper takes π-type compensator as an example, the designed compensator position and size are shown in Figure 13 and Table 5.
Figure 13.
Position and size of compensator.
Table 5.
Designed location and size of the compensator.
The position of the compensator in the piping system is expressed by the relative position r:
where l is the distance between Elbow # 1 and the center of the compensator; L is the distance between Elbow # 1 and Tee # 2.
The calculation results are shown in Table 6.
Table 6.
Maximum comprehensive stress of pipe with different compensator location and size.
It can be seen from Table 6 that:
- (1)
- The position of compensator has little effect on the pipe stress.
- (2)
- The greater the x of the π-type compensator, the smaller the maximum comprehensive stress is, and the degree of influence is great.
- (3)
- The greater the y of the π-type compensator, the smaller the maximum comprehensive stress is. When the size of y is in the range of 0.04L–0.16L, the decrease of comprehensive stress is very obvious. When the size of y is larger than 0.10L, the decrease of comprehensive stress tends to be alleviated. Therefore, the y size of the π-type compensator has a greater impact on the comprehensive stress, but it is of no significance to continue to increase the size of y after meeting the requirements of pipeline flexibility.
5.3. LNG Density
The LNG density of the tanker transported to the LNG vaporizing station is within the range of 430–470 kg/m3. The maximum stress of the pipe corresponding to the LNG of different density is shown in Table 7.
Table 7.
Maximum stress of pipe with different LNG density.
It can be seen from Table 7 that the density of LNG has little influence on the pipe stress.
5.4. Pressure and Temperature
According to the operating conditions of the actual project, this paper analyzes the pipe stress within the pressure range of 0.1–1.0 MPa. The operating temperature is −140 °C, and the stress corresponding to the different pressure is shown in Table 8.
Table 8.
Maximum stress of pipe with different pressure.
Because of the wide temperature range of LNG in the LNG vaporizing station, the storage temperature of LNG in the storage tank is −162 °C, so the minimum operating temperature in the LNG pipeline is −162 °C. In this paper, the pipe stress within the temperature range of from −162 °C to −120 °C are analyzed. The operation pressure is 0.6 MPa, and the stress corresponding to the different temperature is shown in Table 9.
Table 9.
Maximum stress of pipe with different temperature.
It can be obtained from Table 8 and Table 9 that as the pressure increases, the primary stress of the pipeline increases and the secondary stress will not be affected. With the increase of the temperature, the secondary stress of the pipeline will decrease and the primary stress will not be affected. According to the definition of the comprehensive stress, it can be concluded that for LNG pipe, the influence of low temperature on the comprehensive stress of pipe is greater than that of pressure.
5.5. Stress Reduction Measures
In view of the low temperature characteristics of LNG pipeline, besides installing compensator on the outlet pipe of LNG storage tank, it is also possible to set up spring hangers and add cold tightening units at the larger stress location.
(1) Spring hanger
The spring hanger belongs to the variable force hanger type, which is a kind of bearing support hanger. It can make the stress of the pipeline more uniform and prevent the pipeline from yielding or being destroyed due to too concentrated stress. According to the NB/T 47039 “Variable spring hangers” standard, the load change rate of the spring cannot be greater than 25%. When the load change rate of the selected spring is greater than 25%, the spring stiffness should be reduced and the spring with larger displacement range should be re chosen []. The change rate of spring load can be calculated as follows:
where is the load change rate, %; Fwn is installation load, N; Fw is working load, N.
Because the highest stress located at Elbow # 1, a hanger is added near Elbow # 1, as shown in Figure 14. After the calculation using the CAESAR II software, the comprehensive stress of Elbow # 1 is reduced from 84.68 MPa to 74.51 MPa after setting the spring hanger.
Figure 14.
Spring hanger.
(2) Cold tightening unit
The cold tightening unit is designed to lengthen the pipe (when the pipe is cold contracted) or truncate it (when the pipe is thermally expanded) during installation to produce a pre-deformation of the pipe []. The pre-deformation may apply force acting in the opposite direction and produce a certain initial displacement and stress, thus reducing the force of the pipeline on the torque device.
For the LNG storage tank outlet pipe, taking into account the low temperature caused by cold shrinkage, resulting in a larger axial displacement of the pipeline, a cold tightening unit can be added. Respectively, this paper takes 10%, 20%, 30%, 40%, 50% of the cold shrinkage as the cold tightening unit in the cold state, as shown in Figure 15. The calculation results can be seen in Table 10.
Figure 15.
Cold tightening unit.
Table 10.
Comprehensive stress of Elbow # 1 with different cold tightening unit.
It can be seen from Table 10 that the comprehensive stress at Elbow # 1 is obviously reduced after the cold tightening unit is set up. This is because the cold tightening unit counteracts a part of the shrinkage at low temperature so as to reduce the thermal expansion force of the pipeline and the horizontal thrust on the constraint. When the length of the cold tightening unit is 40% of the cold shrinkage, the stress reduction effect is the best.
6. Conclusions
This paper takes LNG storage tank outlet pipe as the research project, and the stress and flange leakage analysis are carried out. The main conclusions are as follows:
- (1)
- The maximum comprehensive stress of pipeline under precooling condition, operating conditions, pressure test condition and installation condition are: 101.44 MPa, 85 MPa, 31 MPa, and 2.8 MPa, respectively. Therefore, the most dangerous working condition of the LNG storage tank outlet pipe is the precooling condition.
- (2)
- The compensator can effectively reduce the contraction caused by the temperature difference, and the effect of the π-type compensator to reduce the stress of the low temperature pipe is the best and the stress is reduced by up to 79%.
- (3)
- The position of compensator and the density of LNG have little effect on the pipe stress. The size of the π-type compensator has a great influence on the compensation effect.
- (4)
- For LNG pipe (low temperature pipe), the influence of temperature difference on the comprehensive stress of pipe is greater than that of pressure.
- (5)
- The stress can be effectively reduced by adding the spring hanger or cold tightening unit in a position with greater stress. When the length of the cold tightening unit is 40% of the cold shrinkage, the stress reduction effect is the best and the stress is reduced by up to 14%.
Acknowledgments
This article is funded by China Scholarship Council (Grant No. 201708030006).
Author Contributions
All the authors contributed to publishing this paper. Hongfang Lu analyzed the data and wrote the paper; Guoguang Ma designed the research framework; Xiaoting Li did the numerical simulation; Shijuan Wu revised the paper.
Conflicts of Interest
The authors declare no conflict of interest.
References
- Lu, H.F.; Huang, K.; Fu, L.D.; Zhang, Z.H.; Wu, S.J.; Lyu, Y.; Zhang, X.L. Study on leakage and ventilation scheme of gas pipeline in tunnel. J. Nat. Gas. Sci. Eng. 2018, in press. [Google Scholar] [CrossRef]
- Adali, S.; Verijenko, V.E.; Tabakov, P.Y.; Walker, M. Optimization of Multilayered Composite Pressure Vessels Using Exact Elasticity Solution. Compos. Press. Vessels Ind. 1995, 302, 203–212. [Google Scholar]
- Yang, G.Y.; Shou, B.N.; Mei, L.T. Stress analysis and evaluation for whole vertical slender vessel. Petro-Chem. Equip. 2004, 33, 36–38. [Google Scholar]
- Teng, T.L.; Yu, C.M.; Wu, Y.Y. Optimal design of filament-wound composite pressure vessels. Mech. Compos. Mater. 2005, 41, 333–340. [Google Scholar] [CrossRef]
- Xu, Z.G.; Li, Q.; Wang, X.H. Application of ANSYS sub-modeling technique in structure stress analysis of large chemical equipment. J. Press. Vessel Technol. 2008, 25, 29–32. [Google Scholar]
- Song, L.B. The Stress and Load of CNG and Storage Analysis Optimization Transportation Equipment. Master’s Thesis, Dalian University of Technology, Dalian, China, 2014. [Google Scholar]
- Li, Q.M.; Yan, M.Y.; Tang, H.N. Temperature field and thermal stress analysis of large-scale reciprocating compressor cylinder. Mech. Eng. 2016, 41–43. [Google Scholar] [CrossRef]
- Lu, H.F.; Wu, X.N.; Huang, K. Study on the Effect of Reciprocating Pump Pipeline System Vibration on Oil Transportation Stations. Energies 2018, 11, 132. [Google Scholar] [CrossRef]
- Brown, T.S.; Jukes, P.; Sun, J. SS: Cryogenic Pipeline-Mechanical Design of Subsea and Buried LNG Pipelines. In Proceedings of the Offshore Technology Conference (OTC), Houston, TX, USA, 4–7 May 2009; p. OTC-20226-MS. [Google Scholar]
- Wang, C.Z. Analysis for Cargo Handling Pipeline of LNG Carrier. Master’s Thesis, Shanghai Jiao Tong University, Shanghai, China, 2011. [Google Scholar]
- Jiao, X.H. Stress analysis of low temperature ethylene loading and unloading ship piping system. Guangzhou Chem. Ind. 2013, 41, 160–163. [Google Scholar]
- Chen, T.H.; Zhang, C.; Yang, F. Study on liquefied natural gas tank filling nozzle stress based on fluid-solid coupling. Petro-Chem. Equip. 2014, 43. [Google Scholar] [CrossRef]
- Yu, G.P.; Zhao, G.M.; Zhang, Y.X. Stress analysis of cryogenic LNG pipeline. Petrochem. Des. 2015, 32, 22–25. [Google Scholar]
- Xu, Z.Y.; Hui, H. Finite element analysis of top inlet pipe for LNG storage tanks. J. Chem. Ind. Eng. (China). 2015, 66, 354–359. [Google Scholar]
- Wang, W.H. Application of using CAESAR II and GLIF to analyze low temperature pipe stress. Appl. Energ. Technol. 2016, 12–14. [Google Scholar] [CrossRef]
- Zhang, H.Z.; Sheng, X.Y.; Huang, J.; Shu, J.M.; Xu, Y.C. Analysis on the Pre-Cooling and the Thermal Stress Distribution of the LNG Low-Temperature Pipe. Model. Simul. 2017, 6, 21–30. [Google Scholar] [CrossRef]
- CAESAR II 2013; Computer Software; Intergraph: Huntsville, AL, USA, 2013.
- Li, X.T. Stress Analysis of Key Equipment and Pipeline in LNG Gasification Station. Master’s Thesis, Southwest Petroleum University, Chengdu, China, 2017. [Google Scholar]
- Lu, H.F.; Huang, K.; Wu, S.J. Vibration and stress analyses of positive displacement pump pipeline systems in oil transportation stations. J. Pipeline Syst. Eng. Pract. 2016, 7, 05015002. [Google Scholar] [CrossRef]
- Lu, H.F. Stress and Vibration Analysis of Reciprocating Pump Piping Systems. Master’s Thesis, Southwest Petroleum University, Chengdu, China, 2016. [Google Scholar]
- Song, K.K. Industrial Pipe Stress Analysis and Engineering Applications; Press of China Petrochemical: Beijing, China, 2011. [Google Scholar]
- American Society of Mechanical Engineers. B31.3 Process Piping; American Society of Mechanical Engineers: New York, NY, USA, 2016. [Google Scholar]
- The M., W. Kellogg Company. Design of Piping Systems; John Wiley & Sons, Inc.: New York, NY, USA, 1956. [Google Scholar]
- Koves, W.J. Analysis of flange joints under external loads. J. Press. Vessel Technol. 1996, 118, 59–63. [Google Scholar] [CrossRef]
- American Petroleum Institute. API STD 661 Air-Cooled Heat Exchangers for General Refinery Service; American Petroleum Institute: Washington, DC, USA, 2013. [Google Scholar]
- China Association for Engineering Construction Standardization. GB 50235 Code for Construction of Industrial Metallic Piping Engineering; China Planning Press: Beijing, China, 2006. [Google Scholar]
- George, M. Pipe Stress Analysis Theory Guide; COADE Inc., China Technical Service and Training Center: Beijing, China, 1998. [Google Scholar]
- China Standardization Committee on Boilers and Pressure Vessels. NB/T 47039 Variable Spring Hangers; Xinhua Publishing House: Beijing, China, 2013. [Google Scholar]
- Ming, C.Y.; Li, P.; Qu, D.C.; Li, Y.F. The technology of cold tightened opening shifting applied in high-temperature pipe line construction. Pet. Chem. Constr. 2009, 31, 65–66. [Google Scholar]
© 2018 by the authors. Licensee MDPI, Basel, Switzerland. This article is an open access article distributed under the terms and conditions of the Creative Commons Attribution (CC BY) license (http://creativecommons.org/licenses/by/4.0/).