A Refined Self-Tuning Filter-Based Instantaneous Power Theory Algorithm for Indirect Current Controlled Three-Level Inverter-Based Shunt Active Power Filters under Non-sinusoidal Source Voltage Conditions
Abstract
:1. Introduction
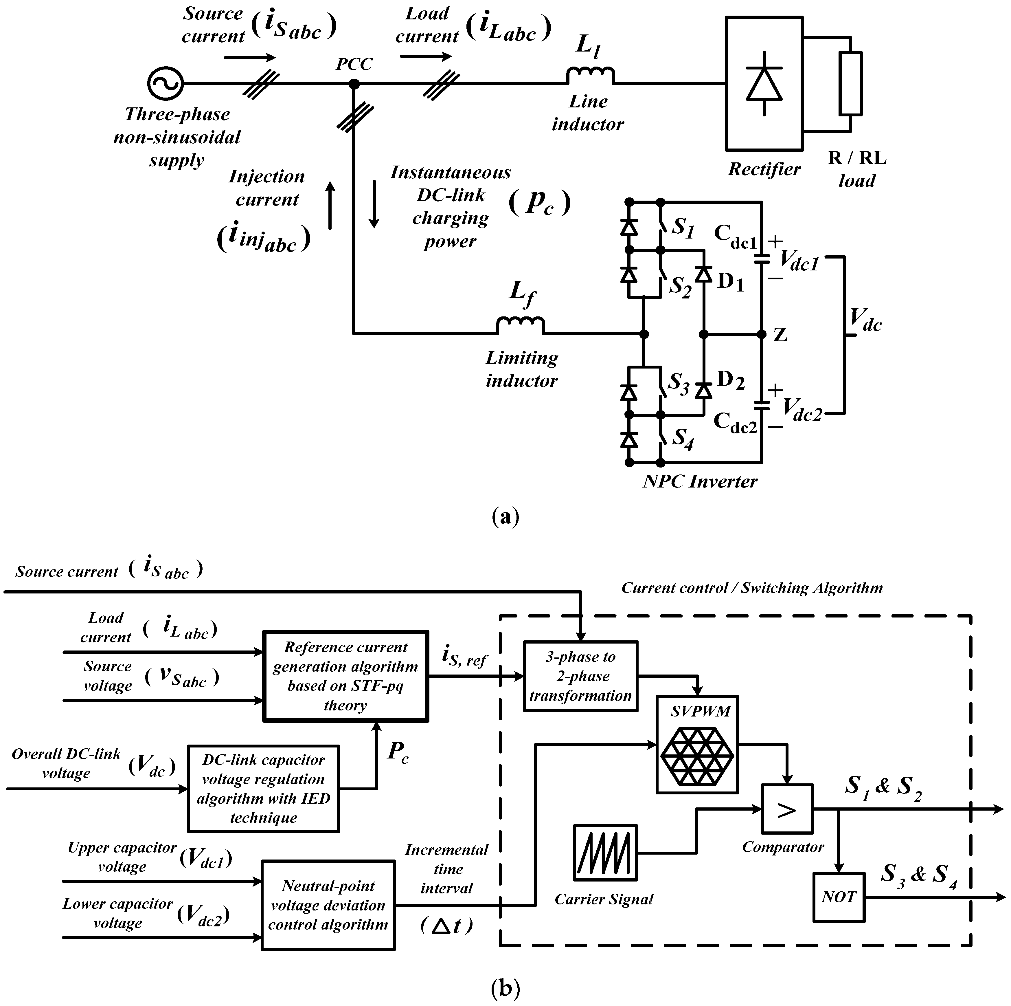
2. Shunt Active Power Filter (SAPF) with Control Algorithms
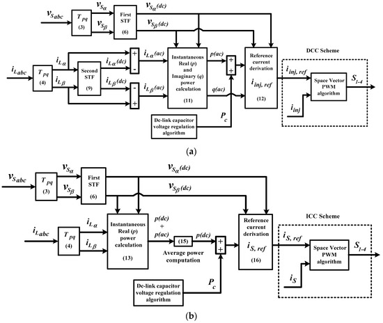
3. Refined Self-Tuning Filter-Based Instantaneous Power (pq) Theory Algorithm
3.1. Conventional Self-Tuning Filter-Based Instantaneous Power (STF-pq) Theory Algorithm
3.2. Proposed Simplifications and Refinements
- (1)
- A mathematical-based fundamental real power identifier is proposed to replace the second STF.
- (2)
- Reduction of the algorithm complexity through removal of imaginary power calculation.
- (3)
- Generation of sinusoidal reference source current instead of non-sinusoidal reference injection current.
4. Simulation Results
- Case 1: Non-sinusoidal source voltage with only odd harmonics (THD = 28.11%)
- Case 2: Non-sinusoidal source voltage with both odd and even harmonics (THD = 28.10%)
4.1. Steady-State Condition Analysis
4.2. Dynamic-State Condition Analysis
5. Experimental Verification
6. Conclusions
Author Contributions
Conflicts of Interest
References
- Kale, M.; Ozdemir, E. An adaptive hysteresis band current controller for shunt active power filter. Electr. Power Syst. Res. 2005, 73, 113–119. [Google Scholar] [CrossRef]
- Hoon, Y.; Radzi, M.A.M.; Hassan, M.K.; Mailah, N.F. Enhanced instantaneous power theory with average algorithm for indirect current controlled three-level inverter-based shunt active power filter under dynamic state conditions. Math. Probl. Eng. 2016, 2016, 9682512. [Google Scholar] [CrossRef]
- Hoon, Y.; Radzi, M.A.M.; Hassan, M.K.; Mailah, N.F. DC-link capacitor voltage regulation for three-phase three-level inverter-based shunt active power filter with inverted error deviation control. Energies 2016, 9, 533. [Google Scholar] [CrossRef]
- Akagi, H. Active harmonic filters. Proc. IEEE 2005, 93, 2128–2141. [Google Scholar] [CrossRef]
- El-Habrouk, M.; Darwish, M.K.; Mehta, P. Active power filters: A review. IEE Proc. Electr. Power Appl. 2000, 147, 403–413. [Google Scholar] [CrossRef]
- Singh, B.; Al-Haddad, K.; Chandra, A. A review of active filters for power quality improvement. IEEE Trans. Ind. Electron. 1999, 46, 960–971. [Google Scholar] [CrossRef]
- Djazia, K.; Krim, F.; Chaoui, A.; Sarra, M. Active power filtering using the ZDPC method under unbalanced and distorted grid voltage conditions. Energies 2015, 8, 1584–1605. [Google Scholar] [CrossRef]
- Kale, M.; Ozdemir, E. Harmonic and reactive power compensation with shunt active power filter under non-ideal mains voltage. Electr. Power Syst. Res. 2005, 74, 363–370. [Google Scholar] [CrossRef]
- Jain, N.; Gupta, A. Comparison between two compensation current control methods of shunt active power filter. Int. J. Eng. Res. Gen. Sci. 2014, 2, 603–615. [Google Scholar]
- Wamane, S.S.; Baviskar, J.R.; Wagh, S.R. A comparative study on compensating current generation algorithms for shunt active filter under non-linear load conditions. Int. J. Sci. Res. Publ. 2013, 3, 1–6. [Google Scholar]
- Dey, P.; Mekhilef, S. Synchronous reference frame based control technique for shunt hybrid active power filter under non-ideal voltage. In Proceedings of the IEEE Innovative Smart Grid Technologies—Asia (ISGT Asia), Kuala Lumpur, Malaysia, 20–23 May 2014; pp. 481–486.
- Cao, W.; Liu, K.; Ji, Y.; Wang, Y.; Zhao, J. Design of a four-branch LCL-type grid-connecting interface for a three-phase, four-leg active power filter. Energies 2015, 8, 1606–1627. [Google Scholar] [CrossRef]
- Qasim, M.; Kanjiya, P.; Khadkikar, V. Artificial-neural-network-based phase-locking scheme for active power filters. IEEE Trans. Ind. Electron. 2014, 61, 3857–3866. [Google Scholar] [CrossRef]
- Chauhan, S.K.; Shah, M.C.; Tiwari, R.R.; Tekwani, P.N. Analysis, design and digital implementation of a shunt active power filter with different schemes of reference current generation. IET Power Electron. 2014, 7, 627–639. [Google Scholar] [CrossRef]
- Rodríguez, J.; Lai, J.-S.; Peng, F.Z. Multilevel inverters: A survey of topologies, controls and applications. IEEE Trans. Ind. Electron. 2002, 49, 724–738. [Google Scholar] [CrossRef]
- Soto, D.; Green, T.C. A comparison of high-power converter topologies for the implementation of facts controllers. IEEE Trans. Ind. Electron. 2002, 49, 1072–1080. [Google Scholar] [CrossRef]
- Gui, S.W.; Lin, Z.J.; Huang, S.H. A varied VSVM strategy for balancing the neutral-point voltage of DC-link capacitors in three-level NPC converters. Energies 2015, 8, 2032–2047. [Google Scholar] [CrossRef]
- Massoud, A.M.; Finney, S.J.; Cruden, A.J.; Williams, B.W. Three-phase, three-wire, five-level cascaded shunt active filter for power conditioning, using two different space vector modulation techniques. IEEE Trans. Ind. Electron. 2007, 22, 2349–2361. [Google Scholar] [CrossRef]
- Salim, C.; Toufik, B.M. Three-level (NPC) shunt active power filter performances based on fuzzy controller for harmonic currents compensation under non-ideal voltage conditions. Int. J. Electr. Eng. Inform. 2014, 6, 342–358. [Google Scholar] [CrossRef]
- Pigazo, A.; Moreno, V.M.; Estebanez, E.J. A recursive park transformation to improve the performance of synchronous reference frame controllers in shunt active power filters. IEEE Trans. Ind. Electron. 2009, 24, 2065–2075. [Google Scholar] [CrossRef]
- Monfared, M.; Golestan, S.; Guerrero, J.M. A new synchronous reference frame-based method for single-phase shunt active power filters. J. Power Electron. 2013, 13, 692–700. [Google Scholar] [CrossRef]
- Hoon, Y.; Radzi, M.A.M.; Hassan, M.K.; Mailah, N.F.; Wahab, N.I.A. A simplified synchronous reference frame for indirect current controlled three-level inverter-based shunt active power filters. J. Power Electron. 2016, 16, 1964–1980. [Google Scholar] [CrossRef]
- Eskandarian, N.; Beromi, Y.A.; Farhangi, S. Improvement of dynamic behavior of shunt active power filter using fuzzy instantaneous power theory. J. Power Electron. 2014, 14, 1303–1313. [Google Scholar] [CrossRef]
- Popescu, M.; Bitoleanu, A.; Suru, V. A DSP-based implementation of the p-q theory in active power filtering under nonideal voltage conditions. IEEE Trans. Ind. Inform. 2013, 9, 880–889. [Google Scholar] [CrossRef]
- Syed, M.K.; Ram, B.S. Instantaneous power theory based active power filter: A MATLAB/simulink approach. J. Theor. Appl. Inf. Technol. 2008, 4, 536–541. [Google Scholar]
- Sujitjorn, S.; Areerak, K.-L.; Kulworawanichpong, T. The DQ axis with fourier (DQF) method for harmonic identification. IEEE Trans. Power Deliv. 2007, 22, 737–739. [Google Scholar] [CrossRef]
- Vodyakho, O.; Mi, C.C. Three-level inverter-based shunt active power filter in three-phase three-wire and four-wire systems. IEEE Trans. Power Electron. 2009, 24, 1350–1363. [Google Scholar] [CrossRef]
- Chen, C.L.; Lin, C.E.; Huang, C.L. Reactive and harmonic current compensation for unbalanced three-phase systems using the synchronous detection method. Electr. Power Syst. Res. 1993, 26, 163–170. [Google Scholar] [CrossRef]
- Bhuvaneswari, G.; Nair, M.G.; Reddy, S.K. Comparison of synchronous detection and i. Cos φ shunt active filtering algorithms. In Proceedings of the International Conference on Power Electronics, Drives and Energy Systems, New Delhi, India, 12–15 December 2006; pp. 1–5.
- Radzi, M.A.M.; Rahim, N.A. Neural network and bandless hysteresis approach to control switched capacitor active power filter for reduction of harmonics. IEEE Trans. Ind. Electron. 2009, 56, 1477–1484. [Google Scholar] [CrossRef]
- Singh, B.; Verma, V.; Solanki, J. Neural network-based selective compensation of current quality problems in distribution system. IEEE Trans. Ind. Electron. 2007, 54, 53–60. [Google Scholar] [CrossRef]
- Herrera, R.S.; Salmeron, P.; Kim, H. Instantaneous reactive power theory applied to active power filter compensation: Different approaches, assessment, and experimental results. IEEE Trans. Ind. Electron. 2008, 55, 184–196. [Google Scholar] [CrossRef]
- Chang, G.W.; Yeh, C.M. Optimisation-based strategy for shunt active power filter control under non-ideal supply voltages. IEE Proc. Electr. Power Appl. 2005, 152, 182–190. [Google Scholar] [CrossRef]
- Chang, G.W. A new approach for optimal shunt active power filter control considering alternative performance indices. IEEE Trans. Power Deliv. 2006, 21, 406–413. [Google Scholar] [CrossRef]
- Chang, G.W.; Yeh, C.-M.; Chen, W.-C. Meeting IEEE-519 current harmonics and power factor constraints with a three-phase three-wire active power filter under distorted source voltages. IEEE Trans. Power Deliv. 2006, 21, 1648–1654. [Google Scholar] [CrossRef]
- IEEE Standard. IEEE Recommended Practice and Requirement for Harmonic Control in Electric Power Systems; IEEE Power and Energy Society: New York, NY, USA, 2014. [Google Scholar]
- George, S.; Agarwal, V. A dsp based optimal algorithm for shunt active filter under nonsinusoidal supply and unbalanced load conditions. IEEE Trans. Power Electron. 2007, 22, 593–601. [Google Scholar] [CrossRef]
- Mojiri, M.; Bakhshai, A.R. An adaptive notch filter for frequency estimation of a periodic signal. IEEE Trans. Autom. Control 2004, 49, 314–318. [Google Scholar] [CrossRef]
- Dinh, N.D.; Tuyen, N.D.; Fujita, G.; Funabashi, T. Adaptive notch filter solution under unbalanced and/or distorted point of common coupling voltage for three-phase four-wire shunt active power filter with sinusoidal utility current strategy. IET Gener. Transm. Distrib. 2015, 9, 1580–1596. [Google Scholar] [CrossRef]
- Abdulsalam, M.; Poure, P.; Karimi, S.; Saadate, S. New digital reference current generation for shunt active power filter under distorted voltage conditions. Electr. Power Syst. Res. 2009, 79, 759–765. [Google Scholar] [CrossRef]
- Campanhol, L.B.G.; Silva, S.A.O.; Goedtel, A. Application of shunt active power filter for harmonic reduction and reactive power compensation in three-phase four-wire systems. IET Power Electron. 2014, 7, 2825–2836. [Google Scholar] [CrossRef]
- Biricik, S.; Redif, S.; Özerdem, Ö.C.; Khadem, S.K.; Basu, M. Real-time control of shunt active power filter under distorted grid voltage and unbalanced load condition using self-tuning filter. IET Power Electron. 2014, 7, 1895–1905. [Google Scholar] [CrossRef]
- Fei, J.; Li, T.; Wang, F.; Juan, W. A novel sliding mode control technique for indirect current controlled active power filter. Math. Probl. Eng. 2012, 2012, 549782. [Google Scholar] [CrossRef]
- Adel, M.; Zaid, S.; Mahgoub, O. Improved active power filter performance based on an indirect current control technique. J. Power Electron. 2011, 11, 931–937. [Google Scholar] [CrossRef]
- Singh, B.N.; Chandra, A.; Al-Haddad, K. Performance comparison of two current control techniques applied to an active filter. In Proceedings of the International Conference on Harmonics Quality Power (ICHQP), Athens, Greece, 14–16 October 1998; pp. 133–138.
- Jain, S.K.; Agrawal, P.; Gupta, H.O. Fuzzy logic controlled shunt active power filter for power quality improvement. IEE Proc. Electr. Power Appl. 2002, 149, 317–328. [Google Scholar] [CrossRef]
- Rahmani, S.; Al-Haddad, K.; Kanan, H.Y. Experimental design and simulation of a modified pwm with an indirect current control technique applied to a single-phase shunt active power filter. In Proceedings of the IEEE International Symposium on Industrial Electronics, Dubrovnik, Croatia, 20–23 June 2005; Volume 2, pp. 519–524.
- Lee, Y.-H.; Suh, B.-S.; Hyun, D.-S. A novel PWM scheme for a three-level voltage source inverter with GTO thyristors. IEEE Trans. Ind. Appl. 1996, 32, 260–268. [Google Scholar]
- Zhou, D.; Rouaud, D.G. Experimental comparisons of space vector neutral point balancing strategies for three-level topology. IEEE Trans. Power Electron. 2001, 16, 872–879. [Google Scholar] [CrossRef]
- Bhalodi, K.H.; Agarwal, P. Space vector modulation with DC-link voltage balancing control for three-level inverters. ACEEE Int. J. Commun. 2010, 1, 14–18. [Google Scholar]
- Gupta, A.K.; Khambadkone, A.M. A space vector pwm scheme for multilevel inverters based on two-level space vector pwm. IEEE Trans. Ind. Electron. 2006, 53, 1631–1639. [Google Scholar] [CrossRef]
- Hu, H.; Yao, W.; Lu, Z. Design and implementation of three-level space vector PWM IP core for FPGAS. IEEE Trans. Ind. Electron. 2007, 22, 2234–2244. [Google Scholar] [CrossRef]
- Leva, S.; Morando, A.P.; Zaninelli, D. Evaluation of line voltage drop in presence of unbalance, harmonics, and interharmonics: Theory and applications. IEEE Trans. Power Deliv. 2005, 20, 390–396. [Google Scholar] [CrossRef]
- Green, T.C.; Marks, J.H. Control techniques for active power filters. IEE Proc. Electr. Power Appl. 2005, 152, 369–381. [Google Scholar] [CrossRef]














| Parameter | Value |
|---|---|
| Fundamental Source Voltage (line to line) | 400 Vrms, 50 Hz |
| DC-link capacitor | 3300 μF (each) |
| DC-link reference voltage | 880 V |
| Limiting inductor | 5 mH |
| Switching frequency | 25 kHz |
| Reference Current Generation Algorithm | Total Harmonic Distortion, THD (%) | |||||
|---|---|---|---|---|---|---|
| Phase a | Phase b | Phase c | ||||
| Resistive | Inductive | Resistive | Inductive | Resistive | Inductive | |
| Before Connecting SAPF | ||||||
| N/A | 23.90 | 24.80 | 23.90 | 24.80 | 23.90 | 24.80 |
| After Connecting SAPF | ||||||
| Refined STF-pq | 1.70 | 2.23 | 1.73 | 2.25 | 1.70 | 2.22 |
| Conventional STF-pq | 1.79 | 2.37 | 1.82 | 2.35 | 1.81 | 2.37 |
| Reference Current Generation Algorithm | Total Harmonic Distortion, THD (%) | |||||
|---|---|---|---|---|---|---|
| Phase a | Phase b | Phase c | ||||
| Resistive | Inductive | Resistive | Inductive | Resistive | Inductive | |
| Before Connecting SAPF | ||||||
| N/A | 31.34 | 37.86 | 31.34 | 37.86 | 31.34 | 37.86 |
| After Connecting SAPF | ||||||
| Refined STF-pq | 1.76 | 2.71 | 1.80 | 2.76 | 1.78 | 2.73 |
| Conventional STF-pq | 1.88 | 3.04 | 2.02 | 3.07 | 1.98 | 3.05 |
| Reference Current Generation Algorithm | Total Harmonic Distortion, THD (%) | |||||
|---|---|---|---|---|---|---|
| Phase a | Phase b | Phase c | ||||
| Resistive | Inductive | Resistive | Inductive | Resistive | Inductive | |
| Before Connecting SAPF | ||||||
| N/A | 24.75 | 25.32 | 24.98 | 25.15 | 24.84 | 25.22 |
| After Connecting SAPF | ||||||
| Refined STF-pq | 3.13 | 3.34 | 3.21 | 3.45 | 3.16 | 3.39 |
| Conventional STF-pq | 3.72 | 3.93 | 3.78 | 3.89 | 3.86 | 3.98 |
© 2017 by the authors. Licensee MDPI, Basel, Switzerland. This article is an open access article distributed under the terms and conditions of the Creative Commons Attribution (CC BY) license ( http://creativecommons.org/licenses/by/4.0/).
Share and Cite
Hoon, Y.; Mohd Radzi, M.A.; Hassan, M.K.; Mailah, N.F. A Refined Self-Tuning Filter-Based Instantaneous Power Theory Algorithm for Indirect Current Controlled Three-Level Inverter-Based Shunt Active Power Filters under Non-sinusoidal Source Voltage Conditions. Energies 2017, 10, 277. https://doi.org/10.3390/en10030277
Hoon Y, Mohd Radzi MA, Hassan MK, Mailah NF. A Refined Self-Tuning Filter-Based Instantaneous Power Theory Algorithm for Indirect Current Controlled Three-Level Inverter-Based Shunt Active Power Filters under Non-sinusoidal Source Voltage Conditions. Energies. 2017; 10(3):277. https://doi.org/10.3390/en10030277
Chicago/Turabian StyleHoon, Yap, Mohd Amran Mohd Radzi, Mohd Khair Hassan, and Nashiren Farzilah Mailah. 2017. "A Refined Self-Tuning Filter-Based Instantaneous Power Theory Algorithm for Indirect Current Controlled Three-Level Inverter-Based Shunt Active Power Filters under Non-sinusoidal Source Voltage Conditions" Energies 10, no. 3: 277. https://doi.org/10.3390/en10030277
APA StyleHoon, Y., Mohd Radzi, M. A., Hassan, M. K., & Mailah, N. F. (2017). A Refined Self-Tuning Filter-Based Instantaneous Power Theory Algorithm for Indirect Current Controlled Three-Level Inverter-Based Shunt Active Power Filters under Non-sinusoidal Source Voltage Conditions. Energies, 10(3), 277. https://doi.org/10.3390/en10030277

