WebGIS-Based Real-Time Surveillance and Response System for Vector-Borne Infectious Diseases
Abstract
1. Introduction
- To conduct an extensive literature review of the relevant studies to identify which climate factors are the most important in vector-borne diseases’ spread.
- To find the relationship between climatic factors and diseases.
- To extract near real-time climate factors data to predict accurate results.
- To use malaria, dengue, leishmaniasis incidences, and meteorological factors to predict the outbreak in real time, using machine learning.
- To develop a user-friendly web-based GIS platform for real-time monitoring breeding habitats for the concerned citizens and policymakers.
2. Related Work
3. Methodology
3.1. Workflow
3.2. Study Area
3.3. Dataset
3.3.1. Patient Data
3.3.2. Climate Data
3.3.3. Socioeconomic Data
3.3.4. Population Data
3.4. Data Preprocessing
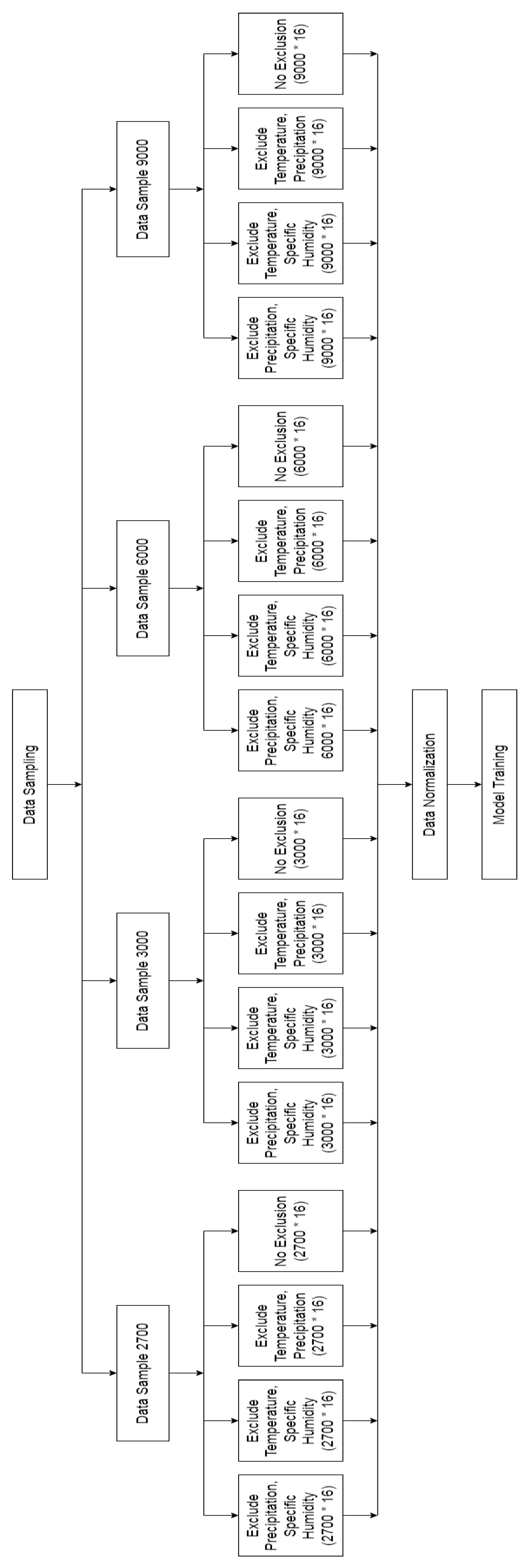
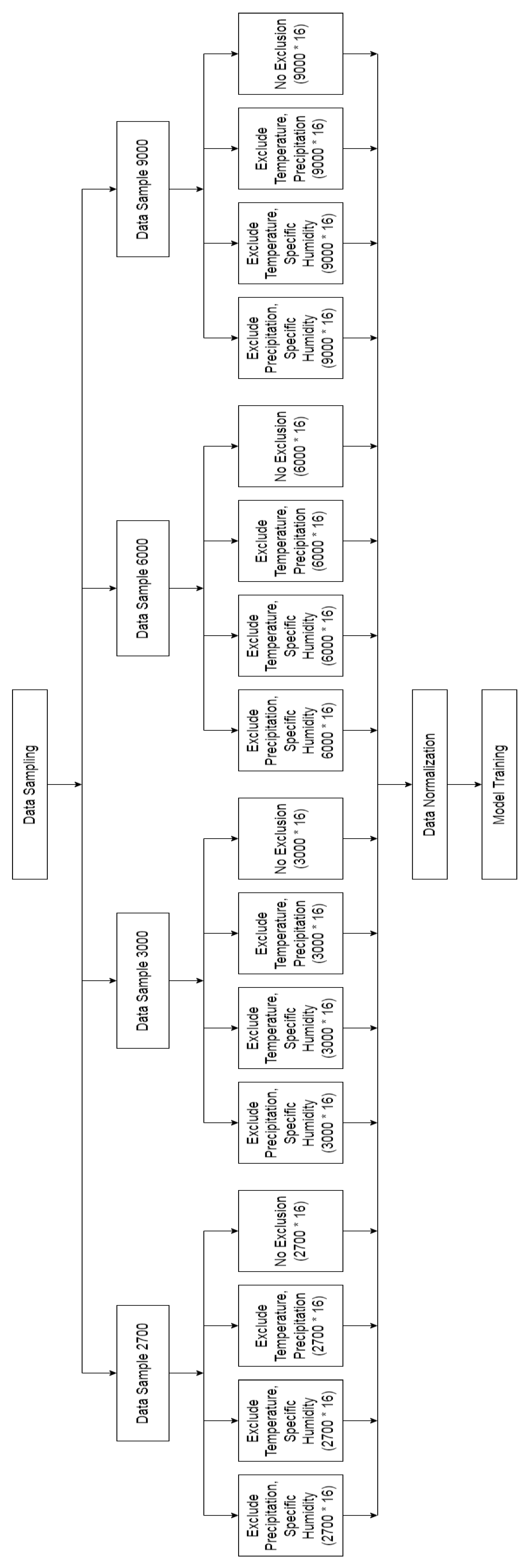
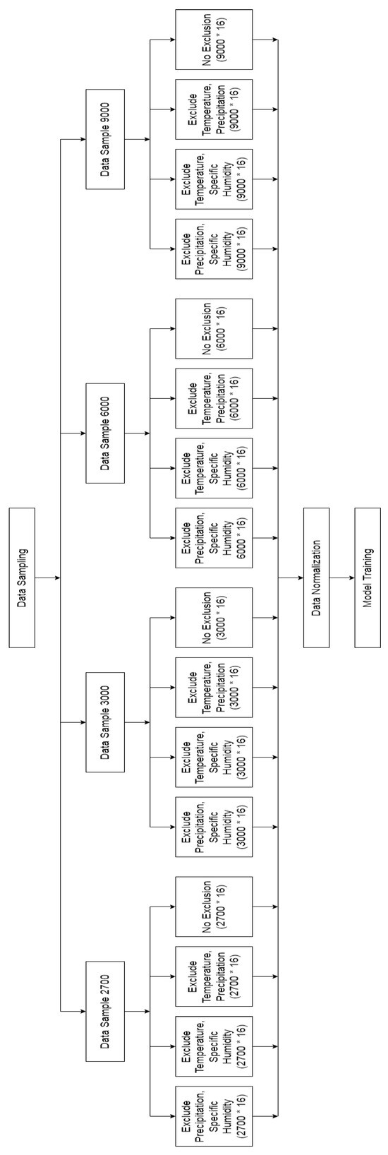
3.5. Data Sampling
3.6. Feature Selection
3.7. Data Normalization
3.8. Prediction Models
3.8.1. Light Gradient Boosting Machine (LightGBM)
3.8.2. Random Forest (RF)
3.8.3. Decision Tree (DT)
3.8.4. Support Vector Machines (SVM)
3.8.5. Multi-Layer Perceptron (MLP)
3.9. Evaluation Metrics
3.10. Website Development
3.11. Real-Time Risk Prediction
4. Results and Discussion
4.1. Dataset Description
4.1.1. Dengue Cases 2014–2018
4.1.2. Malaria Cases from 2014–2018
4.1.3. Leishmaniasis Cases from 2014–2018
4.2. Relationship of Climate Factors with Vector Borne Diseases
4.2.1. Relationship of Temperature with Each Disease
4.2.2. Relationship of Precipitation with Each Disease
4.2.3. Relationship of Specific Humidity with Each Disease
4.3. Results of Machine Learning Models with each Data Sample
4.4. Real-Time Model Prediction on WebGIS
5. Conclusions
6. Future Work
Author Contributions
Funding
Institutional Review Board Statement
Informed Consent Statement
Data Availability Statement
Acknowledgments
Conflicts of Interest
References
- Shaw, W.R.; Catteruccia, F. Vector biology meets disease control: Using basic research to fight vector-borne diseases. Nat. Microbiol. 2019, 4, 20–34. [Google Scholar] [CrossRef] [PubMed]
- Malaria, D.O.F.; Aand, D.; Vbds, O. Management of Vector-Borne Diseases (VBDS) in Pakistan. Available online: https://www.google.com.hk/url?sa=t&rct=j&q=&esrc=s&source=web&cd=&cad=rja&uact=8&ved=2ahUKEwjqrPncqKP9AhUGD94KHSvwCawQFnoECAUQAQ&url=https%3A%2F%2Fwww.apmen.org%2Fsites%2Fdefault%2Ffiles%2Fall_resources%2FManagement%2520of%2520VBDs_Pakistan%25202020-2024.pdf&usg=AOvVaw1eRW0L9lIRMQIfsARDm98R (accessed on 13 October 2021).
- Khan, I.; Mehmood, S.A.; Khan, W.; Ahmed, S.; Zia, A.; Khan, N. Malaria Malaria in the Population District Dir Lower Khyber Pakhtunkhwa, Pakistan. RADS J. Pharm. Pharm. Sci. 2021, 9, 104–108. [Google Scholar] [CrossRef]
- Askari, S.; Nateghpour, M.; Motevalli Haghi, A.; Farivar, L.; Raeisi, A.; Mohebali, M. Situation of Asymptomatic Malaria among Iranian Native and Afghan and Pakistani Immigrants in a Malarious Area under the National Malaria Elimination Program of Iran. Iran. J. Parasitol. 2020, 15, 530–536. [Google Scholar] [CrossRef]
- Khatoon, N.; Malik, R.; Khan, A.; Shaukat, S.S.; Saifi, Z.S.; Khan, A. Report: Incidence of malaria in the population of Korangi creek area, Karachi, Pakistan. Pak. J. Pharm. Sci. 2018, 31, 2575–2578. [Google Scholar] [PubMed]
- Number of Confirmed Malaria Cases. Available online: https://www.who.int/data/gho/data/indicators/indicator-details/GHO/number-confirmed-malaria-cases (accessed on 27 September 2021).
- Estimated Number of Malaria Deaths. Available online: https://www.who.int/data/gho/data/indicators/indicator-details/GHO/estimated-number-of-malaria-deaths (accessed on 28 September 2021).
- Idrees, S.; Ashfaq, U.A. A brief review on dengue molecular virology, diagnosis, treatment and prevalence in Pakistan. Genet. Vaccines Ther. 2012, 10, 6. [Google Scholar] [CrossRef] [PubMed]
- Dengue and Severe Dengue. Available online: https://www.who.int/news-room/fact-sheets/detail/dengue-and-severe-dengue (accessed on 5 October 2021).
- Tsheten, T.; Clements, A.C.A.; Gray, D.J.; Wangdi, K. Dengue risk assessment using multicriteria decision analysis: A case study of Bhutan. PLoS Negl. Trop. Dis. 2021, 15, e0009021. [Google Scholar] [CrossRef]
- Bates, P.A.; Depaquit, J.; Galati, E.A.B.; Kamhawi, S.; Maroli, M.; McDowell, M.A.; Picado, A.; Ready, P.D.; Salomón, O.D.; Shaw, J.J.; et al. Recent advances in phlebotomine sand fly research related to leishmaniasis control. Parasites Vectors 2015, 8, 131. [Google Scholar] [CrossRef] [PubMed]
- Bacaër, N.; Guernaoui, S. The epidemic threshold of vector-borne diseases with seasonality. J. Math. Biol. 2006, 53, 421–436. [Google Scholar] [CrossRef] [PubMed]
- Number of Cases of Cutaneous Leishmaniasis Reported. Available online: https://www.who.int/data/gho/data/indicators/indicator-details/GHO/number-of-cases-of-cutaneous-leishmaniasis-reported (accessed on 4 October 2021).
- Ali, S.A.; Ahmad, A. Mapping of mosquito-borne diseases in Kolkata Municipal Corporation using GIS and AHP based decision making approach. Spat. Inf. Res. 2019, 27, 351–372. [Google Scholar] [CrossRef]
- What is a Geographic Information System (GIS)? Available online: https://www.usgs.gov/faqs/what-a-geographic-informationsystem-gis?qt-news{_}science{_}products=0{#}qt-news{_}science{_}products (accessed on 15 September 2021).
- Malone, J.B.; Bergquist, R.; Martins, M.; Luvall, J.C. Use of Geospatial Surveillance and Response Systems for Vector-Borne Diseases in the Elimination Phase. Trop. Med. Infect. Dis. 2019, 4, 15. [Google Scholar] [CrossRef]
- Ismail, M.; Ghaffar, M.K.A.; Azzam, M.A. GIS application to identify the potential for certain irrigated agriculture uses on some soils in Western Desert, Egypt. Egypt. J. Remote Sens. Space Sci. 2012, 15, 39–51. [Google Scholar] [CrossRef]
- Zerger, A.; Smith, D.I. Impediments to using GIS for real-time disaster decision support. Comput. Environ. Urban Syst. 2003, 27, 123–141. [Google Scholar] [CrossRef]
- Wei, W. Research on the Application of Geographic Information System in Tourism Management. Procedia Environ. Sci. 2012, 12, 1104–1109. [Google Scholar] [CrossRef]
- Hongoh, V.; Hoen, A.; Aenishaenslin, C.; Waaub, J.P.; Bélanger, D.; Michel, P.; The Lyme-MCDA Consortium. Spatially explicit multi-criteria decision analysis for managing vector-borne diseases. Int. J. Health Geogr. 2011, 10, 70. [Google Scholar] [CrossRef]
- Gandhi, G.; Chapla, J.; Naik, B.R. Data mapping of Vector Borne Disease with Geographical Information System & Global Position System technology: In tribal areas Khammam District, Telangana State. Int. J. Mosq. Res. 2017, 4, 39–43. [Google Scholar]
- Sarfraz, M.S.; Tripathi, N.K.; Tipdecho, T.; Thongbu, T.; Kerdthong, P.; Souris, M. Analyzing the spatio-temporal relationship between dengue vector larval density and land-use using factor analysis and spatial ring mapping. BMC Public Health 2012, 12, 853. [Google Scholar] [CrossRef]
- Huang, Z.; Das, A.; Qiu, Y.; Tatem, A.J. Web-based GIS: The vector-borne disease airline importation risk (VBD-AIR) tool. Int. J. Health Geogr. 2012, 11, 33. [Google Scholar] [CrossRef]
- Sarfraz, M.S.; Tripathi, N.K.; Faruque, F.S.; Bajwa, U.I.; Kitamoto, A.; Souris, M. Mapping urban and peri-urban breeding habitats of Aedes mosquitoes using a fuzzy analytical hierarchical process based on climatic and physical parameters. Geospat. Health 2014, 8, S685–S697. [Google Scholar] [CrossRef]
- Ahmad, S.S.; Aziz, N.; Butt, A.; Shabbir, R.; Erum, S. Spatio-temporal surveillance of water based infectious disease (malaria) in Rawalpindi, Pakistan using geostatistical modeling techniques. Environ. Monit. Assess. 2015, 187, 555. [Google Scholar] [CrossRef] [PubMed]
- Estallo, E.L.; Benitez, E.M.; Lanfri, M.A.; Scavuzzo, C.M.; Almirón, W.R. MODIS Environmental Data to Assess Chikungunya, Dengue, and Zika Diseases Through Aedes (Stegomia) aegypti Oviposition Activity Estimation. IEEE J. Sel. Top. Appl. Earth Obs. Remote Sens. 2016, 9, 5461–5466. [Google Scholar] [CrossRef]
- Mollalo, A.; Khodabandehloo, E. Zoonotic cutaneous leishmaniasis in northeastern Iran: A GIS-based spatio-temporal multi-criteria decision-making approach. Epidemiol. Infect. 2016, 144, 2217–2229. [Google Scholar] [CrossRef] [PubMed]
- Baig, S.; Sarfraz, M. Spatio-Temporal Analysis to Predict Environmental Influence on Malaria. ISPRS Int. Arch. Photogramm. Remote Sens. Spat. Inf. Sci. 2018, 42.3, 2615–2617. [Google Scholar] [CrossRef]
- Mollalo, A.; Sadeghian, A.; Israel, G.D.; Rashidi, P.; Sofizadeh, A.; Glass, G.E. Machine learning approaches in GIS-based ecological modeling of the sand fly Phlebotomus papatasi, a vector of zoonotic cutaneous leishmaniasis in Golestan province, Iran. Acta Trop. 2018, 188, 187–194. [Google Scholar] [CrossRef]
- Anggraeni, W.; Sumpeno, S.; Yuniarno, E.M.; Rachmadi, R.F.; Gumelar, A.B.; Purnomo, M.H. Prediction of Dengue Fever Outbreak Based on Climate Factors Using Fuzzy-Logistic Regression. In Proceedings of the 2020 International Seminar on Intelligent Technology and Its Applications (ISITIA), Surabaya, Indonesia, 22–23 July 2020; pp. 199–204. [Google Scholar] [CrossRef]
- Appice, A.; Gel, Y.R.; Iliev, I.; Lyubchich, V.; Malerba, D. A Multi-Stage Machine Learning Approach to Predict Dengue Incidence: A Case Study in Mexico. IEEE Access 2020, 8, 52713–52725. [Google Scholar] [CrossRef]
- Butt, M.A.; Khalid, A.; Ali, A.; Mahmood, S.A.; Sami, J.; Qureshi, J.; Waheed, K.; Khalid, A. Towards a Web GIS-based approach for mapping a dengue outbreak. Appl. Geomat. 2020, 12, 121–131. [Google Scholar] [CrossRef]
- Ferdousi, T.; Cohnstaedt, L.W.; Scoglio, C.M. A Windowed Correlation-Based Feature Selection Method to Improve Time Series Prediction of Dengue Fever Cases. IEEE Access 2021, 9, 141210–141222. [Google Scholar] [CrossRef]
- McMahon, A.; Mihretie, A.; Ahmed, A.A.; Lake, M.; Awoke, W.; Wimberly, M.C. Remote sensing of environmental risk factors for malaria in different geographic contexts. Int. J. Health Geogr. 2021, 20, 28. [Google Scholar] [CrossRef] [PubMed]
- Rahman, M.S.; Pientong, C.; Zafar, S.; Ekalaksananan, T.; Paul, R.E.; Haque, U.; Rocklöv, J.; Overgaard, H.J. Mapping the spatial distribution of the dengue vector Aedes aegypti and predicting its abundance in northeastern Thailand using machine-learning approach. ONE Health 2021, 13, 100358. [Google Scholar] [CrossRef]
- Jagadesh, S.; Combe, M.; Ginouvès, M.; Simon, S.; Prévot, G.; Couppié, P.; Nacher, M.; Gozlan, R.E. Spatial variations in Leishmaniasis: A biogeographic approach to mapping the distribution of Leishmania species. ONE Health 2021, 13, 100307. [Google Scholar] [CrossRef]
- Mbunge, E.; Sibiya, M.N.; Millham, R.C.; Takavarasha, S. Micro-spatial modelling of malaria cases and environmental risk factors in Buhera rural district, Zimbabwe. In Proceedings of the 2021 Conference on Information Communications Technology and Society (ICTAS), Durban, South Africa, 10–11 March 2021; pp. 52–58. [Google Scholar] [CrossRef]
- Punjab, Pakistan. Available online: https://en.wikipedia.org/w/index.php?title=Punjab,Pakistan (accessed on 2 February 2022).
- 4 New Tehsils in Punjab on the Cards. Available online: https://nation.com.pk/2017/11/24/4-new-tehsils-in-punjab-on-the-cards/ (accessed on 25 May 2022).
- Githeko, A.K.; Lindsay, S.W.; Confalonieri, U.E.; Patz, J.A. Climate change and vector-borne diseases: A regional analysis. Bull. World Health Organ. 2000, 78, 1136–1147. [Google Scholar]
- Dambach, P.; Jorge, M.M.; Traoré, I.; Phalkey, R.; Sawadogo, H.; Zabré, P.; Kagoné, M.; Sié, A.; Sauerborn, R.; Becker, N.; et al. A qualitative study of community perception and acceptance of biological larviciding for malaria mosquito control in rural Burkina Faso. BMC Public Health 2018, 18, 399. [Google Scholar] [CrossRef]
- Valero, N.N.H.; Prist, P.; Uriarte, M. Environmental and socioeconomic risk factors for visceral and cutaneous leishmaniasis in São Paulo, Brazil. Sci. Total Environ. 2021, 797, 148960. [Google Scholar] [CrossRef]
- Mondini, A.; Chiaravalloti-Neto, F. Spatial correlation of incidence of dengue with socioeconomic, demographic and environmental variables in a Brazilian city. Sci. Total Environ. 2008, 393, 241–248. [Google Scholar] [CrossRef] [PubMed]
- Sklearn.Preprocessing.StandardScaler. Available online: https://scikit-learn/stable/modules/generated/sklearn.preprocessing.StandardScaler.html (accessed on 2 June 2022).
- Scikit-Learn: Machine Learning in Python—Scikit-Learn 1.1.1 Documentation. Available online: https://scikit-learn.org/stable/ (accessed on 2 June 2022).
- Welcome to LightGBM’s Documentation!—LightGBM 3.3.2.99 Documentation. Available online: https://lightgbm.readthedocs.io/en/latest/ (accessed on 3 June 2022).
- Probst, P.; Boulesteix, A.L.; Bischl, B. Tunability: Importance of hyperparameters of machine learning algorithms. J. Mach. Learn. Res. 2019, 20, 1934–1965. [Google Scholar]
- Meena, K.; Veni, N.N.K.; Deepapriya, B.S.; Vardhini, P.A.H.; Kalyani, B.J.D.; Sharmila, L. A Novel Method for Prediction of Skin Diseases Using Supervised Classification Techniques. Soft Comput. 2022. preprint. [Google Scholar] [CrossRef]
- Wang, Y.; Chen, J.; Chen, X.; Zeng, X.; Kong, Y.; Sun, S.; Guo, Y.; Liu, Y. Short-term load forecasting for industrial customers based on TCN-LightGBM. IEEE Trans. Power Syst. 2020, 36, 1984–1997. [Google Scholar] [CrossRef]
- Yıldırım, S. Gradient Boosted Decision Trees-Explained. Available online: https://towardsdatascience.com/gradient-boosted-decision-trees-explained-9259bd8205af (accessed on 12 April 2022).
- Niu, B.; Liang, R.; Zhou, G.; Zhang, Q.; Su, Q.; Qu, X.; Chen, Q. Prediction for global Peste des petits ruminants outbreaks based on a combination of random forest algorithms and meteorological data. Front. Vet. Sci. 2021, 7, 570829. [Google Scholar] [CrossRef] [PubMed]
- Sklearn.Ensemble.RandomForestClassifier. Available online: https://scikit-learn/stable/modules/generated/sklearn.ensemble.RandomForestClassifier.html (accessed on 17 June 2022).
- Dimitriadis, S.I.; Liparas, D.; Initiative, A.D.N. How random is the random forest? Random forest algorithm on the service of structural imaging biomarkers for Alzheimer’s disease: From Alzheimer’s disease neuroimaging initiative (ADNI) database. Neural Regen. Res. 2018, 13, 962. [Google Scholar] [CrossRef] [PubMed]
- Probst, P.; Wright, M.N.; Boulesteix, A. Hyperparameters and tuning strategies for random forest. Wiley Interdiscip. Rev. Data Min. Knowl. Discov. 2019, 9, e1301. [Google Scholar] [CrossRef]
- Singh, S.; Gupta, P. Comparative study ID3, cart and C4. 5 decision tree algorithm: A survey. Int. J. Adv. Inf. Sci. Technol. (IJAIST) 2014, 27, 97–103. [Google Scholar]
- Decision Trees. Available online: https://scikit-learn.org/stable/modules/tree.html (accessed on 28 June 2022).
- Mithrakumar, M. How to Tune a Decision Tree? Available online: https://towardsdatascience.com/how-to-tune-a-decision-tree-f03721801680 (accessed on 1 July 2022).
- Duan, K.; Keerthi, S.S.; Poo, A.N. Evaluation of simple performance measures for tuning SVM hyperparameters. Neurocomputing 2003, 51, 41–59. [Google Scholar] [CrossRef]
- Jyothi, S.; Sreelekha, O. Neural Network Approach for Diagnosing Mosquito Borne Diseases Based on Clinical Symptoms. April 2013. Available online: https://www.researchgate.net/publication/309209449 (accessed on 28 June 2022).
- Ibrahim, D.M.; Elshennawy, N.M.; Sarhan, A.M. Deep-chest: Multi-classification deep learning model for diagnosing COVID-19, pneumonia, and lung cancer chest diseases. Comput. Biol. Med. 2021, 132, 104348. [Google Scholar] [CrossRef] [PubMed]
- Overview|Maps JavaScript API. Available online: https://developers.google.com/maps/documentation/javascript/overview (accessed on 1 June 2022).
- Heatmap Layer|Maps JavaScript API. Available online: https://developers.google.com/maps/documentation/javascript/heatmaplayer (accessed on 3 June 2022).
- OpenWeatherMap API Guide—OpenWeatherMap. Available online: https://openweathermap.org/guide (accessed on 28 December 2021).
- One Call API: Weather Data for Any Geographical Coordinate—OpenWeatherMap. Available online: https://openweathermap.org/api/one-call-api (accessed on 28 December 2021).
- Casey. Answer to “How to Calculate Specific Humidity with Relative Humidity, Temperature, and Pressure”. Available online: https://earthscience.stackexchange.com/a/5077 (accessed on 15 April 2022).
- Cuéllar, A.C.; Kjær, L.J.; Baum, A.; Stockmarr, A.; Skovgard, H.; Nielsen, S.A.; Andersson, M.G.; Lindström, A.; Chirico, J.; Lühken, R. Modelling the monthly abundance of Culicoides biting midges in nine European countries using Random Forests machine learning. Parasites Vectors 2020, 13, 194. [Google Scholar] [CrossRef] [PubMed]


















| Sr. No. | Variables | Data Type |
|---|---|---|
| 1 | Disease | Patients Data |
| 2 | District | |
| 3 | RHC/Name | |
| 4 | Latitude | |
| 5 | Longitude | |
| 6 | Date/Time | |
| 7 | Precipitation | Climate Data |
| 8 | Temperature | |
| 9 | Specific humidity | |
| 10 | Access to improved drinking water (% of population) | Socioeconomic Data |
| 11 | Access to piped water (% of population) | |
| 12 | Access to motorized pump (% of population) | |
| 13 | Access to hand pump (% of population) | |
| 14 | Access to improved drinking water, excl. piped water (% of population) | |
| 15 | Access to improved toilet facilities (% of population) | |
| 16 | Access to flush toilet connected to sewer (% of population) | |
| 17 | Access to flush toilet connected to septic tank (% of population) | |
| 18 | Open defecation (% of population) | |
| 19 | Diarrhea incidence (% of children under 5 who had diarrhea during a 2-week recall period) | |
| 20 | Using soap for handwashing (% of population) | |
| 21 | Using adequately iodized salt (% of population) | |
| 22 | Treating water before drinking (% of population) | |
| 23 | Population (Population Census 2017—Provisional Results) | Population Data |
| Data Samples | Feature Selection | Machine Learning Models | Diseases | Precision | Recall | F1-Score | Accuracy |
|---|---|---|---|---|---|---|---|
| Data Sample 2700 | Temperature | LGBM | Dengue | 92% | 95% | 93% | 90.80% |
| Malaria | 91% | 84% | 87% | ||||
| Leishmaniasis | 90% | 94% | 92% | ||||
| RF | Dengue | 91% | 96% | 93% | 90.43% | ||
| Malaria | 90% | 83% | 87% | ||||
| Leishmaniasis | 90% | 92% | 91% | ||||
| DT | Dengue | 91% | 95% | 93% | 90.56% | ||
| Malaria | 91% | 84% | 87% | ||||
| Leishmaniasis | 90% | 93% | 91% | ||||
| SVM | Dengue | 89% | 74% | 81% | 80.37% | ||
| Malaria | 71% | 80% | 75% | ||||
| Leishmaniasis | 84% | 87% | 85% | ||||
| MLP | Dengue | 87% | 84% | 85% | 84.81% | ||
| Malaria | 81% | 79% | 80% | ||||
| Leishmaniasis | 86% | 92% | 89% | ||||
| Precipitation | LGBM | Dengue | 91% | 77% | 83% | 85.12% | |
| Malaria | 77% | 87% | 82% | ||||
| Leishmaniasis | 89% | 91% | 90% | ||||
| RF | Dengue | 91% | 75% | 82% | 84.01% | ||
| Malaria | 75% | 87% | 81% | ||||
| Leishmaniasis | 89% | 89% | 89% | ||||
| DT | Dengue | 90% | 75% | 82% | 83.46% | ||
| Malaria | 75% | 86% | 80% | ||||
| Leishmaniasis | 88% | 89% | 89% | ||||
| SVM | Dengue | 89% | 73% | 80% | 79.14% | ||
| Malaria | 70% | 78% | 74% | ||||
| Leishmaniasis | 82% | 86% | 84% | ||||
| MLP | Dengue | 86% | 78% | 82% | 81.60% | ||
| Malaria | 74% | 78% | 76% | ||||
| Leishmaniasis | 85% | 89% | 87% | ||||
| Specific Humidity | LGBM | Dengue | 91% | 94% | 92% | 90.25% | |
| Malaria | 92% | 83% | 87% | ||||
| Leishmaniasis | 88% | 94% | 91% | ||||
| RF | Dengue | 90% | 96% | 93% | 90.12% | ||
| Malaria | 92% | 82% | 87% | ||||
| Leishmaniasis | 88% | 93% | 91% | ||||
| DT | Dengue | 90% | 97% | 93% | 89.44% | ||
| Malaria | 93% | 78% | 85% | ||||
| Leishmaniasis | 86% | 93% | 90% | ||||
| SVM | Dengue | 90% | 77% | 83% | 81.30% | ||
| Malaria | 73% | 80% | 76% | ||||
| Leishmaniasis | 83% | 87% | 85% | ||||
| MLP | Dengue | 89% | 82% | 86% | 85.37% | ||
| Malaria | 79% | 83% | 81% | ||||
| Leishmaniasis | 88% | 91% | 90% | ||||
| All Features | LGBM | Dengue | 91% | 97% | 94% | 91.30% | |
| Malaria | 94% | 83% | 88% | ||||
| Leishmaniasis | 90% | 93% | 91% | ||||
| RF | Dengue | 92% | 95% | 94% | 90.86% | ||
| Malaria | 92% | 84% | 88% | ||||
| Leishmaniasis | 89% | 94% | 91% | ||||
| DT | Dengue | 91% | 97% | 94% | 90.74% | ||
| Malaria | 92% | 83% | 87% | ||||
| Leishmaniasis | 89% | 93% | 91% | ||||
| SVM | Dengue | 90% | 77% | 83% | 81.17% | ||
| Malaria | 72% | 81% | 76% | ||||
| Leishmaniasis | 84% | 86% | 85% | ||||
| MLP | Dengue | 88% | 95% | 91% | 88.58% | ||
| Malaria | 90% | 80% | 85% | ||||
| Leishmaniasis | 88% | 91% | 90% | ||||
| Data Sample 3000 | Temperature | LGBM | Dengue | 90% | 95% | 93% | 90.56% |
| Malaria | 91% | 83% | 87% | ||||
| Leishmaniasis | 91% | 93% | 92% | ||||
| RF | Dengue | 92% | 97% | 94% | 91.17% | ||
| Malaria | 91% | 84% | 87% | ||||
| Leishmaniasis | 91% | 92% | 92% | ||||
| DT | Dengue | 91% | 96% | 93% | 91.06% | ||
| Malaria | 91% | 84% | 87% | ||||
| Leishmaniasis | 91% | 93% | 92% | ||||
| SVM | Dengue | 89% | 77% | 83% | 80.28% | ||
| Malaria | 72% | 77% | 74% | ||||
| Leishmaniasis | 82% | 86% | 84% | ||||
| MLP | Dengue | 87% | 84% | 86% | 84.67% | ||
| Malaria | 79% | 80% | 80% | ||||
| Leishmaniasis | 87% | 89% | 88% | ||||
| Precipitation | LGBM | Dengue | 90% | 79% | 84% | 84.78% | |
| Malaria | 76% | 87% | 81% | ||||
| Leishmaniasis | 89% | 89% | 89% | ||||
| RF | Dengue | 90% | 77% | 83% | 84.06% | ||
| Malaria | 76% | 87% | 81% | ||||
| Leishmaniasis | 89% | 89% | 89% | ||||
| DT | Dengue | 90% | 77% | 83% | 84.22% | ||
| Malaria | 76% | 86% | 81% | ||||
| Leishmaniasis | 88% | 89% | 89% | ||||
| SVM | Dengue | 87% | 78% | 82% | 79.61% | ||
| Malaria | 71% | 74% | 73% | ||||
| Leishmaniasis | 81% | 86% | 84% | ||||
| MLP | Dengue | 89% | 77% | 83% | 81.94% | ||
| Malaria | 73% | 83% | 77% | ||||
| Leishmaniasis | 86% | 86% | 86% | ||||
| Specific Humidity | LGBM | Dengue | 88% | 96% | 92% | 89.72% | |
| Malaria | 92% | 81% | 86% | ||||
| Leishmaniasis | 90% | 91% | 90% | ||||
| RF | Dengue | 89% | 95% | 92% | 89.56% | ||
| Malaria | 91% | 82% | 86% | ||||
| Leishmaniasis | 90% | 91% | 90% | ||||
| DT | Dengue | 89% | 96% | 92% | 89.61% | ||
| Malaria | 91% | 81% | 86% | ||||
| Leishmaniasis | 89% | 92% | 90% | ||||
| SVM | Dengue | 89% | 74% | 80% | 78.28% | ||
| Malaria | 69% | 74% | 71% | ||||
| Leishmaniasis | 80% | 87% | 83% | ||||
| MLP | Dengue | 87% | 89% | 88% | 86.17% | ||
| Malaria | 83% | 80% | 81% | ||||
| Leishmaniasis | 89% | 89% | 89% | ||||
| All Features | LGBM | Dengue | 92% | 97% | 95% | 91.44% | |
| Malaria | 92% | 84% | 88% | ||||
| Leishmaniasis | 90% | 93% | 91% | ||||
| RF | Dengue | 92% | 97% | 94% | 91.61% | ||
| Malaria | 91% | 86% | 89% | ||||
| Leishmaniasis | 91% | 92% | 92% | ||||
| DT | Dengue | 91% | 97% | 94% | 91.33% | ||
| Malaria | 93% | 84% | 88% | ||||
| Leishmaniasis | 90% | 93% | 92% | ||||
| SVM | Dengue | 90% | 78% | 83% | 80.78% | ||
| Malaria | 72% | 78% | 75% | ||||
| Leishmaniasis | 82% | 86% | 84% | ||||
| MLP | Dengue | 86% | 95% | 90% | 87.50% | ||
| Malaria | 88% | 79% | 84% | ||||
| Leishmaniasis | 89% | 88% | 88% | ||||
| Data Sample 6000 | Temperature | LGBM | Dengue | 94% | 96% | 95% | 92.47% |
| Malaria | 94% | 88% | 91% | ||||
| Leishmaniasis | 90% | 93% | 91% | ||||
| RF | Dengue | 95% | 96% | 95% | 93% | ||
| Malaria | 95% | 89% | 92% | ||||
| Leishmaniasis | 90% | 94% 92% | |||||
| DT | Dengue | 95% | 96% | 95% | 92.97% | ||
| Malaria | 95% | 89% | 92% | ||||
| Leishmaniasis | 89% | 94% | 92% | ||||
| SVM | Dengue | 83% | 91% | 87% | 85.14% | ||
| Malaria | 88% | 79% | 83% | ||||
| Leishmaniasis | 85% | 85% | 85% | ||||
| MLP | Dengue | 89% 95% | 92% | 89.58% | |||
| Malaria | 92% | 83% | 87% | ||||
| Leishmaniasis | 88% | 90% | 89% | ||||
| Precipitation | LGBM | Dengue | 87% 88% | 87% | 87.06% | ||
| Malaria | 92% | 87% | 89% | ||||
| Leishmaniasis | 83% | 86% | 85% | ||||
| RF | Dengue | 83% | 91% | 87% | 86.25% | ||
| Malaria | 92% | 84% | 88% | ||||
| Leishmaniasis | 85% | 83% | 84% | ||||
| DT | Dengue | 81% | 92% 86% | 85.50% | |||
| Malaria | 93% | 80% | 86% | ||||
| Leishmaniasis | 84% | 84% | 84% | ||||
| SVM | Dengue | 58% | 94% | 72% | 69.92% | ||
| Malaria | 90% | 36% | 51% | ||||
| Leishmaniasis | 83% | 79% | 81% | ||||
| MLP | Dengue | 81% | 90% | 86% | 84.53% | ||
| Malaria | 86% | 84% | 85% | ||||
| Leishmaniasis | 87% | 79% | 83% | ||||
| Specific Humidity | LGBM | Dengue | 94% | 96% | 95% | 92.47% | |
| Malaria | 94% | 88% | 91% | ||||
| Leishmaniasis | 89% | 93% | 91% | ||||
| RF | Dengue | 91% | 95% | 93% | 90.58% | ||
| Malaria | 93% | 86% | 90% | ||||
| Leishmaniasis | 88% | 91% | 89% | ||||
| DT | Dengue | 89% | 95% | 92% | 89.69% | ||
| Malaria | 95% | 83% | 89% | ||||
| Leishmaniasis | 86% | 91% | 88% | ||||
| SVM | Dengue | 83% | 89% | 86% | 79.25% | ||
| Malaria | 76% | 80% | 78% | ||||
| Leishmaniasis | 79% | 68% | 73% | ||||
| MLP | Dengue | 92% | 90% | 91% | 89.72% | ||
| Malaria | 90% | 86% | 88% | ||||
| Leishmaniasis | 87% | 92% | 90% | ||||
| All Features | LGBM | Dengue | 95% | 98% | 96% | 93.39% | |
| Malaria | 96% | 89% | 92% | ||||
| Leishmaniasis | 90% | 93% | 92% | ||||
| RF | Dengue | 96% | 97% | 97% | 93.97% | ||
| Malaria | 96% | 90% | 93% | ||||
| Leishmaniasis | 91% | 94% | 92% | ||||
| DT | Dengue | 95% | 97% | 96% | 93.47% | ||
| Malaria | 96% | 89% | 92% | ||||
| Leishmaniasis | 89% | 94% | 92% | ||||
| SVM | Dengue | 82% | 91% | 86% | 83.72% | ||
| Malaria | 86% | 79% | 82% | ||||
| Leishmaniasis | 84% | 81% | 82% | ||||
| MLP | Dengue | 91% | 94% | 93% | 90.36% | ||
| Malaria | 93% | 84% | 88% | ||||
| Leishmaniasis | 87% | 93% | 90% | ||||
| Data Sample 9000 | Temperature | LGBM | Dengue | 90% | 97% | 93% | 91.50% |
| Malaria | 94% | 84% | 89% | ||||
| Leishmaniasis | 91% | 94% | 92% | ||||
| RF | Dengue | 91% | 97% | 94% | 91.76% | ||
| Malaria | 94% | 85% | 89% | ||||
| Leishmaniasis | 91% | 94% | 92% | ||||
| DT | Dengue | 90% | 97% | 93% | 91.61% | ||
| Malaria | 94% | 84% | 89% | ||||
| Leishmaniasis | 91% | 94% | 92% | ||||
| SVM | Dengue | 69% | 82% | 75% | 74.94% | ||
| Malaria | 72% | 54% | 62% | ||||
| Leishmaniasis | 84% | 89% | 86% | ||||
| MLP | Dengue | 84% | 96% | 89% | 87.87% | ||
| Malaria | 92% | 76% | 83% | ||||
| Leishmaniasis | 89% | 92% | 91% | ||||
| Precipitation | LGBM | Dengue | 91% | 79% | 85% | 86.09% | |
| Malaria | 78% | 88% | 83% | ||||
| Leishmaniasis | 90% | 91% | 91% | ||||
| RF | Dengue | 90% | 79% | 84% | 85.42% | ||
| Malaria | 78% | 86% | 82% | ||||
| Leishmaniasis | 89% | 91% | 90% | ||||
| DT | Dengue | 89% | 79% | 84% | 84.19% | ||
| Malaria | 77% | 82% | 80% | ||||
| Leishmaniasis | 87% | 91% | 89% | ||||
| SVM | Dengue | 63% | 90% | 74% | 71.17% | ||
| Malaria | 74% | 35% | 47% | ||||
| Leishmaniasis | 81% | 88% | 84% | ||||
| MLP | Dengue | 90% | 77% | 83% | 83.67% | ||
| Malaria | 75% | 84% | 80% | ||||
| Leishmaniasis | 87% | 90% | 88% | ||||
| Specific Humidity | LGBM | Dengue | 90% | 97% | 93% | 91.28% | |
| Malaria | 94% | 83% | 88% | ||||
| Leishmaniasis | 91% | 94% | 92% | ||||
| RF | Dengue | 89% | 94% | 92% | 89.92% | ||
| Malaria | 91% | 82% | 86% | ||||
| Leishmaniasis | 90% | 93% | 91% | ||||
| DT | Dengue | 89% | 97% | 93% | 89.81% | ||
| Malaria | 93% | 79% | 86% | ||||
| Leishmaniasis | 88% | 93% | 91% | ||||
| SVM | Dengue | 64% | 90% | 75% | 71.06% | ||
| Malaria | 74% | 33% | 45% | ||||
| Leishmaniasis | 79% | 90% | 84% | ||||
| MLP | Dengue | 81% | 95% | 88% | 86.87% | ||
| Malaria | 90% | 74% | 81% | ||||
| Leishmaniasis | 90% | 91% | 91% | ||||
| All Features | LGBM | Dengue | 91% | 98% | 95% | 92.42% | |
| Malaria | 95% | 85% | 90% | ||||
| Leishmaniasis | 91% | 94% | 93% | ||||
| RF | Dengue | 92% | 98% | 95% | 92.96% | ||
| Malaria | 96% | 86% | 91% | ||||
| Leishmaniasis | 92% | 94% | 93% | ||||
| DT | Dengue | 92% | 98% | 95% | 92.63% | ||
| Malaria | 95% | 85% | 90% | ||||
| Leishmaniasis | 91% | 94% | 93% | ||||
| SVM | Dengue | 76% | 88% | 82% | 80.31% | ||
| Malaria | 80% | 62% | 70% | ||||
| Leishmaniasis | 84% | 91% | 88% | ||||
| MLP | Dengue | 87% | 97% | 92% | 89.87% | ||
| Malaria | 93% | 80% | 86% | ||||
| Leishmaniasis | 90% | 92% | 91% |
Disclaimer/Publisher’s Note: The statements, opinions and data contained in all publications are solely those of the individual author(s) and contributor(s) and not of MDPI and/or the editor(s). MDPI and/or the editor(s) disclaim responsibility for any injury to people or property resulting from any ideas, methods, instructions or products referred to in the content. |
© 2023 by the authors. Licensee MDPI, Basel, Switzerland. This article is an open access article distributed under the terms and conditions of the Creative Commons Attribution (CC BY) license (https://creativecommons.org/licenses/by/4.0/).
Share and Cite
Javaid, M.; Sarfraz, M.S.; Aftab, M.U.; Zaman, Q.u.; Rauf, H.T.; Alnowibet, K.A. WebGIS-Based Real-Time Surveillance and Response System for Vector-Borne Infectious Diseases. Int. J. Environ. Res. Public Health 2023, 20, 3740. https://doi.org/10.3390/ijerph20043740
Javaid M, Sarfraz MS, Aftab MU, Zaman Qu, Rauf HT, Alnowibet KA. WebGIS-Based Real-Time Surveillance and Response System for Vector-Borne Infectious Diseases. International Journal of Environmental Research and Public Health. 2023; 20(4):3740. https://doi.org/10.3390/ijerph20043740
Chicago/Turabian StyleJavaid, Momna, Muhammad Shahzad Sarfraz, Muhammad Umar Aftab, Qamar uz Zaman, Hafiz Tayyab Rauf, and Khalid A. Alnowibet. 2023. "WebGIS-Based Real-Time Surveillance and Response System for Vector-Borne Infectious Diseases" International Journal of Environmental Research and Public Health 20, no. 4: 3740. https://doi.org/10.3390/ijerph20043740
APA StyleJavaid, M., Sarfraz, M. S., Aftab, M. U., Zaman, Q. u., Rauf, H. T., & Alnowibet, K. A. (2023). WebGIS-Based Real-Time Surveillance and Response System for Vector-Borne Infectious Diseases. International Journal of Environmental Research and Public Health, 20(4), 3740. https://doi.org/10.3390/ijerph20043740

