Operative Protocol for Testing the Efficacy of Nasal Filters in Preventing Airborne Transmission of SARS-CoV-2
Abstract
1. Introduction
2. Materials and Methods
2.1. Rationale and Specific Aims
2.2. Experimental Setting and Procedure
2.2.1. SARS-CoV-2 Suspension Preparation
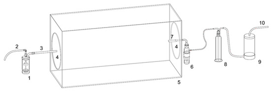
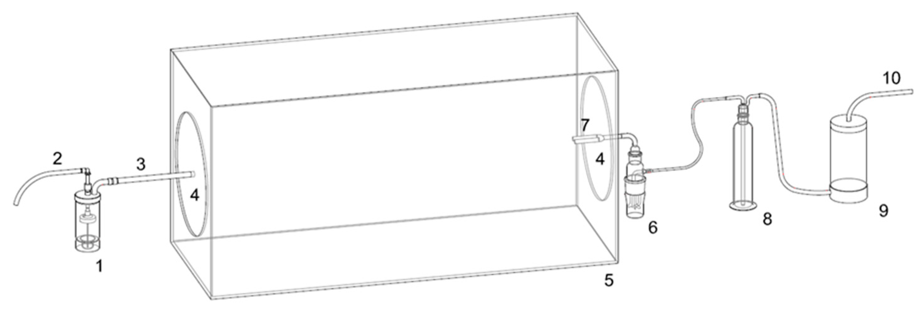
2.2.2. The Bio-Aerosol Measuring Train
2.2.3. Aerosol Generation
2.2.4. Size Distribution Temperature and Relative Humidity Assessment
2.2.5. Bioaerosol Sampling
2.2.6. Infectivity Assessment
2.2.7. Viral RNA Load after Aerosolization
2.3. Statistical Analysis
3. Evaluation Outcomes
4. Discussion
5. Conclusions
Author Contributions
Funding
Institutional Review Board Statement
Informed Consent Statement
Acknowledgments
Conflicts of Interest
References
- Bálint, G.; Vörös-Horváth, B.; Széchenyi, A. Omicron: Increased transmissibility and decreased pathogenicity. Signal Transduct Target Ther. 2022, 7, 151. [Google Scholar] [CrossRef]
- Available online: https://covid19.who.int (accessed on 5 September 2022).
- Available online: https://www.ecdc.europa.eu/en/covid-19/variants-concern (accessed on 5 September 2022).
- Hui, K.P.Y.; Ho, J.C.W.; Cheung, M.-C.; Ng, K.-C.; Ching, R.H.H.; Lai, K.-L.; Kam, T.T.; Gu, H.; Sit, K.-Y.; Hsin, M.K.Y.; et al. SARS-CoV-2 Omicron variant replication in human bronchus and lung ex vivo. Nature 2022, 603, 715–720. [Google Scholar] [CrossRef]
- Suzuki, R.; Yamasoba, D.; Kimura, I.; Wang, L.; Kishimoto, M.; Ito, J.; Morioka, Y.; Nao, N.; Nasser, H.; Uriu, K.; et al. Attenuated fusogenicity and pathogenicity of SARS-CoV-2 Omicron variant. Nature 2022, 603, 700–705. [Google Scholar] [CrossRef]
- Zeng, C.; Evans, J.P.; Qu, P.; Faraone, J.; Zheng, Y.M.; Carlin, C.; Bednash, J.S.; Zhou, T.; Lozanski, G.; Mallampalli, R.; et al. Neutralization and Stability of SARS-CoV-2 Omicron Variant. bioRxiv 2021. [Google Scholar] [CrossRef]
- Chin, A.W.H.; Lai, A.M.Y.; Peiris, M.; Man Poon, L.L. Increased Stability of SARS-CoV-2 Omicron Variant over Ancestral Strain. Emerg. Infect. Dis. 2022, 28, 1515–1517. [Google Scholar] [CrossRef] [PubMed]
- Ji, S.; Xiao, S.; Wang, H.; Lei, H. Increasing contributions of airborne route in SARS-CoV-2 omicron variant transmission compared with the ancestral strain. Build. Environ. 2022, 221, 109328. [Google Scholar] [CrossRef]
- Barbieri, P.; Zupin, L.; Licen, S.; Torboli, V.; Semeraro, S.; Cozzutto, S.; Palmisani, J.; Di Gilio, A.; de Gennaro, G.; Fontana, F.; et al. Molecular detection of SARS-CoV-2 from indoor air samples in environmental monitoring needs adequate temporal coverage and infectivity assessment. Environ. Res. 2021, 198, 111200. [Google Scholar] [CrossRef] [PubMed]
- Licen, S.; Zupin, L.; Martello, L.; Torboli, V.; Semeraro, S.; Gardossi, A.L.; Greco, E.; Fontana, F.; Crovella, S.; Ruscio, M.; et al. SARS-CoV-2 RNA Recovery from Air Sampled on Quartz Fiber Filters: A Matter of Sample Preservation? Atmosphere 2022, 13, 340. [Google Scholar] [CrossRef]
- Forouzandeh, P.; O’Dowd, K.; Pillai, S.C. Face masks and respirators in the fight against the COVID-19 pandemic: An overview of the standards and testing methods. Saf. Sci. 2020, 133, 104995. [Google Scholar] [CrossRef] [PubMed]
- Ju, J.T.J.; Boisvert, L.N.; Zuo, Y.Y. Face masks against COVID-19: Standards, efficacy, testing and decontamination methods. Adv. Colloid Interface Sci. 2021, 292, 102435. [Google Scholar] [CrossRef]
- Whiley, H.; Keerthirathne, T.P.; Nisar, M.A.; White, M.A.F.; Ross, K.E. Viral Filtration Efficiency of Fabric Masks Compared with Surgical and N95 Masks. Pathogens 2020, 9, 762. [Google Scholar] [CrossRef] [PubMed]
- Park, D.H.; Joe, Y.H.; Piri, A.; An, S.; Hwang, J. Determination of Air Filter Anti-Viral Efficiency against an Airborne Infectious Virus. J. Hazard. Mater. 2020, 396, 122640. [Google Scholar] [CrossRef] [PubMed]
- Saccani, C.; Guzzini, A.; Vocale, C.; Gori, D.; Pellegrini, M.; Fantini, M.P.; Primavera, A. Experimental testing of air filter efficiency against the SARS-CoV-2 virus: The role of droplet and airborne transmission. Build. Environ. 2021, 210, 108728. [Google Scholar] [CrossRef] [PubMed]
- Available online: https://www.who.int/emergencies/diseases/novel-coronavirus-2019/advice-for-public (accessed on 5 September 2022).
- White, L.F.; Murray, E.J.; Chakravarty, A. The role of schools in driving SARS-CoV-2 transmission: Not just an open-and-shut case. Cell Rep. Med. 2022, 3, 100556. [Google Scholar] [CrossRef] [PubMed]
- Available online: https://www.ecdc.europa.eu/en/covid-19/questions-answers/questions-answers-school-transmission (accessed on 5 September 2022).
- Saran, S.; Gurjar, M.; Baronia, A.K.; Lohiya, A.; Azim, A.; Poddar, B.; Rao, N.S. Personal protective equipment during COVID-19 pandemic: A narrative review on technical aspects. Expert Rev. Med Devices 2020, 17, 1265–1276. [Google Scholar] [CrossRef]
- D’Amato, G.; Liccardi, G.; Salzillo, A.; Russo, M.; Narciso, P.; Allegra, L. Nasal filters in prevention of seasonal rhinitis induced by allergenic pollen grains. Open clinical study. Eur. Ann. Allergy Clin. Immunol. 2012, 44, 83–85. [Google Scholar]
- Salleh, A.; Naomi, R.; Utami, N.D.; Mohammad, A.W.; Mahmoudi, E.; Mustafa, N.; Fauzi, M.B. The Potential of Silver Nanoparticles for Antiviral and Antibacterial Applications: A Mechanism of Action. Nanomaterials 2020, 10, 1566. [Google Scholar] [CrossRef]
- Cento, J.V.; Barbaliscia, S.; Perno, C.F. Biotech innovations in the prevention of respiratory infectious diseases. New Microbiol. 2017, 40, 155–160. [Google Scholar]
- Zupin, L.; Licen, S.; Milani, M.; Clemente, L.; Martello, L.; Semeraro, S.; Fontana, F.; Ruscio, M.; Miani, A.; Crovella, S.; et al. Evaluation of Residual Infectivity after SARS-CoV-2 Aerosol Transmission in a Controlled Laboratory Setting. Int. J. Environ. Res. Public Health 2021, 18, 11172. [Google Scholar] [CrossRef]
- Ueki, H.; Furusawa, Y.; Iwatsuki-Horimoto, K.; Imai, M.; Kabata, H.; Nishimura, H.; Kawaoka, Y. Effectiveness of Face Masks in Preventing Airborne Transmission of SARS-CoV-2. mSphere 2020, 5, e00637-20. [Google Scholar] [CrossRef]
- ECDC. Contact Tracing in the European Union: Public Health Management of Persons, Including Healthcare Workers, Who Have Had Contact with COVID-19 Cases—Fourth Update 28 October 2021; ECDC: Solna, Sweden, 2021. [Google Scholar]
- CDC. Scientific Brief: SARS-CoV-2 Transmission 7 May 2021 and Understanding Exposure Risks, Updated 11 August 2022; CDC: Atlanta, Georgia, 2022. [Google Scholar]
- WHO. Contact Tracing and Quarantine in the Context of COVID-19, Updated on 6 July 2022; WHO: Geneva, Switzerland, 2022. [Google Scholar]
- Schijven, J.; Vermeulen, L.C.; Swart, A.; Meijer, A.; Duizer, E.; de Roda Husman, A.M. Quantitative Microbial Risk Assessment for Airborne Transmission of SARS-CoV-2 via Breathing, Speaking, Singing, Coughing, and Sneezing. Environ. Health Perspect. 2021, 129, 047002. [Google Scholar] [CrossRef] [PubMed]
- Pan, Y.; Zhang, D.; Yang, P.; Poon, L.L.M.; Wang, Q. Viral load of SARS-CoV-2 in clinical samples. Lancet Infect. Dis. 2020, 20, 411–412. [Google Scholar] [CrossRef]
- Zupin, L.; Gratton, R.; Fontana, F.; Clemente, L.; Pascolo, L.; Ruscio, M.; Crovella, S. Blue Photobiomodulation LED Therapy Impacts SARS-CoV-2 by Limiting Its Replication in vero Cells. J. Biophotonics 2021, 14, e202000496. [Google Scholar] [CrossRef] [PubMed]
- Zupin, L.; Fontana, F.; Gratton, R.; Milani, M.; Clemente, L.; Pascolo, L.; Ruscio, M.; Crovella, S. SARS-CoV-2 Short-Time Infection Produces Relevant Cytopathic Effects in vero E6 Cell Line. Int. J. Environ. Res. Public Health 2021, 18, 9020. [Google Scholar] [CrossRef] [PubMed]
- Mendoza, E.J.; Manguiat, K.; Wood, H.; Drebot, M. Two Detailed Plaque Assay Protocols for the Quantification of Infectious SARS-CoV-2. Curr. Protoc. Microbiol. 2020, 57, ecpmc105. [Google Scholar] [CrossRef] [PubMed]
- Danelli, S.G.; Brunoldi, M.; Massabò, D.; Parodi, F.; Vernocchi, V.; Prati, P. Comparative Characterization of the Performance of Bio-Aerosol Nebulizers in Connection with Atmospheric Simulation Chambers. Atmos. Meas. Tech. 2021, 14, 4461–4470. [Google Scholar] [CrossRef]
- Corman, V.M.; Landt, O.; Kaiser, M.; Molenkamp, R.; Meijer, A.; Chu, D.K.W.; Bleicker, T.; Brünink, S.; Schneider, J.; Schmidt, M.L.; et al. Detection of 2019 novel coronavirus (2019-nCoV) by real-time RT-PCR. Euro Surveill. 2020, 25, 2000045, Erratum in: Euro Surveill. 2020, 25; Erratum in: Euro Surveill. 2021, 26. [Google Scholar] [CrossRef]
- Wölfel, R.; Corman, V.M.; Guggemos, W.; Seilmaier, M.; Zange, S.; Müller, M.A.; Niemeyer, D.; Jones, T.C.; Vollmar, P.; Rothe, C.; et al. Virological assessment of hospitalized patients with COVID-2019. Nature 2020, 581, 465–469, Erratum in: Nature 2020, 588, E35. [Google Scholar] [CrossRef]
- Zhou, S.S.; Lukula, S.; Chiossone, C.; Nims, R.W.; Suchmann, D.B.; Ijaz, M.K. Assessment of a respiratory face mask for capturing air pollutants and pathogens including human influenza and rhinoviruses. J. Thorac. Dis. 2018, 10, 2059–2069, Erratum in: J. Thorac. Dis. 2018, 10, E676–E677. [Google Scholar] [CrossRef]
- Rüggeberg, T.; Milosevic, A.; Specht, P.; Mayer, A.; Frey, J.; Petri-Fink, A.; Burtscher, H.; Rothen-Rutishauser, B. A Versatile Filter Test System to Assess Removal Efficiency for Viruses in Aerosols. Aerosol Air Qual. Res. 2021, 21, 210224. [Google Scholar] [CrossRef]
- Shahin, K.; Zhang, L.; Mehraban, M.H.; Collard, J.M.; Hedayatkhah, A.; Mansoorianfar, M.; Soleimani-Delfan, A.; Wang, R. Clinical and experimental bacteriophage studies: Recommendations for possible approaches for standing against SARS-CoV-2. Microb. Pathog. 2022, 164, 105442. [Google Scholar] [CrossRef] [PubMed]
- Mainelis, G. Bioaerosol Sampling: Classical Approaches, Advances, and Perspectives. Aerosol Sci. Technol. 2019, 54, 496–519. [Google Scholar] [CrossRef] [PubMed]



| Name | Sequence (5′ → 3′) | Concentration | Label |
|---|---|---|---|
| 2019-nCoV_N1 Forward primer | GAC CCC AAA ATC AGC GAA AT | 500 nM | |
| 2019-nCoV_N1 Reverse primer | TCT GGT TAC TGC CAG TTG AAT CTG | 500 nM | |
| 2019-nCoV_N1 Probe | ACC CCG CAT TAC GTT TGG TGG ACC | 125 nM | FAM BHQ-1 |
| 2019-nCoV_N2- Forward primer | TTA CAA ACA TTG GCC GCA AA | 500 nM | |
| 2019-nCoV_N2 Reverse primer | GCG CGA CAT TCC GAA GAA | 500 nM | |
| 2019-nCoV_N2 Probe | ACA ATT TGC CCC CAG CGC TTC AG | 125 nM | FAM BHQ-1 |
| E gene Forward primer | ACAGGTACGTTAATAGTTAATAGCGT | 400 nM | |
| E gene Reverse primer | ATATTGCAGCAGTACGCACACA | 400 nM | |
| E gene Probe | ACACTAGCCATCCTTACTGCG | 200 nM | FAM BHQ-1 |
| Sub-genomic E gene Forward primer | CGATCTCTTGTAGATCTGTTCTC | 400 nM |
Publisher’s Note: MDPI stays neutral with regard to jurisdictional claims in published maps and institutional affiliations. |
© 2022 by the authors. Licensee MDPI, Basel, Switzerland. This article is an open access article distributed under the terms and conditions of the Creative Commons Attribution (CC BY) license (https://creativecommons.org/licenses/by/4.0/).
Share and Cite
Semeraro, S.; Gaetano, A.S.; Zupin, L.; Poloni, C.; Merlach, E.; Greco, E.; Licen, S.; Fontana, F.; Leo, S.; Miani, A.; et al. Operative Protocol for Testing the Efficacy of Nasal Filters in Preventing Airborne Transmission of SARS-CoV-2. Int. J. Environ. Res. Public Health 2022, 19, 13790. https://doi.org/10.3390/ijerph192113790
Semeraro S, Gaetano AS, Zupin L, Poloni C, Merlach E, Greco E, Licen S, Fontana F, Leo S, Miani A, et al. Operative Protocol for Testing the Efficacy of Nasal Filters in Preventing Airborne Transmission of SARS-CoV-2. International Journal of Environmental Research and Public Health. 2022; 19(21):13790. https://doi.org/10.3390/ijerph192113790
Chicago/Turabian StyleSemeraro, Sabrina, Anastasia Serena Gaetano, Luisa Zupin, Carlo Poloni, Elvio Merlach, Enrico Greco, Sabina Licen, Francesco Fontana, Silvana Leo, Alessandro Miani, and et al. 2022. "Operative Protocol for Testing the Efficacy of Nasal Filters in Preventing Airborne Transmission of SARS-CoV-2" International Journal of Environmental Research and Public Health 19, no. 21: 13790. https://doi.org/10.3390/ijerph192113790
APA StyleSemeraro, S., Gaetano, A. S., Zupin, L., Poloni, C., Merlach, E., Greco, E., Licen, S., Fontana, F., Leo, S., Miani, A., Broccolo, F., & Barbieri, P. (2022). Operative Protocol for Testing the Efficacy of Nasal Filters in Preventing Airborne Transmission of SARS-CoV-2. International Journal of Environmental Research and Public Health, 19(21), 13790. https://doi.org/10.3390/ijerph192113790

